Fenster, 3. Auflage

Page 1

Birkhäuser

Baukonstruktionen Band 11

Herausgegeben von Anton Pech

Anton Pech

Georg Pommer

Johannes Zeininger

Fenster

Dritte, aktualisierte Auflage

Birkhäuser

Basel

FH-Hon.Prof. Dipl.-Ing. Dr. techn. Anton Pech

SR Dipl.-Ing. Georg Pommer

Architekt Dipl.-Ing. Johannes Zeininger

A-Wien

Acquisitions Editor: David Marold, Birkhäuser Verlag, A-Wien

Content & Production Editor: Bettina R. Algieri, Birkhäuser Verlag, A-Wien

Layout und Satz: Dr. Pech Ziviltechniker GmbH, A-Wien

Reihencover: Floyd Schulze

Druck: Beltz, D-Bad Langensalza

Library of Congress Control Number: 2022947766

Bibliografische Information der Deutschen Nationalbibliothek

Die Deutsche Nationalbibliothek verzeichnet diese Publikation in der Deutschen Nationalbibliografie; detaillierte bibliografische Daten sind im Internet über http://dnb.dnb.de abrufbar.

Der Abdruck der zitierten ÖNORMen erfolgt mit Genehmigung des Austrian Standards Institute (ASI), Heinestraße 38, 1020 Wien.

Benutzungshinweis: ASI Austrian Standards Institute, Heinestraße 38, 1020 Wien.

Tel.: +43-1-21300-300, E-Mail: sales@austrian-standards.at

Dieses Werk ist urheberrechtlich geschützt. Die dadurch begründeten Rechte, insbesondere die der Übersetzung, des Nachdrucks, des Vortrags, der Entnahme von Abbildungen und Tabellen, der Funksendung, der Mikroverfilmung oder der Vervielfältigung auf anderen Wegen und der Speicherung in Datenverarbeitungsanlagen, bleiben, auch bei nur auszugsweiser Verwertung, vorbehalten. Eine Vervielfältigung dieses Werkes oder von Teilen dieses Werkes ist auch im Einzelfall nur in den Grenzen der gesetzlichen Bestimmungen des Urheberrechtsgesetzes in der jeweils geltenden Fassung zulässig. Sie ist grundsätzlich vergütungspflichtig. Zuwiderhandlungen unterliegen den Strafbestimmungen des Urheberrechts.

Fehler können passieren! Um etwaige Korrekturen schon vor der Neuauflage einzusehen, gehen Sie bitte auf www.zt-pech.at und navigieren Sie zur Titelseite Ihres Buches. Dort finden Sie, falls Druckfehler bekannt sind, unter dem Inhaltsverzeichnis den Link „Druckfehlerberichtigung“. Laden Sie dort Ihr Korrektur-PDF für die aktuelle Auflage des Bandes herunter.

1. Auflage, Springer 2005

2., aktualisierte Auflage, Birkhäuser 2021

3., aktualisierte Auflage 2023:

ISBN 978-3-0356-2695-7

e-ISBN (PDF) 978-3-0356-2704-6

ISSN 1614-1288

© 2023 Birkhäuser Verlag GmbH, Basel

Postfach 44, 4009 Basel, Schweiz

Ein Unternehmen der Walter de Gruyter GmbH, Berlin/Boston

www.birkhauser.com

9 8 7 6 5 4 3

Vorwort zur 1. Auflage

Die Fachbuchreihe Baukonstruktionen mit ihren 17 Basisbänden stellt eine Zusammenfassung des derzeitigen technischen Wissens bei der Errichtung von Bauwerken des Hochbaues dar. Es wird versucht, mit einfachen Zusammenhängen oft komplexe Bereiche des Bauwesens zu erläutern und mit zahlreichen Plänen, Skizzen und Bildern zu veranschaulichen. Dieser Band behandelt den Bauteil „Fenster“ als Öffnung in der Wand. Ausgehend von einer architektonischen Betrachtung wird ein struktureller Überblick der gebräuchlichen Fenstertypen gegeben. Das Fenster wird systematisch nach seinen Bauelementen, konstruktiv, normativ und bauphysikalisch betrachtet. Dabei wird versucht, der technologischen Entwicklung Rechnung tragend, die Vielzahl an modernen Fensterkonstruktionen und deren Baukörperanschlüssen in eine Genealogie des Fensters einzureihen.

Der Herausgeber

zur 2. und 3. Auflage

Die Fachbuchreihe Baukonstruktionen mit ihren 17 Basisbänden stellt eine Zusammenfassung des derzeitigen technischen Wissens bei der Errichtung von Bauwerken des Hochbaus dar. Durch die laufenden Änderungen an der Normung und den gesetzlichen Vorgaben sowie die technische Weiterentwicklung sind Anpassungen der Inhalte erforderlich geworden. In dieser Auflage wurde versucht, die aktuellen Inhalte der Normen und behördlichen Vorschreibungen weitgehend aufzunehmen, angefangen von den Nachweisführungen der Verglasungen bis zu notwendigen Leistungsmerkmalen für die Vermarktung von Bauprodukten, die durch Leistungserklärungen als wesentliche Merkmale der Bauprodukte – eine CEKennzeichnung – auch für Fenster und Fenstertüren geregelt sind. Im Speziellen sind auch neue Anforderungen an den Einbau von Fensterelementen behandelt, da hier in der Praxis die meisten Probleme und erhebliche Schadenspotenziale vorliegen.

Die nunmehr dritte Auflage wurde im Gesamtlayout an das neue Erscheinungsbild der Reihe angepasst und hinsichtlich Druckfehler korrigiert.

Der Herausgeber

Vorwort | V

Fachbuchreihe BAUKONSTRUKTIONEN

VI | Fachbuchreihe
BAUKONSTRUKTIONEN
Band 1: Bauphysik 2. Auflage 2018 010|1 Grundlagen 010|2 Winterlicher Wärmeschutz 010|3 Tauwasserschutz 010|4 Sommerlicher Wärmeschutz 010|5 Schallschutz 010|6 Brandschutz 010|7 Tabellen Band 1/1: Bauphysik — Erweiterung 1 3. Auflage 2018 Energieeinsparung und Wärmeschutz, Energieausweis — Gesamtenergieeffizienz 011|1 Grundlagen 011|2 Heizwärmebedarf 011|3 Beleuchtungsenergiebedarf 011|4 Kühlbedarf 011|5 Heiztechnikenergiebedarf 011|6 Raumlufttechnikenergiebedarf 011|7 Befeuchtungsenergiebedarf 011|8 Kühltechnikenergiebedarf 011|9 Bilanzierung 011|10 Energieausweis und Energiekennzahlen 011|11 Tabellen Band 2: Tragwerke 2. Auflage 2018 020|1 Grundlagen 020|2 Einwirkungen 020|3 Sicherheit 020|4 Linientragwerke 020|5 Flächentragwerke 020|6 Raumtragwerke 020|7 Bauwerke 020|8 Tabellen Band 3: Gründungen 2. Auflage 2020 030|1 Baugrund 030|2 Erddruck 030|3 Flachgründungen 030|4 Tiefgründungen 030|5 Baugruben 030|6 Bauen im Grundwasser Band 4: Wände 2. Auflage 2019 040|1 Grundlagen 040|2 Gemauerte Wände 040|3 Homogene Wände 040|4 Holzwände 040|5 Pfeiler und Stützen 040|6 Trennwände Band 5: Decken 2. Auflage 2021 050|1 Grundlagen 050|2 Massivdecken 050|3 Holzdecken 050|4 Verbunddecken 050|5 Balkone und Loggien 050|6 Unterdecken Band 6: Keller 2. Auflage 2021 060|1 Funktion und Anforderung 060|2 Konstruktionselemente 060|3 Feuchtigkeitsschutz 060|4 Detailausbildungen 060|5 Schutzräume
Fachbuchreihe BAUKONSTRUKTIONEN | VII Band 7: Dachstühle 2. Auflage 2017 070|1 Dachformen und Holztechnologie 070|2 Beanspruchungen und Bemessung 070|3 Verbindungsmittel 070|4 Dachstuhlarten 070|5 Sonderformen Band 8: Steildach 1. Auflage 2015 080|1 Grundlagen 080|2 Dachdeckungen und Materialien 080|3 Ungedämmte Dachflächen 080|4 Gedämmte Dachflächen 080|5 Metalldeckungen 080|6 Dachentwässerung Band 9: Flachdach 2. Auflage 2021 090|1 Grundlagen 090|2 Konstruktionsschichten und Materialien 090|3 Nicht belüftete Dächer 090|4 Zweischaliges Dach 090|5 Genutzte Dachflächen 090|6 Dachentwässerung Band 10: Treppen / Stiegen 2. Auflage 2023 100|1 Grundlagen 100|2 Entwurfskriterien 100|3 Barrierefreie Erschließungen 100|4 Konstruktionsformen 100|5 Aufzüge Band 11: Fenster 3. Auflage 2023 110|1 Grundlagen 110|2 Typenentwicklung 110|3 Funktionen und Anforderungen 110|4 Verglasungs- und Beschlagstechnik 110|5 Baukörperanschlüsse Band 12: Türen und Tore 2. Auflage 2022 120|1 Grundlagen 120|2 Funktionen und Anforderungen 120|3 Materialien 120|4 Beschläge und Zusatzbauteile 120|5 Türkonstruktionen 120|6 Torkonstruktionen Band 13: Fassaden 1. Auflage 2014 130.1 Grundlagen und Anforderungen 130.2 Putzfassaden 130.3 Wärmedämmverbundsysteme 130.4 Leichte Wandbekleidung 130.5 Massive Wandbekleidungen 130.6 Selbsttragende Fassaden 130.7 Glasfassaden Band 14: Fußböden 1. Auflage 2016 140|1 Grundlagen 140|2 Konstruktionen und Materialien 140|3 Bodenbeläge 140|4 Fußbodenaufbauten und Details 140|5 Sportböden
VIII | Fachbuchreihe BAUKONSTRUKTIONEN Band 15: Heizung und Kühlung 1. Auflage 2005 150.1 Grundlagen 150.2 Wärmeversorgungsanlagen 150.3 Abgasanlagen 150.4 Kälteversorgungsanlagen 150.5 Wärme- und Kälteverteilung 150.6 Planung von Heizungs- und Kühlungssystemen 150.7 Nachhaltigkeit Band 16: Lüftung und Sanitär 1. Auflage 2006 160.1 Grundlagen der Lüftungs- und Klimatechnik 160.2 Lüftungs- und Klimaanlagen 160.3 Wärmerückgewinnung 160.4 Planung von Lüftungs- und Klimaanlagen 160.5 Begriffsbestimmungen zur Sanitärtechnik 160.6 Wasserversorgung 160.7 Entwässerung 160.8 Planung von Sanitäranlagen Band 17: Elektro- und Regeltechnik 1. Auflage 2007 170.1 Grundlagen der Elektrotechnik 170.2 Erdungs- und Blitzschutzanlagen 170.3 Stromversorgung 170.4 Schalter, Steckgeräte, Leuchten, Lampen 170.5 Messwertgeber und Stellgeräte 170.6 Mess-, Steuer- und Regelanlagen 170.7 Kommunikationsanlagen 170.8 Planung Elektro- und Regelanlagen Sonderband: Parkhäuser – Garagen 3. Auflage 2018 1 Problematik Verkehr 2 Planungsprozess 3 Gesetzliche Rahmenbedingungen 4 Entwurfsgrundlagen Garage 5 Entwurf Bauwerk 6 Mechanische Parksysteme 7 Oberflächengestaltung 8 Technische Ausrüstung 9 Benützung und Betrieb 10 Ausführungsbeispiele 11 Entwurfsschablonen PKW Sonderband: Ziegel im Hochbau 2. Auflage 2018 1 Ziegelarchitektur 2 Baustoffe, Produkte 3 Bauphysik 4 Gebäudephysik 5 Mauerwerk – ein Verbundwerkstoff 6 Mauerwerksbemessung 7 Ausführung, Verarbeitung, Details 8 Nachhaltigkeit 9 Ausführungsbeispiele Sonderband: Holz im Hochbau 1. Auflage 2016 1 Holzarchitektur 2 Holztechnologie – Baustoffe und Produkte 3 Bauphysik 4 Gebäudephysik 5 Konstruktionen des Holzbaus 6 Bemessung von Holzbauten 7 Bauteile, Aufbauten und Details 8 Ausführung und Vorfertigung 9 Verarbeitung und Qualitätssicherung 10 Ausschreibung 11 Nachhaltigkeit

Inhaltsverzeichnis Band 11: Fenster

Inhaltsverzeichnis Band 11: Fenster | IX
110|1 Grundlagen ..................................................................................................................................................... 1 110|1|1 Die Öffnung in der Fassade ............................................................................................................................... 1 110|1|1|1 Fenster - Wand........................................................................................................................................................................ 1 110|1|1|2 Das Fenster in der Moderne ................................................................................................................................................ 3 110|1|2 Fenstertypen im Kontext des Entwurfs .......................................................................................................... 5 110|1|2|1 Das Lochfenster....................................................................................................................................................................... 5 110|1|2|2 Das Bandfenster ...................................................................................................................................................................... 6 110|1|2|3 Das Fenster als Schlitz .......................................................................................................................................................... 8 110|1|2|4 Das Fenster als transparente Wand .................................................................................................................................. 8 110|1|2|5 Das Fenster in der nachhaltigen Planung ...................................................................................................................... 9 110|1|2|6 Entwicklungen im Fensterbau ................................................................................................... 10 110|1|3 Das Bauelement Fenster ................................................................................................................................... 11 110|1|3|1 Die Lage des Fensters in der Leibung .............................................................................................................................12 110|1|3|2 Der Anschlag des Fensters ..................................................................................................... 15 110|1|3|3 Der Einbau des Fensters ....................................................................................................... 17 110|1|4 Terminologie ........................................................................................................................................................ 19 110|1|5 Abmessungen ...................................................................................................................................................... 20 110|1|6 Vorschriften ......................................................................................................................................................... 21 110|2 Typenentwicklung ....................................................................................................................................... 25 110|2|1 Fenstertypen, Öffnungsarten .......................................................................................................................... 25 110|2|1|1 Drehflügelfenster ............................................................................................................. 25 110|2|1|2 Stulpfenster .................................................................................................................. 25 110|2|1|3 Dreiflügeliges Fenster ohne Pfosten ........................................................................................... 26 110|2|1|4 Drehkippfenster ............................................................................................................... 26 110|2|1|5 Schiebefenster ................................................................................................................ 26 110|2|1|6 Schwingflügelfenster .......................................................................................................... 27 110|2|1|7 Wendefenster ........................................................................................................................................................................27 110|2|1|8 Fenstertüren .................................................................................................................. 27 110|2|1|9 Hebedrehtüren ................................................................................................................. 27 110|2|1|10 Kipp-Schiebe-Elementfenstertüre ............................................................................................... 27 110|2|2 Rahmen-Konstruktionen .................................................................................................................................. 28 110|2|2|1 Falzausbildungen .............................................................................................................. 28 110|2|2|2 Fenster mit Einfachverglasung ................................................................................................. 29 110|2|2|3 Kastenfenster ................................................................................................................. 30 110|2|2|4 Verbundfenster ................................................................................................................ 30 110|2|2|5 Fenster mit Isolierverglasung ................................................................................................. 31 110|2|2|6 Dachflächenfenster ............................................................................................................ 31 110|2|3 Materialien ........................................................................................................................................................... 31 110|2|3|1 Holz und Holzwerkstoffe ....................................................................................................... 32 110|2|3|2 Aluminium ..................................................................................................................... 39 110|2|3|3 Holz-Aluminiumprofile.......................................................................................................... 41 110|2|3|4 Kunststoff .................................................................................................................... 42 110|2|3|5 Stahl......................................................................................................................... 45 110|2|3|6 Holz-Kunststoff.....................................................................................................................................................................46 110|2|3|7 Kunststoff-Aluminium.......................................................................................................... 47 110|2|3|8 Hochwärmegedämmte Profile .........................................................................................................................................48 110|3 Funktionen und Anforderungen .............................................................................................................. 53 110|3|1 Widerstandsfähigkeit bei Windwirkung ...................................................................................................... 54 110|3|2 Luft- und Schlagregendichtheit .................................................................................................................... 56 110|3|3 Licht- und strahlungstechnische Eigenschaften ....................................................................................... 62 110|3|3|1 Doppelscheiben- und Isolierglaseffekt......................................................................................... 62 110|3|3|2 Beschichtungstechnologie ...................................................................................................... 63
X | Inhaltsverzeichnis Band 11: Fenster 110|3|4 Belichtung ............................................................................................................................................................ 64 110|3|5 Sonnen- und Blendschutz ............................................................................................................................... 65 110|3|5|1 Sonnenschutz .................................................................................................................. 65 110|3|5|2 Markisen ..................................................................................................................................................................................70 110|3|5|3 Rollladen..................................................................................................................................................................................70 110|3|5|4 Lamellen- oder Raffstore (Jalousien) .............................................................................................................................71 110|3|5|5 Fensterläden .................................................................................................................. 72 110|3|5|6 Blendschutz ................................................................................................................... 72 110|3|5|7 Lichtlenksystem mittels Lamellen .............................................................................................. 73 110|3|6 Bauphysik.............................................................................................................................................................. 75 110|3|6|1 Wärmeschutz ................................................................................................................... 75 110|3|6|2 Schallschutz .................................................................................................................. 83 110|3|6|3 Brandschutz ................................................................................................................... 88 110|3|6|4 Feuchtigkeitsschutz ........................................................................................................... 88 110|3|7 Statik ...................................................................................................................................................................... 92 110|3|7|1 Mechanische Beanspruchung 93 110|3|7|2 Festigkeit .................................................................................................................... 93 110|3|7|3 Bedienkräfte .................................................................................................................. 94 110|3|8 Sonderfunktionen .............................................................................................................................................. 94 110|3|8|1 Stoßfestigkeit ........................................................................................................................................................................94 110|3|8|2 Lawinenschutzfenster .......................................................................................................... 94 110|3|8|3 Schusssicherheit............................................................................................................... 96 110|3|8|4 Selbstreinigung ............................................................................................................... 97 110|3|9 Leistungseigenschaften von Fenster- und Fenstertüren ........................................................................ 98 110|4 Verglasungs- und Beschlagstechnik ..................................................................................................... 107 110|4|1 Glasarten .............................................................................................................................................................107 110|4|1|1 Mehrscheiben-Isolierglas ................................................................................................................................................ 110 110|4|1|2 Zweifach-Isolierglas mit Wärmedämmbeschichtung ............................................................................................ 111 110|4|1|3 Dreifach-Isolierglas ........................................................................................................................................................... 112 110|4|1|4 Drahtglas .............................................................................................................................................................................. 112 110|4|1|5 Einscheibensicherheitsglas „ESG“................................................................................................................................. 112 110|4|1|6 Emailliertes Glas................................................................................................................................................................. 114 110|4|1|7 Verbundsicherheitsglas „VSG“ ....................................................................................................................................... 114 110|4|1|8 Teilvorgespanntes Glas „TVG“ ........................................................................................................................................ 115 110|4|1|9 Brandschutzglas der Feuerwiderstandsklasse „G“................................................................................................... 115 110|4|1|10 Vacuumisolierverglasung ................................................................................................................................................ 116 110|4|1|11 Photovoltaik-Verglasung ................................................................................................................................................ 116 110|4|2 Glaseinbau ..........................................................................................................................................................117 110|4|3 Glasstatik ........................................119 110|4|3|1 Vorbemessung der Glasdicke ......................................................................................................................................... 119 110|4|3|1|1 Senkrechte Verglasungen ...................................................................................................................................... 120 110|4|3|1|2 Schrägverglasungen ................................................................................................................................................ 121 110|4|3|2 Glasbemessung ................................................................................................................................................................... 123 110|4|3|2|1 Einwirkungen und Kombinationsregeln............................................................................................................ 124 110|4|3|2|2 Grenzzustand der Gebrauchstauglichkeit ........................................................................................................ 125 110|4|3|2|3 Grenzzustand der Tragfähigkeit .......................................................................................................................... 126 110|4|4 Beschläge ............................................................................................................................................................128 110|4|4|1 Material für Beschläge .................................................................................................................................................... 128 110|4|4|2 Einteilung der Beschläge ................................................................................................................................................ 128 110|4|4|3 Bänder ................................................................................................................................................................................... 129 110|4|4|4 Oliven .................................................................................................................................................................................... 131 110|4|4|5 Verriegelungen ................................................................................................................................................................... 132 110|4|4|6 Dreh-Kipp-Beschlag ......................................................................................................................................................... 133 110|4|4|7 Kipp-Schiebe-Beschlag ..................... 133 110|4|4|8 Dachflächenfenster .......................................................................................................................................................... 134
Inhaltsverzeichnis Band 11: Fenster | XI 110|5 Baukörperanschlüsse ................................................................................................................................ 135 110|5|1 Befestigungstechnik ........................................................................................................................................137 110|5|1|1 Toleranzen bei der Montage .......................................................................................................................................... 139 110|5|1|2 Stockmontage .................................................................................................................................................................... 141 110|5|1|3 Blindstockmontage ........................................................................................................................................................... 141 110|5|2 Anschlussfuge Fenster-Wand .......................................................................................................................142 110|5|2|1 Abdichtungssysteme......................................................................................................................................................... 145 110|5|2|2 Dämmung der Anschlussfuge........................................................................................................................................ 148 110|5|2|3 Fensterbänke ....................................................................................................................................................................... 148 Quellennachweis, Mitwirkende .................................................................................................. ................................. 151 Literaturverzeichnis ....................................................................................................................................................... 152 Sachverzeichnis .............................................................................................................................................................. 157 Autoren ............................................................................................................................................................................ 160
XII | Inhaltsverzeichnis
11:
Band
Fenster

Grundlagen 110|1

Fenster sind Elemente der Außenhaut eines Gebäudes, deren primäre Aufgaben in der natürlichen Belichtung bzw. (bei öffenbaren Fenstern) in der Belüftung eines Raumes liegen. In bauphysikalischer Hinsicht stellen sie aufgrund ihrer besonderen Aufgabenstellung Schwachstellen in der Bauwerkshülle dar. Dies erfordert die sorgfältige Ausbildung der Fensterkonstruktion selbst wie auch deren Anschluss an die raumumschließenden Elemente. Zusammengefasst sind folgende Anforderungen zu berücksichtigen:

- Lage und Proportion in der Wandkonstruktion und im Entwurf

- Auslegung der Belichtung in Abhängigkeit von der Raumnutzung

- Beständigkeit gegen Witterungsbeanspruchung von außen

- Beständigkeit gegen Wasserdampfbeanspruchung von innen

- mechanische Festigkeit zur Aufnahme der Windlast und der Eigenlast

- Wärme-, Schall- und Brandschutz

- Blendschutz

Moderne Fensterkonstruktionen mit Mehrfachverglasungen sind dabei in der Lage, die teilweise entgegengesetzt gerichteten Forderungen aus großer Belichtungsfläche und hohem Schall- und Wärmeschutz weitgehend zu erfüllen. Sie stellen infolgedessen ein wesentliches Element im bauphysikalisch optimierten Neubau und bei der Revitalisierung der Altbausubstanz dar. Für die Raumkunst sind Fenster ein wesentliches Gestaltungselement, mit der in der Architektur Außen- und Innenbezug zwischen Räumen hergestellt wird. Der architektonische Entwurf nutzt das Thema Wand – von der einfachen Öffnung bis hin zur transparenten Wand –, um differenzierte Raumstimmungen zu schaffen.

In bauphysikalischer Hinsicht stellen Fenster Schwachstellen in der Bauwerkshülle dar.

Die Öffnung in der Fassade 110|1|1

Die Anordnung der Fenster und der Form in den Wänden prägt entscheidend die architektonische Erscheinung des Gebäudes. Sie beeinflusst sowohl die Struktur des Fassadenaufbaus als auch den Raumeindruck der dahinter liegenden Räume. Die Wirkung von Öffnungen ist daher bei der Planung nach beiden Seiten hin zu berücksichtigen. Wesentliche Aspekte für das Fenster als Gestaltungselement sind:

- dessen Lage in der Gebäudeansicht

- dessen Lage in der Ansicht aus dem Innenraum

- dessen Lage im Fassadenquerschnitt

- dessen Abmessungen im Verhältnis zu den Gebäude-/Raummaßen

- die Unterteilung der Glasfläche

- die optischen Eigenschaften des Glases (Reflexionsgrad, Färbung etc.)

- die Ansichtsbreiten der Rahmenkonstruktionen

- die Lage der Glasebene in Bezug zum Fensterprofilschnitt

- die Ausrüstung mit Zusatzausstattungen für Sonnenschutz, Verdunklung etc.

- die Integration von sensitiv regelbaren Be- und Entlüftungsfunktionen

Fenster beeinflussen die Struktur des Fassadenaufbaus und den Raumeindruck.

Fenster - Wand 110|1|1|1

Aussparungen in Wänden, Decken und Dächern werden als Öffnungen bezeichnet. Öffnungen verbinden Räume, d. h. sie stellen Verbindungen in funktioneller und visueller Hinsicht zwischen ansonst abgeschlossenen Räumen

Die Öffnung in der Fassade | 1

her, Fenster bilden den Abschluss von Öffnungen. Das öffenbare Standardfenster besteht zumindest aus einem Stock- und Flügelrahmen, wovon ersterer in die Öffnung der Wand „angeschlagen“ wird. Mit Anschlag ist damit die Kontaktfläche zwischen Fenster und Bauwerk gemeint. Dieser Anschlag kann unterschiedlich erfolgen. Fensterelement und Leibung „bilden ein konstruktives Junktim“ [41], gemeinsam werden sie konstruktiv und gestalterisch wirksam. Zunehmende Wandstärken hoch wärmegedämmter Fassaden beeinflussen die Lage des Fensters in Bezug auf die Fassadenoberfläche. Der Fensterstock wird in der Regel dabei weitgehend überdämmt, wie das bei klassischen Fensterkonstruktionen mit Anschlagziegeln in Mauerwerksöffnungen seit dem gründerzeitlichen Fenster der Fall war.

Abbildung 110|1-01: Regelschnittbereiche einer Fensterkonstruktion

Fensterelement und Leibung werden gemeinsam konstruktiv und gestalterisch wirksam.

Durch die Gestaltung und Dimensionierung der Fensteröffnung wird das Verhältnis zwischen außen und innen wesentlich definiert. Die Wahl des Rahmenmaterials und der Konstruktion sowie der Verglasung beeinflusst zusätzlich Aspekte des Sichtbezugs und der Ausleuchtung mit Tageslicht. Im Entwurfskonzept spielt die „Lichtführung“ bei der Raumgestaltung eine wesentliche Rolle. Licht, das direkt oder diffus einstrahlen kann, wird dabei gelenkt, dosiert, gefiltert und/oder reflektierend eingesetzt. Der Leibung und ihrer Ausbildung ist dabei besonderes Augenmerk zu schenken.

Beispiel 110|1-01: (1) Schule in Vella CH Bearth+Deplazes [136]

(2) Wohnbau Basel CH

Der Lichteinfall und Sichtkontakt zwischen drinnen und draußen kann durch die Positionierung der Fensterebene zusätzlich gesteuert werden. Fensterkonstruktion können hinter der inneren Flucht der Wandöffnung, in oder vor

Die Wahl des Rahmenmaterials, der Konstruktion und der Verglasung beeinflusst Aspekte des Sichtbezugs und der Ausleuchtung mit Tageslicht.

2 | Grundlagen

die Dämmebene (Hilfskonstruktion erforderlich) verlagert werden, was ergänzende Hilfskonstruktionen erfordert, die dampf- und winddicht auszuführen sind. Die architektonische Wirkung der Fassade wird dadurch entscheidend beeinflusst und die Funktionalität der Fensteröffnung erweitert. Durch eine differenzierte Ausbildung der Fensterleibung, die entweder mehr oder weniger Lichteinfall und Ausblick ermöglicht, kann auf der Feinebene die Wirkung von Fenstern zusätzlich beeinflusst werden.

Das Fenster in der Moderne 110|1|1|2

Bis zum 20. Jahrhundert war das traditionelle, vertikal orientierte Fenster für die Öffnungsgestaltung maßgeblich. Konstruktive Randbedingungen wie große Mauerstärken, geringe Spannweiten im Überlagerbereich durch Balken oder Bögen und kleine Glasscheiben haben diesen Typus geformt. Mit dem technologischen Fortschritt und neuen Baumaterialien, allen voran den konstruktiven Möglichkeiten der Walzprofile und des Eisenbetons, wurden diese Fesseln gesprengt.

110|1-02:

Mit Beginn der Moderne wurde das Fenster als Grundelement der Architektur einer grundsätzlichen Debatte unterzogen, in der die Ausformung von Öffnungen in der Fassade kontroversiell abgehandelt wurde. Le Corbusier, als einer der wichtigsten Neuerer, sah im „Langfenster“, ein von ihm eingeführter Begriff, einen revolutionären Aspekt neuen Bauens. In der Debatte wurden

Mit Beginn der Moderne wurde das Fenster als Grundelement der Architektur einer grundsätzlichen Debatte unterzogen.

Die Öffnung in der Fassade | 3
Beispiel (1) Villa Tzara, Paris (FR), Adolf Loos 1926-27 [14], (2) Villa Stein de Monzie, Garches (FR), Le Corbusier & Jeanneret 1927 [14] Beispiel 110|1-03: (1) Mehrfamilienhäuser, Zürich (CH), Bräuer, A&E Roth 1935-36 [14] (2) Bioscoop-Gebäude, Utrecht (NL), Gerrit T. Rietveld 1934-36 [14]

technische Argumente zu den Themen Licht, Luft und Sonne, der Teilung der Funktionen des Fensters in Aussicht, Belichtung und Lüftung, der technischen Innovation bei der Baustruktur, der Materialtechnologie und Konstruktionsweise eingesetzt. Die Wirkung der Fensterform auf den Raumeindruck kann in Fenstertypen strukturiert werden. Dem traditionellen Fenster, das ungebrochen über Epochen und Kulturen hinweg als vertikal orientierte Rechtecköffnung Verwendung findet, wird anthropomorphe Affinität zur aufgerichteten Gestalt des Menschen zuerkannt.

Beispiel 110|1-04: (1) Altes AKH, Wien (A),1884, Umbau 1991-97 [38]

(2) Villa Kuhner, Semmering (A), Adolf Loos 1931 [38]

In der Form des hochgestellten Rechtecks kann ein „harmonischer“ Ausblick in die Außenwelt genommen werden. Basis dieser Empfindung ist ein seit der Renaissance praktizierter Bildaufbau in Vorder-, Mittel- und Hintergrund entsprechend den Gesetzen der Linienperspektive, der Tiefenschärfe für den Betrachter entstehen lässt. Die Fensteröffnung wird als Rahmung eines Guckkastens in die Welt formuliert. Das Außen-/Innenverhältnis ist als Schwelle klar definiert. Aus einer behausten Situation ermöglicht der Blick durch das Fenster eine gesicherte Kontaktaufnahme mit den Objekten draußen in der Tiefe der Außenwelt. Garten, Straße, Personen im Vordergrund, Häuser, Bäume, Natursilhouetten im Mittelgrund und das Firmament im Hintergrund.

Beispiel 110|1-05: (1) Miethaus Embassy Court, Brighton (GB), Wells & Coates ca. 1936 [34], (2) Kinderheim, Bad Imnau (D), 1952 [34]

Die vertikal orientierte Fensteröffnung wird als Rahmung eines Guckkastens in die Welt formuliert.

Das Bandfenster (Langfenster), im Idealfall ansatzlos die Gesamtbreite des Innenraums einnehmend, vermittelt dem Betrachter dagegen ein Panoramabild der Außenwelt. In seiner horizontalen schlitzhaften Abwicklung fokussiert es

Das Bandfenster vermittelt ein Panoramabild der Außenwelt.

4 | Grundlagen

Typenentwicklung 110|2

Die Entwicklung des Fensters ist eng mit der Verbesserung der Funktion gekoppelt. Aus dem einfachen Steckflügel wurde unter Verwendung von immer ausgefeilteren Beschlägen eine Vielzahl von Varianten entwickelt. Dies führte vom einfachen Drehflügelfenster über das Stulpfenster zum Schiebefenster. Die Entwicklung von „gesteuerten“ Schließmechanismen ermöglichte die Funktion des Drehkippfensters und der Schwingflügel- und Wendefenster. Aufgrund der einfachen Funktionsweise und der standardisierten Produktion wurden vermehrt Fenster als Türen in Wohnraumbereichen eingesetzt. Diese so genannten Fenstertüren haben heute bei einer Vielzahl von Terrassen und Balkonen Eingang gefunden.

Die Entwicklung des Fensters ist eng mit der Verbesserung der Funktion gekoppelt.

Fenstertypen, Öffnungsarten 110|2|1

Die Funktionsweisen von Fenstern sind vielfältig, je nach Öffnungsart der Flügel kann ein Drehen, Kippen, Dreh-Kippen, Schwingen, Klappen oder Wenden erfolgen. Die Kombination mehrerer Bewegungsarten in einem Fensterelement ist durchaus üblich, um eine bestmögliche Belüftung zu erzielen.

Abbildung 110|2-01: Flügelöffnungsarten nach ÖNORM EN 12519 [111] (Auszug)

Aus dem feststehenden Flügel mit einer beidseitigen Fixierung wurde ein Drehflügel geschaffen. Fenster mit einem mittig stehenden Kämpfer ermöglichen eine Vielzahl an Funktionsvarianten. Entscheidend für die Fensterkonstruktion ist, ob die Fensterflügel innen oder außen aufgehend sind. Außen aufgehende Fensterflügel haben den Vorteil, dass bei Winddruck das Fenster an den Stock angepresst und eine verbesserte Dichtwirkung erreicht wird. Reine Drehflügelfenster haben heute allerdings nur mehr eine untergeordnete Bedeutung und werden für Kellerfenster und Ähnliches verwendet. Der Einsatz systematisierter Beschlagstechnik mittels Schienensystem hat die konventionellen einfachen Drehflügelfenster weitestgehend verdrängt.

Das Stulpfenster ist eine Weiterentwicklung des Drehflügelfensters. Die Verwendung eines pfostenlosen Stockrahmens erlaubt schmalere Ansichtsbreiten der Flügelprofile und dadurch auch eine elegantere Gestaltungsmöglichkeit des Fensters, da die Ansichtsfläche des Übergriffes der Flügel deutlich geringer ausfällt. Die beiden Flügel des Stulpfensters werden in Stand- und Gangflügel

Fenstertypen, Öffnungsarten | 25
Drehflügelfenster 110|2|1|1
Festverglasung fester Flügelrahmen Drehflügel Drehkippflügel Schwingflügel Wendeflügel Klappflügel Kippflügel vertikaler Schiebeflügel horizontaler Schiebeflügel Kippschiebeflügel Hebeschiebeflügel Faltflügel unten oben zweiflügelig einflügelig zweiflügelig
Stulpfenster
110|2|1|2

unterschieden (frühere Bezeichnung Steh- und Gehflügel) und weisen einen Stoß in der Dichtebene im Bereich des Standflügels auf. Dieser Stoß im Bereich der Dichtebene führt dazu, dass Stulpfenster für hohe Anforderungen an die Luftdichtheit oft nur bedingt geeignet sind, da die Dichtungen im Bereich des Überschlages konstruktiv schwierig auszubilden sind.

Eine spezielle Weiterentwicklung des Stulpfensters stellt ein dreiflügeliges Fenster ohne Pfosten dar. Das nebenstehende Symbol zeigt die Variante der beiden Gangflügel sowie des mittleren Standflügels. Für die Ausführung mit mechanisiertem Getriebe gibt es spezielle Formen, sodass alle drei Fenster unabhängig voneinander geöffnet werden können, wobei der Standflügel als letzter zu öffnen ist.

Dreiflügelige Fenster ohne Pfosten haben ebenfalls, wie Stulpfenster, jeweils Stoßstellen in der Dichtebene im Bereich des Standflügels zu den jeweiligen beiden Gangflügeln. Aufgrund der eleganten schmalen Ansichtsflächen der Flügel (fehlendes Pfostenprofil) ist dieses Fenster im Wiener Raum sehr verbreitet, da es die üblichen dreiteiligen Fenster auch in einer Isolierglasvariante unter denkmalschützerischen Aspekten sehr gut ersetzen kann.

Das Drehkippfenster wird ebenfalls unterschieden in eine links- und eine rechts angeschlagene Variante (Symbol links angeschlagen). Das Drehkippfenster stellt eine Kombination aus einem Kippflügelfenster und einem Drehfenster dar, wobei diese Fensterbauart durch die Erfindung der mechanisierten umlaufenden Verriegelungen, die Ende der 70er Jahre entstanden, möglich wurde. Die Kippstellung des Drehkippfensters ermöglicht eine einfache Lüftungsart, die verhindert, dass geöffnete Flügel durch Windsogbeanspruchungen auf- und zuschlagen. Das Drehkippfenster ist heute die verbreitetste Fensterkonstruktion.

Das Schiebefenster ist ebenfalls eine alte Konstruktion, die jedoch wieder Bedeutung erlangt. Das Schiebefenster, egal ob in vertikaler oder horizontaler Form, verfügt über eine konstruktiv schwierig zu lösende Stoßstelle (Abdichtung) der beiden Verglasungsebenen über die Fensterbreite. Diese Stoßstelle stellt durch den Sprung der Dichtungsebene einen grundsätzlichen Schwachpunkt dar. Schiebefenster können daher nur bedingt hohe Luftdichtheitsklassen erreichen.

Moderne Aluminiumkonstruktionen weisen eigene Dichtungssysteme mit Passdichtungen auf. Diese Schiebeflügel können auch höhere Luftdichtheitsklassen erreichen. Einen weiteren Schwachpunkt dieser Konstruktion stellt die für einen Flügel offene Schiebefuge dar. Diese Schiebefuge muss entwässert werden, um auch hier die Schlagregendichtheit des Fensters gewährleisten zu können. Eine weitere Entwicklung sind Hebeschiebeflügel. Hier wird der Schwachpunkt der mangelnden Schlagregendichtheit über die Funktion des Heraushebens des Flügels aus der Dichtebene behoben. Diese Konstruktionen sind mechanisch aufwändig, unterliegen, speziell bei hohen Flügelgewichten, einem relativ hohen Verschleiß und benötigen laufend erhöhte Wartung.

26 | Typenentwicklung
Fenster
Pfosten 110|2|1|3
Dreiflügeliges
ohne
Drehkippfenster 110|2|1|4
Schiebefenster 110|2|1|5

Das Schwingflügelfenster stellt eine Konstruktion dar, die in den 70er Jahren sehr populär war. Durch die mittlere Anordnung der Drehpunkte kann ein rotierender Flügel hergestellt werden, der nur sehr geringe Bedienkräfte benötigt. Problematisch ist jedenfalls der Wechsel der Dichtebenen im Bereich des Drehlagers. Hier ist eine aufwändige Konstruktion zur Erreichung einer hohen Luftdichtheit notwendig. Die Konstruktion des Schwingflügelfensters wird jedoch vielfach mit großem Erfolg für Dachfenster verwendet, da das Durchschwingen der Flügel eine einfache und sichere Reinigungsmöglichkeit der Außenseite der Flügel bietet. Schwingflügelfenster sind aufgrund ihrer Konstruktion besonders für Fenster mit einem Verhältnis geringe Höhe zu extremer Breite geeignet.

Ähnlich wie Schwingflügelfenster sind Wendefenster aufgebaut, mit dem Unterschied einer vertikalen Drehachse. Die Verbreitung ist aufgrund der relativ komplizierten Ausführung der Dichtebene im unteren Stockbereich und der Handhabung gering. Technisch gesehen gelten ähnliche Vorgaben an die Funktion der Dichtungen wie beim Schwingflügelfenster.

Fenstertüren haben sich durch Verwendung der Rahmen- und Flügelprofile von Fenstern entwickelt und weisen als wesentliches Merkmal eine mit Fenstern idente Ausbildung der Rahmenfriese auf. Gegenüber konventionellen Türkonstruktionen ist der Vorteil von Fenstertüren, dass die Luft- und Schlagregendichtheit in einem weit höheren Maß gewährleistet ist. Darüber hinausgehend können auch unterschiedliche Öffnungs- und Bedienvarianten angeordnet werden. Ein Beispiel dafür ist der Einbau eines Drehkippbeschlages in einer Fenstertür. Fenstertüren haben einen vergleichbaren Wärmeschutz wie Fenster. Auf die gesetzlich erforderliche Verwendung von Einscheibensicherheitsglas an der Innenscheibe bzw. auch an der Außenscheibe ist besonders zu achten. Hebedrehtüren 110|2|1|9

Die Hebedrehtür ist eine Kombination aus einer konventionellen Tür unter Verwendung von Fensterprofilen. Die Verbesserung der Luft- und Schlagregendichtheit im unteren waagrechten Rahmenfries wird durch eine eigens dafür ausgebildete Schwellenform gelöst. Der Vorteil dieser Schwellenform gegenüber konventionellen Drehkipp- bzw. Drehfenstertüren ist, dass sie robuster sind gegenüber Beschädigungen durch Trittbelastung. Auf die gesetzlich erforderliche Verwendung von Einscheibensicherheitsglas an der Innenscheibe bzw. auch an der Außenscheibe ist auch bei dieser Konstruktion besonders zu achten.

Eine Weiterentwicklung aus Hebetür und Fenstertür stellt eine Kombination beider Funktionen im so genannten Kipp-Schiebe-Elementfenster dar. Durch das Kippen der Elemente kann eine leichtere Lüftung des Raumes erfolgen, und

Fenstertypen, Öffnungsarten | 27 Schwingflügelfenster 110|2|1|6
Wendefenster 110|2|1|7
Fenstertüren 110|2|1|8
Kipp-Schiebe-Elementfenstertür 110|2|1|10

durch das Herausheben der Fenster aus der Dichtungsebene und dem seitlichen Wegschieben können unter anderem auch Stulpkonstruktionen gebaut werden, die speziell für den Terrassenbereich zu attraktiven großen Fensterkonstruktionen zusammengefasst werden können und eine maximale, kämpferfreie Öffnung des Raumes ermöglichen. Auf die gesetzlich erforderliche Verwendung von Einscheibensicherheitsglas an der Innenscheibe bzw. auch an der Außenscheibe ist ebenfalls besonders zu achten.

Die Konstruktionsart der Fensterrahmen basiert auf der technologischen Entwicklung – ausgehend vom Einfachfenster mit Einfachverglasung und dem Kastenfenster (bzw. Doppelfenster) mit getrennt beweglichen Innen- und Außenflügeln hin zum Einfachfenster mit Mehrfachverglasung und dem Verbundfenster mit mechanisch verbundenen Innen- und Außenflügeln. Abbildung 110|2-02: Entwicklung der Konstruktionsarten von Fenstern

Die Art der Verglasung richtet sich nach den Anforderungen an Wärme-, Schallund Sichtschutz und sicherheitstechnischen Richtlinien (Sicherheitsglas). Dabei kann der zielführende Weg sowohl in zusätzlichen Verglasungsebenen als auch in speziellen Glasqualitäten liegen.

Die Ausbildung des Übergriffes zwischen Flügel und Stockprofil bzw. Flügel und Flügel (Stulpfenster) wird als Falz bezeichnet. Bei der Falzausbildung ist zu berücksichtigen:

- Fugendurchlässigkeit für kontrollierten Luftaustausch zwischen Flügel und Rahmen

- Schlagregendichtheit (Wasser und Winddruck)

Die Falzdichtungen zwischen Flügel und Rahmen befinden sich umlaufend in einer Ebene und sind in den Ecken miteinander dicht verbunden. Im Stulpbereich gibt es zusätzliche Dichtelemente für den Übergang der vertikalen zur horizontalen Dichtung des Stehflügels. Die Ausführung und der Querschnitt der Dichtungen werden vom eingesetzten Werkstoff bestimmt. Ziel ist, optimale Dichtheit und Standvermögen bei Reduktion von Wärmebrücken und Tauwasserbildung zu erreichen. Je nach konstruktiver Ausbildung kann der Fensterfalz mit ein bis drei unterschiedlichen Dichtebenen ausgeführt werden. Bei modernen Fensterkonstruktionen befinden sich im Fensterfalz die mechanischen Steuerungs- und Verriegelungselemente.

Die Falzausbildung von Fenstern hat sich aus einer stumpfen Rahmenausbildung des Fensters entwickelt, wobei festzuhalten ist, dass bei einer falzlosen Ausbildung ein beidseitiges Öffnen möglich wäre. Aufgrund mangelnder Wind-

Optimale Dichtheit und Standvermögen bei Reduktion von Wärmebrücken und Tauwasserbildung zu erreichen ist Ziel der Falzdichtungen.

28 | Typenentwicklung
Rahmen-Konstruktionen 110|2|2
Einfachfenster Doppelfenster Kastenfenster Verbundfenster
Falzausbildungen 110|2|2|1

und Schlagregendichtheit sowie Wärme- und Schallschutz ist jedoch diese Falzausbildung für bewitterte Fassaden ungeeignet.

Abbildung 110|2-03: Entwicklung der Falzausbildungen

stumpfer Anschlag einfacher Falz doppelter Falz

elastische Dreifachfalz mit Fugendichtung Fugendichtung

Grundsätzlich muss die Falzausbildung Fertigungstoleranzen wie auch die materialbedingten Toleranzen zwischen Flügel und Fensterstock ausgleichen. Die einfachste Form einer Falzausbildung wird in Abbildung 110|2-03 dargestellt. Bei der doppelten Falzausbildung sind bereits zwei Übergriffe zwischen Flügel und Stock vorhanden, sodass sich damit auch zwei Dichtebenen ergeben. Aufgrund der Tatsache, dass Holzwerkstoffe im Jahresrhythmus ein hygrisches Quellen und Schwinden aufweisen, muss die Auslegung der Profile diese Toleranzen aufnehmen können. Bei heutigen Fensterkonstruktionen mit den hohen bauphysikalischen Anforderungen für Wärme- und Schallschutz werden bis zu drei Dichtebenen vorgesehen. Die Dichtebenen und die Dichtprofile sind entsprechend den bauphysikalischen Anforderungen angeordnet und müssen die entsprechende Elastizität und Dauerhaftigkeit zur Erfüllung der Luft- und Schlagregendichtheit aufweisen. Je nach Konstruktion des Fensters ist darüber hinaus auch darauf zu achten, dass die Falzausbildungen zusätzliche Bewegungen zwischen Flügel und Stock ermöglichen. Ein Beispiel dafür stellen Hebe-Drehtüren dar, bei denen ein Verschieben des Flügelprofils in der Ebene zu Scherbewegungen der Fuge führt. Bewegungsbehinderte Personen benötigen zur Vermeidung von Stolperunfällen und für die Befahrung mit Rollstühlen eine Limitierung der Schwellenhöhe von Türen. Die Bauvorschriften (OIB Richtlinie 4) legen die Schwellenhöhe mit maximal 3 cm fest. Für Terrassen- oder Balkon-Fenstertüren wurde eine spezielle Schwellenform entwickelt. Diese löst das Problem der konstruktiven Ausbildung einer befahrbaren, trittsicheren und zugleich optimal entwässernden Falzausbildung des unteren Frieses (siehe Band 12: Türen und Tore [24] und Band 9: Flachdach [23]).

Bei heutigen Fensterkonstruktionen mit den hohen bauphysikalischen Anforderungen für Wärme- und Schallschutz werden bis zu drei Dichtebenen vorgesehen.

Fenster mit einer Einscheibenverglasung stellen die Standardform für Bereiche ohne Wärmeschutzanforderungen, im Portalbau sowie für untergeordnete Zwecke (z. B. Kellerfenster etc.) dar. Aufgrund der geringen Flügelgewichte erlauben Einfachfenster extrem schmale Ansichtsbreiten der Flügel- und Stockprofile und wirken dadurch schlank und elegant.

Durch den fehlenden Wärmeschutz sind Einfachfenster besonders kondensatgefährdet und müssen daher auch entsprechend ausgebildet werden. Die Kondensatbelastung kann bei dem Werkstoff Holz zu einer Schädigung durch Holz zerstörende Pilze führen. Ebenso ist darauf zu achten, dass im Stahlfensterbau ein entsprechender Korrosionsschutz vorgesehen wird, um Schäden zu verhindern.

Einfachfenster sind besonders kondensatgefährdet.

Rahmen-Konstruktionen | 29
Fenster mit Einfachverglasung
110|2|2|2

Kastenfenster 110|2|2|3

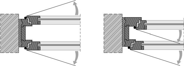
Kastenfenster gibt es in zwei Varianten. Bei der älteren Ausführung ohne äußeres vorgesetztes Stockprofil gehen die inneren Flügel nach innen und die äußeren Flügel nach außen auf („Grazer Fenster“), bei der jüngeren Ausführung gehen beide Flügel nach innen auf („Wiener Fenster“). Anwendung findet das Kastenfenster immer noch in Altbauten und bei Renovierungen denkmalgeschützter Objekte. In der heutigen Zeit gibt es wieder Bestrebungen diese Konstruktion mit Isolierverglasung kombiniert bei hohen Anforderungen an den Schallschutz trotz Einschränkungen bei der Funktionalität zu verwenden. Bei der Konstruktion der Kastenfenster ist unbedingt darauf zu achten, dass der Innenflügel mit einer umlaufenden Dichtung ausgestattet und der Flügelzwischenraum nach außen hin belüftet wird.

Abbildung 110|2-04: Öffnungsarten von Kastenfenstern

„Grazer Fenster“

„Wiener

Fenster“

Da Kastenfenster in der Regel als Stulpfenster ausgeführt werden, ist besonders auf die Ausführung der Übergriffe der Dichtungen des Stulpes auf der Raumseite zu achten. Eine Luftströmung von der Raumseite in den Flügelzwischenraum muss auf jeden Fall zur Vermeidung von Kondensatbildung verhindert werden.

Verbundfenster 110|2|2|4

Bei Verbundfenstern besteht der Fensterflügel aus zwei mit Drehbeschlägen miteinander verbundenen Teilflügeln. Durch die Kombination von zwei Einfachverglasungen konnte eine deutliche Verbesserung des Wärmeschutzes und eine Reinigungsmöglichkeit des Zwischenraumes erzielt werden. Wichtig für die dauerhafte Funktion eines Verbundfensters ist (wie auch bei anderen Fenstern), die einwandfreie Dichtebene zur Raumseite um Kondenswasserbildung in der Konstruktion zu verhindern. Für diese Vorgabe muss der innere Flügel einer einwandfreien Dichtebene zum Stockprofil versehen werden. Durch einen undichten Anschluss der Dichtebene ist es in der Vergangenheit zu einer erhöhten Kondensatbelastung im Scheibenzwischenraum und in weiterer Folge zur Schädigung des Holzes gekommen.

Eine Weiterentwicklung des Verbundfensters stellt die Kombination einer Einfachverglasung mit einer Isolierverglasung bzw. mit zwei Isolierverglasungen für hochwertige Schallschutzfenster dar. Verbundfenster können mit den gleichen Funktionen wie normale Einfachfenster mit Isolierverglasung ausgeführt werden.

Kastenfenster finden hauptsächlich in Altbauten und bei Renovierungen denkmalgeschützter Objekte Anwendung. Ein undichter Anschluss der Dichtebene erhöht die Kondensatbelastung im Scheibenzwischenraum.

30 | Typenentwicklung

Funktionen und Anforderungen 110|3

Die Anforderungen an Fensterkonstruktionen hängen hauptsächlich von der Exposition im Bauwerk ab und werden weitestgehend durch die Wind- und Schlagregenbeanspruchung beeinflusst. Gemäß ÖNORM B 5300 [77] sind für die Wahl der Beanspruchungsklasse die Windwirkung in Abhängigkeit von der geografischen Lage, die örtlichen Wind- und Schlagregenverhältnisse, die Form und die Höhe des Gebäudes sowie die Lage des Fensters in der Fassade entscheidend. Wegen der oft unterschiedlichen Belastungen durch Wind und Regen – selbst an gleichartigen Gebäuden unterschiedlichen Standortes oder durch Auswirkungen von Gebäudekonstellationen (Düsenwirkung) – ist die Festlegung der Anforderungen an Fenster nicht möglich, wenn nur die Gebäudehöhe oder Gebäudeform bekannt ist. Ergänzend zu diesen allgemeinen Anforderungen besteht noch eine Reihe besonderer Anforderungen von mechanischen Kennwerten bis hin zu Lawinenschutz und beschusshemmender Wirkung.

Tabelle 110|3-01: Allgemeine Anforderungen an Fenster – ÖNORM B 5300 [77]

Die Anforderungen an Fensterkonstruktionen hängen von der Lage im Gebäude, von besonderen funktionellen Erwartungen und vom Wind- und Wettergeschehen ab.

(geschützte Lage) keine Anforderung

Wärmeschutz Anforderungen gemäß OIB-Richtlinie 6 bzw. ÖNORM B 8110-1

Schallschutz Anforderungen gemäß OIB-Richtlinie 5 bzw. ÖNORM B 8115-2

Entscheidend für den Hochhausbereich oder auch für Fenster für besondere Gebäudekonstellationen ist die Kategorie Beanspruchungsklasse xxxx. Diese Beanspruchungsklasse bedingt, dass entsprechend der Windwirkung �� zu klassifizieren ist und diese deutlich höher sein kann als der in der Norm angeführte Maximalwert von 2 kN/m². Weiters ist auch anzumerken, dass eine Staffelung der Beanspruchungsklasse über die Gebäudehöhen grundsätzlich nicht vorgesehen und auch nicht zweckmäßig ist.

Widerstandsfähigkeit bei Windwirkung | 53
Eigenschaft Anforderung Widerstandsfähigkeit bei Windlast Windwirkung �� Beanspruchungsklassen [kN/m²] 1 2 3 4 5 xxxx 0,4 B1 0,8 B2 1,2 B3 1,6 B4 2,0 B5 xxxx BExxxx Luftdurchlässigkeit Windwirkung �� Beanspruchungsklassen [kN/m²] 1 2 3 4 5 xxxx 0,4 1 0,8 2 1,2 3 1,6 4 4 4 Schlagregendichtheit (nicht geschützte Lage) Windwirkung �� Beanspruchungsklassen [kN/m²] 1 2 3 4 5 xxxx 0,4 4A 0,8 5A 1,2 7A 1,6 8A 2,0 9A xxxx ExxxxA Schlagregendichtheit (teilweise geschützte Lage) Windwirkung �� Beanspruchungsklassen [kN/m²] 1 2 3 4 5 xxxx 0,4 4B 0,8 5B 1,2 7B 7B 7B 7B Schlagregendichtheit

Nach der Definition der ÖNORM B 5300 [77] wird für Fenster in einer „geschützten Lage“ eine Einbausituation mit einem Überbau oder einer anderen baulichen Maßnahme, die das Fenster vor einer direkten Bewitterung durch Schlagregen schützt (z. B. Dach, Vordach, Balkon), verstanden. Eine „teilweise geschützte Lage“ ist die Einbausituation mit einer Leibungstiefe von mindestens 20 cm, die den oberen horizontalen Rahmenteil vor einer direkten Bewitterung durch Schlagregen schützt. Eine „nicht geschützte Lage“ definiert die Einbausituation, bei der eine direkte Bewitterung der Fenster einschließlich der jeweils oberen horizontalen Flügelteile durch Schlagregen möglich ist. Besondere Anforderungen an Fenster sind immer gesondert anzugeben und können von der mechanischen Beanspruchung bis zu Vorgaben zur Kindersicherung und Öffnungsbegrenzung reichen (Tabelle 110|3-02).

Tabelle 110|3-02: Besondere Anforderungen an Fenster – ÖNORM B 5300 [77]

mechanische Beanspruchung Klasse 2 (10000 Zyklen)

Verschiebung: Klasse 2 (400 N)

statische Verwindung: Klasse 2 (250 N)

In ÖNORM B 5300 sind Fenster in „geschützter Lage“, in „teilweise geschützter Lage“ und in „nicht geschützter Lage“ definiert.

Festigkeit

Bedienkräfte Flügel: Klasse 1 (100 N)

Bedienkräfte Hebelgriff: Klasse 1 (100 N oder 5 Nm)

Bedienkräfte Fingerbedienung: Klasse 1 (50 N oder 5 Nm)

Brandschutz EI2 30, EI2 60 oder EI2 90

Stoßfestigkeit Klassen 1 bis 5

Einbruchhemmung

Widerstandsklassen 1 bis 6

Lawinenschutz Belastungsklassen LS 5 bis LS 20

Beschusshemmung FB1 bis FB4, FSG

Explosionshemmung EPR1 bis ER4

barrierefreie Ausführung Anforderungen gemäß ÖNORM B 1600

Kindersicherung die größte Öffnungsweite darf nicht mehr als 11 cm betragen Öffnungsbegrenzung Anforderungen möglich

Für die Festlegung der Beanspruchungsklasse gemäß Tabelle 110|3-03 ist die Windeinwirkung in Abhängigkeit von der geographischen Lage, den örtlichen Windeinwirkungen, der Form und der Höhe des Gebäudes sowie der Einbausituation entscheidend.

Tabelle 110|3-03: Zusammenhang zwischen der Beanspruchungsklasse und der maximalen Windeinwirkung –ÖNORM B 5300 [77]

Der jeweiligen Beanspruchungsklasse liegen dabei die Prüfbedingungen der ÖNORM EN 12210 [108] zugrunde, die für unterschiedliche Druck-/Sogbeanspruchungen Klassen definiert. Bezüglich der Umrechnung der Windeinwirkung in [kN/m²] und dem Prüfdruck in [Pa] gilt: 1000 Pa = 1 kN/m².

Tabelle 110|3-04: Prüfdrücke zur Klassifizierung der Windkraft – ÖNORM EN 12210

Oberhalb der Klasse 5 wird mit E xxxx klassifiziert, wobei xxxx der tatsächliche Prüfdruck �� ist.

54 | Funktionen und Anforderungen
Widerstandsfähigkeit bei Windwirkung 110|3|1
Beanspruchungsklassen 1 2 3 4 5 Exxxx maximale Windeinwirkung [kN/m²] 0,40 0,41 bis 0,80 0,81 bis 1,20 1,21 bis 1,60 1,61 bis 2,00 >2,00
Klasse Prüfdruck in [Pa] ���� ���� = 0,5  ���� ���� = 1,5  ���� 1 400 200 600 2 800 400 1200 3 1200 600 1800 4 1600 800 2400 5 2000 1000 3000 E xxxx xxxx

Neben dem Prüfdruck sind auch Verformungsklassen A bis C der relativen frontalen Durchbiegung des am stärksten verformten Rahmenteiles, gemessen nach dem Prüfdruck �� , zu klassifizieren.

Tabelle 110|3-05: Klassifizierung der relativen frontalen Durchbiegung – ÖNORM EN 12210 [108]

Klasse relative frontale Durchbiegung

Die Windeinwirkung auf das Bauwerk ist nach den ÖNORMen EN 1991-1-4 [105] und B 1991-1-4 [66] sowohl für den Winddruck als auch den Windsog zu ermitteln und der größere Absolutwert für die Klassifikation heranzuziehen (siehe Band 2: Tragwerke [21]). Bei der Berechnung der Windbeanspruchung sind gemäß ÖNORM B 5300 [77] nachfolgende Parameter zu berücksichtigen:

Basiswindgeschwindigkeit �� des Standortes

Geländekategorien II bis IV

- Gebäudegeometrie

- Sogbelastung auf Schnittkantenbereich (Fläche A)

- Windeinwirkung auf Einzelbauteil �� mit �� 1,25

- Innendruckbeiwert bei Wohn- und Bürogebäuden mit geschlossenen Fenstern, Türen und Toren �� 0,20 / 0,30

Die Windeinwirkung auf das Bauwerk ist sowohl für den Winddruck als auch den Windsog zu ermitteln.

in der Bezugshöhe ��

�� / , maximaler/minimaler Außendruckbeiwert Einzelbauteil

�� / , maximaler/minimaler Außendruckbeiwert für Lasteinflussfläche ab 10 m²

Tabelle 110|3-06: Geländekategorien nach ÖNORM EN 1991-1-4 [105]

II Gebiete mit niedriger Vegetation wie Gras und einzelnen Hindernissen (Bäume, Gebäude) mit Abständen von mindestens 20-facher Hindernishöhe

III Gebiete mit gleichmäßiger Vegetation oder Bebauung oder mit einzelnen Objekten mit Abständen von weniger als der 20-fachen Hindernishöhe (z. B. Dörfer, vorstädtische Bebauung, Waldgebiete)

IV Gebiete, in denen mindestens 15 % der Oberfläche mit Gebäuden mit einer mittleren Höhe von 15 m bebaut sind

II:�� �� �� , ∙2,10∙ �� 10 ,

III:�� �� �� , ∙1,75∙ �� 10 ,

IV:�� �� �� , ∙1,20∙ �� 10 ,

�� , Referenzwert des Staudrucks nach ÖNORM B 1991-1-4 kN/m²

�� Höhe über Gelände mit �� �� m

Geländeform II �� = 5 m

Geländeform III �� = 10 m

Geländeform IV �� = 15 m

Zur vereinfachten Berechnung der Windbeanspruchung enthält die ÖNORM

B 5300 [77] Tabellen der Extremwerte der Windeinwirkung für Basiswindgeschwindigkeiten von 17 bis 22 m/s, die Geländekategorien II bis IV, Gebäudehöhen bis 30 m und ausgewählten Gebäudegeometrien. Die in

(110|3-02)

Widerstandsfähigkeit bei Windwirkung | 55
A <1/150 B <1/200 C <1/300
-
-
��
�� �� �� ∙�� / , �� / , 1,25⋅�� / , �� (110|3-01) �� Windeinwirkung kN/m² �� �� Böenwindgeschwindigkeitsdruck
kN/m²
�� Innendruckbeiwert

Abbildung 110|3-01 dargestellten Zusammenhänge der Beanspruchungsklassen bei Windlast und den jeweiligen Parametern beinhalten die Rechenansätze der ÖNORM B 1991-1-4 [66].

Tabelle 110|3-07: Grundwerte der Windbeanspruchung österreichischer Landeshauptstädte – ÖNORM B 1991-1-4 [66]

Tabelle 110|3-08: Aerodynamische Beiwerte für Außendruck auf Wandflächen ÖNORM B 1991-1-4 [66]

Luft- und Schlagregendichtheit 110|3|2

Die Fugendurchlässigkeit – definiert durch den �� -Wert (110|3-03) – war die erste messbare Größe zur Beurteilung der Luftdurchlässigkeit der Fenster. Es lag nahe, dass man versuchte, diesen Wert laufend zu verbessern, d. h. zu verringern, und dies ohne Rücksicht auf die sonstigen Aufgaben der Fenster und der Außenwände sowie die Auswirkungen auf das Raumklima durch die Erhöhung der relativen und absoluten Luftfeuchtigkeit in den Wohnräumen. Probleme durch Tauwasserbildung an Wärmebrücken blieben nicht aus, denn die Verringerung des �� -Wertes stellte beispielsweise bei einer Fenstersanierung einen massiven Eingriff in das bis dahin vorhandene Gleichgewicht des Luftund Feuchtigkeitshaushaltes eines Gebäudes dar. Die Tauwasserbildung wurde noch verstärkt, wenn auch weitere Undichtheiten (Stichwort Verbesserung des Fensteranschlusses) in der Außenwand beseitigt wurden.

Die Reduzierung der Fugendurchlässigkeit stellt bei einer Fenstersanierung einen massiven Eingriff in das Gleichgewicht des Luftund Feuchtigkeitshaushaltes eines Gebäudes dar.

56 | Funktionen
Anforderungen
und
Ort �� �� , �� , [m/s] [kN/m²] Wien 25,1–27,0 0,39–0,46 St. Pölten 25,8 0,42 Eisenstadt 24,6 0,38 Linz 27,4 0,47 Salzburg 25,1 0,39 Graz 20,4 0,26 Klagenfurt 17,6 0,19 Innsbruck 27,1 0,46 Bregenz 25,5 0,41 Mindestwert 17,6 0,19 Maximalwert 28,3 0,50
��/�� ������,���� für prismatische Baukörper für Flächen A, B, C, E mit ��/�� von D 0,2 0,7 1,0 2,0 5,0 A B C E A B C E A B C E A B C E A B C E 0,5 -1,00 -0,70 -0,40 -0,25 -1,00 -0,70 -0,40 -0,35 -1,00 -0,70 -0,40 -0,30 -1,00 -0,70 -0,40 -0,15 -1,00 -0,70 -0,40 -0,15 0,8 2 -1,20 -0,80 – -0,35 -1,20 -0,90 – -0,45 -1,20 -0,80 -0,45 -0,35 -1,10 -0,75 -0,40 -0,20 -1,10 -0,70 -0,40 -0,15 0,8 5 -1,35 -1,00 – -0,50 -1,45 -1,10 – -0,75 -1,30 -0,90 -0,50 -0,55 -1,25 -0,85 -0,45 -0,30 -1,20 -0,75 -0,40 -0,15 0,8

Abbildung 110|3-01: Erforderliche Beanspruchungsklassen bei Windlast in Abhängigkeit von Geländekategorie, Basiswindgeschwindigkeit, Gebäudehöhe und Gebäudegeometrie

Es ist deshalb verständlich, wenn Fensterbauer heute versuchen, dieses Problem mit ihren Möglichkeiten zu lösen, d. h., dass sie versuchen, die Luftdurchlässigkeit in Teilbereichen kontrolliert wieder zu erhöhen. Dieser Eingriff kann nur dann erfolgreich sein, wenn das klimatische Gleichgewicht im Gebäude angestrebt wird und auch alle anderen Funktionen des Fensters in die Überlegungen miteinbezogen werden. Dazu zählen unter anderem Energieeinsparung, Behaglichkeit, Schlagregendichtheit und Schalldämmung. Als mögliche Maßnahmen zur Erhöhung des Luftdurchganges am Fenster werden von den Herstellerfirmen verschiedene Möglichkeiten der Permanent- oder Zwangslüftung angeboten:

- Bohrungen oder Schlitze an Flügel- und Blendrahmenprofilen

- gelochte Mitteldichtungen mit Öffnungen am Flügelüberschlag

- Aussparungen an Dichtungen

- nicht anliegende Dichtungen

Bürstendichtungen

Entfernen von Dichtungen

Diese lüftungstechnischen Maßnahmen sind mit der Fensterkonstruktion bei der Prüfung der Luftdurchlässigkeit mit zu erfassen. Sie werden meist im oberen waagrechten Teil des Fensters ausgeführt, um Behaglichkeitsstörungen zu vermeiden. Häufig werden die Öffnungen versetzt zueinander angeordnet. Weitere Varianten sind gerippte oder wellige umlaufende Dichtungen. Die getroffenen Maßnahmen können, speziell bei Fenstersystemen mit zwei Anschlagdichtungen, Auswirkungen auf die Schlagregendichtheit haben. In jedem Fall führen sie je nach Luftdurchgang zu

Fensterbauer versuchen die Luftdurchlässigkeit in Teilbereichen kontrolliert wieder zu erhöhen.

Luft- und Schlagregendichtheit | 57
-
-

einer Verschlechterung der Schalldämmung. Tauwasserbildung innerhalb der Profile sollte konstruktiv jedenfalls vermieden werden, da in unzugänglichen Bereichen, wo die Raumluft über Öffnungen nach außen strömt, Schmutz-, Staub- und Fettablagerungen entstehen können.

Auswirkungen auf die Schalldämmung zeigen sich dadurch, dass bei Fenstern mit Mehrscheiben-Isolierglas (4-12-4 mm), bei welchen üblicherweise ein bewertetes Schalldämm-Maß von bis zu 33 dB zu erwarten ist, eine Minderung um bis zu 3 dB eintritt. Daher ist es nicht sinnvoll, in Fenstern mit Permanentlüftung hochschalldämmende Scheiben zu verwenden. Die Anforderungen für eine sichere Verbrennungsluftzufuhr für Räume mit Feuerungseinrichtungen sind in der ÖNORM B 8311 [93] für raumluftabhängige und unabhängige Feuerstätten festgelegt. Zusätzlich dazu sind natürlich die gesetzlichen Vorgaben einzuhalten, als Beispiel dazu wäre auf die Wiener Kehrverordnung 2016, Fassung vom 16.04.2020, in Verbindung mit dem ÖVGW Regelwerk G K32 zu verweisen.

Bei Fenstern mit einer so genannten Zwangs- bzw. Permanentlüftung ist, bezogen auf 1 m Fugenlänge, ein Luftdurchgang von etwa 0,2 bis 0,3 m3/h bei 4 Pa Druckdifferenz zu erwarten. Dieser Luftdurchgang ist für raumluftabhängige Feuerstätten bei üblichem Fensterflächenanteil nicht ausreichend, die vorgesehenen Dimensionierungsregeln gemäß ÖNORM B 8311 [93] sind daher einzuhalten. Zusammenfassend ist daher festzustellen:

 Permanentlüftungen, die durch Nacharbeiten an Profilen und Dichtungen entstehen, sind nicht regulierbare Öffnungen im Fensterbereich.

 Permanentlüftungen sind mit Nachteilen verbunden, wie Beeinträchtigung der Behaglichkeit, Schmutzablagerungen, Minderung der Schalldämmung und eventuelle Minderung der Schlagregendichtheit.

 Eine Abschätzung der technisch vertretbaren Maßnahmen zur Erhöhung des Luftdurchgangs unter Beachtung der in Räumen notwendigen Lufterneuerung, zeigt bei Berücksichtigung der gegebenen Druckdifferenz bzw. Temperaturdifferenz, dass Permanentlüftungen nicht das geeignete Mittel sind, um die Raumlüftung zu optimieren, sie können nur einen Grundbeitrag zur Raumlüftung leisten.

 Permanentlüftungen sind für raumluftabhängige, offene Feuerstätten nicht ausreichend.

 Regulierbare Lüftungseinrichtungen mit ausreichenden Querschnitten, Beschläge mit der Möglichkeit der Spaltlüftung oder mechanische Lüftungseinrichtungen, sind sicher eine Alternative. Im Einzelfall sind auf Grundlage von Dimensionierungsberechnungen die Vor- und Nachteile der verschiedenen Möglichkeiten gegeneinander abzuwägen, um die jeweils günstigste Lösung zu finden.

Bei Umsetzung einer dichten Gebäudehülle und damit entsprechend dichten Fenstern ist die Herstellung einer kontrollierten Raumbelüftung (mechanische Belüftungsanlage), die auch energetisch mit Luftwärmetauschern ausgerüstet ist, für energieeffiziente Gebäude unumgänglich.

Die Prüfung der Luftdurchlässigkeit erfolgt nach ÖNORM EN 1026 [97], die der Schlagregendichtheit nach ÖNORM EN 1027 [98]. Für beide Anforderungen sind dann Klassifikationen in Abhängigkeit von der Druckeinwirkung nach ÖNORM EN 12207 [106] für die Luftdurchlässigkeit und ÖNORM EN 12208 [107] für die Schlagregendichtheit möglich.

Zwangs- und Permanentlüftung führt zu einer Verminderung der Schalldämmung.

Bei einer dichten Gebäudehülle und dichten Fenstern ist die Herstellung einer kontrollierten Raumbelüftung unumgänglich.

58 | Funktionen und Anforderungen

Die Beurteilung der Luftdurchlässigkeit erfolgt nach zwei Kriterien, einer Klassifizierung bezogen auf die Gesamtfläche und einer bezogen auf die Fugenlänge. Bei beiden Kriterien werden Prüfungen mit unterschiedlichen Prüfdrücken durchgeführt, wobei für die Einordnung in eine Klasse immer die geringste Klassennummer, in der ein Prüfwert der Serie zu liegen kommt, maßgebend ist.

Abbildung 110|3-02: Klassifizierung Luftdurchlässigkeit – ÖNORM EN 12207 [106]

Die Luftdurchlässigkeit wird bezogen auf die Gesamtfläche und auf die Fugenlänge beurteilt.

Tabelle 110|3-09: Referenzluftdurchlässigkeit – ÖNORM EN 12207 [106]

Klasse Referenzluftdurchlässigkeit bei 100 Pa bezogen auf maximaler Prüfdruck

Die Prüfung der Schlagregendichtheit erfolgt mit gleichen Prüfdrücken wie bei der Fugendurchlässigkeit unter Simulation eines Schlagregenereignisses an der Außenseite durch definiertes Besprühen des Fensters. Das Erreichen der jeweiligen Klasse (Tabelle 110|3-10) ist an die Dichtigkeit des Fensters gebunden, bei Wasserdurchtritten wird der Versuch abgebrochen und das Fenster mit der letzten dichten Prüfstufe klassifiziert. Die ÖNORM EN 1027 [98] stellt das Prüfergebnis wie folgt dar: „DieStelle,anderWasserindenPrüfkörper eingetretenist,undderDruck,beidemdieserfolgtist,istfestzuhaltenundder Zeitraumistzunotieren,überdendermaximalePrüfdruckgehaltenwordenist, biseinWassereintritterfolgte.“

Tabelle 110|3-10: Klassifizierung der Schlagregendichtheit ÖNORM EN 12208 [107]

Für die Prüfung der Schlagregendichtheit wird das Fenster bis zum Wasserdurchtritt geprüft.

Luft- und Schlagregendichtheit | 59
Gesamtfläche Fugenlänge m³/(h m²) m³/(h m) Pa = N/m² 1 50 12,50 150 2 27 6,75 300 3 9 2,25 600 4 3 0,75 600
Prüfdruck Klassifizierung Anforderungen �������� [Pa] Prüfverfahren A Prüfverfahren B 0 0 keine Anforderung 0 1A 1B 15 min Besprühung 50 2A 2B wie Klasse 1 + 5 min 100 3A 3B wie Klasse 2 + 5 min 150 4A 4B wie Klasse 3 + 5 min 200 5A 5B wie Klasse 4 + 5 min 250 6A 6B wie Klasse 5 + 5 min 300 7A 7B wie Klasse 6 + 5 min 450 8A – wie Klasse 7 + 5 min 600 9A – wie Klasse 8 + 5 min >600 Exxx –oberhalb 600 Pa in Stufen von 150 Pa muss die Dauer jeder Stufe 5 min betragen

Eine Besonderheit der ÖNORM B 5300 [77] stellt die Kombination von verschiedenen Prüfpunkten an einem Prüfkörper dar. Im Anhang A.3 sind die „besonderen Anforderungen“ detailliert aufgeschlüsselt. Sinn dieser Prüfreihenfolge ist, dass durch die Dauerfunktionsprüfung eine Alterung der Funktionsteile erfolgt und dass die Anforderungen Luftdurchlässigkeit, Schlagregen und Windwiderstandsfähigkeit nochmals nach dieser Alterung geprüft und beurteilt werden. Die folgende Aufstellung zeigt die Anordnung der Prüfreihenfolge A.3:

1. Bedienungskräfte gemäß ÖNORM EN 12046-1

2. Luftdurchlässigkeit gemäß ÖNORM EN 1026

3. Schlagregendichtheit gemäß ÖNORM EN 1027

4. Windwiderstandsfähigkeit gemäß ÖNORM EN 12211 (ausgenommen Sicherheitsprüfung)

5. Festigkeitsprüfung gemäß ÖNORM EN 14608 und EN 14609

6. Bedienungskräfte gemäß ÖNORM EN 12046-1

7. Dauerfunktionsprüfung gemäß ÖNORM EN 1191

8. Bedienungskräfte gemäß ÖNORM EN 12046-1

9. Luftdurchlässigkeit gemäß ÖNORM EN 1026

10. Schlagregendichtheit gemäß ÖNORM EN 1027

11. Windwiderstandsfähigkeit gemäß ÖNORM EN 12211 (Sicherheitsprüfung)

Für Aufenthaltsräume muss eine ausreichende Belüftung mit Luftwechselzahlen (LWZ) von 0,5 bis 2,0 sichergestellt sein. Bei Lagerräumen ist ein Luftwechsel entsprechend des Lagergutes festzulegen. Die erforderliche Mindestlüftung dient dem Wohlbefinden von Personen durch die Abfuhr von Schad- und Geruchsstoffen sowie der Zufuhr von Sauerstoff. Als einfachste Lüftung kann die Fensterlüftung angesehen werden, die umso wirksamer ist, je höher das Lüftungselement ist, da durch die Temperaturdifferenz zwischen der Innentemperatur �� und der Außentemperatur �� bei einem Einzelfenster oben die Abluft und unten die Zuluft realisiert werden. Eine noch effizientere Lüftung entsteht bei einer möglichen Querlüftung über mehrere Fenster an gegenüberliegenden Wandseiten.

Abbildung 110|3-03: Lüftungsqualitäten unterschiedlicher Fensterarten

Die erforderliche Mindestlüftung dient der Abfuhr von

Geruchsstoffen sowie

Klappflügel Drehflügel Drehkippflügel Schwingflügel Abbildung 110|3-04: Luftwechselzahlen in Abhängigkeit von der Lüftungsart

60 | Funktionen und Anforderungen
Lüftungsart LWZ = Luftwechselzahl Dauer der Lüftung für einen Luftaustausch [Raumvolumen/Stunde] [Minuten] geschlossene Fenster 0,0 – 0,5 mind. 120 Fenster gekippt, Rollladen geschlossen 0,3 – 1,5 45 – 180 Fenster gekippt 0,5 – 2,0 30 – 120 Fenster halb geöffnet 5,0 – 10,0 6 – 12 Fenster ganz geöffnet 9,0 – 15,0 6 – 7 gegenüberliegende Fenster vollständig geöffnet = Querlüftung ~ 40,0 ~ 1,5
Schad- und
der Zufuhr von Sauerstoff.

Bei sehr tiefen inneren Fensterleibungen und knappem Abstand des Flügels zur Leibung kann es durch Dauerlüftung mit Kipp- und Drehkippflügeln im Winter zu einem zu starken Abkühlen der oberen Leibung in Verbindung mit Kondensat- bzw. Schimmelbildung kommen.

Bei älteren Fenstern entstand durch undichte Fugen noch eine relativ große Fugenlüftung (�� -Werte von 3 bis 5 m3/mhPa2/3), die jedoch durch die Anforderungen an den Wärmeschutz sehr stark reduziert wurde, sodass aus der Fugenlüftung keine mögliche Raumlüftung mehr erzielt werden kann (�� -Werte <0,2 m3/mhPa2/3).

Der �� -Wert (Fugendurchlasskoeffizient) gibt an, wie viel Luft [m³] pro Meter Fugenlänge �� bei einer Druckdifferenz ���� pro Stunde durch die Fuge zwischen Flügel und Rahmen hindurchgeht. Der Exponent �� = 2/3 beschreibt annähernd den Zustand des Luftstromes über die Fuge und ist normativ vereinbart worden.

Je kleiner der �� -Wert ist, desto dichter schließt bzw. ist das Fenster, umso geringer ist infolgedessen der Lüftungswärmeverlust und desto besser gestaltet sich der Schallschutz. Im aktuellen Regelwerk der EN Normen werden die Lüftungswärmeverluste im Bereich der Fenster über Fugen durch den Begriff der Luftdurchlässigkeit, bezogen auf Fugenlänge oder Fensterfläche ersetzt. Das Prüfverfahren der Luftdurchlässigkeit für Fenster und Fenstertüren wird in der ÖNORM EN 1026 [97] beschrieben, die Klassifizierung erfolgt gemäß ÖNORM EN 12207 [106].

Die längenbezogene Fugendurchlässigkeit �� ist der auf die Länge (�� = Fugenlänge) bezogene Luftvolumenstrom �� als Funktion der Luftdruckdifferenz

Abbildung 110|3-05: Anordnung und Wirkung von Dosierlüftern

Je kleiner der �� -Wert, desto dichter ist das Fenster, umso geringer ist der Wärmeverlust und desto besser ist der Schallschutz.

Ist keine ausreichende Öffnung der Fenster möglich bzw. werden Schallschutzfenster (die einen geringen �� -Wert wegen der der schallschutztechnischen Anforderungen aufweisen) eingebaut, ist durch Zwangs- und Dosierlüfter, die im Rahmen- oder Flügelbereich der Fenster eingebaut werden, eine Lüftung möglich. Bei einer seitlichen Anordnung oder ober- und unterseitiger Situierung der Lüfter kann auch bei Windstille durch das temperaturbedingte Druckgefälle eine bessere Lüftung erzielt werden. Alternativ zu Zwangs- und Dosierlüftern stehen Gebäude-Lüftungssysteme (siehe Band 16: Lüftung und Sanitär [26]).

Ist keine ausreichende Öffnung der Fenster ausführbar, ermöglichen Zwangs- und Dosierlüfter oder GebäudeLüftungssysteme den Luftaustausch.

Luft- und Schlagregendichtheit | 61
�� Wert m ⁄m ∙h∙Pa �� 2 3 (110|3-03)
�� �� �� m ⁄m ∙h (110|3-04)
��

Bei der Verbindung des Fensterelements mit dem Bauwerk ist auf einen dichten, stabilen, jedoch elastischen Anschluss zu achten. Temperaturbedingte Dimensionsänderungen sowie minimale Bauwerkssetzungen sind zwängungsfrei durch entsprechende Fugenausbildung aufzunehmen. In der Regel werden die Fensterrahmen mit Schrauben oder Montagewinkel (korrosionsfreie Materialien) in die Leibung montiert. Folgende Parameter sind zu bedenken:

 Wasser und Wind von außen

 Wasserdampf von innen

 Aufnahme klimatisch bedingter Bewegungen des Mauerwerks

 Schall

Der Fugenraum wird elastisch aufgefüllt und dampfdicht auf der inneren warmen Seite des Bauteilanschlusses rundum abgedichtet. Außen ist die Fuge gegen Bewitterung, Wind und eindringende Feuchtigkeit abzudichten.

 Abdichtung des Bauteilanschlusses soll umlaufend in einer Ebene sein

 äußere Abdichtungsebene zur Herstellung der Schlagregensicherheit

 innere Abdichtungsebene zur Vermeidung von Tauwasser im Fugenbereich, besonders bei Raumüberdruck (Klimaanlagen)

 mobiler Wetterschenkel ermöglicht wartbare äußere Abdichtung

Vergleichbar mit einer Fassade und einem Dach, bei denen eine bauphysikalische Funktionstrennung in „Wetterschutz“, „Funktionsbereich“ (z. B. Wärmeund Schallschutz) und „Trennung von Außen- und Raumklima“ möglich ist, kann dies auch für den Bereich von Fenstern erfolgen und ist im Ebenenmodell dargestellt.

Abbildung 110|5-01: Ebenenmodell des Fensters entsprechend der bauphysikalischen Funktionen [12]

Bei Verbindung des Fensterelements mit dem Bauwerk ist auf einen dichten, stabilen und elastischen Anschluss zu achten.

Ebene 1: Trennung von Raum- und Außenklima

Die Luftdichtheit der gesamten Fensterkonstruktion muss in einer Ebene, deren Temperatur über der für ein Schimmelwachstum kritischen Temperatur des Raumklimas liegt, erfolgen. Diese Ebene darf nicht unterbrochen sein und muss in allen Anschlussbereichen mit geeigneten Dichtsystemen ausgebildet werden.

Die Luftdichtheit der Fensterkonstruktion und aller Anschlussbereiche muss lückenlos ausgebildet werden.

Befestigungstechnik | 135 Baukörperanschlüsse 110|5

Ebene 2: Funktionsbereich

Im Funktionsbereich oder der mittleren Ebene sind alle Eigenschaften des Wärme- und Schallschutzes sicherzustellen. In dieser Zone auftretende Feuchtigkeit darf nur über die Ebene 3 abgeführt werden.

Ebene 3: Wetterschutz

Die Ebene des Wetterschutzes ist weitgehend für die Verhinderung des Eindringens von Regenwasser (Schlagregen) in die Ebene 2 und eine entsprechende Winddichtheit verantwortlich.

Abbildung 110|5-02: Anordnung von Dichtungssystemen in der Anschlussfuge

Fall A: Ebene 1 und 3 sind nicht geschlossen. Es entsteht eine Durchströmung der Anschlussfuge mit warmer, feuchter Raumluft, die zu einem Tauwasserausfall führt.

Fall B: Ebene 3 ist geschlossen und Ebene 1 offen. Der einströmende Wasserdampf staut sich an der kalten Ebene 3 und führt zu einem Tauwasserausfall.

Fall C: Ebene 3 ist diffusionsoffen und Ebene 1 geschlossen. Es entsteht keine Feuchtigkeitsanreicherung in der Funktionsebene 2, der Anschlussbereich bleibt trocken.

In der ÖNORM B 5320 [84] wird zur Erzielung eines korrekten und objektspezifischen Bauanschlusses die Verbindung der unterschiedlichen Anschlussebenen der Wand mit denen des Fensters gefordert und damit die Erfüllung der statischen, bauphysikalischen, gebrauchs- und funktionstauglichen Anforderungen ermöglicht. Die Anschlussebenen des Fensters und der Wand werden vom jeweiligen Hersteller vorgegeben und im objektspezifischen Bauanschlussbereich vom Planer unter Berücksichtigung der Angaben der Materialhersteller oder Systemgeber festgelegt. Als einzelne Ebenen sind definiert:

LDE = luftdichte Ebene

Ebene, welche die rauminnenseitige Luftdichtheit des StandardFensteranschlusses bzw. objektspezifischen Bauanschlusses sicherstellt

BE = Befestigungsebene

Ebene, in der sich die Befestigungselemente des Standard-Fensteranschlusses bzw. objektspezifischen Bauanschlusses befinden

WSE = Wärmeschutzebene

Ebene, die zum Wärmeschutz des Standard-Fensteranschlusses bzw. objektspezifischen Bauanschlusses beiträgt

SSE = Schallschutzebene

Ebene, die zum Schallschutz des Standard-Fensteranschlusses bzw. objektspezifischen Bauanschlusses beiträgt

WDE = winddichte Ebene

Ebene, welche die Winddichtheit des Standard-Fensteranschlusses bzw. objektspezifischen Bauanschlusses herstellt

SDE = schlagregendichte Ebene

Ebene, welche die Schlagregendichtheit des Standard-Fensteranschlusses bzw. objektspezifischen Bauanschlusses herstellt

In der ÖNORM B 5320 wird die Verbindung der unterschiedlichen Anschlussebenen der Wand mit denen des Fensters gefordert.

136 | Baukörperanschlüsse

Abbildung 110|5-03: Grundprinzip Anschlussebenen – ÖNORM B 5320 [84]

Holzbau mit hinterlüfteter Fassade Massivbau mit Vollwärmeschutz (WDVS)

Der Standard-Fensteranschluss stellt die Mindestanforderungen an den Standardeinbau von Fenstern an den Wandbildner dar und beinhaltet die Befestigung des Fensters im Wandbildner, das Füllen der Fuge und den inneren und äußeren Anschluss. Von diesem Standard-Fensteranschluss sind die Anforderungen in Hinblick auf die Luftdurchlässigkeit, Schlagregendichtheit und die Belastung bei Wind zu erfüllen.

Je nach Lage des Fensters bzw. Ausbildung der Leibung wird in Fenster mit und Fenster ohne Leibungsanschlag und bei der Befestigung der Fenster in eine Stockmontage und in eine Blindstockmontage unterschieden. Die Befestigung am Baukörper muss Kräfte aus Eigengewicht, thermischer Belastung, Windkraft und Bauwerksverformungen bzw. Bewegungen aus dem Fenster aufnehmen.

Abbildung 110|5-04: Einwirkungen auf Fensterkonstruktionen

Der StandardFensteranschluss beinhaltet die Befestigung des Fensters im Wandbildner, das Füllen der Fuge und den inneren und äußeren Anschluss.

Befestigungstechnik | 137
Befestigungstechnik 110|5|1

Thermisch bedingte Längenänderungen – ausgehend vom Einbauzustand –treten praktisch bei allen Fensterkonstruktionen auf. Bei Holzrahmen sind die thermischen Bewegungen im Vergleich zu den feuchtigkeitsbedingten Längenänderungen so klein, dass sie vernachlässigbar sind. Das Ausmaß der thermischen Längenänderungen hängt vom Material, der Temperaturdifferenz und der Rahmenlänge ab. Unter Berücksichtigung von Langzeitbeobachtungen kann eine Dehnung �� in [mm/m] bei baupraktisch auftretenden Temperaturdifferenzen ∆�� angegeben werden.

Das Ausmaß der thermischen Längenänderungen hängt von Material, Temperaturdifferenz und Rahmenlänge ab.

Tabelle 110|5-01: Wärmeausdehnung von Fensterprofilen [12]

Hinsichtlich der Befestigung der Fenster am Baukörper ist zwischen einer starren und einer beweglichen Montage (zur Aufnahme von Wärmedehnungen) zu unterscheiden. Die Montage kann mittels Maueranker oder Dübel erfolgen, wobei der zwischen Baukörper und Fensterrahmen eingebrachte Montageschaum nicht zur Lastabtragung verwendet werden darf.

Abbildung 110|5-05: Schema Rahmenbefestigungen

starr mit Dübel federnd mit Bandeisen gleitend durch Schiene Zur gesicherten Weiterleitung der Kräfte, die auf die Fensterkonstruktion einwirken, sind Mindestabstände der Anker untereinander sowie Randabstände einzuhalten. Neben den angegebenen Abständen können von den einzelnen Fensterherstellern systembedingt abweichende Abmessungen vorgegeben werden. Im Bereich von Rollladenkästen sind die Befestigung und das obere Rahmenprofil so zu dimensionieren, dass die einwirkenden Kräfte abgetragen werden können. Befestigungen mit Nägeln oder mittels Dämmstoffen, wie z. B. Füllschäume, sind nicht zulässig. Auf die anzuschließenden Fensterelemente dürfen keine Lasten aus dem Gebäude übertragen werden. Verformungen, wie z. B. aus zulässigen Durchbiegungen eines Sturzes, müssen durch eine geeignete elastische Ausbildung des Fensteranschlusses schadenfrei und dauerhaft aufgenommen werden können.

�� = Ankerabstand 70 cm

 �� = Randabstand bzw. Abstand von Pfosten und Riegeln 10 bis 20 cm

 bei einer inneren Rahmenlichte bis 45 cm ist ein Befestigungsmittel ausreichend

138 | Baukörperanschlüsse
∆�� ��∙��∙∆��1000 ⁄ ∆�� ��∙�� �� ��∙∆�� (110|5-01) �� Dehnung mm/m ∆�� thermische Längenänderung mm �� Rahmenlänge m ∆�� Temperaturdifferenz zum Einbauzeitpunkt °C �� Wärmeausdehnungskoeffizient Material 1/K
Werkstoff Fensterprofil Dehnung ���� [mm/m] Holz ~0,0 PVC hart (weiß) 1,6 PVC hart (farbig) und PMMA (farbig) 2,4 wärmegedämmtes Aluminiumverbundprofil (hell) 1,2 wärmegedämmtes Aluminiumverbundprofil (dunkel) 1,3

Abbildung 110|5-06: Befestigungsabstände bei der Fenstermontage – ÖNORM B 5320 [84]

Die Ableitung der Kräfte in der Fensterebene erfolgt über Tragklötze. Bei mehrschaligen Wandkonstruktionen oder der Situierung des Fensters im Bereich der Dämmstoffebene sind Metallwinkel oder Konsolen zu verwenden. Die Klötze bzw. konstruktiven Maßnahmen sind so anzuordnen, dass eine Einspannung der Rahmenkonstruktion vermieden wird und die Längenänderungen nicht so behindert werden, dass dadurch Schäden entstehen. Die Lage der Tragklötze am Fenster ist in Anlehnung an die Verklotzung der Scheiben im Rahmen durchzuführen und auf die auftretenden Kräfte und die Biegesteifigkeit des Rahmens abzustimmen. Um Verformungen möglichst gering zu halten, sollten die Tragklötze weitgehend im Eckbereich bzw. unter Pfosten angeordnet werden. Bei Fenstertüren sind ab Breiten von 1 m Tragklötze auch am unteren Rahmenprofil in Profilmitte einzusetzen.

Abbildung 110|5-07: Anordnung von Trag- und Distanzklötzen zur Rahmenbefestigung

Längenänderungen der Rahmenkonstruktion dürfen durch konstruktive Maßnahmen nicht so behindert werden, dass Schäden entstehen.

Holzkeile zum Ausrichten der Fenster sind später wieder zu entfernen und kein Ersatz der Tragklötze, die folgende Anforderungen erfüllen müssen:

- die anfallenden Lasten übertragen

- fest und unverschiebbar angeordnet

- die Abdichtung und Wärmedämmung nicht beeinträchtigen

- aus dauerhaftem Material bestehen

Toleranzen bei der Montage 110|5|1|1

Grundsätzlich hat der Einbau von Fenstern immer mit der Wand fluchtend sowie horizontal und vertikal ausgerichtet zu erfolgen. Andere Einbauarten müssen auf das Fenstersystem abgestimmt sein und der Planung entsprechen. Die maximalen Toleranzen im Einbau sind nach der ÖNORM DIN 18202 [59] für

Befestigungstechnik | 139
[30]

die Grenzabweichungen und die Winkeltoleranzen (Tabelle 110|5-02) festgelegt. Die Toleranzen im Rohbau beziehen sich nach ÖNORM B 5320 [84] immer auf das Baurichtmaß (entspricht dem Mindestmaß gemäß NORM DIN 18202 [59]) der Wandöffnung, wobei auch Bauwerksverformungen aus beispielsweise Deckendurchbiegungen zu berücksichtigen sind. Die Toleranzen für das Fenster betragen 2 mm (oder Herstellerangabe) bei einer Bezugstemperatur von 20 °C und einer relativen Luftfeuchtigkeit von 50 %.

Tabelle 110|5-02: Montagetoleranzen Fenstereinbau – ÖNORM DIN 18202 [59]

wie zuvor mit oberflächenfertigen

10 12

Winkeltoleranzen Stichmaße in mm bei Nennmaßen bis 1 m >1 bis 3 m >3 bis 6 m vertikale, horizontale und geneigte Flächen 6 8 12

Das geplante Fugensollmaß muss mindestens 15 mm, mit örtlich begrenzten Einengungen auf ≥10 mm, bis zu einer Breite bis 3 m der Länge des Einbauteils betragen. Bei Größen über 3 m sind zusätzlich temperaturbedingte Ausdehnungen nach Herstellerangabe zu berücksichtigen. Entsprechend den zulässigen Toleranzen der Wandöffnung und dem Fensterelement sowie dem Fugensollmaß ergeben sich die minimalen und maximalen Fugenmaße.

�� Baurichtmaß der Öffnung nach ÖNORM B 5320 (Mindestmaß) mm

�������� Stockaußenmaß des Einbauelementes (Einbaumaß) mm

�� Nennmaß der Öffnung nach ÖNORM DIN 18202 mm

�� Fugensollmaß nach ÖNORM B 5320 = 15 mm mm

�� minimales Fugenmaß mm

�� maximales Fugenmaß mm

�� Toleranz Einbauelement nach ÖNORM B 5320 = 2 mm mm

�� Toleranz Nennmaß nach ÖNORM DIN 18202 (Tabelle 110|5-02) mm

In Abhängigkeit vom Nennmaß nach ÖNORM DIN 18202 ergeben sich maximale Fugenmaße von 26 bis 34 mm, das minimale Fugenmaß beträgt unabhängig vom Stockaußenmaß zufolge der Toleranz des Einbauelements 14 mm.

Für die einzelnen Bauteile sind die Einbau- und Herstellungsmaße so vorzugeben, dass trotz der möglichen Verschiebungen und Verdrehungen beim Einbau bzw. trotz notwendiger Montage- und Bewegungsräume die vorgesehene Lage zuverlässig und funktionsgerecht erreicht wird. Bei der Festlegung der Herstellungsmaße ist auf die Kleinst- und Größtfugenbreiten zu

Für einzelne Bauteile sind Einbauund Herstellungsmaße so vorzugeben, dass die vorgesehene Lage zuverlässig und funktionsgerecht erreicht wird.

140 | Baukörperanschlüsse
Grenzabweichungen
>1
Fenster,
10 12 16
Leibungen 8 
Grenzabweichungen
in mm bei Nennmaßen bis 1 m
bis 3 m >3 bis 6 m
Türen, Einbauelemente
�� �������� 2⋅���� �� �� �� 2⋅�� �� 2 �� 2⋅�� �� 2⋅�� 2 (110|5-02)

achten. Für den Einbau der Fenster sind in der ÖNORM B 5320 [84] ergänzende Bestimmungen hinsichtlich der Lage im Bauwerk enthalten.

- Horizontal sind die Elemente an dem Höhenbezugspunkt auszurichten, bei übereinander angeordneten Fenstern an einer vertikalen Achse.

- Die Elemente sind horizontal und vertikal einzubauen. Die Abweichung von der Lotrechten und Waagerechten darf bis 3 m Elementlängen 1,5 mm/m, maximal jedoch 3,0 mm und bei über 3 m Elementlängen 1,0 mm/m, maximal jedoch 6,0 mm nicht überschreiten.

- Für die Einbauposition in der Leibung beträgt die Toleranz für die äußere Leibungstiefe 5 mm. Ist ein horizontal und vertikal fluchtender Einbau gefordert, ist dies gesondert zu vereinbaren.

Stockmontage 110|5|1|2

Bei der heute üblichen und preisgünstigeren Stockmontage wird der Fensterstock direkt in die vorbereitete Rohbauöffnung versetzt. Je nach Wandbildner ist allerdings ein Glattstrich mittels Putz- oder Mauermörtel der Leibung sinnvoll bzw. notwendig. Mithilfe dieses Glattstriches können etwaige Undichtheiten über das Mauerwerk ausgeglichen werden. Die eigentliche Montage erfolgt mithilfe von Rahmendübeln, historische Varianten mit Blechlaschen oder Flachstahlpratzen werden nur mehr aus denkmalschützerischen Gründen in Bestandsgebäuden angewendet. Zusätzlich dazu muss rauminnenseitig ein dampfdichter und außenseitig ein schlagregensicherer Abschluss der Fuge Fensterstock/Rohbau erfolgen.

Abbildung 110|5-08: Stockmontage am Baukörper

Rauminnenseitig muss ein dampfdichter und außenseitig ein schlagregensicherer Abschluss der Fuge zwischen Fensterstock und Rohbau erfolgen.

Bei Leichtwandkonstruktionen (Holzriegelbauweise, Holzfertigteilplatten, Holzmassivbauweise) wird in der Regel auf einen Blindstock verzichtet und eine direkte Verschraubung des Fensterstockes mit der tragenden Wand durchgeführt.

Blindstockmontage 110|5|1|3

Unter einer Blindstockmontage versteht man das Versetzen des Fensters in einen vorbereiteten Holz-, Kunststoff- oder Stahlrahmen. Die Blindstöcke werden im Massivbau vor Fertigstellung der Verputzarbeiten waagrecht und lotrecht versetzt, mit Keilen einjustiert, und anschließend erfolgt das Einputzen der Blindstöcke. Die Luftdichtheit des Rohbauanschlusses erfolgt daher bei Blindstockmontage zwischen dem Blindstockprofil und dem Wandbildner. Für die Befestigung des Blindstockes am Rohbau werden je nach Wandbildner Mauerpratzen oder Rahmendübel verwendet. In der nun so vorbereiteten Fensteröffnung des Blindstockes wird das Fenster versetzt und befestigt. Blindstöcke aus Holz oder Kunststoff weisen darüber hinaus auch meistens Anschlagkanten für das Abziehen der verputzten Leibungen auf. Für die

Die Luftdichtheit des Rohbauanschlusses erfolgt bei Blindstockmontage zwischen dem Blindstockprofil und dem Wandbildner.

Befestigungstechnik | 141

Abdichtung des Fensterstockes zum Blindstockprofil werden selbst rückstellende Schaumbänder verwendet.

Blindstöcke bieten den Vorteil, dass das Fenster erst nach den Fassaden- und Verputzarbeiten versetzt werden muss. Damit wird die Verschmutzung oder Beschädigung während dieser Arbeiten vermieden und gleichzeitig eine Nivellierfunktion zur Sicherung der plangemäßen Fensterstockmaße erreicht. Nachteilig sind der erhöhte Material- und Arbeitsaufwand sowie die verkleinerte Glaslichte bei gleicher Rohbaulichte.

Blindstöcke bieten den Vorteil, dass Fenster erst nach Fassaden- und Verputzarbeiten versetzt werden müssen.

Für die objektspezifische Planung der Bauanschlussfuge ist eine Fülle von technischen, konstruktiven und materialbezogenen Parametern zu beachten.

 Festlegung des Werkstoffes des Rahmenprofils

 Art und Konstruktion des Fensters

 Sonnenschutzeinrichtung sowie deren Anschlussausbildung

 elektrische Anschlüsse

 Materialien der Wand

 Art und Konstruktion der Wand

 das Fassadensystem sowie deren Anschlussausbildung

 Bauwerksabdichtungen (soweit vorhanden)

 Höhenbezugspunkte, Achsmaße

 Baurichtmaß/Rohbaulichte

 Stockaußenmaß ��������

 Fugenmaße

 Toleranzen von Wandöffnungen und Fenstern

 innere Putzlichte und äußere Architekturlichte

 fertige Belagoberkanten

 exakte konstruktive Vorgaben der Fugen- und Anschlussausbildung

 vorzusehende Dämmstoffe

 Füllstoffe der Fugenzwischenräume

 äußeres und inneres Hinterfüllprofil

 Anschlüsse oder Abdichtung

 Anschluss der Fensterbank (Material und System)

 ev. Angabe von geeigneten Punkten für die Befestigung von Konsolen

Bei der Ausführung der Fuge ist eine Reduzierung von Wärmebrücken, eine Einhaltung schalldämmender Eigenschaften angrenzender Bauteile sowie die fallbezogene Luft- und Schlagregendichtheit zu fordern. Eine Bauanschlussfuge gilt gemäß ÖNORM B 5320 [84] als luftdicht, wenn eine längenbezogene Luftdurchlässigkeit �� ≤ 0,1 m³/(m h (daPa)2/3) gegeben ist.

Grundsätzlich ist die Bauanschlussfuge als Wärmebrücke zu sehen, wobei die Mindestanforderungen an den Wärmeschutz dann erfüllt sind, wenn der Bemessungswert der Wärmeleitfähigkeit des Wandbaustoffes �� ≤ 0,20 W/(m K) und der Wärmedurchgangskoeffizient des Fensterrahmens inklusive allenfalls vorhandener Anschlussprofile �� ≤ 1,4 W/(m²⋅K) ist oder die äußeren Wandleibungen vierseitig mindestens 30 mm (am Fenster gemessen) gedämmt sind (Dämmstoff mit �� ≤ 0,05 W/(m K)) bzw. ein gesonderter Nachweis gemäß ÖNORM B 8110-2 [88] geführt wird.

Grundsätzlich ist eine Bauanschlussfuge eine Wärmebrücke.

142 | Baukörperanschlüsse
Anschlussfuge Fenster-Wand 110|5|2

Abbildung 110|5-09: Einbaudetails von Fenstern

Abbildung 110|5-10: Einbaudetail eines Holzfensters mit Blindstock

Anschlussfuge Fenster-Wand | 143
1 Anschlussfuge außen 5 Putz oder Verblendung 2 Anschlussfuge innen 6 tragender Baukörper 3 Wärmedämmung 7 Blindstock 4 Stockrahmen 8 Putzabschlusswinkel

Turn static files into dynamic content formats.

Create a flipbook
Issuu converts static files into: digital portfolios, online yearbooks, online catalogs, digital photo albums and more. Sign up and create your flipbook.
Fenster, 3. Auflage by Birkhäuser - Issuu