SONIC KATALOGS 2024/2025

Page 1

SONIC-EQUIPMENT.COM WORK EFFICIENT WORK WITH SONIC CATALOG 2024 2025
SONIC-EQUIPMENT.COM

The world of Sonic.

SONIC IS REPRESENTED IN MORE THAN 65 COUNTRIES WORLDWIDE

• HQ including a 5.000m warehouse and Sonic Experience Center located in the Netherlands.

• Facilities and warehouses in Germany, Austria, France, Taiwan, Hong Kong and the United States.

• Active in the Automotive, Agriculture, Truck, Industry, Maritime, Aviation Bicycles and Motorcycles sectors

SONIC-EQUIPMENT.COM 1
HQ

Our DNA.

Sonic Equipment is the specialist in high-quality hand tools, filled toolboxes and premium storage solutions.

Our goal is to provide the perfect solution for technical professionals, always with the right balance between price, quality and smart designs.

SONIC-EQUIPMENT.COM 2

Our drive.

Efficiency. The storage solution that suits you, filled with the right selection of tools and always perfectly organised.

Style. Eye-catching designs that bring your workshop to the next level. Our products are tested and proven by the best. Join our winning team.

Support. Our local support teams are always ready to go the extra mile. How can we be of service to you?

SONIC-EQUIPMENT.COM 3
WORK EFFICIENT WORK WITH
SONIC
WORK EFFICIENT WORK WITH SONIC

(SFS)

SONIC-EQUIPMENT.COM 5
05
06
01 NEXT TOOLBOXES PAGE 8 02 STORAGE SOLUTIONS (MSS+ AND MSS) PAGE 69 03 SONIC FOAM SYSTEM
PAGE 103 04 TOOLS PAGE 155
EQUIPMENT PAGE 360
PROMOTIONAL ITEMS PAGE 392

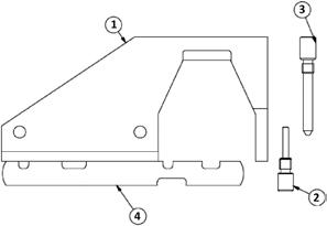
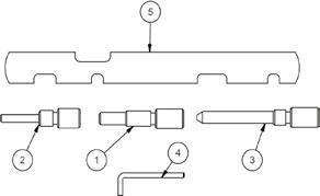
HIGHLIGHTS NEXT TOOLBOXES

1

1 Reinforced stainless steel worktop with large worksurface (S9 - S15)

2 Body made from 1mm steel for extra strength and rigidity

3 Removable reinforced steel worktop with composite inlay (S7 - S8)

4 Worktop with drip edge to prevent fluids or tools from rolling off

5 Stylish molded plastic bumpers and worktop integrated side pockets

6 Heavy duty casters with 300kg loading capacity each (S9 - S12)

7 Heavy duty casters with 350kg loading capacity each (S12XD - S15)

8 High-quality metal braking system (S9 - S15)

9 Shallow drawers equipped with 60kg telescopic ball bearing slides

10 Deep drawers equipped with 120kg double ball bearing slides

11 Drawers extend to 100% for easy tool access and retrieval

12 Ergonomic designed drawer pulls

13 Side handle for easy manoeuvring

14 Central safety lock with color notification

15 Wide range of accessories available

* Durable powder coating with a premium finish

* Advanced drawer blocking system for anti-tilt protection (S9 - S15)

* 2-swivel and 2-fixed caster setup

* Laptop and tablet holder separately available (S9 - S15)

SONIC-EQUIPMENT.COM 7
2 6 10 14 5 9 13 4 8 12 3 7 11 15

NEXT toolboxes

SONIC-EQUIPMENT.COM 8
EFFICIENT, WORK WITH SONIC. 01
WORK

01 NEXT TOOLBOXES

NEXT S7 toolbox

PAGE 12

NEXT S8 toolbox

PAGE 14

S9 VAS toolbox

PAGE 50

NEXT S9 toolbox

PAGE 18

S12 VAS toolbox

PAGE 52

NEXT S12 toolbox

PAGE 26

Service carts

PAGE 54

NEXT S12XD toolbox

PAGE 32

NEXT toolbox spare parts

PAGE 56

NEXT S13 toolbox

PAGE 38

NEXT S14 toolbox

PAGE 42

NEXT S15 toolbox

PAGE 46

Spare parts originals

PAGE 60

SONIC-EQUIPMENT.COM 9 01

WORK EFFICIENT WORK WITH SONIC

Ready for your perfect Sonic toolbox?

Sonic offers filled toolboxes for every level of expertise. We classify our range based on four labels that indicate the recommended toolbox configuration: Basic, Intermediate, Advanced and Expert.

The Basic badge classifies a complete solution for starting technicians.

The Intermediate badge classifies a complete solution for skilled technicians.

The Advanced badge classifies an advanced solution for seasoned technicians.

The Expert badge classifies an extensive solution for the most experienced technicians, who are up for any challenge.

SONIC-EQUIPMENT.COM 11 01

NEXT S7

The Sonic NEXT S7 is our entry model toolbox, best suited for technicians looking for a basic to intermediate toolset. With its shorter height advantage, along with a width of 80cm and only 51cm in depth, this box is the ultimate unit for storage anywhere in a workshop.

• Removable worktop built with reinforced steel and a composite inlay worksurface

• 4 shallow drawers, and 2 deep drawers

• Equipped with 60kg telescopic ball bearing slides

• Total loading capacity of 400kg

toolboxes SONIC-EQUIPMENT.COM 12 01 Empty weight: 71KG 1800MM 900MM 510MM 800MM
NEXT
Centralized keyed lock Ball bearing drawer slides Locking casters Toolbox max load Drawer max load Removable worktop 60 400 NEXT S7
Compatible with Sonic Foam System S S S M
#4737016 NEXT S7

NEXT S7 toolbox 6 drawers. 3 drawers filled with 140-PCS tools.

NEXT S7 toolbox 6 drawers. 3 drawers filled with 138-PCS tools.

SONIC-EQUIPMENT.COM 13 01
605501 3 601404 2 307101 140 TOOLS 138 TOOLS
NEXT S7
1
#714075
BEST SELLER M M 2 300911 303805 600430 3 600319 600432 601227 204101 1 600823 601903
#713875 NEXT S7

NEXT S8

The Sonic NEXT S8 toolbox is part of our entry level range, best suited for technicians looking for a basic to intermediate toolset. With its compact design of only 80cm in width and 51cm in depth, this toolbox is the ideal box for moving around a workshop, requiring a smaller storage space.

• Removable worktop built with reinforced steel and a composite inlay worksurface

• 5 shallow drawers and 2 deep drawers

• Equipped with 60kg telescopic ball bearing slides

• Total loading capacity of 400kg

toolboxes SONIC-EQUIPMENT.COM 14 01
NEXT
Centralized keyed lock Ball bearing drawer slides Locking casters Toolbox max load Drawer max load Removable worktop 60 400 NEXT S8
Empty weight: 80KG 1800MM 1040MM 510MM 800MM Compatible with Sonic Foam System S S S M
#4737117
NEXT S8

NEXT S8 toolbox 7 drawers. 4 drawers filled with 197-PCS tools.

NEXT S8 toolbox 7 drawers. 3 drawers filled with

SONIC-EQUIPMENT.COM 15 01 BEST SELLER 197 TOOLS 207 TOOLS 1 607001 3 604002 2 306902 #719776 NEXT S8
NEXT
#720776
S8
4 601812 1 602904 3 601812 2 316001 M M
207-PCS tools.
NEXT toolboxes SONIC-EQUIPMENT.COM 16 01 Discover our filled toolboxes for motorcycles. PAGE 17 AND 25. MOTOR CYCLE
SONIC-EQUIPMENT.COM 17 01 MOTOR CYCLE 223 TOOLS 250 TOOLS 1 602407 3 604309 2 313902 #722376 NEXT S8 #725076 NEXT S8 NEXT S8 toolbox 7 drawers. 4 drawers filled with 223-PCS tools. NEXT S8 toolbox 7 drawers. 5 drawers filled with 250-PCS tools. 4 601707 3 305605 601904 600709 4 600825 600705 600614 5 600319 601227 47613 1 600823 600718 600719 2 106303 204101 300608 S S S M

NEXT S9

NEXT S9

The Sonic NEXT S9 toolbox is our recommended solution for technicians looking for a basic to intermediate toolset. What makes this toolbox our bestselling and recommended unit is not only its size in height, but its advantage of the space saving design at only 83cm in width and 52cm in depth. This combination of overall size matched with its storage space allows this box to be the #1 choice within the range.

• Reinforced stainless steel worktop with integrated side pockets

• Spray can holder and paper roll holder

• 4 heavy duty casters with 300kg loading capacity each

• 7 shallow drawers and 1 deep drawer

• Shallow drawers are equipped with 60kg telescopic ball bearing slides

• Deep drawers are equipped with 120kg double slides

• Advanced drawer blocking system for anti-tilt protection

• Total loading capacity of 900kg

toolboxes SONIC-EQUIPMENT.COM 18 01
NEXT
S S S M
Compatible with Sonic Foam System
Empty weight: 96KG 1800MM 1032MM 520MM 830MM NEXT S9 Centralized keyed lock Ball bearing drawer slides Shallow drawer max load Can holder Locking casters Toolbox max load Deep drawer max load Stainless steel worktop Anti-tilt system 60 120 900
#4737218

S9 toolbox 8 drawers. 6 drawers filled with 384-PCS tools.

SONIC-EQUIPMENT.COM 19 01
#738477 NEXT S9 BEST SELLER 3 309510 1 602716 2 216303 5 604104 6 601607 4 604208 384 TOOLS M
NEXT

NEXT S9 toolbox 8 drawers. 4 drawers filled with 168-PCS tools.

#724977 NEXT S9

NEXT S9 toolbox 8 drawers. 5 drawers filled

NEXT toolboxes SONIC-EQUIPMENT.COM 20 01 SAE 1 602716 1 602407 3 603101 3 604309 2 309303 2 313902
NEXT S9
4 601707 4 602209 5 602104
#716877
249 TOOLS M M 168 TOOLS
with 249-PCS tools.
SONIC-EQUIPMENT.COM 21 01 1 602407 3 309502 2 215702 4 604002 5 603003 #736377 NEXT
363-PCS
363 TOOLS 302 TOOLS 3 300911 303805 302003 1 600823 600824 600822 S S S #730277 NEXT S9
filled with 302-PCS tools. 2 106303 4 601903 5 600319 6 600825 204101 601225 601227 600705 202301 601016 600614 600717 6 601707 M
S9 NEXT S9 toolbox 8 drawers. 6 drawers filled with
tools.
NEXT S9 toolbox 8 drawers. 6 drawers

NEXT toolboxes

#741477 NEXT S9

NEXT S9 toolbox 8 drawers. 6 drawers filled with 414-PCS tools.

#742977

NEXT S9 toolbox 8 drawers. 7 drawers filled with 429-PCS tools.

SONIC-EQUIPMENT.COM 22 01
414 TOOLS 3 309502 1 602407 2 215702 5 604309 6 602209 4 307302 2 216303 1 602716 4 604002 5 604702 6 604104 7 601607 3 309510
NEXT S9
429 TOOLS M M

#752777

NEXT S9 toolbox 8 drawers. 8 drawers filled with 527-PCS tools.

SONIC-EQUIPMENT.COM 23 01
NEXT S9
527 TOOLS 2 201401 3 110201 208001 300911 1 600823 600824 600822 203001 305605 4 302003 302204 302104 5 601903 6 603004 7 600319 8 600825 601225 601017 601227 600705 601904 301603 600614 600717 S S S

NEXT S9 toolbox 8 drawers. 4 drawers filled with 263-PCS tools.

NEXT toolboxes SONIC-EQUIPMENT.COM 24 01
AVIATION
1 610301 3 604906 4 602503 2 108601 263 TOOLS M #726377 NEXT S9

NEXT S9 toolbox 8 drawers. 7 drawers filled with 325-PCS tools.

MOTOR CYCLE

SONIC-EQUIPMENT.COM 25 01
2 214301 1 602716 4 605304 5 604207 6 601606 7 601806 3 305002 #734977 NEXT S9
325 TOOLS M

NEXT toolboxes

NEXT S12

The Sonic NEXT S12 toolbox is one of our bestsellers for technicians looking for an intermediate to advanced toolset. This toolbox is useful for its additional width in storage, while still allowing for a slim design in its depth. At 100cm width and only 52cm deep, it’s the right balance between design, quality and price for utilizing small spaces to store and still transport around a workshop.

• Reinforced stainless steel worktop with integrated side pockets

• Spray can holder and paper roll holder

• 4 heavy duty casters with 300kg loading capacity each

• 7 shallow drawers and 1 deep drawer

• Shallow drawers are equipped with 60kg telescopic ball bearing slides

• Deep drawers are equipped with 120kg double slides

• Advanced drawer blocking system for anti-tilt protection

• Total loading capacity of 900kg

SONIC-EQUIPMENT.COM 26
Compatible with Sonic Foam System L
Centralized keyed lock Ball bearing drawer slides Shallow drawer max load Can holder Locking casters Toolbox max load Deep drawer max load Stainless steel worktop Anti-tilt system 60 120 900 Empty weight: 120KG 1800MM 1032MM 520MM 1000MM
NEXT S12
01
#4737318 NEXT S12

NEXT S12 toolbox 8 drawers. 6 drawers filled with 497-PCS tools. #749778 NEXT S12

SONIC-EQUIPMENT.COM 27 01
BEST SELLER 1 603304 3 313602 4 605104 5 602109 6 604909 2 220702 497 TOOLS L

NEXT S12 toolbox 8 drawers. 5 drawers filled with 303-PCS tools.

#740078 NEXT S12

NEXT S12 toolbox 8 drawers. 6 drawers filled with 400-PCS tools.

SONIC-EQUIPMENT.COM 28 01
NEXT toolboxes
#730378 NEXT S12
303 TOOLS 400 TOOLS L 1 603202 1 603207 3 605301 3 308201 4 602204 4 605101 5 604001 5 602308 6 602710 2 315602 2 218502 L

NEXT S12 toolbox 8 drawers. 7 drawers filled with 485-PCS tools.

SONIC-EQUIPMENT.COM 29 01
#748578
1 603202 3 308401 4 605301 5 602204 6 604202 7 604001 2 221201 485 TOOLS L
NEXT S12

NEXT toolboxes

NEXT S12 toolbox 8 drawers. 7 drawers filled with 575-PCS tools.

SONIC-EQUIPMENT.COM 30 01
1 114602 3 311803 4 605301 5 602605 6 602803 7 604001 2 216401 575 TOOLS L
#757578 NEXT S12

NEXT S12 toolbox 8 drawers. 8 drawers filled with 644-PCS tools.

SONIC-EQUIPMENT.COM 31 01
#764478
1 114602 3 311803 4 605301 5 606901 6 602605 7 602803 8 604001 2 216401 644 TOOLS L
NEXT S12

NEXT S12XD

NEXT S12XD

The extra deep Sonic NEXT S12XD toolbox is the perfect choice for technicians looking for an advanced toolset. The noticeable extra depth is what sets this one apart from other similar toolboxes. The NEXT S12XD is 63cm deep, allowing for additional storage space in still such a compact and easy maneuverable unit.

• Extra deep toolbox for maximum storage capacity

• Reinforced stainless steel worktop with integrated side pockets

• Spray can holder and paper roll holder

• 4 heavy duty casters with 350kg loading capacity each

• 8 XL drawers, of which 7 are shallow and 1 is deep

• Shallow drawers are equipped with 60kg telescopic ball bearing slides

• Deep drawers are equipped with 120kg double slides

• Advanced drawer blocking system for anti-tilt protection

• Total loading capacity of 1050kg

SONIC-EQUIPMENT.COM 32 01 Centralized keyed lock Ball bearing drawer slides Shallow drawer max load Can holder Locking casters Toolbox max load Deep drawer max load Stainless steel worktop Anti-tilt system 60 120 1050 Compatible with Sonic Foam System S S S XL M
NEXT toolboxes
#4737418
NEXT S12XD Empty weight: 140KG 1800MM 1050MM 630MM 1000MM L

NEXT S12XD toolbox 8 drawers. 8 drawers filled with 887-PCS tools.

SONIC-EQUIPMENT.COM 33 01
#788779
3 222801 4 312103 6 607202 7 603403 1 605004 2 116701 5 306402 8 602010 601807 306901 604402 BEST SELLER 887 TOOLS XL M
NEXT S12XD

NEXT S12XD toolbox 8 drawers. 7 drawers filled with 723-PCS tools.

NEXT toolboxes SONIC-EQUIPMENT.COM 34 01 HEAVY DUTY
#772379 NEXT
2 221803 3 311501 4 606601 5 606302 6 603209 1 114101 7 601909 306901 723 TOOLS M XL
S12XD

NEXT S12XD toolbox 8 drawers. 5 drawers filled with 454-PCS tools.

AVIATION

SONIC-EQUIPMENT.COM 35 01
#745479 NEXT S12XD 2 308601 3 605901 4 605201 5 606301 454 TOOLS 1 219401 XL
NEXT toolboxes SONIC-EQUIPMENT.COM 36 WORK EFFICIENT WORK WITH SONIC
SONIC-EQUIPMENT.COM 37

NEXT toolboxes

NEXT S13

The Sonic NEXT S13 toolbox is the solution of choice for technicians looking for an advanced to expert toolset. The NEXT S13 is a one of a kind toolbox in our lineup. It is short in stature but occupies a large stance at 120cm in width and 76cm in depth. Its larger footprint and ideal work height allow for a unique storage and workspace combination.

• Unique storage and workspace combination

• Extra lockable storage compartment located on backside

• Reinforced stainless steel worktop with integrated side pockets

• Spray can holder and paper roll holder

• 4 heavy duty casters with 350kg loading capacity each

• 10 shallow drawers and 3 deep drawers

• Shallow drawers are equipped with 60kg telescopic ball bearing slides

• Deep drawers are equipped with 120kg double slides

• Advanced drawer blocking system for anti-tilt protection

• Total loading capacity of 1050kg

SONIC-EQUIPMENT.COM 38 Centralized keyed lock Ball bearing drawer slides Shallow drawer max load Can holder Locking casters Toolbox max load Deep drawer max load Stainless steel worktop Anti-tilt system 60 120 1050 Compatible with Sonic Foam System S S S M
NEXT S13 Empty weight: 218,5KG 1800MM 970MM 760MM 1200MM 01
#47375113 NEXT S13

#738480 NEXT S13

NEXT S13 toolbox 13 drawers. 6 drawers filled with 384-PCS tools.

#723680 NEXT S13

NEXT S13 toolbox 13 drawers. 5 drawers filled with 236-PCS tools.

SONIC-EQUIPMENT.COM 39 01
3 309510 3 604002 1 602716 1 607001 2 216303 2 306902 5 604104 5 601607 6 601607 4 604208 4 604104 BEST SELLER 384 TOOLS 236 TOOLS M M

#754080 NEXT S13

NEXT S13 toolbox 13 drawers. 10 drawers filled with 540-PCS tools.

SONIC-EQUIPMENT.COM 40 01 HEAVY DUTY
NEXT toolboxes
540 TOOLS 2 216303 1 602716 4 403201 5 603002 6 604702 3 309510 10 602209 7 601808 8 307302 9 403301 M
Discover our filled Heavy Duty toolboxes. PAGE 34, 40, 45 AND 49. HEAVY DUTY 01

#47376116 NEXT S14

S14

The Sonic NEXT S14 toolbox is part of our top range, for technicians looking for an advanced and expert toolset. This toolbox is one of our largest roll around boxes. At a width of 145cm and depth of 65cm, the NEXT S14 is a great buy for a storage option that has a higher worksurface while supporting larger amounts of storage space.

• Unique drawer configurations for better ergonomics

• Reinforced stainless steel worktop with integrated side pockets

• Spray can holder and paper roll holder

• 4 heavy duty casters with 350kg loading capacity each

• 9 XL drawers, of which 8 are shallow and 1 is deep and 7 medium drawers installed sideways, of which 5 are shallow and 2 are deep

• Shallow drawers are equipped with 60kg telescopic ball bearing slides

• Deep drawers are equipped with 120kg double slides

• Advanced drawer blocking system for anti-tilt protection

• Total loading capacity of 1050kg

toolboxes SONIC-EQUIPMENT.COM 42 01
NEXT
Compatible with Sonic Foam System S S S XL M
NEXT
NEXT S14 L Empty weight: 285KG 1800MM 1180MM 650MM 1450MM Centralized keyed lock Ball bearing drawer slides Shallow drawer max load Can holder Locking casters Toolbox max load Deep drawer max load Stainless steel worktop Anti-tilt system 60 120 1050

#714581 NEXT S14

NEXT S14 toolbox 16 drawers. 12 drawers filled with 1045-PCS tools.

SONIC-EQUIPMENT.COM 43 01 1L 608801 3L 314501
604402 2L 222801 4L 610201 7L 601807 6L 603209 602010 601806 1R 602213 3R 306402 5R 306901 2R 116701 4R 602805
5L
BEST SELLER 1045 TOOLS XL M
NEXT toolboxes SONIC-EQUIPMENT.COM 44 WORK EFFICIENT WORK WITH SONIC

#792081 NEXT S14

NEXT S14 toolbox 16 drawers. 12 drawers filled with 920-PCS tools.

SONIC-EQUIPMENT.COM 45 01
DUTY 1L 114101 3L 311501 5L 606302 2L 221803 4L 606601 7L 306901 6L 603209 601909 1R 601808 3R 306402 5R 403301 2R 403201 4R 605001
HEAVY
920 TOOLS XL M

S15

The Sonic NEXT S15 toolbox is our flagship and the ideal choice for mechanics looking for an advanced and expert toolset while maintaining ample additional storage space. The NEXT S15 toolbox stands at 118cm height, featuring stylish molded plastic bumpers, integrated side pockets, two spray can holders and a paper roll holder. This toolbox is our largest roll around box in the range. At 165cm wide and 65cm in depth, the NEXT S15 toolbox is the ultimate storage solution on wheels.

• Drawer configuration provides maximized storage options and quick access to most needed items

• Reinforced stainless steel worktop with integrated side pockets

• Spray can holder and paper roll holder

• 4 heavy duty casters with 350kg loading capacity each

• 1 XXL deep drawer, 7 XL shallow drawers and 5 medium drawers, of which 3 are shallow and 2 are deep

• Shallow drawers are equipped with 60kg telescopic ball bearing slides

• Deep drawers are equipped with 120kg double slides

• Advanced drawer blocking system for anti-tilt protection

• Total loading capacity of 1050kg

SONIC-EQUIPMENT.COM 46
NEXT toolboxes
Compatible with Sonic Foam System S S S XL M NEXT
NEXT
NEXT S15 L Centralized keyed lock Ball bearing drawer slides Shallow drawer max load Can holder Locking casters Toolbox max load Deep drawer max load Stainless steel worktop Anti-tilt system 60 120 1050 Empty weight: 305,5KG 1800MM 1180MM 650MM 1650MM 01
#47377113
S15

#714582 NEXT S15

NEXT S15 toolbox 13 drawers. 12 drawers filled with 1045-PCS tools.

* In the drawers on the right, all Medium foam inlays are complemented by a spacer.

SONIC-EQUIPMENT.COM 47 01
601807 601806
7L
BEST SELLER XL M 1045 TOOLS
604402 6L 603209 602010 5R 306901 3L 314501 4L 610201 3R 306402 4R 602805 1L 608801 2L 222801 1R 602213 2R 116701
5L

#792082 NEXT S15

NEXT S15 toolbox 13 drawers. 12 drawers filled with 920-PCS tools.

* In the drawers on the right, all Medium foam inlays are complemented by a spacer.

toolboxes SONIC-EQUIPMENT.COM 48 01
1L 114101 3L 311501 5L 606302 2L 221803 4L 606601 7L 306901 6L 603209 601909 1R 601808 3R 306402 5R 403301 2R 403201 4R 605001
NEXT
HEAVY DUTY
XL M 920 TOOLS

#49015

Monitor and laptop holder NEXT toolbox

• Compatible with NEXT toolboxes: S9, S12, S12XD, S13, S14 and S15

• Max. monitor size 27”

• Max. loading capacity 9kg

#49016

Tablet mount for NEXT laptop holder 49015

• Can only be used in combination with NEXT laptop holder 49015

• Max. tablet size 13”

• Max. loading capacity 1kg

SONIC-EQUIPMENT.COM 49 01
NEXT
Monitor and laptop holder
toolbox
TABLET MOUNT ACCESSORY ONLY

VOLKSWAGEN WORKS WITH SONIC.

#ASE27600300000

This remarkable S9 toolbox has a custom design for Volkswagen and equipped with a drawer blocking system for anti-tilt and has a modern design with a stainless-steel worktop and heavy-duty bumpers. The toolbox has large storage capacity of up to 539 pieces of equipment and is available in many different versions. A great choice for any professional.

• Total 8 drawers

• Side handle

• Torsion resistant by profile construction

• Plastic edge protection

• Perforated panels to hang various accessories

• Powder coated exterior

• Paper roll holder

• 4 rubber casters (Ø125mm-50mm)

SONIC-EQUIPMENT.COM 50 01 VAS toolboxes
7021
RAL
Compatible with Sonic Foam System S S S M S9
Empty weight: 84KG 1800MM 1035MM 532MM 859MM S9 Centralized keyed lock Ball bearing drawer slides Locking casters Can holder Anti-tilt system Stainless steel worktop Drawer max load 40 Toolbox max load 400 Drawer 100% retractable

After a long selection procedure, Volkswagen has decided to start a collaboration with Sonic Equipment. Especially for Volkswagen Sonic has developed 2 toolboxes, based on the S9 and S12 toolbox. These toolboxes will be delivered in the Volkswagen RAL colors and can be supplied with foam inlays specially developed for Volkswagen. The range consists of a basic tool set in foam inlays and additional extension sets for Audi, VW and body. These products are exclusively available at Volkswagen and their distribution centers.

#ASE27600300000 S9

Basic tool set

VAS 275 001

SONIC-EQUIPMENT.COM 51 01
VAS 276 003

VOLKSWAGEN WORKS WITH SONIC

S12

The S12 is a large and wide toolbox with a custom design for Volkswagen. This toolbox is the perfect match for advanced technicians and can store up to 644 pieces of equipment. Despite its robust appearance the toolbox is easily maneuverable and suitable for any workplace.

• Total 8 drawers

• Side handle

• Torsion resistant by profile construction

• Plastic edge protection

• Perforated panels to hang various accessories

• Powder coated exterior

• Paper roll holder

• 4 rubber casters (Ø125mm-50mm)

SONIC-EQUIPMENT.COM 52 01 VAS toolboxes
7021
RAL
Empty weight: 97KG 1800MM 1035MM 532MM 1030MM S9 Centralized keyed lock Ball bearing drawer slides Locking casters Can holder Anti-tilt system Stainless steel worktop Drawer max load 40 Toolbox max load 400 Drawer 100% retractable Compatible with Sonic Foam System L
#ASE27600100000 S12 VAS TOOLBOX
SONIC-EQUIPMENT.COM 53 01
#ASE27600100000 S12
VAS 276 001
Basic tool set VAS 275 001
Audi tool set VAS 275 001/1 Volkswagen tool set VAS 275 001/2 Body repair tool set
VAS 275 001/3
SONIC-EQUIPMENT.COM 54
NEXT S1 SERVICE
RAL 7016 RAL 7016 RAL 7016 #4738210 NEXT S2 SERVICE CART
NEXT S4 SERVICE CART 3 DRAWERS Shelf max load 50 Shelf max load 60 Shelf max load 60 Toolbox max load 150 Drawer max load 60 Toolbox max load 340 1800MM 913MM 500MM 710MM Weight: 29,3KG Weight: 55,6KG 1800MM 1050MM 518MM 957MM 1800MM 1050MM 518MM 957MM Weight: 16,7KG Centralized keyed lock Locking casters Locking casters Locking casters Toolbox max load 240
#4738110
CART
#4738413
NEXT Service carts
SONIC-EQUIPMENT.COM 55 01 Originals
SERVICE CART ORIGINAL 60KG 90KG 90KG RAL 9004 RAL 9006 RAL 9004 RAL 9006
SERVICE CART ORIGINAL XL
L 1800MM 1047MM 500MM 956MM Weight: 51,5KG 1800MM 1047MM 500MM 956MM Weight: 32,5KG 4 rubber casters (Ø100-35mm) Note: extra large Note: extra large Centralized keyed lock Ball bearing drawer slides Locking casters Deep drawer max load 40 Toolbox max load 400 Compatible with Sonic Foam System WORK EFFICIENT WORK WITH SONIC
#4732110
#4732013
3 DRAWERS

NEXT toolbox spare parts

SONIC-EQUIPMENT.COM 56 01
SONIC-EQUIPMENT.COM 57 01 DRAWERS # DESCRIPTION 48904 Shallow drawer NEXT S7/S8 48906 High drawer NEXT S7 48905 High drawer NEXT S7/S8 without logo 48983 Shallow drawer NEXT S9/S13 48954 High drawer NEXT S9 48913 Shallow drawer NEXT S12 48914 High drawer NEXT S12 48920 Shallow drawer NEXT S12XD/S14/S15 48921 High drawer NEXT S12XD 48955 High drawer NEXT S13 48984 High drawer NEXT S9/S13 without logo 48956 High XL drawer NEXT S14 48928 Shallow small drawer NEXT S14 48929 High small drawer NEXT S14 48930 Extra high small drawer NEXT S14 48934 Shallow small drawer NEXT S15 48935 High small drawer NEXT S15 48936 High small drawer NEXT S15 without logo
Top big drawer NEXT S15
48937

NEXT toolboxes

SONIC-EQUIPMENT.COM 58 01 DRAWER RAILS # DESCRIPTION 47848 Left drawer rail NEXT S7/S8/S9/S13 47849 Right drawer rail NEXT S7/S8/S9/S13 47850 Left drawer rail NEXT S12 47851 Right drawer rail NEXT S12 47852 Left drawer rail NEXT S12XD/S14/S15 47853 Right drawer rail NEXT S12XD/S14/S15 WORKTOPS & PROTECTION # DESCRIPTION 48977 Rubber mat NEXT S7/S8 48938 Worktop NEXT S7/S8 48985 Side pockets worktop NEXT S9/S12 48988 Side pockets worktop NEXT S12XD/S14/S15 48990 Side pockets worktop NEXT S13 48947 Stainless steel worktop NEXT S9 48948 Stainless steel worktop NEXT S12 48949 Stainless steel worktop NEXT S12XD 48950 Stainless steel worktop NEXT S13 48951 Stainless steel worktop NEXT S14 48952 Stainless steel worktop NEXT S15 49006 Rubber mat NEXT S9 49007 Rubber mat NEXT S12 49008 Rubber mat NEXT S12XD 48978 Protection profile NEXT S7 48979 Protection profile NEXT S13 48986 Protection profile NEXT S8 48987 Protection profile NEXT S9/S12/S12XD 48992 Protection profile NEXT S14/S15

Wastebin

SONIC-EQUIPMENT.COM 59 01 ACCESSORIES # DESCRIPTION 48900 Spray can holder NEXT S7/S8/S9/S12/S13 48916 Spray can holder NEXT S12XD/S13/S14/S15
Document holder NEXT
holder NEXT
48980
48901
S7/S8/S9/S12/S13 48917 Document
S12XD/S13/S14/S15
NEXT
48918
NEXT
48981 Handle NEXT S7/S8 48982 Handle NEXT S9/S12 48989 Handle NEXT S12XD/S14/S15 48991 Handle NEXT S13 48903 Paper roll holder NEXT S7/S8/S9/S12/front S13 48919 Paper roll holder NEXT S12XD/S13/S14/S15 LOCKING SYSTEM # DESCRIPTION 48993 Lock with keys NEXT S9/S12/S12XD/drawers S13 48994 Lock with keys NEXT S7/S8/S14/S15 48995-0… Key for NEXT toolbox. Note last 3 digits (for example 48995-0181) 48996 Lock with keys door NEXT S13 47800 Master key NEXT toolbox 48997 Interlocking bar NEXT S13 48998 Interlocking bar NEXT S9/S12/S12XD 48999 Interlocking bar NEXT S14/S15 49000 Connection rod NEXT S9 49001 Connection rod NEXT S12 49002 Connection rod NEXT S12XD 49003 Connection rod NEXT S14/S15 49004 Connection angle of lock NEXT S14/S15 CASTERS # DESCRIPTION 47685 Caster set NEXT S7 4-pcs 47658F Fixed caster original S7/NEXT S7 47658S Swivel caster original S7/NEXT S7 47209 Caster set original S8/S9/S10/S11/S12/NEXT S8 4-pcs 47209F Fixed caster original S8/S9/S10/S11/S12/NEXT S8 47209S Swivel caster original S8/S9/S10/S11/S12/NEXT S8 47844 Caster set NEXT S9/S12 4-pcs 47844F Fixed caster NEXT S9/S12 47844S Swivel caster NEXT S9/S12 47631 Caster set NEXT S12XD/S13/S14/S15 4-pcs 47631F Fixed caster NEXT S12XD/S13/S14/S15 47631S Swivel caster NEXT S12XD/S13/S14/S15 DOORS & SHELVES # DESCRIPTION 48939 Left door NEXT S13 48940 Right door NEXT S13 48941 Top shelf backside storage compartment NEXT S13 48942 Bottom shelf backside storage compartment NEXT S13
S7/S8/S9/S12/front S13
Wastebin
S12XD/S13/S14/S15

Spare parts originals

SONIC-EQUIPMENT.COM 60 01 Spare parts originals WORKTOP L W H # DESCRIPTION L (MM) W (MM) H (MM) G PCS/BAG 47374 Worktop 810 485 25 2700 1 Available for traditional toolbox EVA MAT L W H # DESCRIPTION L (MM) W (MM) H (MM) G PCS/BAG 47213 Eva mat 680 450 10 130 1 Available for S8 toolbox RUBBER MAT L W H # DESCRIPTION L (MM) W (MM) H (MM) G PCS/BAG 47581 Rubber mat 682 484 10 460 1 Available for S8 toolbox RUBBER MAT L W H # DESCRIPTION L (MM) W (MM) H (MM) G PCS/BAG 47548 S9 rubber mat 634 410 3 1320 1 47580 S12 rubber mat 805 410 3 1740 1 47723 S12XD rubber mat 805 546 3 2000 1
MAT L W H # DESCRIPTION L (MM) W (MM) H (MM) G PCS/BAG 47498 S10 rubber mat 567 430 3 1200 1 47499 S11 rubber mat 737 489 3 1700 1 WORKTOP L W H # DESCRIPTION L (MM) W (MM) H (MM) G PCS/BAG 47262 S10 worktop 887 575 25 2900 1 47364 S11 worktop 1051 635 25 5000 1 WORKTOP L W H # DESCRIPTION L (MM) W (MM) H (MM) G PCS/BAG 47614 S9 stainless steel worktop 640 507.5 71 5200 1 47916 S9 stainless steel worktop without logo 640 507.5 71 5200 1 47615 S12 stainless steel worktop 811 507.5 71 7100 1 47751 S12XD stainless steel worktop 808 552 71 8500 1 WORKTOP L W H # DESCRIPTION L (MM) W (MM) H (MM) G PCS/BAG 47257 Wooden worktop 1182 732 32 21970 1 Available for S13 toolbox
RUBBER
SONIC-EQUIPMENT.COM 61 01 WORKTOP L W H # DESCRIPTION L (MM) W (MM) H (MM) G PCS/BAG 47252 Wooden worktop 1353 634 32 19500 1 Available for S14 toolbox WORKTOP L W H # DESCRIPTION L (MM) W (MM) H (MM) G PCS/BAG 47601 Stainless steel worktop 1667 710 38 48500 1 Available for S15 toolbox PLASTIC TOP COVER L W H # DESCRIPTION L (MM) W (MM) H (MM) G PCS/BAG 47572 S9 & S12 plastic top cover (left or right) 532 145 75 500 1 47722 S12XD plastic top cover (left or right) 668 144 75 500 1 SUPPORT SHAFT
DESCRIPTION L (MM) W (MM) H (MM) G PCS/BAG 47551 Support shaft 80 360-435 561-761 3300 1 Available for S10 windshield toolbox HANDLE L W # DESCRIPTION L (MM) W (MM) G PCS/BAG 47251 Handle silver 572 82,2 2000 1 Available for S14 toolbox PAPER HOLDER L W # DESCRIPTION L (MM) W (MM) G PCS/BAG 47522 Paper holder dark grey 279 134 320 1 Available for S9 and S12 toolbox PAPER HOLDER L W # DESCRIPTION L (MM) W (MM) G PCS/BAG 47549 Paper holder black 325 134 300 1 Available for S10 windshield toolbox PAPER HOLDER L W # DESCRIPTION L (MM) W (MM) G PCS/BAG 47267 Paper holder black 325 134 338 1 47334 Paper holder red 325 134 338 1 47343 Paper holder blue 325 134 338 1 47369 Paper holder grey 325 134 338 1 Available for S10, S11, S14 and S15 toolbox PAPER HOLDER L W # DESCRIPTION L (MM) W (MM) G PCS/BAG 47644 Paper holder dark grey 325 134 300 1 Available for S12XD toolbox
#
SONIC-EQUIPMENT.COM 62 01
originals UTILITY MAGNETIC TOOL HOLDER # DESCRIPTION 815001 - Black coated panel - Grey rack and holder - Two magnetic pads CAN HOLDER L W H # DESCRIPTION L (MM) W (MM) H (MM) G PCS/BAG 47609 Can holder black 351 95 110 500 1 Available for S7 toolbox CAN HOLDER L W H # DESCRIPTION L (MM) W (MM) H (MM) G PCS/BAG 47204 Can holder black 430 90 180 1650 1 Available for S8 and S13 toolbox CAN HOLDER L W H # DESCRIPTION L (MM) W (MM) H (MM) G PCS/BAG 47519 Can holder dark grey 300 90 180 1150 1 Available for S9 and S12 toolbox CAN HOLDER L W H # DESCRIPTION L (MM) W (MM) H (MM) G PCS/BAG 47204 Can holder black 430 90 180 1650 1 47346 Can holder red 430 90 180 1650 1 47347 Can holder blue 430 90 180 1650 1 47353 Can holder grey 430 90 180 1650 1 Available for S10 toolbox CAN HOLDER L W H # DESCRIPTION L (MM) W (MM) H (MM) G PCS/BAG 47206 Can holder black 470 90 180 1750 1 47348 Can holder red 470 90 180 1750 1 47350 Can holder blue 470 90 180 1750 1 47412 Can holder grey 470 90 180 1750 1 Available for S11 and S14 toolbox CAN HOLDER L W H # DESCRIPTION L (MM) W (MM) H (MM) G PCS/BAG 47643 Can holder dark grey 430 90 180 1650 1 Available for S12XD toolbox CAN HOLDER L W H # DESCRIPTION L (MM) W (MM) H (MM) G PCS/BAG 47605 Can holder black 550 90 180 2050 1 Available for S15 toolbox
Spare parts
SONIC-EQUIPMENT.COM 63 01 DOCUMENT HOLDER L W H # DESCRIPTION L (MM) W (MM) H (MM) G PCS/BAG 47521 Document holder dark grey 340 55 315 1250 1 Available for S9 and S12 toolbox DOCUMENT HOLDER L W H # DESCRIPTION L (MM) W (MM) H (MM) G PCS/BAG 47258 Document holder black 340 55 315 1250 1 47395 Document holder red 340 55 315 1250 1 47410 Document holder blue 340 55 315 1250 1 47411 Document holder grey 340 55 315 1250 1 Available for S8, S10, S11 and S14 toolbox TRASH CAN L W H # DESCRIPTION L (MM) W (MM) H (MM) G PCS/BAG 47520 Trash can dark grey 310 130 241 1400 1 Available for S9 and S12 toolbox TRASH CAN L W H # DESCRIPTION L (MM) W (MM) H (MM) G PCS/BAG 47259 Trash can black 430 130 241 1850 1 47273 Trash can red 430 130 241 1850 1 47322 Trash can blue 430 130 241 1850 1 47368 Trash can grey 430 130 241 1850 1 Available for S8, S10, S11, S13 and S14 toolbox SIDE TABLE H L W # DESCRIPTION L (MM) W (MM) H (MM) G PCS/BAG 47264 Side table 454 x 302 MM 460 300 230 4400 1 Available for S8 and S13 toolbox CASTER SET W D H # DESCRIPTION D (MM) W (MM) H (MM) G PCS/BAG 47209 4-pcs caster set 125 50 180 4880 1 47209F Fixed caster 125 50 180 1200 1 47209S Swivel caster 125 50 180 1240 1 47658F Fixed caster (S7 only) 95 67 133 540 1 47658S Swivel caster (S7 only) 95 62 133 900 1 Available for S8, S9, S10, S11 and S12 toolbox CASTER SET W D H # DESCRIPTION D (MM) W (MM) H (MM) G PCS/BAG 47631 4-pcs caster set 150 51 195 9400 1 47631F Fixed caster 150 51 195 2100 1 47631S Swivel caster 150 51 195 2600 1 Available for S12XD, S13, S14 and S15 toolbox
SONIC-EQUIPMENT.COM 64 01
CASTER SET AND HANDLE W D H L H W # DESCRIPTION D (MM) W (MM) D (MM) H (MM) G PCS/BAG 47561 4-pcs caster set 125 50 125 180 4880 1 Handle 430 46 - 324 1350 1 Available for S9 topbox trolley CASTER SET W D H # DESCRIPTION D (MM) W (MM) H (MM) G PCS/BAG 47573 4-pcs caster set 100 35 137 2900 1 47573F Fixed caster 100 35 137 540 1 47573S Swivel caster 100 35 137 910 1 Available for S7 and service cart DRAWER RAILS # DESCRIPTION PCS/BAG 47666 Left drawer rail 1 47667 Right drawer rail 1 Available for S7 toolbox DRAWERS W L H # DESCRIPTION L (MM) W (MM) H (MM) G PCS/BAG 47607 Shallow drawer 580 385 73 2100 1 47608 Deep drawer without logo 580 385 152 3200 1 47610 Deep drawer with logo 580 385 152 3200 1 Available for S7 toolbox DRAWERS W L H # DESCRIPTION L (MM) W (MM) H (MM) G PCS/BAG 47253 Shallow drawer 579 381 74 3300 1 47254 Deep drawer with logo 579 381 153 4300 1 47396 Deep drawer without logo 579 381 153 4300 1 Available for S8 toolbox DRAWERS W L H # DESCRIPTION L (MM) W (MM) H (MM) G PCS/BAG 47517 Shallow drawer 579 372 74 3300 1 47518 Deep drawer with logo 579 372 153 4900 1 47686 Deep drawer without logo 579 372 153 4900 1 Available for S9 toolbox
Spare parts originals
SONIC-EQUIPMENT.COM 65 01 DRAWERS W L H # DESCRIPTION L (MM) W (MM) H (MM) G PCS/BAG 47265 Shallow drawer, black 579 379 74 3200 1 47266 Deep drawer with logo, black 579 379 153 4200 1 47687 Deep drawer without logo, black 579 379 153 4200 1 47318 Shallow drawer, red 579 379 74 3200 1 47319 Deep drawer with logo, red 579 379 153 4200 1 47688 Deep drawer without logo, red 579 379 153 4200 1 47320 Shallow drawer, blue 579 379 74 3200 1 47321 Deep drawer with logo, blue 579 379 153 4200 1 47689 Deep drawer without logo, blue 579 379 153 4200 1 47391 Shallow drawer, grey 579 379 74 3200 1 47392 Deep drawer with logo, grey 579 379 153 4200 1 47690 Deep drawer without logo, grey 579 379 153 4200 1 Available for S10 toolbox DRAWERS W L H # DESCRIPTION L (MM) W (MM) H (MM) G PCS/BAG 47550 Deep drawer with logo 579 379 232 5300 1 47553 Deep drawer without logo 579 379 153 4300 1 Available for S10 windshield toolbox DRAWERS W L H # DESCRIPTION L (MM) W (MM) H (MM) G PCS/BAG 47365 Shallow drawer, black 750 433 74 4200 1 47366 Deep drawer with logo, black 750 433 153 5600 1 47691 Deep drawer without logo, black 750 433 153 5600 1 47337 Shallow drawer, red 750 433 74 4200 1 47338 Deep drawer with logo, red 750 433 153 5600 1 47692 Deep drawer without logo, red 750 433 153 5600 1 47339 Shallow drawer, blue 750 433 74 4200 1 47340 Deep drawer with logo, blue 750 433 153 5600 1 47693 Deep drawer without logo, blue 750 433 153 5600 1 47393 Shallow drawer, grey 750 433 74 4200 1 47394 Deep drawer with logo, grey 750 433 153 5600 1 47694 Deep drawer without logo, grey 750 433 153 5600 1 Available for S11 toolbox DRAWERS W L H # DESCRIPTION L (MM) W (MM) H (MM) G PCS/BAG 47546 Shallow drawer 750 432 74 4400 1 47547 Deep drawer with logo 750 432 153 6100 1 47695 Deep drawer without logo 750 432 153 6100 1 Available for S12 toolbox DRAWERS W L H # DESCRIPTION L (MM) W (MM) H (MM) G PCS/BAG 47645 Small drawer 752 580 74 5500 1 47646 Deep drawer with logo 752 580 153 7700 1 47750 Deep drawer without logo 752 580 153 7700 1 Available for S12XD toolbox DRAWERS W L H # DESCRIPTION L (MM) W (MM) H (MM) G PCS/BAG 47265 Shallow drawer 579 379 74 3200 1 47266 Deep drawer with logo 579 379 153 4200 1 47523 Small drawer 147 379 83.5 1300 1 Available for S13 toolbox DRAWERS W L H # DESCRIPTION L (MM) W (MM) H (MM) G PCS/BAG 47513 Shallow drawer 377 579 74 3200 1 47514 Deep drawer 377 579 153 4600 1 47515 Shallow drawer 750 579 74 5000 1 47516 Deep drawer 750 579 153 7000 1 Available for S14 toolbox
SONIC-EQUIPMENT.COM 66 01
originals DRAWERS W L H # DESCRIPTION L (MM) W (MM) H (MM) G PCS/BAG 47602 Top drawer 1413 575 196 13000 1 47603 Shallow drawer 579 573 74 3700 1 47604 Deep drawer with logo 579 573 153 5500 1 47515 Shallow drawer 750 573 74 5000 1 Available for S15 toolbox DRAWERS W L H # DESCRIPTION L (MM) W (MM) H (MM) G PCS/BAG 47637 Shallow drawer 496 202 53 1100 1 Available for service topbox KEY AND LOCK # DESCRIPTION G PCS/BAG 47622-.... Key for toolbox. Note all 4 digits (for example: 47622-0027) 14 2 47623 Masterkey for toolbox (2016) 14 1 47624 Key with lock (toolbox/MWS 180° - 2016) 60 2 47625 Key with lock (topbox/toolbox 90° - 2016) 60 1 Available for S8, S9, S10, S11, S13, S14 toolbox and SWS KEY AND LOCK # DESCRIPTION G PCS/BAG 47210-.... Key for toolbox. Note all 3/4 digits (for example: 47622-0027) 14 2 Available for S7, S8, S9, S10, S11, S12, S13, S14, S15 toolbox and SWS
Spare parts
SONIC-EQUIPMENT.COM 67 01 DRAWER RAILS L7 L6 L3 L1 L2 L4 L8 W # DESCRIPTION L1(MM) L2(MM) L3(MM) L4(MM) L5(MM) L6(MM) L7(MM) L8(MM) W(MM) G PCS/BAG 47215 Left drawer rail 800 400 290 19 400 178 144 24 45 584 1 47216 Right drawer rail 800 400 290 19 400 178 144 24 45 584 1 Available for S8, S9, S10, S13 toolbox DRAWER RAILS L7 L6 L3 L1 L2 L4 L8 W # DESCRIPTION L1(MM) L2(MM) L3(MM) L4(MM) L5(MM) L6(MM) L7(MM) L8(MM) W(MM) G PCS/BAG 47671 Left drawer rail 870 435 290 19 435 178 144 24 45 644 1 47672 Right drawer rail 870 435 290 19 435 178 144 24 45 644 1 Available for service cart, S11, S12 toolbox and SWS DRAWER RAILS L7 L6 L3 L1 L2 L4 L8 W # DESCRIPTION L1 (MM) L2 (MM) L3 (MM) L4 (MM) L5 (MM) L6 (MM) L7 (MM) L8 (MM) W (MM) G PCS/BAG 47243 Left drawer rail 1154 577 290 19 577 178 144 24 45.7 852 1 47244 Right drawer rail 1154 577 290 19 577 178 144 24 45.7 852 1 Available for S12XD, S14 and S15 toolbox DRAWER RAILS L7 L6 L3 L1 L2 L4 W # DESCRIPTION L1(MM) L2(MM) L3(MM) L4(MM) L5(MM) L6(MM) L7(MM) W(MM) G PCS/BAG 47733 Left drawer rail 422 200 147.5 6.5 197 144.5 32.5 35 210 1 47734 Right drawer rail 422 200 147.5 6.5 197 144.5 32.5 35 210 1 Available for service topbox

Storage solutions

WORK EFFICIENT, WORK WITH SONIC.

SONIC-EQUIPMENT.COM 68
02

02 STORAGE SOLUTIONS

PAGE 70

Spare parts MSS+

PAGE 84

PAGE 88

Spare parts MSS PAGE 98

SONIC-EQUIPMENT.COM 69 02
MSS+
MSS

Premium workplaces, ultimate workflow.

MSS+ is our pride when it comes to modular storage solutions. This high-quality product line is designed for the true professional who accepts nothing less than the best. The system can be configured modularly with a variety of modules, elements and specifications. The setup can be completed with Sonic’s Foam System (SFS), ensuring you will always have the right tools, in the right composition, efficiently arranged in the setup. With MSS+, you create the perfect workplace in every workshop. An ultimate workflow and maximum job satisfaction guaranteed.

Storage solutions SONIC-EQUIPMENT.COM 70
L XL M S S S Compatible with Sonic Foam System SONIC FOAM SYSTEM 02

• Compatible to every working area - walls no longer needed

• Designed to endure long-term intensive use

• All modules are made from a high quality 1.4mm steel construction

• Easily adjustable in height

• Available in RAL 7016 color

Self-supporting system. Drawers.

• Maximized drawer storage capacity

• Less strain on the drawer and module, resulting in an improved lifetime

• Multiple drawer configurations available

• 100% retractable drawers

• Ergonomic handles for the perfect grip

• High drawers are equipped with ventilation slots

• Bottom drawers include integrated power bar with 2x USB and 4x 110V/230V (mobile cabinets excluded)

123KG / 230KG

Slides.

• Highest quality heavy-duty slides available on the market, featuring 123kg or 230kg load capacity

• Telescopic ball bearing system

• Maximum reliability, precision and smooth conduction over the entire lifespan of the MSS+ module

* Mobile drawer cabinets are equipped with standard drawer slides with a carrying capacity of 40kg or 80kg per drawer.

Sonic Foam System.

• Customize drawer content with the unique Sonic Foam System

• Efficient organization of complete tool sets

• Two-tone foam color system for instant overview of missing tools

• Oil and chemical resistant

• Tool specifications visible on the foam inlay

SONIC-EQUIPMENT.COM 71 02

Storage solutions

Drawer cabinets

SONIC-EQUIPMENT.COM 72 02
Depth 650mm Width 720mm Height 1005mm # DESCRIPTION 5072001 720mm drawer cabinet, 8 drawers (EU power bar) Depth 650mm Width 720mm Height 1005mm # DESCRIPTION 5089001 890mm drawer cabinet, 8 drawers (EU power bar) Depth 650mm Width 720mm Height 1005mm # DESCRIPTION 5072018 720mm drawer cabinet, 3 drawers (EU power bar) Depth 650mm Width 1540mm Height 1005mm # DESCRIPTION 5153901 1540mm drawer cabinet, 12 drawers (EU power bar) Depth 650mm Width 720mm Height 1005mm
DESCRIPTION
#
720mm drawer cabinet, 6 drawers
power bar) Depth 650mm Width 890mm Height 1005mm # DESCRIPTION 5089002 890mm drawer cabinet, 6 drawers (EU power bar) Depth 650mm Width 890mm Height 1005mm
DESCRIPTION
5072002
(EU
#
890mm drawer cabinet, 3 drawers (EU power bar)
5089015

Portable cabinets

SONIC-EQUIPMENT.COM 73 02
Depth 660mm Width 700mm Height 884mm # DESCRIPTION 5072004 700mm portable cabinet extra deep, 7 drawers Depth 660mm Width 870mm Height 884mm # DESCRIPTION 5089004 870mm portable cabinet extra deep, 7 drawers Depth 530mm Width 870mm Height 884mm # DESCRIPTION 5089011 890mm service cart Depth 530mm Width 700mm Height 884mm # DESCRIPTION 5072005 700mm portable cabinet, 7 drawers Depth 530mm Width 870mm Height 884mm # DESCRIPTION 5089005 870mm portable cabinet, 7 drawers

Storage cabinets

SONIC-EQUIPMENT.COM 74 02
Storage solutions
Depth 650mm Width 360mm Height 1005mm # DESCRIPTION 5036001 360mm storage cabinet, left-handed door 5036002 360mm storage cabinet, right-handed door Depth 650mm Width 890mm Height 1005mm # DESCRIPTION 5089009 890mm storage cabinet, double door Depth 650mm Width 720mm Height 1005mm # DESCRIPTION
720mm cabinet with sink, double door Depth 650mm Width 720mm Height 1005mm # DESCRIPTION 5072009 720mm storage cabinet, left-handed door 5072010 720mm storage cabinet, right-handed door Depth 650mm Width 1060mm Height 1005mm # DESCRIPTION 5106002 1060mm corner storage cabinet, double door Depth 650mm Width 720mm Height 1005mm # DESCRIPTION 5072012 720mm waste bin/recycle cabinet Optional: Full range of colors upon request, longer lead time and additional fees could apply.
5072011
SONIC-EQUIPMENT.COM 75 02 Depth 516mm Width 720mm Height 799mm # DESCRIPTION 5072019 720mm waste bin for 5089012 5089016 890mm waste bin cabinet and waste bin 5089012 890mm waste bin cabinet (without waste bin) Depth 650mm Width 650mm Height 2105mm # DESCRIPTION 5065501 650mm tall cabinet, left-handed door 5065502 650mm tall cabinet, right-handed door Depth 650mm Width 965mm Height 2105mm # DESCRIPTION 5096501 965mm tall storage cabinet, double door

Storage solutions

Reel cabinets

Top boxes

SONIC-EQUIPMENT.COM 76 02
Depth 650mm Width 360mm Height 1005mm # DESCRIPTION 5036003 360mm reel cabinet Depth 650mm Width 890mm Height 1005mm # DESCRIPTION 5089007 890mm reel cabinet Depth 650mm Width 720mm Height 1005mm # DESCRIPTION
720mm reel cabinet Depth 650mm Width 650mm Height 2105mm # DESCRIPTION 5071801 650mm reel tall cabinet
5072007
Depth 650mm Width 720mm Height 570mm # DESCRIPTION 5072003 720mm topbox, 5 drawers Depth 650mm Width 820mm Height 570mm # DESCRIPTION 5089003 890mm topbox, 5 drawers

Wall cabinets

SONIC-EQUIPMENT.COM 77 02
Depth 343mm Width 720mm Height 600mm # DESCRIPTION 5071802 720mm wall cabinet (EU power bar) Depth 343mm Width 890mm Height 600mm # DESCRIPTION 5089010 890mm wall cabinet (EU power bar) Depth 345mm Width 890mm Height 980mm # DESCRIPTION
890mm
Depth 343mm Width 820mm Height 600mm # DESCRIPTION 5082001 820mm wall cabinet (EU power bar) Depth 345mm Width 720mm Height 980mm
DESCRIPTION
5089008
wall cabinet with tambour door (EU power bar)
#
Depth 251mm Width 619mm Height 1104mm # DESCRIPTION
5072008 720mm wall cabinet with tambour door (EU power bar) 5072015 Wall cabinet with PC/laptop storage

Storage solutions

# DESCRIPTION

5999901 Blank back panel, 259x50x120mm

5999902 Blank back panel, 619x50x120mm

5999903 Blank back panel, 719x50x120mm

5999904 Blank back panel, 789x50x120mm

5999930 Blank back panel, 959x50x120mm corner

# DESCRIPTION

5999908 Blank back panel, 259x50x1104mm

5999909 Blank back panel, 619x50x1104mm

5999910 Blank back panel, 719x50x1104mm

5999911 Blank back panel, 789x50x1104mm

5999934 Blank back panel, 959x50x1104mm corner

5999912 Blank back panel for monitor and keyboard, 619x50x1104mm

# DESCRIPTION

5999926 Square perforated back panel, 259x50x1104mm

5999927 Square perforated back panel, 619x50x1104mm

5999928 Square perforated back panel, 719x50x1104mm

5999929 Square perforated back panel, 789x50x1104mm

5999936 Square perforated back panel, 959x50x1104mm corner

Back panels

# DESCRIPTION

5999913 Blank back panel, 259x50x552mm

5999905 Blank back panel, 619x50x552mm

5999906 Blank back panel, 719x50x552mm

5999907 Blank back panel, 789x50x552mm

5999931 Blank back panel, 959x50x552mm corner

# DESCRIPTION

5999922 Square perforated back panel, 259x50x552mm

5999923 Square perforated back panel, 619x50x552mm

5999924 Square perforated back panel, 719x50x552mm

5999925 Square perforated back panel, 789x50x552mm

5999933 Square perforated back panel, 959x50x552mm corner

# DESCRIPTION

5999937 Back panel for bridge unit 720mm, 657x740mm

5999938 Back panel for bridge unit 890mm, 827x740mm

SONIC-EQUIPMENT.COM 78 02

Worktops

5999805

5999806

(720+720mm)

worktop 1540x650x2mm

worktop 1610x650x2mm (720+890mm) 5999807

worktop 1780x650x2mm (890+890mm)

worktop 2160x650x2mm (720+720+720mm)

5999043

5999045

5999703

5999704

5999705

worktop 1441x650x20mm (720+720mm)

worktop 1540x650x20mm

5999706 Stainless steel worktop 1611x650x20mm (720+890mm)

5999707 Stainless steel worktop 1781x650x20mm (890+890mm)

5999708 Stainless steel worktop 2162x650x20mm (720+720+720mm)

5999711 Stainless steel worktop 2261x650x20mm (720+1540mm)

5999712 Stainless steel worktop 2332x650x20mm (720+720+890mm)

5999709 Stainless steel worktop 2431x650x20mm (890+1540mm)

Thickness 20mm, depth 650mm

5999601 Stainless steel worktop, portable cabinet 700x530x20mm

5999602 Stainless steel worktop, portable cabinet 700x600x20mm

5999603 Stainless steel worktop, portable cabinet 870x530x20mm

5999604 Stainless steel worktop, portable cabinet 870x660x20mm

Thickness 20mm

DESCRIPTION 5999501 Wooden worktop 1780x650x40mm

Thickness 40mm, depth 650mm

Bridge units

SONIC-EQUIPMENT.COM 79 02
Posts # DESCRIPTION
Composite worktop 360x650x2mm 5999802 Composite worktop 720x650x2mm 5999803 Composite worktop
Composite
5999801
890x650x2mm 5999804
worktop 1440x650x2mm
Composite
Composite
Composite
Composite
Thickness
5999808
2mm, depth 650mm
Composite worktop, portable cabinet
Composite worktop, portable cabinet
686x523x2mm 5999044
856x523x2mm
Composite worktop, portable cabinet
# DESCRIPTION 5999809 Composite corner worktop 1060x1060x2mm 5999710 Stainless steel corner worktop 1060x1060x20mm # DESCRIPTION 5070001 700mm bridge unit 5072006 720mm bridge unit 5089006 890mm bridge unit 5106001 1060mm bridge unit 5089013 890mm bridge unit with writing desk # DESCRIPTION 5999401 Post 50x50x1020mm 5999402 Post 100x50x1020mm 5999403 Post 100x50x1016mm for portable cabinet, right 5999404 Post 100x50x1016mm for portable cabinet, left 5999405 Post 50x50x1997mm 5999406 Post 100x50x1997mm 5999407 Post 100x50x1993mm for portable cabinet, right 5999408 Post 100x50x1993mm for portable cabinet, left # DESCRIPTION 5999701 Stainless steel worktop 360x650x20mm
Stainless steel worktop
693x655x2mm
5999702
720x650x20mm
Stainless steel
worktop 890x650x20mm
Stainless steel
Stainless
steel
#

kit for 700mm portable cabinet contains: • 3 pcs MSS+ divider slot vertical (5999314)

(5999310)

• 2 pcs MSS+ divider slot vertical for the side (5999315)

SONIC-EQUIPMENT.COM 80 02 Hooks # DESCRIPTION 47893 MSS+ 1,5" single hook 47894 MSS+ 1,5" double hook 47895 MSS+ 2" single hook 47896 MSS+ 2" double hook 47897 MSS+ 3" single hook 47898 MSS+ 3" double hook 47899 MSS+ 4" single hook 47900 MSS+ 4" double hook
# DESCRIPTION 5999306 Divider kit for 890mm cabinet contains: • 3 pcs MSS+ divider slot vertical (5999312) • 2 pcs MSS+ divider slot vertical for the side (5999313) • 2 pcs MSS+ divider slot horizontal (5999311) • 4 pcs MSS+ divider spacer horizontal 88.60mm (5999307) • 4 pcs MSS+ divider spacer horizontal 182.30mm (5999308) # DESCRIPTION
Storage solutions
Dividers
Divider kit for 870mm portable cabinet contains: • 3 pcs MSS+ divider slot vertical (5999316) • 2 pcs MSS+ divider slot vertical for the side (5999317) • 2 pcs MSS+ divider slot horizontal (5999311) • 4 pcs MSS+ divider spacer horizontal 88.60mm
4 pcs MSS+ divider spacer horizontal 182.30mm
• 2 pcs MSS+ divider spacer horizontal 369.76mm
# DESCRIPTION
5999319
(5999307) •
(5999308)
(5999309)
5999305 Divider kit for 720mm cabinet contains:
3 pcs MSS+ divider slot vertical (5999312)
2 pcs MSS+ divider slot vertical for the side (5999313)
divider slot horizontal
2 pcs MSS+
4 pcs MSS+ divider spacer horizontal 88.60mm
4 pcs MSS+ divider spacer horizontal 182.30mm (5999308) # DESCRIPTION
(5999307) •
Divider
5999318
2 pcs MSS+ divider slot horizontal (5999310)
divider spacer horizontal
4 pcs MSS+
88.60mm (5999307)
4 pcs MSS+ divider spacer horizontal 182.30mm
(5999308)

Lighting

# DESCRIPTION

5999201 LED light, length 600mm

5999202 LED light, length 800mm

5999204 Adaptor for LED light, eu plug

5999205 Connector with switch for LED light

5999206 LED light 600mm (eu) with adaptor+connector

5999208 LED light 800mm (eu) with adaptor+connector

LED light length: 600mm

• 800-1000 Lm

• Color temperature: 6000-6500k

• Aluminium base + pc cover

• Mounting magnet included

LED light length: 800mm

• 800-1000 Lm

• Color temperature: 6000-6500k

• Aluminium base + pc cover

• Mounting magnet included

Features

• Find what you are looking for faster, without relying on surrounding lighting

• The latest technology is used

• Magnetic mountable under wall cabinet

• Increase your productivity with a perfectly lit work surface

• Energy efficient and extremely long lasting

• Maximum connection, circuit of 4 LED lights

Document holder

Power supply

DESCRIPTION 5999302 Power bar 5999301 Power bar bracket

The MSS+ high performance power bars features a tough, anodized aluminium extrusion ensuring strength and durability.

Features power bar

• Durable abs and alumimum housing

• 4 grounded outlets

• 2 USB outlets

• Lighted reset/off switch

• 5m cord

• Ergonomically designed, profiled body - robust and easy to grip

• Rugged anodised aluminium extrusion - lightweight and strong

• Pa6 nylon moulded outlets and endcaps - protects and insulates power supply

• High grade polychloropreen/neoprene rubber cable (oil, chemical and ozon resistant)

• Color RAL 7016

Remark

Cabinets with fixed drawers include power bar in bottom drawer.

Features power bar bracket

• Angled power bar bracket can be mounted on the back panel

• Angle to the bracket provides clearance for cable leads and plugs bar

• The power bar bracket sits inside the backface of the post, this allows a back-to-back low level solution

Laptop/tablet holder

SONIC-EQUIPMENT.COM 81 02
# DESCRIPTION 5999061 Measurements: 560mm wide, 40mm deep, 314mm high • Convenient holder to store documents laptop or tablet • Safety protection on all edges • High quality 1.0mm steel construction # DESCRIPTION 5999304 Measurements: 447mm wide, 158mm deep, 365mm high • Convenient holder for tablet/laptop
Multifunctional
Tilt function
Mountable on back panels • High quality 1.2mm steel construction
#

Storage solutions

SONIC-EQUIPMENT.COM 82 02 Depth 650mm Width 3600mm Height 1125mm # DESCRIPTION 5770001 Composite worktop 5771101 Stainless steel worktop Depth 650mm Width 3340mm Height 1125mm # DESCRIPTION 5770008 Composite worktop 5771108 Stainless steel worktop Depth 650mm Width 3580mm Height 1125mm
DESCRIPTION 5770002 Composite worktop 5771102 Stainless steel worktop Depth 650mm Width 3220mm Height 1575mm # DESCRIPTION 5770005 Composite worktop 5771105 Stainless steel worktop Depth 650mm Width 2690mm Height 1125mm # DESCRIPTION 5770006 Composite worktop 5771106 Stainless steel worktop Depth 650mm Width 4040mm Height 1125mm # DESCRIPTION 5770003 Composite worktop 5771103 Stainless steel worktop Depth 650mm Width 2690mm Height 1125mm
DESCRIPTION 5770004 Composite worktop 5771104 Stainless steel worktop Depth 650mm Width 3390mm Height 2000mm # DESCRIPTION 5881106 Stainless steel worktop Depth 650mm Width 3390mm Height 1125mm # DESCRIPTION 5771107 Stainless steel worktop Depth 650mm Width 2160mm Height 1125mm # DESCRIPTION 5770009 Composite worktop 5771109 Stainless steel worktop
#
#

Sonic MSS+ 3D configurator

Our MSS+ 3D configurator offers the possibility to design the perfect workplace for your workshop. We create the ultimate workflow with our modular MSS+ elements and arrange everything from planning to design and delivery in your workshop.

Interested?

Contact our Sonic Support Team or enquire at your regular Sonic dealer.

SONIC-EQUIPMENT.COM 83 02 Depth 650mm Width 1780mm Height 1045mm # DESCRIPTION 5660001 Wooden worktop Depth 650mm Width 4460mm Height 2000mm # DESCRIPTION 5880002 Composite worktop 5881102 Stainless steel worktop Depth 650mm Width 4460mm Height 2000mm # DESCRIPTION 5880004 Composite worktop 5881104 Stainless steel worktop Depth 650mm Width 4060mm Height 2000mm # DESCRIPTION 5880008 Composite worktop 5881108 Stainless steel worktop Depth 650mm Width 4060mm Height 2000mm # DESCRIPTION 5880001 Composite worktop 5881101 Stainless steel worktop Depth 650mm Width 3320mm Height 2000mm # DESCRIPTION 5880003 Composite worktop 5881103 Stainless steel worktop Depth 650mm Width 2980mm Height 2000mm # DESCRIPTION 5880010 Composite worktop 5881110 Stainless steel worktop Depth 650mm Width 6790mm Height 2000mm # DESCRIPTION 5880009 Composite worktop 5881109 Stainless steel worktop

Spare parts MSS+

5999015

5999016

581x30x26mm

drawer puller wide 751x30x26mm

drawer puller compatible with 5153901

drawer installer/de-installer kit small ø8mm

MSS+ drawer installer/de-installer kit small ø11mm

SONIC-EQUIPMENT.COM 84 02 DRAWERS # DESCRIPTION
MSS+
extra wide high
MSS+
MSS+
Storage solutions
5999012
drawer
compatible with 5153901 5999013
drawer wide low compatible with 5089001 747x578x67mm 5999014
standard drawer low 577x578x67mm
MSS+
standard drawer high 577x578x145mm
MSS+
high
MSS+ standard
5999018 MSS+ wide power drawer high
5999019 MSS+
MSS+
MSS+
MSS+
power drawer wide extra
747x523x228mm 5999017
power drawer extra high 577x523x228mm
747x523x145mm
drawer wide high 747x578x145mm 5999056
power standard drawer high 577x523x145mm 5999057
drawer compatible with 5072012 5999075
standard drawer low compatible with 5072005
MSS+ drawer wide low compatible
5999078 MSS+ drawer wide high compatible with
5999079 MSS+ standard drawer extra high
5999080 MSS+ drawer wide extra high
MSS+
MSS+
47842
47843
DRAWER
#
47701 MSS+ ball bearing slides right 123kg 47702 MSS+ ball bearing slides left 123kg 47704 MSS+ ball bearing slides right 230kg 47705 MSS+ ball bearing slides left 230kg
5999076 MSS+ standard drawer high compatible with 5072005 5999077
with 5089005
5089005
577x578x228mm
747x578x228mm 5999089 MSS+ drawer puller standard
5999090
5999091
MSS+
RAILS
DESCRIPTION
123KG / 230KG WORKTOPS # DESCRIPTION 5999040 MSS+ metal top tray compatible with 5072004 5999041 MSS+ metal top tray compatible with 5072005 5999042 MSS+ metal top tray compatible
5999043 MSS+
top compatible
MSS+
top
MSS+
top compatible
with 5089005
ABS
with 5072005 5999044
ABS
compatible with 5089005 5999045
ABS
with 5072004
SONIC-EQUIPMENT.COM 85 02 CASTERS # DESCRIPTION 5999122 MSS+ swivel caster without brake portable cabinet 5999023 MSS+ swivel caster with brake portable cabinet 5999024 MSS+ fixed caster portable cabinet LOCKS # DESCRIPTION 5999008 MSS+ vertical code lock 5999009 MSS+ horizontal code lock 5999039 MSS+ master key ACCESSORIES # DESCRIPTION 5999020 MSS+ metal top tray compatible with 5089004 5999001 MSS+ paperrol holder 5999046 MSS+ waste bin compatible with 5072012 5999061 MSS+ document holder 5999069 MSS+ drip tray compatible with 5072007 5999073 MSS+ drip tray compatible with 5089007 5999118 MSS+ document holder compatible with 5096501 5999201 MSS+ LED light 600mml 5999202 MSS+ LED light 800mml 5999204 MSS+ adaptor LED light with EU plug 5999205 MSS+ LED light connector with switch 5999206 MSS+ LED light with EU adaptor and switch 600mml 5999208 MSS+ LED light with EU adaptor and switch 800mml 5999301 MSS+ powerbar bracket 5999302 MSS+ powerbar (EU version) 5999304 MSS+ laptop holder 5999320 MSS+ power cord arm 47893 MSS+ hook single 1,5" 47894 MSS+ hook double 1,5" 47895 MSS+ hook single 2" 47896 MSS+ hook double 2" 47897 MSS+ hook single 3" 47898 MSS+ hook double 3" 47899 MSS+ hook single 4" 47900 MSS+ hook double 4" DOORS & SHELVES # DESCRIPTION 5999002 MSS+ shelf 617x572x25mm 5999022 MSS+ front handle portable cabinet 5999027 MSS+ perforated shelf for powerbank compatible with 5072013 5999034 MSS+ shelf compatible with 5071802 5999037 MSS+ shelf compatible with 5089010 5999058 MSS+ shelf 247x572x25mm 5999059 MSS+ shelf 687x572x25mm 5999060 MSS+ shelf compatible with 5082001 5999119 MSS+ adjustable shelves compatible with 5096501 5999125 MSS+ shelf compatible with 5106002 5999127 MSS+ shelf compatible with 5072016 47855 MSS+ rubber stoppers for locker doors
Storage solutions SONIC-EQUIPMENT.COM 86 WORK EFFICIENT WORK
WITH SONIC
SONIC-EQUIPMENT.COM 87
Get organized, be efficient. The ultimate Sonic workplace.

Create your ultimate workplace with the Sonic Modular Storage System (MSS). All MSS modules are separately available and can be easily assembled. All modules are suitable for the Sonic Foam System (SFS). Next to this, MSS is a self-supporting system so walls are no longer needed. Sonic MSS is the perfect way to maximize the productivity and efficiency of every professional.

Storage solutions SONIC-EQUIPMENT.COM 88 02
L M S S S
Compatible with Sonic Foam System SONIC FOAM SYSTEM
SONIC-EQUIPMENT.COM 89

Storage solutions

Drawer cabinets

SONIC-EQUIPMENT.COM 90 02
DESCRIPTION 47280 674mm drawer cabinet 9 drawers without worktop # DESCRIPTION 47308 674mm storage cabinet 4 drawers with door without worktop
DESCRIPTION 47296 845mm drawer cabinet 9 drawers without worktop # DESCRIPTION 47379 845mm storage cabinet 4 drawers with right-hand door without worktop # DESCRIPTION 47647 674mm drawer cabinet 5 drawers without worktop # DESCRIPTION 47640 674mm drawer cabinet 5 drawers without worktop Depth 500mm Width 674mm Height 962mm Depth 500mm Width 674mm Height 962mm Depth 500mm Width 845mm Height 962mm Depth 500mm Width 845mm Height 962mm Depth 500mm Width 674mm Height 962mm Depth 500mm Width 674mm Height 962mm
#
#

Storage cabinets

SONIC-EQUIPMENT.COM 91 02 # DESCRIPTION 47302 845mm storage cabinet without worktop # DESCRIPTION 47431 674mm cabinet with one large recycle bin without worktop # DESCRIPTION 47450 674mm cabinet with three recycle bins without worktop # DESCRIPTION 47288 674mm storage cabinet without worktop # DESCRIPTION 47649 674mm cabinet with recycle bin and paper roll holder without worktop # DESCRIPTION 47433 914mm tall cabinet double door with 4 shelves # DESCRIPTION 47432 674mm storage cabinet with sink (tap not included) # DESCRIPTION 47272 610mm tall cabinet with 5 shelves. Door is hinged on both sides. Top shelf is fixed. Other 4 shelves can be flexibly arranged. Depth 500mm Width 845mm Height 962mm Depth 500mm Width 674mm Height 962mm Depth 500mm Width 674mm Height 962mm Depth 500mm Width 674mm Height 962mm Depth 500mm Width 674mm Height 962mm Depth 500mm Width 674mm Height 962mm Depth 530mm Width 610mm Height 2000mm Depth 530mm Width 914mm Height 2000mm

Storage solutions

Portable cabinet

Reel cabinet

Wall cabinets Corner cabinet

SONIC-EQUIPMENT.COM 92 02
# DESCRIPTION 47451 674mm portable drawer cabinet, 7 drawers # DESCRIPTION 47600 845mm reel cabinet without worktop (reels not included) # DESCRIPTION 47292 845mm wall cabinet # DESCRIPTION 47276 674mm wall cabinet # DESCRIPTION 47650 845mm corner wall cabinet # DESCRIPTION 47505 845mm corner cabinet without worktop Depth 500mm Width 674mm Height 962mm Depth 500mm Width 845mm Height 962mm Depth 300mm Width 845mm Height 400mm Depth 300mm Width 674mm Height 400mm Width 530mm Height 962mm Width 812mm Height 400mm 502MM 502MM 877MM 877MM 300,6MM 300,6MM 877MM 877MM

Setups

SONIC-EQUIPMENT.COM 93 02 # DESCRIPTION 4730196 1958mm setup with wooden worktop 4731196 1958mm setup with stainless steel worktop 4732196 1958mm setup with stainless steel worktop extra deep 570mm # DESCRIPTION 4730281 2803mm setup with wooden worktop 4731281 2803mm setup with stainless steel worktop 4732281 2803mm setup with stainless steel worktop extra deep 570mm # DESCRIPTION 4731517 2803mm setup with wooden worktop 4731817 2803mm setup with stainless steel worktop # DESCRIPTION 4731314 3916mm setup with wooden worktop 4731614 3916mm setup with stainless steel worktop # DESCRIPTION 4731713 2604mm setup with stainless steel worktop extra deep 570mm # DESCRIPTION 4731509 2803mm setup with wooden worktop 4731809 2803mm setup with stainless steel worktop # DESCRIPTION 4731401 2300mm setup with wooden worktop 4731701 2300mm setup with stainless steel worktop Depth 530mm Width 1958mm Height 2000mm # DESCRIPTION 4730230 2300mm setup with wooden worktop 4731230 2300mm setup with stainless steel worktop 4732230 2300mm setup with stainless steel worktop extra deep 570mm Depth 530mm Width 2300mm Height 2000mm Depth 530mm Width 2803mm Height 2000mm Depth 530mm Width 2803mm Height 2000mm Depth 570mm Width 2604mm Height 2000mm Depth 530mm Width 2803mm Height 2000mm Depth 530mm Width 2300mm Height 2000mm Depth 530mm Width 3916mm Height 2000mm

Storage solutions

SONIC-EQUIPMENT.COM 94 02 # DESCRIPTION 4731302 1348mm setup with wooden worktop 4731602 1348mm setup with stainless steel worktop Depth 530mm Width 1348mm Height 2000mm # DESCRIPTION 4731501 2193mm setup with wooden worktop 4731801 2193mm setup with stainless steel worktop
DESCRIPTION 4731402 1690mm setup with wooden worktop 4731702 1690mm setup with stainless steel worktop # DESCRIPTION 4731403 1690mm setup with wooden worktop 4731703 1690mm setup with stainless steel worktop # DESCRIPTION 4731516 2193mm setup with wooden worktop 4731816 2193mm setup with stainless steel worktop Depth 530mm Width 2193mm Height 2000mm # DESCRIPTION 4731511 2193mm setup with wooden worktop 4731811 2193mm setup with stainless steel worktop Depth 530mm Width 2193mm Height 2000mm Depth 530mm Width 2193mm Height 2000mm Depth 530mm Width 1690mm Height 2000mm Depth 530mm Width 1690mm Height 2000mm Depth 500mm Width 2193mm Height 1002mm # DESCRIPTION 4731513 2193mm setup with wooden worktop 4731813 2193mm setup with stainless steel worktop # DESCRIPTION 4731301 1958mm setup with wooden worktop 4731601 1958mm setup with stainless steel worktop Depth 530mm Width 1958mm Height 2000mm
#
SONIC-EQUIPMENT.COM 95 02
DESCRIPTION 4731508 2193mm setup with wooden worktop 4731808 2193mm setup with stainless steel worktop # DESCRIPTION 4731510 2193mm setup with wooden worktop 4731810 2193mm setup with stainless steel worktop
DESCRIPTION 4731405 1690mm setup with wooden worktop 4731705 1690mm setup with stainless steel worktop # DESCRIPTION 4731404 1690mm setup with wooden worktop 4731704 1690mm setup with stainless steel worktop # DESCRIPTION 4731505 2193mm setup with wooden worktop 4731805 2193mm setup with stainless steel worktop # DESCRIPTION 4731306 1348mm setup with wooden worktop 4731606 1348mm setup with stainless steel worktop Depth 500mm Width 2193mm Height 1002mm
DESCRIPTION 4731507 2193mm setup with wooden worktop 4731807 2193mm setup with stainless steel worktop Depth 500mm Width 2193mm Height 1002mm Depth 500mm Width 2193mm Height 1002mm Depth 500mm Width 2193mm Height 1002mm Depth 500mm Width 1690mm Height 1002mm Depth 500mm Width 1690mm Height 1002mm Depth 500mm Width 2803mm Height 1002mm Depth 500mm Width 1348mm Height 1002mm # DESCRIPTION 4731506 2193mm setup with wooden worktop 4731806 2193mm setup with stainless steel worktop
#
#
#

Worktops

Back panels Posts

Storage solutions SONIC-EQUIPMENT.COM 96 02 PRA RUBBER WOOD WOODEN WORKTOP # DIMENSIONS 47378 W 674 x D 500 x H 40MM 47382 W 845 x D 500 x H 40MM 47279 W 1348 x D 500 x H 40MM 47295 W 1690 x D 500 x H 40MM 47306 W 2193 x D 500 x H 40MM STAINLESS STEEL WORKTOP EXTRA DEEP # DIMENSIONS 47447 W 1348 x D 570 x H 38MM 47448 W 1690 x D 570 x H 38MM 47449 W 2193 x D 570 x H 38MM PERFORATED BACK PANEL # DESCRIPTION 47376 674mm perforated back panel 47380 845mm perforated back panel POSTS # DIMENSIONS 47283 W 60 x D 30 x H 1910MM 47284 W 30 x D 30 x H 1910MM
STEEL WORKTOP # DIMENSIONS 47377 W 674 x D 500 x H 38MM 47381 W 845 x D 500 x H 38MM 47383 W 1348 x D 500 x H 38MM 47384 W 1690 x D 500 x H 38MM 47385 W 2193 x D 500 x H 38MM WORKTOP FOR CORNER CABINET # DESCRIPTION 47544 Pra Rubber Wood wooden worktop for corner cabinet 47545 Stainless steel worktop for corner cabinet
STAINLESS
SONIC-EQUIPMENT.COM 97 02 MSS HOOK # DIMENSIONS 47415 MSS hook 50mml 47290 MSS hook 90mml 47291 MSS hook 150mml MSS HOOK 90° # DIMENSIONS 47419 MSS hook 90° 50mml 47420 MSS hook 90° 90mml 47421 MSS hook 90° 150mml MSS HOOK ROUND # DIMENSIONS 47416 MSS hook round Ø40mm 47417 MSS hook round Ø60mm 47418 MSS hook round Ø80mm MSS HOOK SET # DESCRIPTION 47632 MSS hook set 10-pcs Hooks All hooks have a minimum order quantity of 10 pieces.

Storage solutions

SONIC-EQUIPMENT.COM 98 02 Empty storage
EMPTY TRAY, 5 COMPARTMENTS # DIMENSIONS 4720101 W 370 x D 145 x H 48MM Also suitable for S7, S8, S9, S10 toolbox EMPTY TRAY, 5 COMPARTMENTS # DIMENSIONS 4720102 W 370 x D 145 x H 48MM Also suitable for S7, S8, S9, S10 toolbox EMPTY TRAY # DIMENSIONS 4720108 W 108 X D 108 X H 45MM EMPTY TRAY # DIMENSIONS 4720107 W 54 X D 110 X H 45MM EMPTY TRAY # DIMENSIONS 4720106 W 54 X D 54 X H 45MM EMPTY TRAY, 8 COMPARTMENTS # DIMENSIONS 4720103 W 370 x D 290 x H 48MM Also suitable for S7, S8, S9, S10 toolbox STORAGE CASE WITH 10 TRAYS # DIMENSIONS 4720111 W 370 X D 295 X H 55MM EMPTY TRAY # DIMENSIONS 4720110 W 108 X D 216 X H 45MM EMPTY TRAY # DIMENSIONS 4720109 W 108 X D 162 X H 45MM EMPTY TRAY, 12 COMPARTMENTS # DIMENSIONS 4720104 W 370 x D 290 x H 48MM Also suitable for S7, S8, S9, S10 toolbox STORAGE CASE WITH 15 TRAYS # DIMENSIONS 4720112 W 370 X D 295 X H 55MM DISPLAY BOX 7-PCS # DIMENSIONS 4720115 W 615 X D 165 X H 75MM EMPTY TRAY, 18 COMPARTMENTS # DIMENSIONS 4720105 W 370 x D 290 x H 48MM Also suitable for S7, S8, S9, S10 toolbox SAMPLE OF DRAWER FILLED WITH TRAYS --*TIE-RAPS # CONTENTS 4821511 Tie-rap 3,6 x 140mml; 100 pieces in bag (black) 4821512 Tie-rap 3,6 x 180mml; 100 pieces in bag (black) 4821514 Tie-rap 4,8 x 220mml; 100 pieces in bag (black) 4821515 Tie-rap 4,8 x 280mml; 100 pieces in bag (black) 4821517 Tie-rap 4,8 x 370mml; 100 pieces in bag (black) TIE-RAPS # DIMENSIONS 4821519 Tie-raps holder for MSS/MWS 4821518 Tie-raps holder for MSS/MWS; filled with cable ties* MSS PLIERS HOLDER # DIMENSIONS 47638 L 280 x D 59 x H 64MM MSS SCREWDRIVER HOLDER # DIMENSIONS 47639 L 280 x D 38 x H 46MM
systems
SONIC-EQUIPMENT.COM 99 02 MSS LED LIGHT WITH DIMMER # DESCRIPTION 4820524 - Length 600mm - 400-500 lumen - Color temperature: 6000-6500K - White light - Aluminium base + PC cover - 1.8m long cable with switch in the middle - USB connector with adaptor - Magnets for mounting on MSS included MSS LED LIGHT # DIMENSIONS 4820537 LED light, length 600mm 4820538 LED light, length 800mm 4820539 Adaptor for LED light, EU plug 4820540 Connector with switch for LED light 4820541 LED light 600mm (EU) with adaptor+connector 4820542 LED light 800mm (EU) with adaptor+connector POWER BAR # DESCRIPTION 5999302 The high performance power bars features a tough, anodized aluminium extrusion ensuring strength and durability. SPACER # DESCRIPTION 47772 Extra deep worktop through spacer POWER BAR BRACKET # DESCRIPTION 5999301 - Angled power bar bracket can be mounted on the back panel - Angle to the bracket provides clearance for cable leads and plugs bar - The power bar bracket sits inside the backface of the post, this allows a back-to-back low level solution

Storage solutions

Spare parts MSS

SONIC-EQUIPMENT.COM 100 02
CASTER SET W D H # DESCRIPTION D (MM) W (MM) H (MM) G PCS/BAG 47494 4-pcs caster set 62 23 86 1240 1 47494S Caster 62 23 86 290 1 47494B Caster with brake 62 23 86 330 1 Available for MSS toolbox 47451 METAL KNOP # DESCRIPTION L (MM) W (MM) H (MM) G PCS/BAG 47630 Metal knob for shelves lockers 20 16 - 3 1 Available for MSS DRAWERS W L H # DESCRIPTION L (MM) W (MM) H (MM) G PCS/BAG 47281 Shallow drawer for MSS 674mm 579 372 74 3200 1 47282 Deep drawer with logo for MSS 674mm 579 372 153 4600 1 47491 Deep drawer without logo for MSS 674mm 579 372 153 4600 1 47641 Extra deep drawer without logo for MSS 674mm 579 372 232 6300 1 47642 Extra deep drawer with logo for MSS 674mm 579 372 232 6300 1 47297 Shallow drawer for MSS 845mm 750 432 74 4500 1 47298 Deep drawer with logo for MSS 845mm 750 432 153 6300 1 47414 Deep drawer without logo for MSS 845mm 750 432 153 6300 1 Available for MSS DRAWER W L H # DESCRIPTION L (MM) W (MM) H (MM) G PCS/BAG 47452 Bin drawer 604 432 785 9500 1 Available for MSS 47450 DRAWERS B L H # DESCRIPTION L (MM) W (MM) H (MM) G PCS/BAG 47651 Low drawer 307 440 390 3900 1 Available for MSS 47649 DRAWERS W L H # DESCRIPTION L (MM) W (MM) H (MM) G PCS/BAG 47439 Bin drawer 604 432 530 8200 1 Available for MSS 47431 RECYCLE BIN W L H # DESCRIPTION L (MM) W (MM) H (MM) G PCS/BAG 47652 Recycle bin 280 400 465 2000 1 Available for MSS 47431 RECYCLE BIN W L H # DESCRIPTION L (MM) W (MM) H (MM) G PCS/BAG 47453 Big recycle bin 280 400 650 2850 1 Available for MSS 47450
SONIC-EQUIPMENT.COM 101 02 SKIRTING BOARD # DESCRIPTION L (MM) W (MM) H (MM) G 47275 Front skirting board for MSS 47272 610 88 12 460 47289 Front skirting board for MSS 674mm 674 88 12 540 47303 Front skirting board for MSS 845mm 845 88 12 660 47541 Front skirting board for MSS 47505 565 88 12 440 47310 Side skirting board for MSS 47272 507 88 12 380 47389 Side skirting board for MSS 674mm and 845mm 477 88 12 380 Available for MSS SHELF # DESCRIPTION L (MM) W (MM) H (MM) G 47367 Shelf for MSS locker (47272) 538 490 25 2700 47434 Shelf for MSS locker (47433) 847 495 25 4150 47287 Shelf for MSS locker 674mm 615 450 25 2800 47301 Shelf for MSS locker 845mm 785 450 25 3500 47543 Shelf for MSS closet (47505) 616 430 25 3400 Available for MSS KEY AND LOCK # DESCRIPTION G PCS/BAG 47624 Key with lock MSS 180° - 2016) 60 2 Available for MSS KEY AND LOCK # DESCRIPTION G PCS/BAG 47210-.... Key for MSS. Note all 3/4 digits (for example: 47622-0027) 14 2 Available for MSS DRAWER RAILS L7 L6 L3 L1 L2 L4 L8 W # DESCRIPTION L1(MM) L2(MM) L3(MM) L4(MM) L5(MM) L6(MM) L7(MM) L8(MM) W(MM) G PCS/BAG 47215 Left drawer rail 800 400 290 19 400 178 144 24 45 584 1 47216 Right drawer rail 800 400 290 19 400 178 144 24 45 584 1 Available for MSS DRAWER RAILS L7 L6 L3 L1 L2 L4 L8 W # DESCRIPTION L1(MM) L2(MM) L3(MM) L4(MM) L5(MM) L6(MM) L7(MM) L8(MM) W(MM) G PCS/BAG 47671 Left drawer rail 870 435 290 19 435 178 144 24 45 644 1 47672 Right drawer rail 870 435 290 19 435 178 144 24 45 644 1 Available for MSS

Sonic Foam System (SFS)

WORK EFFICIENT, WORK WITH SONIC.

SONIC-EQUIPMENT.COM 102
03

03 SONIC FOAM SYSTEM (SFS)

Drawer foam system

190 x 370mm

PAGE 106

Drawer foam system

570 x 370mm

PAGE 115

Drawer foam system

745 x 435mm

PAGE 133

Drawer foam system

745 x 570mm

PAGE 144

SONIC-EQUIPMENT.COM 103 03
1/3 190 X 370MM S S S 1X 570 X 370MM M 1X 745 X 435MM L 1X 745 X 570MM XL
FOAM SYSTEM
SONIC

WORK EFFICIENT WORK WITH SONIC

Sonic Foam System - NEXT level efficiency.

Along with the NEXT toolboxes, Sonic has improved its entire range of filled foam inlays, bringing next level efficiency to professionals worldwide. All foam inlays have thoroughly been reviewed, re-designed and updated with the latest tools and technologies available. Enjoy the perfect selection of tools, easily accessible and right where they need to be.

SFS is available in 4 sizes: Small, Medium, Large and Extra Large.

SONIC-EQUIPMENT.COM 105 03 RETRIEVAL AND RETURN TIME IS MONEY 20% FASTER INVENTORY OF TOOLBOX PEACE OF MIND 78% FASTER MISPLACED TOOLS RISK VS REWARD 80% REDUCED
Compatible with: 745 X 570MM XL M M S S S S S S M S S S XL Compatible with: S S S S M 190 X 370MM Compatible with: L L 745 X 435MM Compatible with: M S S S M 570 X 370MM SONIC FOAM SYSTEM

Sonic Foam System (SFS)

SONIC-EQUIPMENT.COM 106 03 600823 - SCREWDRIVER SET, SFS 1/3, 8-PCS S S S 190 X 370MM 680 GRAM TOOLS # CONTENTS 1310…12 3 Screwdriver PH, PH.0, PH.1, PH.2 13303…08 5 Screwdriver slotted, 3, 4, 5.5, 6.5, 8mm FOR A COMPLETE INVENTORY ORDER LIST SEE OUR WEBSITE 600625 - LONG SCREWDRIVER SET SFS 1/3, 6-PCS S S S 190 X 370MM 654 GRAM TOOLS # CONTENTS 1342503…06 3 Screwdriver extra long, hex 3, 4, 6mm 1312502 1 Screwdriver extra long, PH.2 13325004...55 2 Screwdriver extra long, 4, 5.5mm FOR A COMPLETE INVENTORY ORDER LIST SEE OUR WEBSITE 600626 - LONG SCREWDRIVER SET SFS 1/3, 6-PCS S S S 190 X 370MM 638 GRAM TOOLS # CONTENTS 1342503…05 3 Screwdriver extra long, hex 3, 4, 5mm 13325004…65 3 Screwdriver extra long, 4, 5.5, 6.5mm FOR A COMPLETE INVENTORY ORDER LIST SEE OUR WEBSITE 600824 - TX SCREWDRIVER SET, SFS 1/3, 8-PCS S S S 190 X 370MM 700 GRAM TOOLS # CONTENTS 13608…40 8 Screwdriver TX, T8, T10, T15, T20, T25, T27, T30, T40 FOR A COMPLETE INVENTORY ORDER LIST SEE OUR WEBSITE 600627 - LONG TX SCREWDRIVER SET SFS 1/3, 6-PCS S S S 190 X 370MM 816 GRAM TOOLS # CONTENTS 13625015…40 6 Screwdriver extra long, TX T15, T20, T25, T27, T30, T40 FOR A COMPLETE INVENTORY ORDER LIST SEE OUR WEBSITE 600513 - GO-THROUGH SCREWDRIVER SET, SFS 1/3, 5-PCS S S S 190 X 370MM 740 GRAM TOOLS # CONTENTS 15101…02 2 Hammer go-through screwdriver PH, PH.1, PH.2 1530155…08 3 Hammer go-through screwdriver slotted, 5.5, 6.5, 8mm FOR A COMPLETE INVENTORY ORDER LIST SEE OUR WEBSITE 600826 - VDE SCREWDRIVER SET, SFS 1/3, 8-PCS S S S 190 X 370MM 540 GRAM TOOLS # CONTENTS 1610…2 3 VDE screwdriver PH, PH.0, PH.1, PH.2 16325…65 4 VDE scewdriver slotted, 2.5, 4, 5.5, 6.5mm 47016 1 Electric main tester 120-250 FOR A COMPLETE INVENTORY ORDER LIST SEE OUR WEBSITE 600717 - SOCKET SCREWDRIVER HEX SET, SFS 1/3, 7-PCS S S S 190 X 370MM 1080 GRAM TOOLS # CONTENTS 12425006…11 5 Hex nut driver 6, 8, 9, 10, 11mm 47537…38 2 Flexible hex nut driver 7, 8mm FOR A COMPLETE INVENTORY ORDER LIST SEE OUR WEBSITE

T20, T25, T27, T30, T40 8173706…40 11 Bit socket TX tamperproof 1/4”, T6H, T7H, T8H, T9H, T10H, T15H, T20H, T25H, T27H, T30H, T40H FOR

21504…13 12 Flank socket 1/4”, 6 pt. 4, 4.5, 5, 5.5, 6, 7, 8, 9, 10, 11, 12, 13mm

2155004…13 12 Flank deep socket 1/4”, 6 pt. 4, 4.5, 5, 5.5, 6, 7, 8, 9, 10, 11, 12, 13mm

21604…10 6 Socket TX 1/4”, E4, E5, E6, E7, E8, E10

2165004…10 6 Deep socket TX 1/4”, E4, E5, E6, E7, E8, E10

7121501 1 Ratchet 1/4” 60 teeth - 7110301 1 Disc ratchet 1/4” 72 teeth

72401 1 Spinner 1/4” 150mml - 7141050…150 3 Extension 1/4” 50, 100, 150mml

7261250 1 Wobble extension 1/4” 250mml

71511 1 Universal joint 1/4” - 71921 1 Adaptor 3/8”(F) x 1/4”(M) - 71912 1 Adaptor 1/4”(F) x 3/8”(M) - 72225 1 Magnet socket pick-up 1/4”

8113700…02 3 Bit socket PH 1/4”, PH.0, PH.1, PH.2

8123700…02 3 Bit socket PZ 1/4”, PZ.0, PZ.1, PZ.2 81337055…65 2 Bit socket slotted 1/4”, 5.5, 6.5mm 8143703…10 9 Bit socket hex 1/4”, 3, 4, 5, 5.5, 6, 7, 8, 9, 10mm

8153708…45 9 Tamper-resistant 1/4”, TX plus (5 lobes) 8IPR, 10IPR, 15IPR, 20IPR, 25IPR, 27IPR, 30IPR, 40IPR, 45IPR

8163708…40 9 Bit socket TX 1/4”, T8, T9, T10, T15, T20, T25, T27, T30, T40

8173708…40 9 Bit socket TX tamperproof 1/4”, T8H, T9H, T10H, T15H, T20H, T25H, T27H, T30H, T40H 8183704…10 5 Bit socket spline 1/4”, M4, M5, M6, M8, M10

8193704…10 6 Bit socket ribe 1/4”, M4, M5, M6, M7, M8, M10

SONIC-EQUIPMENT.COM 107 03 600718 - HEX BALL GRIP KEY SET, SFS 1/3, 7-PCS S S S 190 X 370MM 670 GRAM TOOLS # CONTENTS 19502025…08 7 Hex ball point grip key 2.5, 3, 4, 5, 6, 7, 8mm FOR A COMPLETE INVENTORY ORDER LIST SEE OUR WEBSITE 600913 - HEX KEY WRENCH SET 3 TIP T-HANDLE, SFS 1/3, 9-PCS S S S 190 X 370MM 860 GRAM TOOLS # CONTENTS 4840102...08 9 3 tip hex key T-handle 2, 2.5, 3, 4, 4.5, 5, 6, 7, 8mm FOR A COMPLETE INVENTORY ORDER LIST SEE OUR WEBSITE 600719 - T-HANDLE TX KEY WRENCH SET, SFS 1/3, 7-PCS
S S 190 X 370MM 534 GRAM TOOLS # CONTENTS 1960210…40 7 T-handle TX key wrench T10, T15, T20, T25, T27, T30, T40 FOR A COMPLETE INVENTORY ORDER LIST SEE OUR WEBSITE 600914 - TX KEY SET, 3 TIP T-HANDLE, SFS 1/3, 9-PCS S S S 190 X 370MM 5900 GRAM TOOLS # CONTENTS 4840210...50 9 3 tip star key T-handle T10, T15, T20, T25, T27, T30, T40, T45, T50 FOR A COMPLETE INVENTORY ORDER LIST SEE OUR WEBSITE 106303 - FLANK SOCKET SET 1/4” 6 PT., SFS 1/3, 61-PCS S S S 190 X 370MM 1480 GRAM TOOLS # CONTENTS 21505…13 10 Flank socket 1/4”, 6 pt. 5, 5.5, 6, 7, 8, 9, 10, 11, 12, 13mm 21604…10 6 Socket TX 1/4”, TX E4, E5, E6, E7, E8, E10 601006 10 Hex ball long key set 10-pcs - 7121501 1 Ratchet 1/4” 60 teeth - 7110301 1 Disc ratchet 1/4” 72 teeth - 72401 1 Spinner 1/4” 150mml - 7141050…150 3 Extension 1/4” 50, 100, 150mml - 71511 1 Universal joint 1/4” 8113701…02 2 Bit socket PH 1/4”, PH.1, PH.2 8143703…08 6 Bit socket hex 1/4”, 3, 4, 5, 6, 7, 8mm 8163706…40 11 Bit socket TX 1/4”, T6, T7, T8, T9, T10, T15,
LIST SEE OUR WEBSITE 110201
BIT SOCKET SET 1/4”, SFS 1/3, 102-PCS S S S 190 X 370MM 2168 GRAM TOOLS
S
A COMPLETE INVENTORY ORDER
-
# CONTENTS
-
-
-
-
FOR A COMPLETE INVENTORY ORDER LIST SEE OUR WEBSITE

Sonic Foam System (SFS)

TOOLS # CONTENTS - 7121502 1 Ratchet 3/8”, 60 teeth

7110102 1 Flexible ratchet 3/8”, 45 teeth

7110302 1 Disc ratchet 3/8”, 72 teeth - 7272250 1 Swivel grip handle 3/8” 250mml - 7142044…250 4 Extension 3/8”, 44, 75, 150, 250mml - 71521 1 Universal joint 3/8”

71632 1 Adaptor for extension 1/2”(F) x 3/8”(M)

7172214 1 Spark plug clip socket 3/8”, 12 pt. 14mm

7172216…21 3 Spark plug clip socket 3/8”, 16, 18, 21mm

22508…19 12 Flank socket 3/8”, 6 pt. 8, 9, 10, 11, 12, 13, 14, 15, 16, 17, 18, 19mm

22607…14 6 Socket TX 3/8”, E7, E8, E10, E11, E12, E14

7121502 1 Ratchet 3/8”, 60 teeth

7110302 1 Disc ratchet 3/8”, 72 teeth

7172214 1 Spark plug clip socket 3/8”, 12 pt. 14mm

7171216…21 3 Spark plug socket 3/8”, 16, 18, 21mm

- 7142044…200 4 Extension 3/8”, 44, 75, 150, 200mml - 71521 1 Universal joint 3/8”

8244806…12 6 Bit socket hex 3/8”, 6, 7, 8, 9, 10, 12mm

8264825…50 6 Bit socket TX 3/8”, T25, T27, T30, T40, T45, T50 FOR A

2256310…22 13 Flank

E11, E12, E14, E16, E18, E20

deep socket 3/8”, 6 pt. 10, 11, 12, 13, 14, 15, 16, 17, 18, 19, 21, 22mm

22610…20 7 Socket TX 3/8”, E10, E11, E12, E14, E16, E18, E20

2266310…20 7 Deep socket TX 3/8”, E10, E11, E12, E14, E16, E18, E20

8214801…03 3 Bit socket PH 3/8”, PH.1, PH.2, PH.3

8224801…03 3 Bit socket PZ 3/8”, PZ.1, PZ.2, PZ.3

8234806 1 Bit socket slotted 3/8”, 6mm

8244805…12 7 Bit socket hex 3/8”, 5, 6, 7, 8, 9, 10, 12mm

8264820…50 7 Bit socket TX 3/8”, T20, T25, T27, T30, T40, T45, T50

8274820…50 7 Bit socket TX tamperproof 3/8”, T20H, T25H, T27H, T30H, T40H, T45H, T50H

8284804…12 7 Bit socket spline 3/8”, M4, M5, M6, M8, M9, M10, M12

8294805…12 7 Bit socket ribe 3/8”, M5, M6, M7, M8, M9, M10, M12 FOR A COMPLETE INVENTORY ORDER LIST SEE OUR WEBSITE

203001 - BIT SOCKET SET 3/8”, SFS 1/3, 30-PCS S S S

# CONTENTS

8249003…10 8 Bit socket hex 3/8”, 90mml 3, 4, 5, 6, 7, 8, 9, 10mm

8269008…50 10 Bit socket TX 3/8”, 90mml T8, T10, T15, T20, T25, T27, T30, T40, T45, T50

8289005…12 6 Bit socket spline 3/8”, 90mml M5, M6, M8, M9, M10, M12 8299005…12 6 Bit socket ribe 3/8”, 90mml M5, M6, M8, M9, M10, M12 FOR A COMPLETE INVENTORY ORDER LIST SEE OUR WEBSITE

300608 - ACCESSORY SET 1/2”, SFS 1/3, 6-PCS S S S

190 X 370MM 2758 GRAM TOOLS

CONTENTS - 7121503 1 Ratchet 1/2” 60 teeth - 7273380 1 Swivel grip handle 1/2” 380mml - 7143125…250 2 Extension 1/2” 125, 250mml - 71531 1 Universal joint 1/2” - 71623 1 Adaptor for extension 3/8”(F) x 1/2”(M) FOR A COMPLETE INVENTORY ORDER LIST SEE OUR WEBSITE

SONIC-EQUIPMENT.COM 108 03 201401
COMBINATION SET
SFS 1/3, 14-PCS S S S 190 X 370MM 2156 GRAM
-
-
3/8”,
-
-
A COMPLETE INVENTORY ORDER LIST SEE OUR WEBSITE 204101 - BIT SOCKET SET 3/8”, SFS 1/3, 41-PCS S S S 190 X 370MM 2300 GRAM TOOLS
CONTENTS
FOR
#
-
-
COMPLETE INVENTORY ORDER LIST SEE OUR WEBSITE 202301 - DEEP SOCKET SET 3/8”, SFS 1/3, 23-PCS S S S 190 X 370MM 1840 GRAM TOOLS # CONTENTS
deep socket 3/8”, 6 pt. 10, 11, 12, 13, 14, 15, 16, 17, 18
20, 21, 22mm 2266306…20 10 Deep socket TX 3/8”, E6, E7, E8, E10,
FOR A COMPLETE INVENTORY ORDER LIST SEE OUR WEBSITE
,19,
S S S 190 X 370MM 3856 GRAM TOOLS # CONTENTS 22510…22 12 Flank socket 3/8”, 6 pt. 10, 11, 12, 13, 14, 15, 16, 17, 18, 19, 21, 22mm
12 Flank
208001 - BIT SOCKET SET 3/8”, SFS 1/3, 80-PCS
2256310…22
190 X 370MM 1776 GRAM
TOOLS
#

Socket TX 1/2”, E14, E16, E18, E20, E22, E24

83406208…17 6 Bit socket hex 1/2”, 8, 9, 10, 12, 14, 17mm

83606240…70 6 Bit socket TX 1/2”,

SONIC-EQUIPMENT.COM 109 03 300911 - ACCESSORY SET, SFS 1/3, 9-PCS S S S 190 X 370MM 2758 GRAM TOOLS # CONTENTS 3310717…21 3 Wheel socket 1/2”, 6 pt. 17, 19, 21mm - 7121503 1 Ratchet 1/2” 60 teeth - 7273380 1 Swivel grip handle 1/2” 380mml - 7143125…250 2 Extension 1/2” 125, 250mml - 71531 1 Universal joint 1/2” - 71623 1 Adaptor for extension 3/8”(F) x 1/2”(M) FOR A COMPLETE INVENTORY ORDER LIST SEE OUR WEBSITE 302301 - ACCESSORY SET 1/2”, SFS 1/3, 23-PCS S S S 190 X 370MM 2894 GRAM TOOLS # CONTENTS 23508…32 12 Flank socket 1/2”, 6 pt. 8, 10, 11, 12, 13, 14, 15, 16, 17, 18, 19, 21, 22, 23, 24, 27, 30, 32mm - 7121503 1 Ratchet 1/2” 60 teeth - 7143125…250 2 Extension 1/2” 125, 250mml - 71531 1 Universal joint 1/2” - 71623 1 Adaptor for extension 3/8”(F) x 1/2”(M) FOR A COMPLETE INVENTORY ORDER LIST SEE OUR WEBSITE 303805 - BIT SOCKET SET 1/2”, SFS 1/3, 38-PCS S S S 190 X 370MM 3226 GRAM TOOLS # CONTENTS 23510…32 20 Flank socket 1/2”, 6 pt. 10, 11, 12, 13, 14, 15, 16, 17, 18, 19, 20, 21, 22, 23, 24, 26, 27, 28, 30, 32mm 23610…24 8 Socket TX 1/2”, E10, E11, E12, E14, E16, E18, E20, E24
5 Bit socket hex 1/2”, 8, 10, 12, 14, 17mm
5 Bit socket TX 1/2”, T45, T50, T55,
FOR A COMPLETE INVENTORY ORDER LIST SEE OUR WEBSITE 305605 - BIT SOCKET SET 1/2”, SFS 1/3, 56-PCS S S S 190 X 370MM 4994 GRAM TOOLS # CONTENTS
20 Flank socket 1/2”, 6 pt. 10, 11, 12, 13, 14, 15, 16, 17, 18, 19, 20, 21, 22, 23, 24, 26, 27, 28, 30, 32mm
6
83406208…17
83606245…70
T60, T70
23510…32
23614…24
T40, T45, T50, T55, T60, T70
Bit socket TX tamperproof
T40H, T45H, T50H, T55H, T60H, T70H 83806209…16 5 Bit socket spline 1/2”, M9, M10, M12, M14, M16 83806216T 1 Bit socket spline 1/2”, M16-T 83906209…14 6 Bit socket ribe 1/2”, M9, M10, M11, M12, M13, M14 FOR A COMPLETE INVENTORY ORDER LIST SEE OUR WEBSITE 301603 - IMPACT DEEP SOCKET SET 1/2”, SFS 1/3, 16-PCS S S S 190 X 370MM 4504 GRAM TOOLS # CONTENTS 3358513…32 13 Impact deep socket 1/2”, 6 pt. 13, 14, 15, 16, 17, 18, 19, 21, 22, 24, 27, 30, 32mm 3398530…36 2 Impact deep socket 1/2”, 12 pt. 30, 36mm - 7343125 1 Impact extension 1/2” 125mml FOR A COMPLETE INVENTORY ORDER LIST SEE OUR WEBSITE 302003 - DEEP SOCKET SET 1/2”, SFS 1/3, 20-PCS S S S 190 X 370MM 3760 GRAM TOOLS # CONTENTS 2357710…32 20 Flank deep socket 1/2”, 6 pt. 10, 11, 12, 13, 14, 15, 16, 17, 18, 19, 20, 21, 22, 23, 24, 26, 27, 28, 30, 32mm FOR A COMPLETE INVENTORY ORDER LIST SEE OUR WEBSITE 302204 - SOCKET & BIT SOCKET SET 1/2”, SFS 1/3, 22-PCS S S S 190 X 370MM 2490 GRAM TOOLS # CONTENTS
8 Deep socket TX 1/2”, E10, E11, E12, E14, E16, E18, E20, E24 83610030…70 7 Bit socket TX 1/2”, 100mml T30, T40, T45, T50, T55, T60, T70 83710030…70 7 Bit socket TX tamperproof 1/2”, 100mml T30H, T40H, T45H, T50H, T55H, T60H, T70H FOR A COMPLETE INVENTORY ORDER LIST SEE OUR WEBSITE
83706240…70 6
1/2”,
2367710…24

Sonic Foam System (SFS)

SONIC-EQUIPMENT.COM 110 03 302104 - BIT SOCKET SET 1/2”, SFS 1/3, 21-PCS S S S 190 X 370MM 2508 GRAM TOOLS # CONTENTS 83410006…17 8 Bit socket hex 1/2”, 100mml 6, 7, 8, 9, 10, 12, 14, 17mm 83810005…16 8 Bit socket spline 1/2”, 100mml M5, M6, M8, M9, M10, M12, M14, M16 83910008…14 5 Bit socket ribe 1/2”, 100mml M8, M9, M10, M12, M14 FOR A COMPLETE INVENTORY ORDER LIST SEE OUR WEBSITE 601017 - FLARE NUT WRENCH SET, SFS 1/3, 10-PCS S S S 190 X 370MM 1566 GRAM TOOLS # CONTENTS - 4110810...2427 7 Flare nut wrench 8x10, 11x13, 12x14, 16x18, 17x19, 19x22, 24x27mm - 4080809...1213 3 Flexible flare nut wrench 8x9, 10x11, 12x13mm FOR A COMPLETE INVENTORY ORDER LIST SEE OUR WEBSITE 600708 - HINGED SOCKET WRENCH SET, SFS 1/3, 7-PCS S S S 190 X 370MM 1452 GRAM TOOLS # CONTENTS 4120607…1819 7 Hinged socket wrench 6x7, 8x9, 10x11, 12x13, 14x15, 16x17, 18x19mm FOR A COMPLETE INVENTORY ORDER LIST SEE OUR WEBSITE 601016 - DOUBLE OPEN WRENCH SET, SFS 1/3, 10-PCS S S S 190 X 370MM 1721 GRAM TOOLS # CONTENTS - 4140607…3032 10 Double open wrench 6x7, 8x9, 10x11, 12x13, 14x15, 16x17, 18x19, 20x22, 24x27, 30x32mm FOR A COMPLETE INVENTORY ORDER LIST SEE OUR WEBSITE 601903 - COMBINATION WRENCH SET, SFS 1/3, 19-PCS S S S 190 X 370MM 2332 GRAM TOOLS # CONTENTS - 41506…24 19 Combination wrench 6,7, 8, 9, 10, 11, 12, 13, 14, 15, 16, 17, 18, 19, 20, 21, 22, 23, 24mm FOR A COMPLETE INVENTORY ORDER LIST SEE OUR WEBSITE 601904 - REVERSIBLE RATCHETING & OPEN WRENCH SET, SFS 1/3, 19-PCS S S S 190 X 370MM 2118 GRAM TOOLS # CONTENTS - 4140607…2022 8 Double open wrench 6x7, 8x9, 10x11, 12x13, 14x15, 16x17, 18x19, 20x22mm - 4170208…19 11 Reversible ratcheting wrench 12 pt. 8, 9, 10, 11, 12, 13, 14, 15, 16, 17, 19mm FOR A COMPLETE INVENTORY ORDER LIST SEE OUR WEBSITE 601228 - 12 PT. FLAT RING RATCHET SET, SFS 1/3, 12-PCS S S S 190 X 370MM 1318 GRAM TOOLS # CONTENTS - 4170108…19 12 Flat ratcheting wrench 12 pt. 8, 9, 10, 11, 12, 13, 14, 15, 16, 17, 18, 19mm FOR A COMPLETE INVENTORY ORDER LIST SEE OUR WEBSITE 601229 - 12 PT. REVERSIBLE RATCHETING WRENCH SET, SFS 1/3, 12-PCS S S S 190 X 370MM 1526 GRAM TOOLS # CONTENTS - 4170208…19 12 Reversible ratcheting wrench 12 pt. 8, 9, 10, 11, 12, 13, 14, 15, 16, 17, 18, 19mm FOR A COMPLETE INVENTORY ORDER LIST SEE OUR WEBSITE 601230 - 12 PT. FLEXIBLE RATCHETING WRENCH SET, SFS 1/3, 12-PCS S S S 190 X 370MM 1460 GRAM TOOLS # CONTENTS - 4170308…19 12 Flexible ratcheting wrench 12 pt. 8, 9, 10, 11, 12, 13, 14, 15, 16, 17, 18, 19mm FOR A COMPLETE INVENTORY ORDER LIST SEE OUR WEBSITE
SONIC-EQUIPMENT.COM 111 03 601225 - WRENCH SET, SFS 1/3, 12-PCSS S S S 190 X 370MM 1718 GRAM TOOLS # CONTENTS - 4190607…2022 8 75° offset ring wrench 6x7, 8x9, 10x11, 12x13, 14x15, 16x17, 18x19, 20x22mm 4160608….2024 4 TX wrench E6xE8, E10xE12, E14xE18, E20xE24 FOR A COMPLETE INVENTORY ORDER LIST SEE OUR WEBSITE 600435 - 75° OFFSET RING WRENCH SET, SFS 1/3, 4-PCS S S S 190 X 370MM 2132 GRAM TOOLS # CONTENTS 4192123…3032 4 75° offset ring wrench 21x23, 24x27, 25x28, 30x32mm FOR A COMPLETE INVENTORY ORDER LIST SEE OUR WEBSITE 603004 - WRENCH SET, SFS 1/3, 30-PCS S S S 190 X 370MM 1930 GRAM TOOLS # CONTENTS - 42608…17 10 Stubby combination wrench 8, 9, 10, 11, 12, 13, 14, 15, 16, 17mm - 42301250 1 Adjustable wrench 10” 601008 10 Hex ball key set extra long 10-pcs, 1.27, 1.5, 2, 2.5, 3, 4, 5, 6, 8, 10mm 600902 9 TX key set extra long, 9-pcs FOR A COMPLETE INVENTORY ORDER LIST SEE OUR WEBSITE 600709 - COMBINATION WRENCH SET, SFS 1/3, 7-PCS S S S 190 X 370MM 3087 GRAM TOOLS # CONTENTS - 41525…32 7 Combination wrench 25, 26, 27, 28, 29, 30, 32mm FOR A COMPLETE INVENTORY ORDER LIST SEE OUR WEBSITE 602205 - OIL FILTER SET, SFS 1/3, 22-PCS S S S 190 X 370MM 2180 GRAM TOOLS # CONTENTS - 4831302 1 Oil filter claw wrench - 7142250 1 3/8” extension 250mml - 71632 1 Adaptor for extension 1/2”(F) x 3/8”(M) 4831401...07 7 Square drain plug key 7, 8, 10, 11, 12, 13, 14mm 4831408...09 2 Square drain plug key 5/16”, 3/8” 4831410 1 Drain plug key 10 (female) 4831411 1 Trianggular drain plug key 10 4831412...17 6 Hex drain plug key 8, 9, 10, 11, 14, 17 - 4830801 1 3 jaw oil filter wrench - 4450250 1 Oil filter pliers 10” FOR A COMPLETE INVENTORY ORDER LIST SEE OUR WEBSITE 600432 - PLIERS SET, SFS 1/3, 4-PCS S S S 190 X 370MM 1030 GRAM TOOLS # CONTENTS - 4311175 1 Combination pliers 7” - 4321200 1 Long nose pliers 8” - 4331200 1 Bent long nose pliers 8” - 4341175 1 Diagonal pliers 7” FOR A COMPLETE INVENTORY ORDER LIST SEE OUR WEBSITE 600434 - VDE PLIERS SET, SFS 1/3, 4-PCS S S S 190 X 370MM 1532 GRAM TOOLS # CONTENTS - 4312180 1 VDE combination pliers - 4322200 1 VDE long nose pliers - 4342160 1 VDE diagonal pliers - 4472160 1 VDE stripping pliers FOR A COMPLETE INVENTORY ORDER LIST SEE OUR WEBSITE

Sonic Foam System (SFS)

SONIC-EQUIPMENT.COM 112 03 600430 - SNAP RING PLIERS SET, SFS 1/3, 4-PCS S S S 190 X 370MM 676 GRAM TOOLS # CONTENTS - 43611 1 Snap ring pliers (straight-open) - 43612 1 Snap ring pliers (straight-close) - 43613 1 Snap ring pliers (bent-open) - 43614 1 Snap ring pliers (bent-close) FOR A COMPLETE INVENTORY ORDER LIST SEE OUR WEBSITE 600825 - PLIERS SET, SFS 1/3, 8-PCS S S S 190 X 370MM 1532 GRAM TOOLS # CONTENTS - 4311175 1 Combination pliers 7” - 4321200 1 Long nose pliers 8” - 4331200 1 Bent long nose pliers 8” - 4341175 1 Diagonal pliers 7” - 43611 1 Snap ring pliers (straight-open) - 43612 1 Snap ring pliers (straight-close) - 43613 1 Snap ring pliers (bent-open) - 43614 1 Snap ring pliers (bent-close) FOR A COMPLETE INVENTORY ORDER LIST SEE OUR WEBSITE 600319 - HAMMER SET, SFS 1/3, 3-PCS S S S 190 X 370MM 2508 GRAM TOOLS # CONTENTS - 4611400 1 Machinist hammer with ash handle, 512gr - 4620400 1 Install hammer soft/hard, with ash handle, 608gr - 4631000 1 Stoning hammer with ash handle, 1106gr FOR A COMPLETE INVENTORY ORDER LIST SEE OUR WEBSITE 601227 - GRIPPED CHISEL & PUNCH SET, SFS 1/3, 12-PCS S S S 190 X 370MM 1740 GRAM TOOLS # CONTENTS - 45112160 1 Grip chisel 160mml 12 - 45116170 1 Grip chisel 170mml 16 - 45118190 1 Grip chisel 190mml 18 - 45124220 1 Grip chisel 220mml 24 - 4527190 1 Grip cape chisel 190mml 7 - 4533150 1 Grip pin punch 150mml 3 - 4534180 1 Grip pin punch 180mml 4 - 4535200 1 Grip pin punch 200mml 5 - 4536210 1 Grip pin punch 210mml 6 - 4553185 1 Grip taper punch 185mml 3 - 4554185 1 Grip taper punch 185mml 4 - 4564185 1 Grip center punch 185mml 4 FOR A COMPLETE INVENTORY ORDER LIST SEE OUR WEBSITE 600614 - FILE SET, SFS 1/3, 6-PCS S S S 190 X 370MM 700 GRAM TOOLS # CONTENTS - 46905 1 Triangular file for brakes 8” - 46913 1 Round file 8” - 46914 1 Triangular file 8” - 47003 1 Stainless steel vernier caliper - 47004 1 Stainless steel straight ruler 30cm - 4811254 1 Steel wire brush FOR A COMPLETE INVENTORY ORDER LIST SEE OUR WEBSITE
SONIC-EQUIPMENT.COM 113 03 600705 - PLIERS & TOOLS SET, SFS 1/3, 7-PCS S S S 190 X 370MM 1640 GRAM TOOLS # CONTENTS - 4351250 1 Waterpump pliers 10” - 4380250 1 Locking pliers 10” - 46807 1 Utility knife (incl. 13 blades) - 4821301 1 Wedge universal (190x30mm) - 47002 1 Feeler gauge 26-pcs - 47013 1 Measuring tape 5 meter - 4820110 1 Telescopic magnet FOR A COMPLETE INVENTORY ORDER LIST SEE OUR WEBSITE 600822 - HOOK SET, SFS 1/3, 8-PCS S S S 190 X 370MM 1080 GRAM TOOLS # CONTENTS - 47901 1 Door upholstery panel remover small 100mml - 47902 1 Door upholstery panel remover 110mml - 47903 1 Scraper - 47904 1 Cotter pin puller - 47905 1 Radiator hose remover - 47906 1 Trim pad tool 1/4” x 115mml - 47907 1 Trim pad tool 5/16” x 115mml - 47908 1 Door upholstery panel remover 132mml FOR A COMPLETE INVENTORY ORDER LIST SEE OUR WEBSITE 600623 - HOOK SET, SFS 1/3, 6-PCS S S S 190 X 370MM 720 GRAM TOOLS # CONTENTS - 47904 1 Cotter pin puller - 47905 1 Radiator hose remover - 47909 1 Straight pick hook - 47910 1 Degree hook - 47911 1 Full hook - 49712 1 Small angle hook FOR A COMPLETE INVENTORY ORDER LIST SEE OUR WEBSITE 47613 - FOAM SPACER 190X370MM, SFS 1/3 S S S 190 X 370MM 62 GRAM TOOLS # CONTENTS - - 47613 1 Foam spacer FOR A COMPLETE INVENTORY ORDER LIST SEE OUR WEBSITE

TOOLS

Sonic Foam System (SFS)

# CONTENTS

21905…13 9 Flank socket 1/4”, 12 pt. 3/16”, 7/32”, 1/4”, 9/32”, 5/16”, 11/32”, 3/8”, 7/16”, 1/2”

21604…10 6 Socket TX 1/4”, E4, E5, E6, E7, E8, E10

601006 10 Hex ball long key set 10-pcs

7121501 1 Ratchet 1/4” 60 teeth - 7110301 1 Disc ratchet 1/4” 72 teeth - 72401 1 Spinner 1/4” 150mml

7141050…150 3 Extension 1/4”, 50, 100, 150mml

71511 1 Universal joint 1/4”

72225 1 Magnetic socket pick-up 1/4”

8113701…02 2 Bit socket PH 1/4”, PH.1, PH.2

81413703…08 6 Bit socket hex 1/4”, 1/8”, 5/32”, 3/16”, 7/32”, 1/4”, 5/16”

8163706…40 11 Bit socket TX 1/4”, T6, T7, T8, T9, T10, T15, T20, T25, T27, T30, T40

8173706…40 11 Bit socket TX tamperproof 1/4”, T6H, T7H, T8H, T9H, T10H, T15H, T20H, T25H, T27H, T30H, T40H FOR

COMPLETE INVENTORY ORDER

# CONTENTS

22906…18 10 Flank socket 3/8”, 12 pt. 1/4”, 5/16”, 3/8”, 7/16”, 1/2”, 9/16”, 5/8”, 11/16”, 3/4”, 13/16”

22607…18 8 Socket TX 3/8”, E7, E8, E10, E11, E12, E14, E16, E18

7121502 1 Ratchet 3/8” 60 teeth

7110302 1 Disc ratchet 3/8” 72 teeth

7172214 1 Spark plug socket 3/8”, 12 pt. 14mm

7171216 18 3 Spark plug socket 3/8”, 16, 18, 21mm

- 7142044…200 4 Extension 3/8”, 44, 75, 150, 200mml - 71521 1 Universal joint 3/8”

82414805…12 6 Bit socket hex 3/8”, 3/16”, 7/32”, 1/4”, 5/16”, 3/8”, 7/16

8264825…50 6 Bit socket TX 3/8”, T25, T27, T30, T40, T45, T50

- 3/8”

23910…32 15 Flank

1/2” 12 pt. 3/8”, 7/16”, 1/2”, 9/16”, 5/8”, 11/16”, 3/4”, 13/16”, 3/4”, 7/8”, 15/16”, 1”, 1.1/16”, 1.1/8”, 1.3/16”, 1.1/4”

23610…24 8 Socket TX 1/2”, E10, E11, E12, E14, E16, E18, E20, E24 834106205…17 10 Bit socket hex 1/2”, 3/16”, 1/4”, 9/32”, 5/16”, 11/32”, 3/8”, 7/16”, 1/2”, 9/16”, 5/8”

83606245…70 5 Bit

TX 1/2”, T45, T50, T55, T60, T70

# CONTENTS - 4150206…27 14 Combination wrench 1/4”, 5/16”, 3/8”, 7/16”, 1/2”, 9/16”, 5/8”, 11/16”, 3/4”, 13/16”, 7/8”, 15/16”, 1”, 1.1/16” FOR

SONIC-EQUIPMENT.COM 114 03
S
190
1476 GRAM
106304 - 1/4” SOCKET BIT SAE SET, SFS 1/3, 63-PCS
S S
X 370MM
-
-
-
-
OUR WEBSITE 204102
S S S 190 X 370MM 2380 GRAM TOOLS
A
LIST SEE
- 3/8” SOCKET BIT SAE SET, SFS 1/3, 41-PCS
-
-
FOR A COMPLETE INVENTORY ORDER LIST SEE OUR WEBSITE 202302
LONG SOCKET SAE SET,
23-PCS S S S 190 X 370MM 1840 GRAM TOOLS # CONTENTS 2296310…21 8 Flank deep socket
12 pt.
7152610…16 4 Cardan socket TX 3/8”, E10, E12, E14, E16 - 71521
Universal joint
2266306…20 10 Deep socket TX 3/8”, E6, E7, E8, E10, E11, E12, E14, E16, E18, E20 FOR A COMPLETE INVENTORY ORDER LIST SEE OUR WEBSITE 302005 - 1/2” COMBINATION SAE SET, SFS 1/3, 20-PCS S S S 190 X 370MM 2874 GRAM TOOLS # CONTENTS 23910…32 15 Flank socket 1/2”, 12 pt. 3/8”, 7/16”, 1/2”, 9/16”, 5/8”, 11/16”, 3/4”, 13/16”, 7/8”, 15/16”, 1”, 1.1/16”, 1.1/8”, 1.3/16”, 1.1/4” - 7121503 1 Ratchet 1/2” 60 teeth - 7143125…250 2 Extension 1/2”, 125, 250mml - 71531 1 Universal joint 1/2” - 71623 1 Adaptor for extension 3/8”(F) x 1/2”(M) FOR A COMPLETE INVENTORY ORDER LIST SEE OUR WEBSITE 302004
DEEP SOCKET SAE SET, SFS 1/3, 20-PCS S S S 190 X 370MM 3760 GRAM TOOLS # CONTENTS 2397710…32 15 Flank deep socket 1/2”, 12 pt. 3/8”, 7/16”, 1/2”, 9/16”, 5/8”, 11/16”, 3/4”, 13/16”, 7/8”, 15/16”, 1”, 1.1/16”, 1.1/8”, 1.3/16”, 1.1/4” 2367714…22
Deep socket TX 1/2”, E14, E16, E18, E20, E22 FOR A COMPLETE INVENTORY ORDER LIST SEE OUR WEBSITE 303806 - 1/2” SOCKET BIT SAE SET, SFS 1/3, 38-PCS S S S 190 X 370MM 3226 GRAM TOOLS # CONTENTS
SFS 1/3,
3/8”,
3/8”, 7/16”, 1/2”, 9/16”, 5/8”, 11/16”, 3/4”, 13/16”
1
3/8”
- 1/2”
5
socket
A COMPLETE INVENTORY ORDER LIST SEE OUR WEBSITE 601406 - COMBINATION WRENCH SAE SET, SFS 1/3, 14-PCS S S S 190 X 370MM 2332 GRAM TOOLS
COMPLETE
LIST SEE OUR WEBSITE
socket
FOR
A
INVENTORY ORDER

1310…3

Screwdriver PH, PH.0, PH.1, PH.2, PH.3

1312S 1 Screwdriver stubby, PH, PH.2

Screwdriver slotted, 4, 5.5, 6.5, 8mm

13304…08

133055S 1 Screwdriver stubby slotted, 5.5mm

13608…40 9 Screwdriver TX, T8, T9, T10, T15, T20, T25, T27, T30, T40

3 Flexible hex nut driver 6, 7, 8mm

600902 9 TX key set extra long, 9-pcs, T10, T15, T20, T25, T27, T30, T40, T45, T50 600912

Hex ball stubby key set 9-pcs 1.5, 2, 2.5, 3, 4, 5, 6, 8, 10mm

TX, T8, T9, T10, T15, T20, T25, T27,

SONIC-EQUIPMENT.COM 115 03 604102 - SCREWDRIVER SET, SFS, 41-PCS
X 370MM M 3140 GRAM TOOLS # CONTENTS
570
4
4
47536…08
12425010
FOR A COMPLETE INVENTORY ORDER LIST SEE OUR WEBSITE 602716 - SCREWDRIVER SET, SFS, 27-PCS 570 X 370MM M 3140 GRAM TOOLS # CONTENTS 1310…3 4 Screwdriver PH, PH.0, PH.1, PH.2, PH.3 1312S 1 Screwdriver stubby, PH, PH.2 13304…08 4 Screwdriver slotted,
133055S 1 Screwdriver stubby slotted, 5.5mm 13608…40 9
T30, T40 47536…08 3 Flexible hex nut driver 6, 7, 8mm 47837...38 2 Precision screwdriver slotted 2.0 x 60, 3.0 x 60 47839...40 2 Precision screwdriver PH 0 x 60, PH 00 x 60 - 47903 1 Scraper FOR A COMPLETE INVENTORY ORDER LIST SEE OUR WEBSITE 602407 - SCREWDRIVER SET, SFS, 24-PCS 570 X 370MM M 2200 GRAM TOOLS # CONTENTS 1310…3 4 Screwdriver PH, PH.0, PH.1, PH.2, PH.3 13303…08 6 Screwdriver slotted, 3, 3.5, 4, 5.5, 6.5, 8mm 13605…40 12 Screwdriver TX, T5, T6, T7, T8, T9, T10, T15, T20, T25, T27, T30, T40 - 4821308…12 2 Pry bar 200mml 8”, 300mml 12” FOR A COMPLETE INVENTORY ORDER LIST SEE OUR WEBSITE 601808 - SCREWDRIVER SET, SFS, 18-PCS 570 X 370MM M 2222 GRAM TOOLS # CONTENTS 1314502 1 Screwdriver PH, PH.2 450mml 13345065 1 Screwdriver slotted, 6.5 450mml 15101…02 2 Hammer screwdriver PH, PH.1, PH.2 1530155…08 3 Hammer screwdriver slotted, 5.5, 6.5, 8mm - 47829 1 Mini straight pick hook - 47830 1 Mini degree hook - 47831 1 Mini full hook - 47832 1 Mini small angle hook - 47901 1 Door upholstery panel remover 100mml - 47909 1 Straight pick (6x135) - 47910 1 Degree hook (6x135) - 47911 1 Full hook (6x135) - 47912 1 Small angle hook (6x135) - 4821308…12 2 Pry bar 200mml 8”, 300mml 12” FOR A COMPLETE INVENTORY ORDER LIST SEE OUR WEBSITE 601807 - SOCKET SCREWDRIVER SET, SFS, 18-PCS 570 X 370MM M 3460 GRAM TOOLS # CONTENTS 47536…38 3 Flexible hex nut driver 6, 7, 8mm 12425006…13 8 Hex nut driver 6, 7, 8, 9, 10, 11, 12, 13mm 14423006…13 7 Hex nut driver T-handle 6, 7, 8, 9, 10, 12, 13mm FOR A COMPLETE INVENTORY ORDER LIST SEE OUR WEBSITE 602904 - SCREWDRIVER & WRENCH SET, SFS, 29-PCS 570 X 370MM M 4360 GRAM TOOLS # CONTENTS 1311…2 2 Screwdriver PH, PH.1, PH.2 13303…08 6 Screwdriver slotted, 3, 3.5, 4, 5.5, 6.5, 8mm - 41506…32 21 Combination wrench 6, 7, 8, 9, 10, 11, 12, 13, 14, 15, 16, 17, 18, 19, 20, 21, 22, 24, 27, 30, 32mm FOR A COMPLETE INVENTORY ORDER LIST SEE OUR WEBSITE
9
1 Hex nut driver 10mm
4, 5.5, 6.5, 8mm
Screwdriver

-

Sonic Foam System (SFS)

21504…13 12 Flank socket 1/4”, 6 pt. 4, 4.5, 5, 5.5, 6, 7, 8, 9, 10, 11, 12, 13mm

2155004…13 12 Flank deep socket 1/4”, 6 pt. 4, 4.5, 5, 5.5, 6, 7, 8, 9, 10, 11, 12, 13mm

2256307…17 11 Flank deep socket 3/8”, 7, 8, 9, 10, 11, 12, 13, 14, 15, 16, 17mm

22507…17 11 Flank socket 3/8”, 6 pt. 7, 8, 9, 10, 11, 12, 13, 14, 15, 16, 17mm

8143703…10 9 Bit socket hex 1/4”, 3, 4, 5, 5.5, 6, 7, 8, 9, 10mm

8103703…10 9 Bit socket ball hex 1/4”, 3, 4, 5, 5.5, 6, 7, 8, 9, 10mm

8163706…40 11 Bit socket TX 1/4”, T6, T7, T8, T9, T10, T15, T20, T25, T27, T30, T40

8173706…40 11 Bit socket TX tamperproof 1/4”, T6H, T7H, T8H, T9H, T10H, T15H, T20H, T25H, T27H, T30H, T40H

8264808…50 10 Bit socket TX 3/8”, T8, T10, T15, T20, T25, T27, T30, T40, T45, T50

8274808…50 10 Bit socket TX tamperproof 3/8”, T8H, T10H, T15H, T20H, T25H, T27H, T30H, T40H, T45H, T50H

8244803…12 10 Bit socket hex 3/8” 3, 4, 5, 5.5, 6, 7, 8, 9, 10, 12mm

8249003…12 10 Bit socket hex 3/8”, 90mml 3, 4, 5, 5.5, 6, 7, 8, 9, 10, 12mm

72402 1 Spinner 1/4”, 150mml

- 7141050 1 Extension 1/4” 50mml

- 7142075…250 3 Extension 3/8” 75, 150, 250mml

- 7141100…150 2 Extension 1/4”, 100, 150mml

7121501...02 1 Ratchet 1/4”, 3/8”, 60 teeth

72601...02 1 Speedy T-grip 1/4”, 3/8”

73210525 1 Torques wrench 1/4”, 5-25Nm

- 73021050 1 Torques wrench 3/8”, 10-50Nm

- 72225 1 Magnet socket pick-up 1/4” - 71511...21 1 Universal joint 1/4”, 3/8”

7172214 1 Spark plug clip socket 3/8”, 12 pt. 14mm

7172216…21 3 Spark plug clip socket 3/8”, 16, 18, 21mm

- 7110301...02 1 Disc ratchet 1/4”, 3/8”, 72 teeth FOR A COMPLETE INVENTORY ORDER LIST SEE OUR WEBSITE

CONTENTS

2155004…13 12 Flank deep socket 1/4”, 6 pt. 4, 4.5, 5, 5.5, 6, 7, 8, 9, 10, 11, 12, 13mm

21604…10 6 Socket TX 1/4”, E4, E5, E6, E7, E8, E10

2165004…10 6 Deep socket TX 1/4”, E4, E5, E6, E7, E8, E10

2185004…13 12 Deep socket 1/4”, 12 pt 4, 4.5, 5, 5.5, 6, 7, 8, 9, 10, 11, 12, 13mm

21504…13 12 Flank socket 1/4”, 6 pt. 4, 4.5, 5, 5.5, 6, 7, 8, 9, 10, 11, 12, 13mm

21804…13 12 Socket 1/4”, 12 pt. 4, 4.5, 5, 5.5, 6, 7, 8, 9, 10, 11, 12, 13mm

8133704…65 3 Bit socket slotted 1/4”, 4, 5.5, 6.5mm

7151806...13 8 Cardan socket 1/4”, 12 pt. 6, 7, 8, 9, 10, 11, 12, 13mm

7151605...08 4 Cardan socket 1/4”, TX E5, E6, E7, E8 8113700…03 4 Bit socket PH 1/4”, PH.0, PH.1, PH.2, PH.3 8163706…40 11 Bit socket TX 1/4”, T6, T7, T8, T9, T10, T15, T20, T25, T27, T30, T40 8123701…03 4 Bit socket PZ 1/4”, PZ.0, PZ.1, PZ.2, PZ.3

8173706…40 11 Bit socket TX tamperproof 1/4”, T6H, T7H, T8H, T9H, T10H, T15H, T20H, T25H, T27H, T30H, T40H 8183704…10 5 Bit socket spline 1/4”, M4, M5, M6, M8, M10 8153708…50 10 Tamper-resistant 1/4”, TX plus (5 lobes) 8IPR, 10IPR, 15IPR, 20IPR, 25IPR, 27IPR, 30IPR, 40IPR, 45IPR, 50IPR 8193704…10 6 Bit socket ribe 1/4”, M4, M5, M6, M7, M8, M10 8143703…08 9 Bit socket hex 1/4”, 3, 4, 5, 5.5, 6, 7, 8, 9, 10mm 81613715…40 6 Bit socket TX ball 1/4”, T15, T20, T25, T27, T30, T40 8103703…10 9 Bit socket ball hex 1/4”, 3, 4, 5, 5.5, 6, 7, 8, 9, 10mm

71511 1 Universal joint 1/4”

71921 1 Adaptor 3/8”(F) x 1/4”(M)

71912 1 Adaptor 1/4”(F) x 3/8”(M)

7141050…250 4 Extension 1/4” 50, 100, 150, 250mml - 7271150 1 Swivel grip handle 1/4”

7211 1 Flexible extension 1/4” - 7121101 1 Twister ratchet 1/4” - 7110301 1 Disc ratchet 1/4” 72 teeth - 71911110 1 Universal 2-in-1 SB-Adapter 1/4”, 110mml

7120101 1 Stubby ratchet 1/4” 45 teeth

72402 1 Spinner 1/4”, 150mml

7121501 1 Ratchet 1/4” 60 teeth - 72601...02 1 Speedy T-grip 1/4”, 3/8” - 73210525 1 Torques wrench 1/4”, 5-25Nm FOR A COMPLETE INVENTORY ORDER LIST SEE OUR WEBSITE

SONIC-EQUIPMENT.COM 116 03 214301 - COMBINATION SET 1/4”, & 3/8” SFS, 143-PCS 570 X 370MM M 5800 GRAM TOOLS # CONTENTS
-
-
-
116701 - COMBINATION SET SFS, 167-PCS 570 X 370MM M 5266 GRAM TOOLS #
-
-
-
-
-
-
-
-

21503…14 12 Flank socket 1/4”, 6 pt. 3, 5, 5.5, 6, 7, 8, 9, 10, 11, 12, 13, 14mm

21604…10 6 Socket TX 1/4”, E4, E5, E6, E7, E8, E10

22510…22 12 Flank socket 3/8”, 6 pt. 10, 11, 12, 13, 14, 15, 16, 17, 18, 19, 21, 22mm

22605…14 6 Socket TX 3/8”, E5, E6, E7, E8, E10, E11, E12, E14

2155004…13 12 Flank deep socket 1/4”, 6 pt. 4, 4.5, 5, 5.5, 6, 7, 8, 9, 10, 11, 12, 13mm

2256308…21 14 Flank deep socket 3/8”, 8, 9, 10, 11, 12, 13, 14, 15, 16, 17, 18, 19, 20, 21mm

8143703…08 7 Bit socket hex 1/4”, 3, 4, 5, 5.5, 6, 7, 8mm

8163710…40 7 Bit socket TX 1/4”, T10, T15, T20, T25, T27, T30, T40

8133704…65 3 Bit socket slotted 1/4”, 4, 5.5, 6.5mm

8113701…02 2 Bit socket PH 1/4”, PH.1, PH.2

8284804…12 7 Bit socket spline 3/8”, M4, M5, M6, M8, M9, M10, M12

8244803…10 9 Bit socket hex 3/8” 3, 4, 5, 5.5, 6, 7, 8, 9, 10mm

8264815…55 9 Bit socket TX 3/8”, T15, T20, T25, T27, T30, T40, T45, T50, T55

8269025 1 Bit socket TX 3/8”, 90mml, T25

72402 1 Spinner 1/4”, 150mml

72225 1 Magnet socket pick-up 1/4”

71511 1 Universal joint 1/4”

7151608 1 Cardan socket 1/4”, TX, E8

7152610 1 Cardan socket TX 3/8”, E10

7152810…16 7 Cardan socket 3/8”, 12 pt. 10, 11, 12, 13, 14, 15, 16mm

71521 1 Universal joint 3/8”

71912 1 Adaptor 1/4”(F) x 3/8”(M)

71921 1 Adaptor 3/8”(F) x 1/4”(M)

71932 1 Adaptor 1/2”(F) x 3/8”(M)

- 7141050…250 4 Extension 1/4”, 50, 100, 150, 250mml

- 7142075…250 3 Extension 3/8” 75, 150, 250mml

-

7131115 1 Sliding T-handle 1/4”

7172216…21 3 Spark plug clip socket 3/8”, 16, 18, 21mm -

7121501 1 Ratchet 1/4” 60 teeth

7121502 1 Ratchet 3/8”, 60 teeth

7110102 1 Flexible ratchet 3/8”, 45 teeth FOR A COMPLETE INVENTORY ORDER LIST SEE OUR WEBSITE

305002 - COMBINATION SET 1/2” SFS, 50-PCS

# CONTENTS

4720109 1 Empty tray (108x162x45mm)

83606220…70 10 Bit socket TX 1/2”, T20, T25, T27, T30, T40, T45, T50, T55, T60, T70 83406205…19 10 Bit socket hex 1/2”, 5, 6, 7, 8, 9, 10, 12, 14, 17, 19mm

23508…32 21 Flank socket 1/2”, 6 pt. 8, 10, 11, 12, 13, 14, 15, 16, 17, 18, 19, 20, 21, 22, 23, 24, 25, 27, 28, 30, 32mm

7263050 1 Wobble extension 1/2” 50mmL

47024 1 Stainless steel vernier caliper for disc brakes

47003 1 Vernier caliper

4822502-1 1 Clamp pliers

SONIC-EQUIPMENT.COM 117 03 214201 - COMBINATION SET 1/4”,
3/8” SFS, 143-PCS 570 X 370MM M 5800 GRAM TOOLS #
&
CONTENTS
-
-
-
-
-
-
-
570 X 370MM M 5766 GRAM TOOLS
-
-
-
-
-
-
-
FOR A COMPLETE INVENTORY ORDER LIST SEE OUR WEBSITE 601309 - MULTIFUNCTIONAL MOT TOOLSET SFS, 12-PCS 570 X 370MM M 3850 GRAM TOOLS # CONTENTS -
-
-
-
-
-
-
-
FOR A COMPLETE INVENTORY ORDER LIST SEE OUR WEBSITE
71531 1 Universal joint 1/2”
7143125…250 2 Extension 1/2” 125, 250mml
7273380 1 Swivel grip handle 1/2” 380mml
7121503 1 Ratchet 1/2” 60 teeth
730340200 1 Torque wrench 1/2”, 40-200Nm
4821312 1 Pry bar 450mml 18”
829005 1 Brake pipe corrosion tool
4822503 1 Round head hammer with ash handle
- 4822502-2 1 Gauge - 4822504 1 Tire thread gauge - 4822508 1 Measuring tape 20 meter - 4720107 1 Empty tray (54x110x45mm)
4822502-3 1 Adjustable mounting post
4820546 1 Pocket light medium

Sonic Foam System (SFS)

21504…13 12 Flank socket 1/4”, 6 pt. 4, 4.5, 5, 5.5, 6, 7, 8, 9, 10, 11, 12, 13mm

2155004…13 12 Flank deep socket 1/4”, 6 pt. 4, 4.5, 5, 5.5, 6, 7, 8, 9, 10, 11, 12, 13mm

21604…10 6 Socket TX 1/4”, E4, E5, E6, E7, E8, E10

2165004…10 6 Deep socket TX 1/4”, E4, E5, E6, E7, E8, E10

601008 10 Hex ball key set extra long 10-pcs, 1.27, 1.5, 2, 2.5, 3, 4, 5, 6, 8, 10mm

600902 9 TX key set extra long, 9-pcs, T10, T15, T20, T25, T27, T30, T40, T45, T50

7110101 1 Flexible ratchet 1/4”, 45 teeth

- 7110301 1 Disc ratchet 1/4”, 72 teeth - 7110201 1 Ratchet 1/4” 72 teeth

7121501 1 Ratchet 1/4” 60 teeth

7141050…150 3 Extension 1/4” 50, 100, 150mml

71511 1 Universal joint 1/4”

72225 1 Magnet socket pick-up 1/4”

8143703…08 7 Bit socket hex 1/4”, 3, 4, 5, 5.5, 6, 7, 8mm

8153710…40 7 Tamper-Resistant 1/4”, TX plus (5 lobes) 10IPR, 15IPR, 20IPR, 25IPR, 27IPR, 30IPR, 40IPR

8163706…25 8 Bit socket TX 1/4”, T6, T7, T8, T9, T10, T15, T20, T25

8173706…25 8 Bit socket TX tamperproof 1/4”, T6H, T7H, T8H, T9H, T10H, T15H, T20H, T25H

22506…22 17 Flank socket 3/8”, 6 pt. 6, 7, 8, 9, 10, 11, 12, 13, 14, 15, 16, 17, 18, 19, 20, 21, 22mm

22604…14 9 Socket TX 3/8”, E4, E5, E6, E7, E8, E10, E11, E12, E14

- 7110302 1 Disc ratchet 3/8” 72 teeth

- 7121502 1 Ratchet 3/8” 60 teeth

- 7142075…250 3 Extension 3/8” 75, 150, 250mml

71521 1 Universal joint 3/8”

71632 1 Adaptor for extension 1/2”(F) x 3/8”(M)

7171216…21 3 Spark plug socket 3/8” 16, 18, 21mm

8244803…10 9 Bit socket hex 3/8”, 3, 4, 5, 5.5, 6, 7, 8, 9, 10mm

8264815…55 9 Bit socket TX 3/8”, T15, T20, T25, T27, T30, T40, T45, T50, T55

8274815…55 9 Bit socket TX tamperproof 3/8”, T15H, T20H, T25H, T27H, T30H, T40H, T45H, T50H, T55H FOR A COMPLETE INVENTORY ORDER LIST SEE OUR WEBSITE 316001 - COMBINATION SET 1/4”, 3/8” & 1/2”, SFS, 160-PCS

21503…13 13 Flank socket 1/4”, 6 pt. 3, 4, 4.5, 5, 5.5, 6, 7, 8, 9, 10, 11, 12, 13mm

2155005…13 9 Flank deep socket 1/4”, 6 pt. 5, 6, 7, 8, 9, 10 ,11, 12, 13mm

22510…21 12 Flank socket 3/8”, 6 pt. 10, 11, 12, 13, 14, 15, 16, 17, 18, 19, 20, 21mm

23508…32 21 Flank socket 1/2”, 6 pt. 8, 10, 11, 12, 13, 14, 15, 16, 17, 18, 19, 20, 21, 22, 23, 24, 25, 27, 28, 30, 32mm

600902 9 TX key set extra long, 9-pcs, T10, T15, T20, T25, T27, T30, T40, T45, T50 601008 10 Hex ball key set extra long 10-pcs, 1.27, 1.5, 2, 2.5, 3, 4, 5, 6, 8, 10mm

72401 1 Spinner 1/4” 150mml

7121501 1 Ratchet 1/4” 60 teeth

- 7141050…100 2 Extension 1/4” 50, 100mml - 71511 1 Universal joint 1/4”

8113701…02 2 Bit socket PH 1/4”, PH.1, PH.2

8143703…10 9 Bit socket hex 1/4”, 3, 4, 5, 5.5, 6, 7, 8, 9, 10mm

8163708…40 8 Bit socket TX 1/4”, T8, T10, T15, T20, T25, T27, T30, T40

8183704…10 5 Bit socket spline 1/4”, M4, M5, M6, M8, M10 - 7121502 1 Ratchet 3/8” 60 teeth - 7142075…150 2 Extension 3/8” 75, 250mml

71521 1 Universal joint 3/8”

72023 1 Bit holder 3/8”(F) x 10mm(F)

7171216…21 2 Spark plug socket 3/8” 16, 21mm

7121503 1 Ratchet 1/2” 60 teeth

7133250 1 Sliding T-handle 1/2”

7143125…250 2 Extension 1/2” 125, 250mml

71531 1 Universal joint 1/2”

72033 1 Bit holder 1/2”(F) x 10mm(F)

9343004…12 7 Bit hex 10mm, 30mml 4, 5, 6, 7, 8, 10, 12

9347504…12 7 Bit hex 10mm, 75mml 4, 5, 6, 7, 8, 10, 12

9363020…60 8 Bit TX 10mm, 30mml T20, T25, T30, T40, T45, T50, T55, T60

9367520…60 8 Bit TX 10mm, 75mml T20, T25, T30, T40, T45, T50, T55, T60

9383005…12 5 Bit spline 10mm, 30mml M5, M6, M8, M10, M12

9387505…12 5 Bit spline 10mm, 75mml M5, M6, M8, M10, M12 FOR A COMPLETE INVENTORY ORDER LIST SEE OUR WEBSITE

SONIC-EQUIPMENT.COM 118 03 215702 - COMBINATION SET 1/7”, & 3/8”, SFS, 157-PCS 570 X 370MM M 5800 GRAM TOOLS # CONTENTS
-
-
-
-
-
-
-
570 X 370MM M 8340 GRAM TOOLS
# CONTENTS
-
-
-
-
-
-
-
-
-

-

22506…22 17 Flank socket 3/8”, 6 pt. 6, 7, 8, 9, 10, 11, 12,13, 14, 15, 16, 17, 18, 19, 20, 21, 22mm

22604…14 9 Socket TX 3/8”, E4 E5, E6, E7, E8, E10, E11, E12, E14

8244803...10 9 Bit socket hex 3/8”, 3, 4, 5, 5.5, 6, 7, 8, 9, 10mm

8264815...55 9 Bit socket TX 3/8”, T15, T20, T25, T27, T30, T40, T45, T50, T55

8274815...55 9 Bit socket TX tamperproof 3/8”, T15H, T20H, T25H, T27H, T30H, T40H, T45H, T50H, T55H

7110302 1 Disc ratchet 3/8”, 72 teeth

7121502 1 Ratchet 3/8” 60 teeth

- 7142075…250 3 Extension 3/8” 75, 150, 250mml

- 71521 1 Universal joint 3/8”

71632 1 Adaptor for extension 1/2”(F) x 3/8”(M)

7171216...21 3 Spark plug socket 3/8” 16, 18, 21mm

23508…32 24 Flank socket 1/2”, 6 pt. 8, 9, 10, 11, 12, 13, 14, 15, 16, 17, 18, 19, 20, 21, 22, 23, 24, 25, 26, 27, 28, 29, 30, 32mm

23610…24 9 Socket TX 1/2”, E10, E11, E12, E14, E16, E18, E20, E22, E24 - 7121503 1 Ratchet 1/2” 60 teeth - 7143125...250 2 Extension 1/2”, 125, 250mml

71531 1 Universal joint 1/2”

71623 1 Adaptor for extension 3/8”(F) x 1/2”(M) FOR

23508…32 24 Flank socket 1/2”, 6 pt. 8, 9, 10, 11, 12, 13, 14, 15, 16, 17, 18, 19, 20, 21, 22, 23, 24, 25, 26, 27, 28, 29, 30, 32mm

23610…24 9 Socket TX 1/2”, E10, E11, E12, E14, E16, E18, E20, E22, E24

7121503 1 Ratchet 1/2” 60 teeth

71623 1 Adaptor for extension 3/8”(F) x 1/2”(M) - 7143125…250 2 Extension 1/2” 125, 250mml

71531 1 Universal joint 1/2” - 7273380 1 Swivel handle 1/2” 380mml

83406206…17 8 Bit socket hex 1/2”, 6, 7, 8, 9, 10, 12, 14, 17mm

83410006…17 8 Bit socket hex 1/2”, 100mml 6, 7, 8, 9, 10, 12, 14, 17mm

83606227…70 8 Bit socket TX 1/2”, T27, T30, T40, T45, T50, T55, T60, T70

83610027…70 8 Bit socket TX 1/2”, 100mml T27, T30, T40, T45, T50, T55, T60, T70

83706227…70 8 Bit socket tamperproof 1/2”, TX T27H, T30H, T40H, T45H, T50H, T55H, T60H, T70H

83806205…16 8 Bit socket spline 1/2”, M5, M6, M8, M9, M10, M12, M14, M16

83806216T 1 Bit socket spline 1/2”, M16-T

83906208…14 7 Bit socket ribe 1/2”, M8, M9, M10, M11, M12, M13, M14

313902 - BIT SOCKET SET 1/4”, 3/8” & 1/2”, SFS, 139-PCS

# CONTENTS

21505…13 10 Flank socket 1/4”, 6 pt. 5, 5.5, 6, 7, 8, 9, 10, 11, 12, 13mm

2155005…13 10 Flank deep socket 1/4”, 6 pt. 5, 5.5, 6, 7, 8, 9, 10, 11, 12, 13mm

7121501 1 Ratchet 1/4” 60 teeth

7141050…100 2 Extension 1/4” 50,100mml

71511 1 Universal joint 1/4”

72401 1 Spinner 1/4” 150mml

8143703…07 5 Bit socket hex 1/4”, 3, 4, 5, 6, 7mm

8153710…45 8 Tamper-Resistant 1/4”, TX plus (5 lobes) 10IPR, 15IPR, 20IPR, 25IPR, 27IPR, 30IPR, 40IPR, 45IPR

8163706…10 5 Bit socket TX 1/4”, T6, T7, T8, T9, T10

8173706…10 5 Bit socket TX tamperproof 1/4”, T6H, T7H, T8H, T9H, T10H 22508…19 12 Flank socket 3/8”, 6 pt. 8, 9, 10, 11, 12, 13, 14, 15, 16, 17, 18, 19mm

7121502 1 Ratchet 3/8” 60 teeth

7142075…150 2 Extension 3/8” 75, 150mml

71521 1 Universal joint 3/8” 7171216…21 3 Spark plug socket 3/8” 16, 18, 21mm 8214802 1 Bit socket PH 3/8”, PH.2

8244805…12 8 Bit socket hex 3/8”, 5, 5.5, 6, 7, 8, 9, 10, 12mm

8264815…50 8 Bit socket TX 3/8”, T15, T20, T25, T27, T30, T40, T45, T50

8274815…50 8 Bit socket TX tamperproof 3/8”, T15H, T20H, T25H, T27H, T30H, T40H, T45H, T50H 8284804…12 7 Bit socket spline 3/8”, M4, M5, M6, M8, M9, M10, M12 23510…32 20 Flank socket 1/2”, 6 pt. 10, 11, 12, 13, 14, 15, 16, 17, 18, 19, 20, 21, 22, 23, 24, 26, 27, 28, 30, 32mm

7121503 1 Ratchet 1/2” 60 teeth

7143125…250 2 Extension 1/2” 125, 250mml

71531 1 Universal joint 1/2”

71623 1 Adaptor for extension 3/8”(F) x 1/2”(M)

83406210…17 4 Bit socket hex 1/2”, 10, 12, 14, 17mm

83606255…70 3 Bit socket TX 1/2”, T55, T60, T70

83706255…70 3 Bit socket TX tamperproof 1/2”, T55H, T60H, T70H

83806210…16 4 Bit socket spline 1/2”, M10, M12, M14, M16

83806216T 1 Bit socket spline 1/2”, M16-T FOR A COMPLETE INVENTORY ORDER LIST SEE OUR WEBSITE

SONIC-EQUIPMENT.COM 119 03 310101 - COMBINATION SET 3/8” & 1/2”, SFS, 101-PCS 570 X 370MM M 7300 GRAM TOOLS # CONTENTS
-
-
-
-
A COMPLETE
LIST SEE OUR WEBSITE 309502
COMBINATION SET
95-PCS 570 X 370MM M 10440 GRAM TOOLS # CONTENTS
INVENTORY ORDER
-
1/2”, SFS,
-
-
-
FOR A COMPLETE INVENTORY ORDER LIST SEE OUR WEBSITE
570 X 370MM M 8554 GRAM TOOLS
-
-
-
-
-
-
-
-
-
-
-

Sonic Foam System (SFS)

21505...13 9 Flank socket 1/4”, 6 pt. 5, 6, 7, 8, 9, 10, 11, 12, 13mm

2155005…13 9 Flank deep socket 1/4”, 6 pt. 5, 6, 7, 8, 9, 10, 11, 12, 13mm

22514…21 7 Flank socket 3/8”, 6 pt. 14, 15, 16, 17, 18, 19, 21mm

2256314…21 7 Flank deep socket 3/8”, 6 pt. 14, 15, 16, 17, 18, 19, 21mm

23522…32 8 Flank socket 1/2”, 6 pt. 22, 23, 24, 26, 27, 28, 30, 32mm

2357722…32 8 Flank deep socket 1/2”, 6 pt. 22, 23, 24, 26, 27, 28, 30, 32mm

8153715…30 4 Tamper-Resistant 1/4”, TX plus (5 lobes) 15IPR, 20IPR, 25IPR, 30IPR

8264808…45 9 Bit socket TX 3/8”, T8, T10, T15, T20, T25, T27, T30, T40, T45

83406210…19 5 Bit socket hex 1/2”, 10, 12, 14, 17, 19mm

601008 10 Hex ball key set extra long 10-pcs, 1.27, 1.5, 2, 2.5, 3, 4, 5, 6, 8, 10mm

7110201 1 Rotor ratchet 1/4”, 72 teeth

7110301 1 Disc ratchet 1/4”, 72 teeth -

7141050…150 3 Extension 1/4” 50, 100, 150mml - 7110202 1 Rotor ratchet 3/8”, 72 teeth

-

7110302 1 Disc ratchet 3/8”, 72 teeth -

7142044…250 4 Extension 3/8” 44, 75, 150, 250mml

71522 1 Universal ball joint 3/8”

71632 1 Adaptor for extension 1/2”(F) x 3/8”(M)

7110203 1 Rotor ratchet 1/2”, 72 teeth

- 7143125…250 2 Extension 1/2” 125, 250mml FOR A COMPLETE INVENTORY ORDER LIST SEE OUR WEBSITE

83710025…80 10 Bit socket TX tamperproof 1/2”, 100mml T25H, T27H, T30H, T40H, T45H, T50H, T55H, T60H, T70H, T80H

83810005…16T 9 Bit socket spline 1/2”, 100mml M5, M6, M8, M9, M10, M12, M14, M16, M16T

83910005…16 10 Bit socket ribe 1/2”, 100mml M5, M6, M7 M8, M9, M10, M12, M13, M14, M16

83912011 1 Bit socket ribe 1/2”, 120mml M10-1

83410005…17 11 Bit socket hex 1/2”, 100mml 5, 6, 7, 8, 9, 10, 11, 12, 13, 14, 17

83010005…14 10 Bit socket ball hex 1/2”, bit 100mml 5, 6, 7, 8, 9, 10, 11, 12, 13, 14

83610027…100 11 Bit socket TX 1/2”, 100mml T27, T30, T40, T45, T50, T55, T60, T70, T80, T90, T100

817006 1 Alternator bit socket 1/2”, T50x110L

817007 1 Alternator bit socket 1/2”, M10x110L FOR

& 1/2”, SFS, 73-PCS

# CONTENTS

32508…19 10 Impact socket 3/8”, 6 pt. 8, 10, 11, 12, 13, 14, 15, 16, 17, 19mm

3256308…19 9 Impact deep socket 3/8”, 6 pt. 8, 10, 11, 12, 13, 14, 16, 17, 19mm

7342075 1 Impact extension 3/8” 75mml

73521 1 Impact universal joint 3/8”

73621 1 Impact adaptor 3/8”(F) x 1/4”(M)

73623 1 Impact adaptor 3/8”(F) x 1/2”(M)

73721 1 Bit holder 3/8”(F) x 1/4”(F)

20 Impact deep socket 1/2”, 6 pt. 10, 11, 12, 13, 14, 15, 16, 17, 18, 19, 20, 21, 22, 23, 24, 27, 28, 29,

73634 1 Impact adaptor 1/2”(F) x 3/4”(M) FOR

24, 25, 26, 27, 28, 29, 30mm

3398532…36 3 Impact deep socket 1/2”, 12 pt. 32, 34, 36mm

86807818 1 Impact bit socket spline 1/2”, M18

86406006…19 9 Impact Hex one-piece 1/2” 6, 7, 8, 9, 10, 12, 14, 17, 19mm

86606025…70 9 Impact bit socket TX 1/2” T25, T27, T30, T40, T45, T50, T55, T60, T70

86404314…19 3 Bit socket impact hex 1/2”, one-piece 14, 17, 19mm

7343075…250 3 Impact extension 1/2” 75, 125, 250mml

33510…32 10 Impact socket 1/2”, 6pt. 10, 11, 12, 13, 14, 15, 16, 17, 18, 19, 20, 21, 22, 23, 24, 25, 26, 27, 28, 29, 30, 32mm FOR A COMPLETE INVENTORY ORDER LIST SEE OUR WEBSITE

SONIC-EQUIPMENT.COM 120 03 309302 - SOCKET SET 1/4” 3/8” 12”, SFS, 93-PCS 570 X 370MM M 9040 GRAM TOOLS #
CONTENTS
-
-
-
-
306402 - BIT SOCKET SET 1/2”, SFS, 64-PCS 570 X 370MM M 8080 GRAM TOOLS
CONTENTS
#
A COMPLETE INVENTORY ORDER LIST
570 X 370MM M 11080 GRAM TOOLS
SEE OUR WEBSITE 307302 - IMPACT SOCKET SET 3/8”
-
-
-
-
-
33508…32
Impact socket
30, 32mm -
Impact extension
75, 125, 250mml -
Impact universal joint
-
Impact
-
A COMPLETE
ORDER LIST SEE OUR WEBSITE 306901
IMPACT
570 X 370MM M HEAVY DUTY 11080 GRAM TOOLS # CONTENTS 3358514…30 17 Impact deep socket 1/2”, 6 pt. 14, 15, 16, 17, 18, 19, 20, 21, 22, 23,
23
1/2”, 6 pt. 8, 10, 11, 12, 13, 14, 15, 16, 17, 18, 19, 20, 21, 22, 23, 24, 26, 26, 27 28, 29, 30, 32mm 3358510…32
7343075…250 3
1/2”
73531 1
1/2”
73632 1
adaptor 1/2”(F) x 3/8”(M)
INVENTORY
-
SOCKET SET 1/2”, SFS, 69-PCS
-

# CONTENTS

24919…50 14 Socket 3/4”, 12 pt. 19, 21, 22, 24, 27, 30, 32, 33, 34, 36, 38, 41, 46, 50mm

24822…47 14 Socket 3/4”, 12 pt. 7/8”, 15/16”, 1”, 1.1/16”, 1.1/8”, 1.3/16”, 1.1/4”, 1.5/16”, 1.3/8”, 1.7/16”, 1.1/2”, 1.5/8”, 1.3/4”, 1.7/8” - 7120704 1 Ratchet 3/4” 60 teeth

7134450 1 Sliding T-handle 3/4”

7234500 1 Swivel handle 3/4” 500mml

7184400 1 Lock-in 3/4” extension 400mml FOR A COMPLETE INVENTORY ORDER

34519…46 15 Impact socket 3/4”, 6 pt. 19, 21, 22, 23, 24, 27, 28, 30, 32, 33, 34, 36, 38, 41, 46mm

3459019…46 14 Impact socket 3/4”, 6 pt. deep 90mml 19, 21, 22, 23, 24, 27, 30

73645 1 Impact adaptor 3/4”(F) x 1”(M) pin

7 Hinged socket wrench 6x7, 8X9, 10X11, 12X13, 14X15, 16X17, 18X19mm - 4110810…2427 7 Flare nut wrench 8x10, 11X13, 12X14, 16X18, 17X19, 19X22, 24X27mm 4160608…2024 4 TX wrench E6XE8, E10XE12, E14XE18, E20XE24

4110810…3032 8 Flare nut wrench 8x10, 11x13, 12x14, 16x18, 17x19, 19x22, 24x27, 30x32mm 4120607…1819 7 Hinged socket wrench 6x7, 8x9, 10x11, 12x13, 14x15, 16x17, 18x19mm

4170208…19 12 Reversible ratcheting wrench 12 pt. 8, 9, 10, 11, 12, 13, 14, 15, 16, 17, 18, 19mm

4200607…1819 7 Flat double ring wrench 6x7, 8x9, 10x11, 12x13, 14x15, 16x17, 18x19mm

4211012…1417 3 Half-moon wrench 10x12, 11x13, 14x17mm - 42608…17 10 Stubby combination wrench 8, 9, 10, 11, 12, 13, 14, 15, 16, 17mm FOR

SONIC-EQUIPMENT.COM 121 03 403201
SOCKET SET
METRIC & SAE, SFS, 32-PCS 570 X 370MM M 15820 GRAM TOOLS
-
3/4”
-
-
-
LIST SEE OUR WEBSITE 403301
IMPACT SOCKET SET 3/4”, SFS, 33-PCS 570 X 370MM M 19260 GRAM TOOLS
-
# CONTENTS
-
Impact
-
- 7344150 1 Impact extension 3/4” 150mml - 73541 1 Impact universal joint 3/4” (90mml) (ball) FOR A COMPLETE INVENTORY ORDER LIST SEE OUR WEBSITE 603002 - WRENCH SET, SFS, 30-PCS 570 X 370MM M 8680 GRAM TOOLS # CONTENTS -
Combination wrench 6, 7,
11, 12, 13,
24, 25, 26, 27, 28, 29, 30, 32,
34, 36, 38mm FOR A COMPLETE INVENTORY ORDER LIST SEE OUR WEBSITE
WRENCH SET, SFS, 40-PCS 570 X 370MM M 6800 GRAM TOOLS # CONTENTS - 4140607…3032 10 Double open wrench 6x7, 8x9, 10x11, 12x13, 14x15, 16x17, 18x19, 20x22, 24X27, 30X32mm - 41506…32
wrench 6, 7,
9, 10, 11, 12, 13,
15, 16, 17, 18, 19, 20, 21, 22, 23, 24, 27, 30, 32mm -
FOR A COMPLETE INVENTORY ORDER LIST SEE OUR WEBSITE 603003 - WRENCH SET, SFS, 30-PCS 570 X 370MM M 4600 GRAM TOOLS # CONTENTS - 4170208…19 12 Reversible ratcheting wrench 12 pt. 8, 9, 10, 11, 12, 13, 14, 15, 16, 17, 18, 19mm 4120607…1819
FOR A COMPLETE INVENTORY ORDER LIST SEE OUR WEBSITE
570 X 370MM M 6160 GRAM TOOLS
-
-
OUR WEBSITE
32, 33, 34, 36, 38, 41, 46
73643 1
adaptor 3/4”(F) x 1/2”(M)
41506…38 30
8, 9, 10,
14, 15, 16, 17, 18, 19, 20, 21, 22, 23,
33,
604002 -
22 Combination
8,
14,
4190607...2022 8 75° offset ring wrench 6x7, 8x9, 10x11, 12x13, 14x15, 16x17, 18x19, 20X22mm
604702 - WRENCH SET, SFS, 47-PCS
# CONTENTS -
-
A COMPLETE INVENTORY ORDER LIST SEE

Sonic Foam System (SFS)

- 40808…12 5 Flexible flare nut wrench 8, 9, 10, 11, 12mm

- 41202 1 Hinged driver 1/4” - 3/8”

4120809…1617 5 Hinged socket wrench 8x9, 10X11, 12X13, 14X15, 16X17mm

41210608…1418 3 Hinged TX wrench E6XE8, E10xE12, E14XE18

- 4150310…19 10 Combination wrench extra long 10, 11, 12, 13, 14, 15, 16, 17, 18, 19mm

- 4200607…1819 7 Flat double ring wrench 6x7, 8X9, 10X11, 12X13, 14X15, 16X17, 18X19mm

600902 9 TX key set extra long, 9-pcs, T10, T15, T20, T25, T27, T30, T40, T45, T50 601008 10 Hex ball key set extra long 10-pcs, 1.27, 1.5, 2, 2.5, 3, 4, 5, 6, 8, 10mm FOR

# CONTENTS - 4170208…19

ratcheting

pt. 8, 9, 10, 11, 12, 13, 14, 15, 16, 17, 18, 19mm

41506…32 21 Combination wrench 6, 7, 8, 9, 10, 11, 12, 13, 14, 15, 16, 17, 18, 19, 20, 21, 22, 24, 27, 30, 32mm

600902 9 TX key set extra long, 9-pcs, T10, T15, T20, T25, T27, T30, T40,

SONIC-EQUIPMENT.COM 122 03 605001
WRENCH SET, SFS, 50-PCS 570 X 370MM M 4906 GRAM TOOLS # CONTENTS
-
A COMPLETE
SEE OUR WEBSITE 605304 - WRENCH SET SFS, 53-PCS 570 X 370MM M 6800 GRAM TOOLS
12 Reversible
INVENTORY ORDER LIST
wrench 12
-
T45, T50 601008 10 Hex ball key set extra long 10-pcs, 1.27, 1.5, 2, 2.5, 3, 4, 5, 6, 8, 10mm FOR A COMPLETE INVENTORY ORDER LIST SEE OUR WEBSITE 601404 - PLIERS, CHISEL AND HAMMER SET, SFS, 14-PCS 570 X 370MM M 2912 GRAM TOOLS # CONTENTS - 4311175 1 Combination pliers 7” - 4321200 1 Long nose pliers 8” - 4341175 1 Diagonal pliers 7” - 4351250 1 Waterpump pliers 10” - 45118190…24220 2 Grip chisel 190mml 18, 220mml 24 - 4527190
Grip cape chisel 190mml
- 4534180…5200 2 Grip pin punch 180mml 4”, 200mml 5” - 4552185 1 Grip taper punch 185mml 2” - 4611400 1 Machinist hammer with ash handle, 512gr - 46808 1 Utility knife (incl. 10 blades) - 47013 1 Measuring tape 5 meter - 4820110 1 Telescopic magnet FOR A COMPLETE INVENTORY ORDER LIST SEE OUR WEBSITE 601707 - PLIERS, CHISEL AND HAMMER SET, SFS, 17-PCS 570 X 370MM M 5496 GRAM TOOLS # CONTENTS - 4311175 1 Combination pliers 7” - 4321200 1 Long nose pliers 8” - 4331200 1 Bent long nose pliers 8” - 4341175 1 Diagonal pliers 7” - 4351250 1 Waterpump pliers 10” - 4380250 1 Locking pliers 10” - 45118190…24220 2 Grip chisel 190mml 18, 220mml 24 - 4611400 1 Machinist hammer with ash handle, 512gr - 4631000 1 Stoning hammer with ash handle, 1106gr - 46911 1 Flat file 8” - 46912 1 Half round file 8” - 46913 1 Round file 8” - 46914 1 Triangular file 8” - 47013 1 Measuring tape 5 meter - 4820110 1 Telescopic magnet - 4811254 1 Steel wire brush FOR A COMPLETE INVENTORY ORDER LIST SEE OUR WEBSITE
1
7”

# CONTENTS

- 4311175 1 Combination pliers 7”

- 4321200 1 Long nose pliers 8” - 4331200 1 Bent long nose pliers 8” - 4341175 1 Diagonal pliers 7” - 4351250 1 Waterpump pliers 10”

43611 1 Snap ring pliers (straight-open) - 43612 1 Snap ring pliers (straight-close) - 43613 1 Snap ring pliers (bent-open) - 43614 1 Snap ring pliers (bent-close) - 4611400 1 Machinist hammer with ash handle, 512gr - 4631000 1 Stoning hammer with ash handle, 1106gr - 4380250 1 Locking pliers 10”

- 45118190…24220 2 Grip chisel 190mml 18, 220mml 24 - 4533150…6210 4 Grip pin punch 150mml 3”, 180mml 4”, 200mml 5”, 210mml 6” - 4552185…4185 3 Grip taper punch 185mml 2”, 3”, 4”

1 Measuring tape 5 meter

# CONTENTS

4621000 1 Machinist hammer with ash handle, 1000gr - 4611400 1 Machinist hammer with ash handle, 512gr

4652035 1 Hammer with nylon tips 610gr. with ash handle - 4822102 1 Install hammer soft/hard, with ash handle, 366gr

- 4532140…8220 4 Grip pin punch 140mml 2”, 150mml 3”, 180mml 4”, 200mml 5”, 210mml 6”, 220mml 8”, - 4552185…4185 3 Grip taper punch 185mml 2”, 3”, 4” - 4527190 1 Grip cape chisel 190mml 7 - 45110141…24220 2 Grip chisel 140mml 10, 160mml 12, 170mml 16, 190mml 18, 220mml 24 FOR A COMPLETE INVENTORY ORDER LIST SEE OUR WEBSITE

4631000 1 Stoning hammer with ash handle, 1106gr

4621000 1 Machinist hammer with ash handle, 1000gr

4611400 1 Machinist hammer with ash handle, 512gr

4652035 1 Hammer with nylon tips 610gr. with ash handle

4822102 1 Install hammer soft/hard, with ash handle, 366gr

4532140…8220 4 Grip pin punch 140mml 2”, 150mml 3”, 180mml 4”, 200mml 5”, 210mml 6”, 220mml 8”,

SONIC-EQUIPMENT.COM 123 03 602209 - CHISEL, HAMMER & PLIERS SET, SFS, 22-PCS 570
M 5654 GRAM TOOLS
X 370MM
-
-
FOR A COMPLETE INVENTORY ORDER LIST SEE OUR WEBSITE 601909 - CHISEL & HAMMER SET SFS, 19-PCS 570 X 370MM M HEAVY DUTY 5288 GRAM TOOLS
47013
-
-
602010
CHISEL
HAMMER
570 X 370MM M HEAVY DUTY 5486 GRAM TOOLS #
-
-
-
-
-
-
- 4552185…4185 3 Grip taper punch 185mml 2”, 3”, 4” - 4527190 1 Grip cape chisel 190mml 7 - 45110141…24220 2 Grip chisel 140mml 10, 160mml 12, 170mml 16, 190mml 18, 220mml 24 FOR A COMPLETE INVENTORY ORDER LIST SEE OUR WEBSITE 601207 - PLIERS SET, SFS, 12-PCS 570 X 370MM M 3326 GRAM TOOLS # CONTENTS - 4311175 1 Combination pliers 7” - 4321200 1 Long nose pliers 8” - 4331200 1 Bent long nose pliers 8” - 4341175 1 Diagonal pliers 7” - 4351250 1 Waterpump pliers 10” - 43611 1 Snap ring pliers (straight-open) - 43612 1 Snap ring pliers (straight-close) - 43613 1 Snap ring pliers (bent-open) - 43614 1 Snap ring pliers (bent-close) - 4380250 1 Locking pliers 10” - 4381225 1 Long nose locking pliers 225mml - 4382125 1 Curved jaw locking pliers 125mml FOR A COMPLETE INVENTORY ORDER LIST SEE OUR WEBSITE
-
&
SET SFS, 20-PCS
CONTENTS

Sonic Foam System (SFS)

4311175 1 Combination pliers 7”

4341180 1 Diagonal pliers

4321200 1 Long nose pliers 8”

4331200 1 Bent long nose pliers 8”

4351250 1 Waterpump pliers 10”

43611 1 Snap ring pliers (straight-open)

43612 1 Snap ring pliers (straight-close)

43613 1 Snap ring pliers (bent-open)

43614 1 Snap ring pliers (bent-close)

4380250 1 Locking pliers 10”

47013 1 Measuring tape 5 meter

46808-1 1 10-pcs spare blades dispenser (46808)

46808 1 Utility knife (incl. 10- spare blades)

47003 1 Vernier caliper

47002 1 Feeler gauge 26-pcs

SONIC-EQUIPMENT.COM 124 03 604207 - PLIERS SET SFS, 42-PCS 570 X 370MM M 4290 GRAM TOOLS #
-
-
-
-
-
-
-
-
-
-
-
-
-
-
601606 - CHISEL & HAMMER SET, SFS, 16-PCS 570 X 370MM M 4148 GRAM TOOLS # CONTENTS -
-
-
190mml 18 - 45124220 1 Grip chisel 190mml 24 - 4533150 1 Grip pin punch 150mml 3 - 4534180 1 Grip pin punch 180mml 4 - 4535200 1 Grip pin punch 200mml 5 - 4536210 1 Grip pin punch 210mml 6 - 4538220 1 Grip pin punch 220mml 8 - 4564185 1 Grip center punch 185mml 4 - 4611400 1 Machinist hammer with ash handle, 512gr - 4652035 1 Hammer
nylon
- 4822102
Install hammer soft/hard, with ash handle, 366gr - 4811254 1 Steel wire brush - 4821301 1 Wedge universal 190x30mm - 4820207 1 Flexible magnet pickup 500g-400L FOR A COMPLETE INVENTORY ORDER LIST SEE OUR WEBSITE 601601 - CHISEL & HAMMER SET, SFS, 16-PCS 570 X 370MM M 3700 GRAM TOOLS # CONTENTS - 45110141 1 Grip chisel 140mml 10 - 45112160 1 Grip chisel 160mml 12 - 45118190 1 Grip chisel 190mml 18 - 45124220 1 Grip chisel 220mml 24 - 4527190 1 Grip cape chisel 190mml 7 - 4533150 1 Grip pin punch 150mml 3 - 4534180 1 Grip pin punch 180mml 4 - 4535200 1 Grip pin punch 200mml 5 - 4536210 1 Grip pin punch 210mml 6 - 4552185 1 Grip taper punch 185mml 2 - 4553185 1 Grip taper punch 185mml 3 - 4554185 1 Grip taper punch 185mml 4 - 4564185 1 Grip center punch 185mml 4 - 4611400 1 Machinist hammer with ash handle, 512gr - 4620400 1 Install hammer soft/hard, with ash handle, 608gr - 4631000 1 Stoning hammer with ash handle, 1106gr FOR A COMPLETE INVENTORY ORDER LIST SEE OUR WEBSITE
CONTENTS
-
-
-
-
46912 1 Half round file 8”
46913 1 Round file 8”
47004 1 Stainless steel straight ruler 30cm FOR A COMPLETE INVENTORY ORDER LIST SEE OUR WEBSITE
4720107 1 Empty tray (54x110x45mm)
4820545 1 Pocket-sized, ultra-slim work light
45118190 1 Grip chisel
with
tips 610gr. with ash handle
1
SONIC-EQUIPMENT.COM 125 03 604402 - UTILITY TOOLS SET, SFS, 44-PCS 570 X 370MM M 2738 GRAM TOOLS # CONTENTS - 45602 1 Auto center punch - 46602 1 Mini hacksaw - 46603 1 Saw blade (3-pcs) - 46808 1 Utility knife (incl. 10- spare blades) - 46808-1 1 10-pcs spare blades dispenser (46808) - 46905 1 Brake caliper file - 46911 1 Flat file 8” - 46912 1 Half round file 8” - 46913 1 Round file 8” - 46914 1 Triangular file 8” - 47002 1 Feeler gauge 26-pcs - 47003 1 Vernier caliper - 47004 1 Stainless steel straight ruler 30cm - 47005 1 Stainless steel protractor - 47013 1 Measuring tape 5 meter - 47028 1 Tire profile gauge 50mm - 4811254 1 Steel wire brush - 48212380 1 Pry bar 380mml - 4821301 1 Wedge (190x30mm) universal FOR A COMPLETE INVENTORY ORDER LIST SEE OUR WEBSITE 602104 - SOCKET SCREWDRIVER, HEX & GRIPS KEY SET, SFS, 21-PCS 570 X 370MM M 3100 GRAM TOOLS # CONTENTS 12425008…13 9 Hex nut driver 4, 5, 5.5, 6, 9, 10, 11, 12, 13mm 1950202…12 10 Hex ball point grip key 2, 2.5, 3, 4, 5, 6, 7, 8, 10, 12mm 47537…38 2 Flexible hex nut driver 7, 8mm FOR A COMPLETE INVENTORY ORDER LIST SEE OUR WEBSITE
HEX &
KEY SET, SFS, 21-PCS 570 X 370MM M 2796 GRAM TOOLS # CONTENTS 12425004…13 9 Hex nut driver 4, 5, 5.5, 6, 9, 10, 11, 12, 13mm 1960208…50 10 TX grip key T8, T10, T15, T20, T25, T27, T30, T40, T45, T50 47537...38 2 Flexible hex nut screwdriver 7, 8mm FOR A COMPLETE INVENTORY ORDER LIST SEE OUR WEBSITE
602105 - SOCKET SCREWDRIVER,
GRIP
570 X 370MM M 1762 GRAM TOOLS # CONTENTS 1950202…10 9 Hex ball point grip key 2, 2.5, 3, 4, 5, 6, 7, 8, 10mm 1960208…45 9 TX grip key T8, T10, T15, T20, T25, T27, T30, T40, T45 FOR A COMPLETE INVENTORY ORDER LIST SEE OUR WEBSITE
601806 - HEX BALL GRIP KEY SET, SFS, 18-PCS

Sonic Foam System (SFS)

# CONTENTS

- 821001-1 1 Wedge 180mm

- 821001-2 1 Wedge 180mm

- 821001-3 1 Wedge 180mm

821001-4 1 Wedge 180mm - 821001-5 1 Wedge 180mm

821001-6 1 Wedge 180mm

821001-7 1 Wedge 180mm - 821001-8 1 Wedge 180mm

- 821001-9 1 Wedge 180mm

821001-10 1 Wedge 180mm

821001-11 1 Wedge 180mm

821001-12 1 Wedge 180mm - 821001-13 1 Wedge 180mm

- 821001-14 1 Wedge 180mm

- 821001-15 1 Wedge 180mm - 821001-16 1 Wedge 180mm

- 821001-17 1 Wedge 180mm - 821001-18 1 Wedge 180mm

821001-19 1 Wedge 180mm

- 821001-20 1 Wedge 180mm

- 821001-21 1 Wedge 180mm - 821001-22 1 Wedge 180mm

- 821001-23 1 Wedge 180mm

- 821001-24 1 Wedge 180mm

- 821001-25 1 Wedge 180mm

- 821001-26 1 Wedge 180mm

- 821001-27 1 Wedge 180mm FOR

CONTENTS - 601907-1 1 SW100.5mm 15 point: Mazda, Mitsubishi - 601907-2 1 SW94.5mm 15 point: Nissan, Toyota - 601907-3 1 SW92mm 15 point: Nissan, Subaru

601907-4 1 SW79mm, 15 point: Toyota, Mitsubishi, Subaru, Mazda, Lsuzu - 601907-5 1 SW87mm, 16 point: Volvo - 601907-6 1 SW79.5mm, 14 point: Lexus - 601907-7 1 SW70mm, 14 point: Toyota

- 601907-8 1 SW63-64mm, 14 point: Toyota

- 601907-9 1 SW66.5mm, 14 point: Ford, Mazda - 601907-10 1 SW84mm, 14 point: 2007 Dodger Sprinter, 2007 Mercedec-Benz E320, 2007 Jeep Cherokee V6 Common rall diesel engines - 601907-11 1 27mm: Benz A class - 601907-12 1 24mm: BMW 2004 and newer 5,7 Series and X5 with V8 motor (N62) Saturn 2008 Astra with Chrysier 2011 aftr with 3.6L V6 engine, 200, 300 and T/C Dodge Jeep - 601907-13 1 30mm: Audi A2, VW Polo, Lupo 1.4L or 1.6L engine - 601907-14 1 Adaptor: 1/2” - 3/8” - 601907-15 1 Oil filter claw wrench: 55mm - 90mm - 601907-16 1 32.5mm: Opel Astra G. Corsa B.Zafira Audi - 601907-17 1 38mm: Opel Vectra 2.0D - 601907-18 1 36mm: Opel Omega, Vectra B, Zafira (98 on), BMW M43/60, Benz Vito CDI, C and E Class - 601907-19 1 SW74mm, 14 point: Mercedes-Benz FOR A COMPLETE INVENTORY ORDER LIST SEE OUR WEBSITE

SONIC-EQUIPMENT.COM 126 03 602712 - PRY REMOVAL MASTER KIT, SFS 27-PCS 570 X 370MM M 1180 GRAM TOOLS
-
-
-
-
-
-
-
A COMPLETE
LIST SEE OUR WEBSITE 601907 - ALUMINUM OIL FILTER CUP WRENCH SET, SFS, 19-PCS 570 X 370MM M 3500 GRAM TOOLS
INVENTORY ORDER
#
-

CONTENTS

4720107 1 Empty tray (54x110x45mm)

4820545 1 Pocket-sized, ultra-slim work light

45118190 1 Grip chisel 190mml 18

45124220 1 Grip chisel 190mml 24

4533150 1 Grip pin punch 150mml 3

4534180 1 Grip pin punch 180mml 4

4535200 1 Grip pin punch 200mml 5

4536210 1 Grip pin punch 210mml 6

4538220 1 Grip pin punch 220mml 8

4564185 1 Grip center punch 185mml 4

4611400 1 Machinist hammer with ash handle, 512gr

4652035 1 Hammer with nylon tips 610gr. with ash handle

4631000 1 Stoning hammer with ash handle, 1106gr

SONIC-EQUIPMENT.COM 127 03 601607 - CHISEL & HAMMER SET, SFS, 16-PCS 570 X 370MM M 4088 GRAM TOOLS
-
-
-
-
-
-
-
-
-
-
- 4811254
- 4821301
- 4820207
Flexible magnet pickup
FOR A COMPLETE INVENTORY ORDER LIST SEE OUR WEBSITE 604104 - PLIERS SET SFS, 41-PCS 570 X 370MM M 3555 GRAM TOOLS # CONTENTS - 4311175
Combination
7” - 4341180
- 4321200
- 4331200
-
- 43611
-
-
-
-
pliers 10” - 47013 1 Measuring tape 5 meter - 46808-1 1 10-pcs spare blades dispenser (46808) - 46808 1 Utility knife (incl. 10- spare blades) - 47003 1 Vernier caliper - 47002 1 Feeler gauge 26-pcs - 46912 1 Half round file 8” - 46913 1 Round file 8” FOR A COMPLETE INVENTORY ORDER LIST SEE OUR WEBSITE
570 X 370MM M 4707 GRAM TOOLS # CONTENTS - 4311175 1 Combination pliers 7” - 4321200 1 Long nose pliers 8” - 4331200 1 Bent long nose pliers 8” - 4341175 1 Diagonal pliers 7” - 4351250 1 Waterpump pliers 10” - 4380250 1 Locking pliers 10” - 45118190…54185 2 Grip chisel 190mml 18, 185mml 18 - 4611400 1 Machinist hammer with ash handle, 512gr - 4631000 1 Stoning hammer with ash handle, 1106gr - 600624 6 Pin punch set 2, 3, 4, 5, 6, 8mm - 46808 1 Utility knife (incl. 10 blades) - 46808-1 1 10-pcs spare blades dispenser (46808) - 47013 1 Measuring tape 5 meter FOR A COMPLETE INVENTORY ORDER LIST SEE OUR WEBSITE 602213 - SCREWDRIVER SET, SFS, 22-PCS 570 X 370MM M 4130 GRAM TOOLS # CONTENTS - 47829 1 Mini straight pick hook - 47830 1 Mini degree hook - 47831 1 Mini full hook - 47832 1 Mini small angle hook - 47833...34 2 Straight removal tool 155mm, 225mm - 47835...36 2 Angle removal tool 155mm, 225mm - 47904 1 Cotter pin puller - 47905 1 Radiator hose remover - 47906 1 Trim pad tool 1/4” x 115mml - 47907 1 Trim pad tool 5/16” x 115mml - 47908 1 Door upholstery panel remover 132mml - 47901 1 Door upholstery panel remover 100mml - 47902 1 Door upholstery panel remover 110mml - 47909 1 Straight pick (6x135) - 47910 1 Degree hook (6x135) - 47911 1 Full hook (6x135) - 47912 1 Small angle hook (6x135) - 47903 1 Scraper - 4821308…12 2 Pry bar 200mml 8”, 300mml 12” FOR A COMPLETE INVENTORY ORDER LIST SEE OUR WEBSITE
#
-
-
-
1 Steel wire brush
1 Wedge universal 190x30mm
1
500g-400L
1
pliers
1 Diagonal pliers
1 Long nose pliers 8”
1 Bent long nose pliers 8”
4351250 1 Waterpump pliers 10”
1 Snap ring pliers (straight-open)
43612 1 Snap ring pliers (straight-close)
43613 1 Snap ring pliers (bent-open)
43614 1 Snap ring pliers (bent-close)
4380250 1 Locking
601812 - PLIERS, CHISEL AND HAMMER SET, SFS, 19-PCS

Sonic Foam System (SFS)

1311…3 3 Screwdriver PH.1, PH.2, PH.3

13303…10 7 Screwdriver slotted, 3, 3.5, 4, 5.5, 6.5, 8, 10mm

- 4821308 1 Pry bar 200mml 8”

72402 1 Spinner 1/4”, 150mml

multi 601001 16 16 in 1 ratchet screwdriver

21504…13 12 Flank socket 1/4”, 6 pt. 4, 4.5, 5, 5.5, 6, 7, 8, 9, 10, 11, 12, 13mm

2155004…7 4 Flank deep socket 1/4”, 6 pt. 4, 5, 6, 7mm

8143703…10 7 Bit socket hex 1/4”, 3, 4, 5, 6, 7, 8, 10mm

8163708…40 8 Bit socket TX 1/4”, T8, T10, T15, T20, T25, T27, T30, T40

600902 9 TX key set extra long, 9-pcs, T15, T20, T25, T27, T30, T40, T45, T50

601008 10 Hex ball key set extra long 10-pcs, 1.27, 1.5, 2, 2.5, 3, 4, 5, 6, 8, 10mm

7110301 1 Disc ratchet 1/4”, 72 teeth

7121501 1 Ratchet 1/4” 60 teeth - 7141050…150 3 Extension 1/4” 50, 100, 150mml

71511 1 Universal joint 1/4”

72225 1 Magnet socket pick-up 1/4” FOR A COMPLETE INVENTORY ORDER LIST SEE OUR WEBSITE

1310…12 2 Screwdriver PH.0, PH.1, PH.2

13303…65 3 Screwdriver slotted, 3, 4, 6.5mm

21503…12 12 Flank socket 1/4”, 6 pt. 3, 4, 4.5, 5, 5.5, 6, 7, 8, 9, 10, 11, 12mm

41506…24 18 Combination wrench 6, 7, 8, 9, 10, 11, 12, 13, 14, 15, 16, 17, 18, 19, 20, 21, 22, 24mm

7110301 1 Disc ratchet 1/4” 72 teeth - 7121501 1 Ratchet 1/4” 60 teeth - 7131115 1 Sliding T-handle 1/4” - 7141050…100 2 Extension 1/4” 50, 100mml

71511 1 Universal joint 1/4” - 72402 1 Spinner 1/4” 150mml

8143703…07 6 Bit socket hex 1/4”, 3, 4, 5, 5.5, 6, 7mm

8163710…30 6 Bit socket TX 1/4”, T10, T15, T20, T25, T27, T30 FOR A COMPLETE INVENTORY ORDER LIST SEE OUR WEBSITE

216303 - COMBINATION SET 1/4”, SFS, 163-PCS

# CONTENTS

22510…22 12 Flank socket 3/8”, 6 pt 10, 11, 12, 13, 14, 15, 16, 17, 18, 19, 21, 22mm

2155004…13 11 Flank deep socket 1/4”, 6 pt. 4, 4.5, 5, 5.5, 6, 7, 8, 10, 11, 12, 13mm

22610…20 7 Socket TX 3/8”, E10, E11, E12, E14, E16, E18, E20

2256311…22 13 Flank deep socket 3/8”, 6 pt. 10, 11, 12, 13, 14, 15, 16, 17, 18 ,19, 20, 21, 22mm

21604…10 6 Socket TX 1/4”, E4, E5, E6, E7, E8, E10

2165004…10 5 Deep socket TX 1/4”, E4, E5, E6, E7, E8

2266310…20 7 Deep socket TX 3/8”, E10, E11, E12, E14, E16, E18, E20

8244806…12 5 Bit socket hex 3/8”, 6, 7, 8, 9, 10mm

8123700…02 3 Bit socket PZ 1/4”, PZ.0, PZ.1, PZ.2

8284805…12 6 Bit socket spline 3/8”, M5, M6, M8, M9, M10, M12 8143703…10 8 Bit socket hex 1/4”, 3, 4, 5, 5.5, 6, 7, 8, 10mm 8264825…50 6 Bit socket TX 3/8”, T25, T27, T30, T40, T45, T50 8274840…60 7 Bit socket TX tamperproof 3/8”, T40H, T45H, T50H , T55H , T60H 8173709…40 11 Bit socket TX tamperproof 1/4”, T9H, T10H, T15H, T20H, T25H, T27H, T30H, T40H 8153710…45 8 1/4” Tamper-Res. TX plus 10IPR, 15IPR, 20IPR, 25IPR, 27IPR, 30IPR, 40IPR, 45IPR(5 lobes)

8183704…10 5 Bit socket spline 1/4”, M4, M5, M6, M8, M10 7172216…21 3 Spark plug clip socket 3/8”, 16, 18, 21mm 7172214 1 Spark plug clip socket 3/8”, 12 pt. 14mm

72402 1 Spinner 1/4”, 150mml - 7141100…250 3 Extension 1/4”, 100, 150, 250mml

7261250 1 Wobble extension 1/4” 250mml

7142075…250 3 Extension 3/8”, 75, 150, 250mml

7121501 1 Ratchet 1/4”, 60 teeth

7121101 1 Twister ratchet 1/4”

7121502 1 Ratchet 3/8”, 60 teeth - 7121102 1 Twister ratchet 3/8”

7110301 1 Disc ratchet 1/4”, 72 teeth

7110302 1 Disc ratchet 3/8”, 72 teeth - 72225 1 Magnet socket pick-up 1/4”

71912 1 Adaptor 1/4”(F) x 3/8”(M)

71921 1 Adaptor 3/8”(F) x 1/4”(M)

71932 1 Adaptor 1/2”(F) x 3/8”(M)

71511 1 Universal joint 1/4”

71521 1 Universal joint 3/8”

41202 1 Hinged driver 1/4” - 3/8” FOR A COMPLETE INVENTORY ORDER LIST SEE OUR WEBSITE

SONIC-EQUIPMENT.COM 128 03 607001
70-PCS
- SCREWDRIVER SET 1/4”, SFS,
M
570 X 370MM
3380 GRAM TOOLS 3 CONTENTS
-
-
-
-
605501 - COMBINATION SET
SCREWDRIVER
WRENCH, SFS, 55-PCS 570 X 370MM M 3298 GRAM TOOLS # CONTENTS
-
1/4”
AND
-
-
-
570 X 370MM M 5800 GRAM TOOLS
-
-
-
-
-
-
-
-
-
-
-
-
-
-

23510…32 20 Flank socket 1/2”, 6 pt. 10, 11, 12, 13, 14, 15, 16, 17, 18, 19, 20, 21, 22, 23, 24, 26, 27, 28, 30, 32mm

23612…24 7 Socket 1/2”, TX E12, E14, E16, E18, E20, E22, E24

33510…19 10 Impact socket 1/2”, 6pt. 10, 11, 12, 13, 14, 15, 16, 17, 18, 19mm

3398530…36 4 Impact socket 1/2”, 12pt. deep 30, 32, 34, 36mm

3310717…21 3 Wheel socket 1/2”, 6pt. 17, 19, 21mm

7273380 1 Swivel grip handle 1/2” 370mmL

7121503 1 Ratchet 1/2” 60 teeth - 7143125..250 2 Extension 1/2” 125, 250mmL

71531 1 Universal joint 1/2”

7263050 1 Wobble extension 1/2” 50mmL

83406206…17 8 Bit socket hex 1/2”, 6, 7, 8, 9, 10, 12, 14, 17mm

86406006…17 8 Impact Hex one-piece 1/2” 6, 7, 8, 9, 10, 12, 14, 17mm

86606027…70 8 Impact TX one-piece 1/2” T27, T30, T40, T45, T50, T55, T60, T70

83606227…70 8 Bit socket TX 1/2”, T27, T30, T40, T45, T50, T55, T60, T70

83806216T 1 Bit socket spline 1/2”, M16-T

83806205…14 7 Bit socket spline 1/2”, M5, M6, M8, M9, M10, M12, M14

86404314…19 3 Bit socket impact hex 1/2”, one-piece 14, 17, 19mm

73531 1 Impact universal joint 1/2”

83805517 1 Bit socket XZN 1/2”, M17 55mmL FOR A COMPLETE INVENTORY ORDER LIST SEE OUR WEBSITE 306902 - COMBINATION SET 3/8” & 1/2”,

22506…22 17 Flank socket 3/8”, 6 pt. 6, 7, 8, 9, 10, 11, 12, 13, 14, 15, 16, 17, 18, 19, 20, 21, 22mm

7110302 1 Disc ratchet 3/8” 72 teeth

- 7121502 1 Ratchet 3/8” 60 teeth

- 7142075…250 3 Extension 3/8” 75, 150, 250mml - 71521 1 Universal joint 3/8”

8244803…10 9 Bit socket hex 3/8”, 3, 4, 5, 5.5, 6, 7, 8, 9, 10mm

8264815…55 9 Bit socket TX 3/8”, T15, T20, T25, T27, T30, T40, T45, T50, T55

23510…32 22 Flank socket 1/2” 6 pt. 10, 11, 12, 13, 14, 15, 16, 17, 18, 19, 20, 21, 22, 23, 24, 25, 26, 27, 28, 29, 30, 32mm

7121503 1 Ratchet 1/2” 60 teeth

- 7143125…250 2 Extension 1/2” 125, 250mml

71531 1 Universal joint 1/2”

71632 1 Adaptor for extension 1/2”(F) x 3/8”(M)

71623 1 Adaptor for extension 3/8”(F) x 1/2”(M)

307101 - COMBINATION SET 3/8” & 1/2”, SFS, 71-PCS

# CONTENTS

22510…21 12 Flank socket 3/8”, 6 pt. 10, 11, 12, 13, 14, 15, 16, 17, 18, 19, 20, 21mm

22607...14 6 Socket TX 3/8”, E7, E8, E10, E11, E12, E14

23516…32 11 Flank socket 1/2” 6 pt. 16, 17, 18, 19, 20, 21, 22, 24, 27, 30, 32mm

601008 10 Hex ball key set extra long 10-pcs, 1.27, 1.5, 2, 2.5, 3, 4, 5, 6, 8, 10mm

600902 9 TX key set extra long, 9-pcs, T10, T15, T20, T25, T27, T30, T40, T45, T50

8244805…10 6 Bit socket hex 3/8”, 5, 6, 7, 8, 9, 10mm

8264825…50 6 Bit socket TX 3/8”, T25, T27, T30, T40, T45, T50 - 7110302 1 Disc ratchet 3/8” 72 teeth

7121502 1 Ratchet 3/8” 60 teeth

7142075…250 3 Extension 3/8” 75, 150, 250mml

71521 1 Universal joint 3/8”

7121503 1 Ratchet 1/2” 60 teeth

7143125…250 2 Extension 1/2” 125, 250mml - 71531 1 Universal joint 1/2” - 71632 1 Adaptor for extension 1/2”(F) x 3/8”(M)

SONIC-EQUIPMENT.COM 129 03 309510 - COMBINATION SET 1/2”, SFS 95-PCS 570 X 370MM M 11720 GRAM TOOLS # CONTENTS
-
-
-
-
-
SFS, 69-PCS 570 X 370MM M 5612 GRAM TOOLS
CONTENTS
#
-
-
-
-
-
FOR A COMPLETE INVENTORY ORDER LIST SEE OUR WEBSITE
570 X 370MM M 5197 GRAM TOOLS
-
-
-
-
-
FOR A COMPLETE INVENTORY ORDER LIST SEE OUR WEBSITE 604309 - WRENCH SET, SFS, 43-PCS 570 X 370MM M 5845 GRAM TOOLS # CONTENTS 4120809…18x19 6 Hinged socket wrench 8x9,
18x19mm - 4110810...1214 3 Flare nut wrench 8x10, 11x13, 12x14mm - 42610…17 3 Stubby combination wrench 10, 13, 17mm - 4170208…19 12 Reversible ratcheting wrench 12 pt. 8, 9, 10, 11, 12, 13, 14, 15, 16, 17, 18, 19mm - 41706…24 18 Combination wrench 6, 7, 8, 9, 10, 11, 12, 13, 14, 15, 16, 17, 18, 19, 20, 21, 22, 24mm FOR A COMPLETE INVENTORY ORDER LIST SEE OUR WEBSITE
10x11, 12x13, 14x15, 16x17,

Sonic Foam System (SFS)

SONIC-EQUIPMENT.COM 130 03 604208 - WRENCH SET, SFS, 42-PCS 570 X 370MM M 7304 GRAM TOOLS # CONTENTS - 4110810...1214
42610…17
- 41706…24
wrench
15, 16,
19, 20, 21, 22, 24, 26, 28, 30, 32mm FOR A COMPLETE INVENTORY ORDER LIST SEE OUR WEBSITE 602805 - WRENCH SET, SFS, 28-PCS 570 X 370MM M 2950 GRAM TOOLS # CONTENTS - 4140607…3032 10 Double open wrench 6x7,
10x11, 12x13, 14x15, 16x17, 18x19, 20x22, 24x27, 30x32mm 4120607…1819 6 Hinged socket wrench
-
wrench
18x19, 20x22mm 41210608…2024 4 Hinged TX wrench E6XE8, E10xE12, E14XE18, E20XE24 FOR A COMPLETE INVENTORY ORDER LIST SEE OUR WEBSITE 47612 - S15 FOAM SPACER, SFS 102 GRAM # CONTENTS 47612 - S15 foam spacer 604302 - BRAKE CALIPER SET, SFS, 43-PCS 570 X 370MM M 4960 GRAM TOOLS # CONTENTS - 809007-1 1 0 Disc - 809007-2 1 2 disc - 809007-3 1 - 809007-4 1 4 Disc - 809007-5 1 6 Disc - 809007-6 1 7 Disc - 809007-7 1 8 Disc -
1 9 Disc - 809007-9 1 Holder plate 11 - 809007-10 1 Holder plate 12 - 809007-11 1 A Disc - 809007-12 1 B disc - 809007-13 1 C disc - 809007-14 1 D Disc - 809007-15 1 E Disc - 809007-16 1 F Disc - 809007-17 1 G Disc - 809007-18 1 6mm 147mm - 809007-19 1 7mm 147mm - 809007-20 1 J Disc - 809007-21 1 K Disc -
1 K1 Disc -
1 K2 Disc -
1 M Disc -
1 N Disc - 809007-26 1 3mm 164mm - 809007-27 1 5,5mm 164mm -
1 P Disc - 809007-29 1 R Disc -
1 S Disc -
1 Z Disc -
1 110mm -
1 Holder plate 0 -
1 Holder plate 1 -
1 5 Disk - 830002 1 - 830003 1 - 830004 1 300306-1 1 10mm 56mm 300306-2 1 14mm 38mm 300306-3 1 19mm 38mm - 805010 1 160mm - 805011 1 160mm FOR A COMPLETE INVENTORY ORDER LIST SEE OUR WEBSITE
3 Flare nut wrench 8x10, 11x13, 12x14mm -
3 Stubby combination wrench 10, 13, 17mm - 4170208…19 12 Reversible ratcheting wrench 12 pt. 8, 9, 10, 11, 12, 13, 14, 15, 16, 17, 18, 19mm
24 Combination
6, 7, 8, 9, 10, 11, 12, 13, 14,
17, 18,
8x9,
8X9, 10X11, 12X13, 14X15, 16X17, 18X19mm
4190607...2022 8 75° offset ring
6x7, 8x9, 10x11, 12x13, 14x15, 16x17,
809007-8
809007-22
809007-23
809007-24
809007-25
809007-28
809007-30
809007-31
809007-32
809007-33
809007-34
809007-35

21905…13 9 Socket 1/4”, 12 pt. 3/16”, 7/32”, 1/4”, 9/32”, 5/16”, 11/32”, 3/8”, 7/16”, 1/2”

2195005…12 9 Socket deep 1/4”, 12 pt. 3/16”, 7/32”, 1/4”, 9/32”, 5/16”, 11/32”, 3/8”, 7/16”, 1/2”

22910…21 8 Socket 3/8”, 12 pt. 3/8”, 7/16”, 1/2”, 9/16”, 5/8”, 11/16”, 3/4”,13/16”

2296310…21 8 Socket deep 3/8”, 12 pt. 3/8”, 7/16”, 1/2”, 9/16”, 5/8”, 11/16”, 3/4”, 13/16”

23910…32 15 Socket 1/2”, 12 pt. 3/8”, 7/16”, 1/2”, 9/16”, 5/8”, 11/16”, 3/4”, 13/16”, 7/8”, 15/16”, 1”, 1.1/16”, 1.1/8”, 1.3/16”, 1.1/4”

2397710…32 15 Socket 1/2”, 12 pt. deep 3/8”, 7/16”, 1/2”, 9/16”, 5/8”, 11/16”, 3/4”, 13/16”, 7/8”, 15/16”, 1”, 1.1/16”, 1.1/8”, 1.3/16”, 1.1/4”

81413703…10 7 Bit socket hex 1/4” 1/8”, 5/32”, 3/16”, 7/32”, 1/4”, 5/16”, 3/8”

82414803…13 9 Bit socket hex 3/8”, 1/8”, 5/32”, 3/16”, 7/32”, 1/4”, 5/16”, 3/8”, 7/16”, 1/2”

834106205…17 10 Bit socket hex 1/2”, 3/16”, 1/4”, 9/32”, 5/16”, 11/32”, 3/8”, 7/16”, 1/2”, 9/16”, 5/8”

601003 10 Hex key wrench, extra long set 10-pcs , 1/16”, 5/64”, 3/32”, 1/8”, 5/32”, 3/16”, 7/32”, 1/4”, 5/16”, 3/8” FOR A COMPLETE INVENTORY ORDER LIST SEE OUR WEBSITE

21905…13 9 Socket 1/4”, 12 pt. 3/16”, 7/32”, 1/4”, 9/32”, 5/16”, 11/32”, 3/8”, 7/16”,1/2”

2195005…12 9 Deep socket 1/4”, 12 pt. 3/16”, 7/32”, 1/4”, 9/32”, 5/16”, 11/32”, 3/8”, 7/16”, 1/2”

22910…19 7 Socket 3/8”, 12 pt. 3/8”, 7/16”, 1/2”, 9/16”, 5/8”, 11/16”, 3/4”

2296310…19 7 Deep socket 3/8”, 12 pt. 3/8”, 7/16”, 1/2”, 9/16”, 5/8”, 11/16”, 3/4”

23921…32 8 Socket 1/2”, 12 pt. 13/16”, 7/8”, 15/16”, 1”, 1.1/16”, 1.1/8”, 1.3/16”, 1.1/4”

2397721…32 8 Deep socket 1/2”, 12 pt. 13/16”, 7/8”, 15/16”, 1”, 1.1/16”, 1.1/8”, 1.3/16”, 1.1/4”

81413703…06 4 Bit socket hex 1/4”, 1/8”, 5/32”, 3/16”, 7/32”

82414803…13 9 Bit socket hex 3/8”, 1/8”, 5/32”, 3/16”, 7/32”, 1/4”, 5/16”, 3/8”, 7/16”, 1/2”

834106210…17 5 Bit socket hex 1/2”, 3/8”, 7/16”, 1/2”, 9/16”, 5/8”

601003 10 Hex key wrench, extra long set 10-pcs, 1/16”, 5/64”, 3/32”, 1/8”, 5/32”, 3/16”, 7/32”, 1/4”, 5/16”, 3/8”

7110201 1 Rotor ratchet 1/4”, 72 teeth

- 7110301 1 Disc ratchet 1/4”, 72 teeth

- 7141050…150 3 Extension 1/4” 50, 100, 150mml

- 7110202 1 Rotor ratchet 3/8”, 72 teeth - 7110302 1 Disc ratchet 3/8”, 72 teeth

- 7142044…250 4 Extension 3/8” 44mml, 75mml, 150mml, 250mml -

71522 1 Universal ball joint 3/8”

71632 1 Adaptor for extension 1/2”(F) x 3/8”(M)

- 7110203 1 Rotor ratchet 1/2”, 72 teeth

- 7143125…250 2 Extension 1/2” 125mml, 250mml

- 71531 1 Universal ball joint 1/2” FOR A COMPLETE INVENTORY ORDER LIST SEE OUR WEBSITE 603101

4150206…24 12 Combination wrench 1/4”, 5/16”, 3/8”, 7/16”, 1/2”, 9/16”, 5/8”, 11/16”, 3/4”, 13/16”, 7/8”, 1 5/16”

4220608…2932 8 Double open wrench 1/4”x5/16”, 3/8”x7/16”, 1/2”x9/16”, 5/8”x11/16”, 11/16”x3/4”, 13/16”x7/8”, 15/16”x1”, 1.1/8”x1.1/4” - 4270608…2425 7 45° offset ring wrench 1/4”x5/16”, 3/8”x7/16”, 1/2”x9/16”, 9/16”x5/8”, 11/16”x3/4”, 13/16”x7/8”, 15/16”x1”

4250608…1617 4 Flare nut wrench 1/4”x5/16”, 3/8”x7/16”, 1/2”x9/16”, 5/8”x11/16” FOR

22910…19 7 Socket 3/8”, 12 pt. 3/8”, 7/16”, 1/2”, 9/16”, 5/8”, 11/16”, 3/4”

2296310…19 7 Socket deep 3/8”, 12 pt. 3/8”, 7/16”, 1/2”, 9/16”, 5/8”, 11/16”, 3/4”

21905…13 9 Socket 1/4”, 12 pt. 3/16”, 7/32”, 1/4”, 9/32”, 5/16”, 11/32”, 3/8”, 7/16”, 1/2”

2195005…12 9 Deep socket 1/4”, 12 pt. 3/16”, 7/32”, 1/4”, 9/32”, 5/16”, 11/32”, 3/8”, 7/16”, 1/2” 23921…32 8 Socket 1/2”, 12 pt. 13/16”, 7/8”, 15/16”, 1”, 1.1/16”, 1.1/8”, 1.3/16”, 1.1/4” 2397721…32 8 Deep socket 1/2”, 12 pt. 13/16”, 7/8”, 15/16”, 1”, 1.1/16”, 1.1/8”, 1.3/16”, 1.1/4”

7110301 1 Disc ratchet 1/4”, 72 teeth - 7110302 1 Disc ratchet 3/8”, 72 teeth

601003 10 Hex key wrench, extra long set 10-pcs , 1/16”, 5/64”, 3/32”, 1/8”, 5/32”, 3/16”, 7/32”, 1/4”, 5/16”, 3/8” - 71632 1 Adaptor for extension 1/2”(F) x 3/8”(M)

7121501 1 Ratchet 1/4” 60 teeth - 7141050…150 3 Extension 1/4” 50, 100, 150mml

82414803…13 9 Bit socket hex 3/8”, 1/8”, 5/32”, 3/16”, 7/32”, 1/4”, 5/16”, 3/8”, 7/16”, 1/2”

81413703…06 4 Bit socket hex 1/4”, 1/8”, 5/32”, 3/16”, 7/32”

834106210…17 5 Bit socket hex 1/2”, 3/8”, 7/16”, 1/2”, 9/16”, 5/8” - 7121502 1 Ratchet 3/8” 60 teeth

- 7142044…250 4 Extension 3/8” 44, 75, 150, 250mml - 71521 1 Universal joint 3/8”

7121503 1 Ratchet 1/2” 60 teeth

- 7143125…250 2 Extension 1/2” 125, 250mml

- 71531 1 Universal joint 1/2” FOR A COMPLETE INVENTORY ORDER LIST SEE OUR WEBSITE

SONIC-EQUIPMENT.COM 131 03 310001 - SOCKET SET 1/4”, 3/8” & 1/2”, 12 PT., SFS, 100-PCS 570 X 370MM M 7360 GRAM TOOLS
# CONTENTS
309301
PT.
570 X 370MM M 8420 GRAM TOOLS
- SOCKET SET 12
1/4” 3/8” 1/2”, SFS, 93-PCS
# CONTENTS
-
-
WRENCH SET,
570 X 370MM M 5000 GRAM TOOLS #
-
-
-
309303 - COMBINATION SET 1/4”, 3/8” & 1/2”, SFS, 93-PCS 570 X 370MM M 8050 GRAM TOOLS
-
SFS, 31-PCS
CONTENTS
A COMPLETE INVENTORY ORDER LIST SEE OUR WEBSITE
# CONTENTS
-
-
-

Sonic Foam System (SFS)

2195005…14 10 Socket deep 1/4”, 12 pt. 3/16”, 7/32”, 1/4”, 9/32”, 5/16”, 11/32”, 3/8”, 7/16”, 1/2”, 9/16” - 7141050…150 3 Extension 1/4” 50, 100, 150mml

21905…14 10 Socket 1/4”, 12 pt. 3/16”, 7/32”, 1/4”, 9/32”, 5/16”, 11/32”, 3/8”, 7/16”, 1/2”, 9/16”

7151706...14 8 Cardan socket 1/4”, 12pt. 1/4”, 9/32”, 5/16”, 11/32”, 3/8”, 7/16”, 1/2”, 9/16”

81413703…06 4 Bit socket hex 1/8”, 5/32”, 3/16”, 7/32”

2296310…22 8 Flank deep socket 3/8”, 12 pt. 3/8”, 7/16”, 1/2”, 9/16”, 5/8”, 11/16”, 3/4”, 7/8”

22910…22 8 Socket 3/8”, 12 pt. 3/8”, 7/16”, 1/2”, 9/16”, 5/8”, 11/16”, 3/4”, 7/8”

7142044...250 4 Extension 3/8” 44, 75, 150, 250mml 82414803…13 9 Bit socket hex 3/8”, 1/8”, 5/32”, 3/16”, 7/32”, 1/4”, 5/16”, 3/8”, 7/16”, 1/2”

71521 1 Universal joint 3/8” 23921…32 8 Socket 1/2”, 12 pt. 13/16”, 7/8”, 15/16”, 1”, 1.1/16”, 1.1/8”, 1.3/16”, 1.1/4”

71632 1 Adaptor for extension 1/2”(F) x 3/8”(M)

7143125…250 2 Extension 1/2” 125, 250mml

7110301 1 Disc ratchet 1/4”, 72 teeth - 7110302 1 Disc ratchet 3/8”, 72 teeth - 72402 1 Spinner 1/4”, 150mml

7121501 1 Ratchet 1/4” 60 teeth

1 Utility knife (incl. 13 blades)

46807-1 1 Spare blades dispenser 10-pcs (46807) - 47001...04 1 Stainless steel straight ruler 30cm, 6” - 4821105 1 Flash pen

4820106 1 Extendable magnet pick-up 2.8Kg

7121502 1 Ratchet 3/8” 60 teeth

7121503 1 Ratchet 1/2” 60 teeth - 72611 1 Speed handle 1/4”

72612 1 Speed handle 3/8”

7173222 1 Spark plug 3/8” M. socket 7/8”

71531 1 Universal joint 1/2”

SONIC-EQUIPMENT.COM 132 03 610301 - SCREWDRIVERS AND UTILITY KITS SET SFS, 103-PCS 570 X 370MM M AVIATION 7300 GRAM TOOLS # CONTENTS multi 601001 16 16 in 1 ratchet screwdriver 1310…12 2 Screwdriver PH.0, PH.1, PH.2
47904 1 Cotter pin puller 46924 1 Scribe 47837...38 2 Precision screwdriver slotted 2.0 x 60, 3.0 x 60 47839...40 2 Precision screwdriver PH 0 x 60, PH 00 x 60 13303…10 6 Screwdriver slotted, 3,
4, 5.5, 6.5, 8mm -
Mini straight pick hook -
Mini degree hook - 47831
Mini full hook -
1 Mini small angle hook 1312S 1 Screwdriver stubby, PH,
133055S 1 Screwdriver stubby slotted,
- 4821301 1 Wedge universal 190x30mm - 47002 1 Feeler gauge 26-pcs - 4820111 1 Telescopic mirror 31-61cm - 47007 10 Telescopic mirror 31-61cm - 46807
-
-
3.5,
47829 1
47830 1
1
47832
PH.2
5.5mm
103201
Bit set FOR A COMPLETE INVENTORY ORDER LIST SEE OUR WEBSITE 108601
COMBINATION SET
570 X 370MM M AVIATION 7300 GRAM TOOLS
1 32-pcs
-
3/8” & 1/2”, SFS, 101-PCS
# CONTENTS
-
-
-
-
-
-
-
-
-
-
FOR A COMPLETE INVENTORY
LIST SEE OUR WEBSITE
-
-
ORDER

745 X

# CONTENTS

1310…3 4 Screwdriver PH, PH.0, PH.1, PH.2, PH.3

13303…08 6 Screwdriver slotted, 3, 3.5, 4, 5.5, 6.5, 8mm

13605…40 12 Screwdriver TX, T5, T6, T7, T8, T9, T10, T15, T20, T25, T27, T30, T40

47901…2 2 Door upholstery panel remover small 100mml, 110mml

47903 1 Scraper

47904 1 Cotter pin puller

47905 1 Radiator hose remover

47906 1 Trim pad tool 1/4” x 115mml - 47907 1 Trim pad tool 5/16” x 115mml

47908 1 Door upholstery panel remover 132mml

# CONTENTS

1310…3 4 Screwdriver PH, PH.0, PH.1, PH.2, PH.3

13303…65 7 Screwdriver slotted, 3, 4, 5.5, 5,5S, 6.5, 8, 10, 12mm

13606…30 10 Screwdriver TX, T6, T7, T8, T9, T10, T15, T20, T25, T27, T30

13625015…45 5 Screwdriver TX extra long, 250mml T15, T20, T25, T30, T45

17320002 1 Electronic screwdriver 2mm - 4821105 1 Flash pen - 4821308…12 2 Pry bar 200mml 8”, 300mml 12”

1312S 1 Screwdriver stubby, PH, PH.2

133055S 1 Screwdriver stubby slotted, 5.5mm FOR A COMPLETE INVENTORY ORDER LIST SEE OUR WEBSITE

114602 - SCREWDRIVER & 1/4” BIT SOCKET SET, SFS, 146-PCS

# CONTENTS

1310…3 4 Screwdriver PH, PH.0, PH.1, PH.2, PH.3

1311S 1 Screwdriver stubby PH, PH.1

13303…08 6 Screwdriver slotted, 3, 3.5, 4, 5.5, 6.5, 8mm

133055S 1 Screwdriver stubby slotted, 5.5mm

13605…40 12 Screwdriver TX, T5, T6, T7, T8, T9, T10, T15, T20, T25, T27, T30, T40

47903 1 Scraper

4821312 1 Pry bar 300mml 12” - 4821105 1 Flash pen

21504…13 12 Flank socket 1/4”, 6 pt. 4, 4.5, 5, 5.5, 6, 7, 8, 9, 10, 11, 12, 13mm

2155004…13 12 Flank deep socket 1/4”, 6 pt. 4, 4.5, 5, 5.5, 6, 7, 8, 9, 10, 11, 12, 13mm

21604…10 6 Socket TX 1/4”, E4, E5, E6, E7, E8, E10

2165004…10 6 Deep socket TX 1/4”, E4, E5, E6, E7, E8, E10

7110201 1 Rotor ratchet 1/4”, 72 teeth - 7110301 1 Disc ratchet 1/4”, 72 teeth - 7121501 1 Ratchet 1/4” 60 teeth - 7141050…150 3 Extension 1/4” 50, 100, 150mml

7261250 1 Wobble extension 1/4” 250mml

71511 1 Universal joint 1/4”

71912 1 Adaptor 1/4”(F) x 3/8”(M)

71921 1 Adaptor 3/8”(F) x 1/4”(M)

72225 1 Magnet socket pick-up 1/4”

72401 1 Spinner 1/4” 150mml

8103703…10 9 Bit socket hex ball 1/4”, 3, 4, 5, 5.5, 6, 7, 8, 9, 10mm

8113700…02 3 Bit socket PH 1/4”, PH.0, PH.1, PH.2

8123700…02 3 Bit socket PZ 1/4”, PZ.0, PZ.1, PZ.2

81337055…065 2 Bit socket slotted 1/4”, 5.5, 6.5mm

8143703…10 9 Bit socket hex 1/4”, 3, 4, 5, 5.5, 6, 7, 8, 9, 10mm

8153708…45 9 Tamper-Resistant 1/4”, TX plus (5 lobes) 8IPR, 10IPR, 15IPR, 20IPR, 25IPR, 27IPR, 30IPR, 40IPR, 45IPR

81613710…40 7 Bit socket TX ball 1/4”, T10, T15, T20, T25, T27, T30, T40

8163706…27 9 Bit socket TX 1/4”, T6, T7, T8, T9, T10, T15, T20, T25, T27

8173707…27 9 Bit socket TX tamperproof 1/4”, T7H, T8H, T9H, T10H, T15H, T20H, T25H, T27H 8183704…10 5 Bit socket spline 1/4”, M4, M5, M6, M8, M10

8193704…10 6 Bit socket ribe 1/4”, M4, M5, M6, M7, M8, M10 FOR A COMPLETE INVENTORY ORDER LIST SEE OUR WEBSITE

SONIC-EQUIPMENT.COM 133 03
SCREWDRIVER SET,
32-PCS
603202 -
SFS,
L 3300
TOOLS
435MM
GRAM
-
-
-
-
-
-
A COMPLETE
LIST SEE OUR WEBSITE
SET,
32-PCS 745 X 435MM L 3346 GRAM TOOLS
-
4821308…12 2 Pry bar 200mml 8”, 300mml 12” FOR
INVENTORY ORDER
603207 - SCREWDRIVER
SFS,
745 X 435MM L 5070 GRAM TOOLS
-
-
-
-
-
-
-
-
-

Sonic Foam System (SFS)

21504…13 12 Flank socket 1/4”, 6 pt. 4, 4.5, 5, 5.5, 6, 7, 8, 9, 10, 11, 12, 13mm

2155004…13 12 Flank deep socket 1/4”, 6 pt. 4, 4.5, 5, 5.5, 6, 7, 8, 9, 10, 11, 12, 13mm

23510…32 20 Flank socket 1/2”, 6 pt. 10, 11, 12, 13, 14, 15, 16, 17, 18, 19, 20, 21, 22, 23, 24, 26, 27, 28, 30, 32mm

2357710…22 5 Flank socket 1/2”, 6 pt. deep 10, 13, 17, 19, 22mm - 41506…24 19 Combination wrench 6, 7, 8, 9, 10, 11, 12, 13, 14, 15, 16, 17, 18, 19, 20, 21, 22, 23, 24mm

601006 10 Hex ball long key set 10-pcs, 1.27, 1.5, 2, 2.5, 3, 4, 5, 6, 8, 10mm

600902 9 TX wrench, extra long key set 9-pcs, T10, T15, T20, T25, T27, T30, T40, T45, T50

- 7110301 1 Disc ratchet 1/4”, 72 teeth

7121501 1 Ratchet 1/4” 60 teeth

7211 1 Flexible extension 1/4”

7141050…150 3 Extension 1/4” 50, 100, 150mmL

71511 1 Universal joint 1/4”

71623 1 Adaptor for extension 3/8”(F) x 1/2”(M) - 7121503 1 Ratchet 1/2” 60 teeth

- 7143125…250 2 Extension 1/2” 125, 250mmL

71531 1 Universal joint 1/2”

72402 1 Spinner 1/4” 150mmL

8113700…02 3 Bit socket PH 1/4”, PH.0, PH.1, PH.2

8123700…02 3 Bit socket PZ 1/4”, PZ.0, PZ.1, PZ.2

8133704…65 3 Bit socket slotted 1/4”, 4, 5.5, 6.5mm

8143703…08 6 Bit socket hex 1/4”, 3, 4, 5, 6, 7, 8mm

8163708…40 8 Bit socket TX 1/4”, T8, T10, T15, T20, T25, T27, T30, T40

8173710…40 7 Bit socket TX tamperproof 1/4”, T10H, T15H, T20H, T25H, T27H, T30H, T40H FOR A COMPLETE INVENTORY ORDER LIST SEE OUR WEBSITE

216401 - SOCKET SET 3/8”, SFS, 164-PCS

# CONTENTS

22506…22 17 Flank socket 3/8”, 6 pt. 6, 7, 8, 9, 10, 11, 12, 13, 14, 15, 16, 17, 18, 19, 20, 21, 22mm

2256306…22 17 Flank deep socket 3/8”, 6 pt. 6, 7, 8, 9, 10, 11, 12, 13, 14, 15, 16, 17, 18, 19, 20, 21, 22mm

22606…20 10 Deep socket TX 3/8”, E6, E7, E8, E10, E11, E12, E14, E16, E18, E20

2266306…20 10 Deep socket TX 3/8”, E6, E7, E8, E10, E11, E12, E14, E16, E18, E20

7110202 1 Rotor ratchet 3/8”, 72 teeth

7121502 1 Ratchet 3/8” 60 teeth

7142044…250 4 Extension 3/8” 44, 75, 150, 250mml - 7262044…450 5 Wobble extension 3/8”, 44, 150, 200, 300, 450mml - 71521 1 Universal joint 3/8”

7152450 1 T-wrench universal joint 3/8”, 450mml

71632 1 Adaptor for extension 1/2”(F) x 3/8”(M) 7172214 1 Spark plug clip socket 12 pt. 3/8” 14mm 7172216…21 3 Spark plug clip socket 3/8”, 16, 18, 21mm - 72602 1 Speedy T-grip 3/8”

7272250 1 Swivel grip handle 3/8” 250mml - 732210100 1 Torque wrench 3/8” 10-100NM

8214801…03 3 Bit socket PH 3/8”, PH.1, PH.2, PH.3

8224801…03 3 Bit socket PZ 3/8”, PZ.1, PZ.2, PZ.3

82348055…08 4 Bit socket slotted 3/8”, 5.5, 6, 7, 8mm

8244803…12 10 Bit socket hex 3/8” 3, 4, 5, 5.5, 6, 7, 8, 9, 10, 12mm

8249004…10 8 Bit socket hex 3/8”, 90mml 4, 5, 5.5, 6, 7, 8, 9, 10mm

8264808…60 12 Bit socket TX 3/8”, T8, T10, T15, T20, T25, T27, T30, T40, T45, T50, T55, T60

8269010…50 9 Bit socket TX 3/8”, 90mml T10, T15, T20, T25, T27, T30, T40, T45, T50

8274808…60 12 Bit socket TX tamperproof 3/8”, T8H, T10H, T15H, T20H, T25H, T27H, T30H, T40H, T45H, T50H, T55H, T60H

8284804…12 7 Bit socket spline 3/8”, M4, M5, M6, M8, M9, M10, M12

8289005…12 6 Bit socket spline 3/8”, 90mml M5, M6, M8, M9, M10, M12 FOR A COMPLETE INVENTORY ORDER LIST SEE OUR WEBSITE

SONIC-EQUIPMENT.COM 134 03 213001 - SOCKET 1/4”, 1/2” & WRENCH SET, SFS 130-PCS 745 X 435MM L 6940 GRAM TOOLS
# CONTENTS
-
-
-
-
-
-
-
745
435MM L 12360 GRAM TOOLS
X
-
-
-
-
-
-

-

-

-

- 100301-1...2 2 Drill adaptor 3/8”, 1/4”

21504…55 12 Flank socket 1/4”, 6 pt. 4, 5, 5.5, 6, 7, 8, 9, 10, 11, 12, 13, 14mm

21604…10 6 Socket TX 1/4”, E4, E5, E6, E7, E8, E10

7110201 1 Swivel ratchet 1/4” 72 teeth

7110301 1 Disc ratchet 1/4”, 72 teeth -

7121501 1 Ratchet 1/4” 60 teeth -

7141050…150 3 Extension 1/4”, 50, 100, 150mml - 71511 1 Universal joint 1/4”

72225 1 Magnet socket pick-up 1/4”

72401 1 Spinner 150mml 1/4”

7261250 1 Wobble extension 1/4”, 250mml

8113701…2 2 Bit socket PH 1/4”, bit PH.1, PH.2

81337055 1 Bit socket slotted 1/4”, 5.5mm

8143703…8 6 Bit socket hex 1/4” 3, 4, 5, 6, 7, 8mm

8153715…40 6 Tamper-resistant 1/4”, TX plus (5 lobes) 15IPR, 20IPR, 25IPR, 27IPR, 30IPR, 40IPR

8163706…40 11 Bit socket TX 1/4” T6, T7, T8, T9, T10, T15, T20, T25, T27, T30, T40

9182504…5 2 Bit spline 1/4”, 25mml M4, M5

22506…19 14 Flank socket 3/8”, 6 pt. 6, 7, 8, 9, 10, 11, 12, 13, 14, 15, 16, 17, 18, 19mm

22608…20 8 Socket 3/8”, TX E8, E10, E11, E12, E14, E16, E18, E20

22808…21 12 Flank socket 3/8”, 12 pt. 8, 9, 10, 11, 12, 13, 14, 15, 16, 17, 18, 19, 21mm

2286306…19 14 Flank deep socket 3/8”, 12 pt. 6, 7, 8, 9, 10, 11, 12, 13, 14, 15, 16, 17, 18, 19mm

7110202 1 Flexible ratchet 3/8”, 45 teeth -

7110302 1 Disc ratchet 3/8”, 72 teeth -

7121502 1 Ratchet 3/8” 60 teeth

- 7142044...600 2 Extension 3/8”, 44, 600mml

- 71521 1 Universal joint 3/8”

7152810…19 10 Cardan socket 3/8”, 12 pt. 10, 11, 12, 13, 14, 15, 16, 17, 18, 19mm

7172214 1 Spark plug clip socket 12 pt. 3/8” 14mm

7172216…21 3 Spark plug clip socket 3/8”, 16, 18, 21mm

7262044…450 5 Wobble extension 3/8” 44, 75, 150, 250, 450mm

7272250 1 Swivel grip handle 3/8”, 250mml

8244805…12 8 Bit socket spline 3/8”, 5, 5,5, 6, 7, 8, 9, 10, 12mm

8264825…60 8 Bit socket TX 3/8”, T25, T27, T30, T40, T45, T50, T55, T60

8284804…12 7 Bit socket spline 3/8” M4, M5, M6, M8, M9, M10, M12

9283006…10 3 Bit spline 5/16”, 30mml M6, M8, M10

601008 10 Hex ball key set extra long 10-pcs, 1.27, 1.5, 2, 2.5, 3, 4, 5, 6, 8, 10mm

600902 9 TX key set extra long, 9-pcs, T10, T15, T20, T25, T27, T30, T40, T45, T50 - 7201001 1 9x12 insert holder for bits 1/4” - 7202001 1 9x12 insert holder for bits 5/16”

71932 1 Adaptor 1/2”(F) x 3/8”(M)

71921 1 Adaptor 3/8”(F) x 1/4”(M)

72032 1 Bit holder 1/2”(F) x 5/16”(F)

72011 1 Bit holder 1/4”(F) x 1/4”(F)

41201 1 Hinged driver 1/4” - 1/4” in hex

221201 - SOCKET SET 1/4” & 3/8”, SFS, 212-PCS

# CONTENTS

21504…13 12 Flank socket 1/4”, 6 pt. 4, 4.5, 5, 5.5, 6, 7, 8, 9, 10, 11, 12, 13mm

2155004…13 12 Flank deep socket 1/4” 6 pt. 4, 4.5, 5, 5.5, 6, 7, 8, 9, 10, 11, 12, 13mm

21604…10 6 Socket TX 1/4”, E4, E5, E6, E7, E8, E10

2165004…10 6 Deep TX socket 1/4”, E4, E5, E6, E7, E8, E10

8143703…10 7 Bit socket hex 1/4”, 3, 4, 5, 6, 7, 8, 10mm

8113700…02 3 Bit socket PH 1/4”, PH.0, PH.1, PH.2

8123700…02 3 Bit socket PZ 1/4”, PZ.0, PZ.1, PZ.2

8133704…065 3 Bit socket slotted 1/4”, 4, 5.5, 6.5mm

8153710…40 7 Tamper-Resistant 1/4”, TX plus (5 lobes) 10IPR, 15IPR, 20IPR, 25IPR, 27IPR, 30IPR, 40IPR

8163708…40 8 Bit socket TX 1/4”, T8, T10, T15, T20, T25, T27, T30, T40

8173708…40 8 Bit socket TX tamperproof 1/4”, T8H, T10H, T15H, T20H, T25H, T27H, T30H, T40H

7121501 1 Ratchet 1/4” 60 teeth

7120701 1 Ratchet 1/4” 72 teeth - 7110101 1 Flexible ratchet 1/4”, 45 teeth

7110301 1 Disc ratchet 1/4”, 72 teeth - 7141050…150 3 Extension 1/4”, 50, 100, 150mml

71511 1 Universal joint 1/4”

71921 1 Adaptor 3/8”(F) x 1/4”(M)

72225 1 Magnet socket pick-up 1/4”

22506…22 17 Flank socket 3/8”, 6 pt. 6 7, 8, 9, 10, 11, 12, 13, 14, 15, 16, 17, 18, 19, 20, 21, 22mm

2256306…22 17 Flank deep socket 3/8”, 6 pt. 6, 7, 8, 9, 10, 11, 12, 13, 14, 15, 16, 17, 18, 19, 20, 21, 22mm

22604…16 10 Socket TX 3/8”, E4, E5, E6, E7, E8, E10, E11, E12, E14, E16

2266304…16 10 Deep socket TX 3/8”, E4, E5, E6, E7, E8, E10, E11, E12, E14, E16

8214801…03 3 Bit socket PH 3/8”, PH.1, PH.2, PH.3

8224801…03 3 Bit socket PZ 3/8”, PZ.1, PZ.2, PZ.3

82348055…07 3 Bit socket slotted 3/8”, 5.5, 6, 7mm

8244803…12 10 Bit socket hex 3/8”, 3, 4, 5, 5.5, 6, 7, 8, 9, 10, 12mm

8264808…60 12 Bit socket TX 3/8”, T8, T10, T15, T20, T25, T27, T30, T40, T45, T50, T55, T60

8274808…60 12 Bit socket TX tamperproof 3/8”, T8H, T10H, T15H, T20H, T25H, T27H, T30H, T40H, T45H, T50H, T55H, T60H

8284805…12 6 Bit socket spline 3/8”, M5, M6, M8, M9, M10, M12

8294804…12 8 Bit socket ribe 3/8”, M4, M5, M6, M7, M8, M9, M10, M12 - 7120102 1 Stubby ratchet 3/8” 45 teeth - 7121502 1 Ratchet 3/8” 60 teeth - 7110102 1 Flexible ratchet 3/8”, 45 teeth

7110302 1 Disc ratchet 3/8”, 72 teeth - 732210100 1 Torque wrench 3/8” 10-100Nm - 7142044…250 4 Extension 3/8”, 44, 75, 150, 250mml - 71521 1 Universal joint 3/8” - 7152450 1 T-wrench universal joint 3/8” , 450mml - 71632 1 Adaptor for extension 1/2”(F) x 3/8”(M) 7172216…21 3 Spark plug clip socket 3/8”, 16, 18, 21mm - 7273250 1 Swivel handle 3/8”, 250mml FOR A COMPLETE INVENTORY ORDER LIST SEE OUR WEBSITE

SONIC-EQUIPMENT.COM 135 03 218502
SOCKET
745 X 435MM L 9480 GRAM TOOLS
-
COMBINATON SET 1/4” & 3/8”, SFS, 185-PCS
# CONTENTS
-
-
-
-
-
-
-
-
- 41202
Hinged driver 1/4”
3/8” FOR A COMPLETE INVENTORY ORDER LIST SEE OUR WEBSITE
-
-
1
-
L 11000 GRAM TOOLS
745 X 435MM
-
-
-
-
-
-
-

Sonic Foam System (SFS)

# CONTENTS

23517…32 10 Flank socket 1/2”, 6 pt. 17, 18, 19, 20, 21, 22, 24, 27, 29, 30, 32mm

23614…24 6 Socket TX 1/2”, E14, E16, E18, E20, E22, E24

23817…32 10 Flank socket 1/2” 12 pt. 17, 18, 19, 20, 21, 22, 24, 27, 29, 30, 32mm

2387717…32 10 Flank deep socket 1/2”, 12 pt. 17, 18, 19, 20, 21, 22, 24, 27, 29, 30, 32mm

3310717…19 2 Wheel socket 1/2”, 17, 19mm

3398534…36 2 Deep impact socket 1/2”, 12 pt. 85mml 34, 36mm

7110203 1 Flexible ratchet 1/2”, 72 teeth

- 7121503 1 Ratchet 1/2” 60 teeth

- 71531 1 Universal joint 1/2”

71623 1 Adaptor for extension 3/8”(F) x 1/2”(M)

71923 1 Adaptor 3/8”(F) x 1/2”(M)

71934 1 Adaptor 1/2”(F) x 3/4”(M)

71943 1 Adaptor 3/4”(F) x 1/2”(M)

- 7263050…500 4 Wobble extension 1/2”, 50, 125, 250, 500mm

- 7273380 1 Swivle handle 1/2”, 380mml

83014006…10 4 Bit socket ball hex 1/2”, 140mml bit 6, 7, 8, 10mm

83406208…19 6 Bit socket hex 1/2”, 8, 10, 12, 14, 17, 19mm

83424806 1 Bit socket hex 1/2”, 248mml 6

83606240…70 6 Bit socket TX 1/2”, T40, T45, T50, T55, T60, T70

83805517 1 Bit socket spline 1/2”, M17

83806209…16 5 Bit socket spline 1/2”, M9, M10, M12, M14, M16

83806216T 1 Bit socket spline 1/2”, M16T

83810008…14 3 Bit socket spline 1/2”, 100mml M8, M9, M14

83814010…12 2 Bit socket spline 1/2”, 140mml M10, M12

86807818 1 Impact bit socket spline 1/2”, M18 FOR A COMPLETE INVENTORY ORDER LIST SEE OUR WEBSITE

23508...32 22 Flank socket 1/2”, 6 pt. 8, 9, 10, 11, 12, 13, 14, 15, 16, 17, 18, 19, 20, 21, 22, 23, 24, 26, 27, 28, 30, 32mm

2357708...32 22 Flank deep socket 1/2”, 6 pt. 8, 9, 10, 11, 12, 13, 14, 15, 16, 17, 18, 19, 20, 21, 22, 23, 24, 26, 27, 28, 30, 32mm

23610...24 8 Socket TX 1/2”, E10, E11, E12, E14, E16, E18, E20, E24

2367710...24 8 Deep socket TX 1/2”, E10, E11, E12, E14, E16, E18, E20, E24

83610040...55 4 Bit socket TX 1/2”, 100mml T40, T45, T50, T55 83810006...14 5 Bit socket spline 1/2”, 100mml M6, M8, M10, M12, M14 3310717...21 3 Wheel socket 1/2”, 6 pt. 17, 19, 21mm

732320200 1 Torque wrench 1/2” 20-200NM

7121503 1 Ratchet 1/2” 60 teeth

7143125...250 2 Extension 1/2” 125, 250mml

71531 1 Universal joint 1/2”

7273380 1 Swivel handle 1/2” 380mml FOR A COMPLETE INVENTORY ORDER LIST SEE OUR WEBSITE

605101 - WRENCHSET, SFS, 51-PCS

X 435MM

Combination

6, 7, 8, 10, 11, 12 13, 14, 15, 16, 17, 18, 19, 20, 21, 22, 24, 27, 30, 32mm 4160608…2024 6 TX wrench E6XE8, E7xE11, E10XE12, E14XE18, E16xE22, E20XE24 - 4170208…19 12 Reversible ratcheting wrench 12 pt. 8, 9, 10, 11, 12, 13, 14, 15, 16, 17, 18, 19mm - 4190607…3032 10 75 offset ring wrench 6X7, 8X9, 10X11, 12X13, 14X15, 16X17, 18X19, 21X22, 24X27, 30X32mm - 4200113 1 Injection pump wrench 13mm FOR A COMPLETE INVENTORY ORDER LIST SEE OUR WEBSITE

605301 - WRENCH SET, SFS, 53-PCS

745 X 435MM

9680 GRAM TOOLS # CONTENTS

- 41506…32 26 Combination wrench 6, 7, 8, 9, 10, 11, 12, 13, 14, 15, 16, 17, 18, 19, 20, 21, 22, 23, 24, 25, 26, 27, 28, 29, 30, 32mm - 4170208…19 12 Reversible ratcheting wrench 12 pt. 8, 9, 10, 11, 12, 13, 14, 15, 16, 17, 18, 19mm - 4190607…2022 8 75° offset ring wrench 6x7, 8x9, 10x11, 12x13, 14x15, 16x17, 18x19, 20x22mm 4120809…1819 7 Hinged socket wrench 6x7, 8x9, 10x11, 12x13, 14x15, 16x17, 18x19mm FOR A COMPLETE INVENTORY ORDER LIST SEE OUR WEBSITE

SONIC-EQUIPMENT.COM 136 03 308201 - COMBINATION SET 1/2”, SFS, 82-PCS 745 X 435MM L 13460 GRAM TOOLS
-
-
-
-
-
745 X 435MM L 14020 GRAM TOOLS #
308401 - SOCKET SET, SFS, 84-PCS
CONTENTS
83410005...12 6 Bit socket hex 1/2”, 100mml 5, 6, 7, 8, 10, 12mm
-
-
-
-
-
L 8220 GRAM TOOLS # CONTENTS - 4081011 1 Flexible flare nut wrench 10x11mm - 41506…32
745
21
wrench
L

745 X

TOOLS # CONTENTS

- 4110810…3032 8 Flare nut wrench 8x10, 11x13, 12x14, 16x18, 17x19, 19x22, 24x27, 30x32mm

- 4140607…3032 12 Double open wrench 6x7,8x9, 10x11, 12x13, 14x15, 16x17, 18x19, 21x23, 20x22, 24x27, 25x28, 30x32mm

- 4180607…2123 8 45° offset ring wrench 6X7, 8X9, 10X11, 12X13, 14X15, 16X17, 18X19, 21X23mm

- 4200607…1819 7 Flat double ring wrench 6x7, 8x9, 10x11, 12x13, 14x15, 16x17, 18x19mm

- 4211012…1417 3 Half-moon wrench 10x12, 11x13, 14x17mm

- 42608…17 10 Stubby combination wrench 8, 9, 10, 11, 12, 13, 14, 15, 16, 17mm FOR A COMPLETE INVENTORY ORDER LIST SEE OUR WEBSITE

# CONTENTS - 4110810…3032 8 Flare nut wrench 8x10, 11x13, 12x14, 16x18, 17x19, 19x22, 24x27, 30x32mm

- 4140607…3032 12 Double open wrench 6x7, 8x9, 10x11, 12x13, 14x15, 16x17, 18x19, 20x22, 21x23, 24x27, 25x28, 30x32mm

- 4170401…02 2 4-in-1 ring ratcheting wrench 8-10,12-13; 16-17, 18-19mm

- 4200607…1819 9 Flat double ring wrench 6x7, 8x9, 10x11, 12x13, 14x15, 16x17, 18x19mm

- 4211012…1417 3 Half-moon wrench 10x12, 11x13, 14x17mm

- 42608…17 10 Stubby combination wrench 8, 9, 10, 11, 12, 13, 14, 15, 16, 17mm

- 41760608…2024 4 TX ratcheting wrench E6xE8, E10XE12, E14XE18, E20XE24

4160608…2024 4 TX wrench E6xE8, E10XE12, E14XE18, E20XE24

601007 10 Hex extra long key set 10-pcs, 1.27, 1.5, 2, 2.5, 3, 4, 5, 6, 8, 10mm

600902 9 TX key set extra long, 9-pcs, T10, T15, T20, T25, T27, T30, T40, T45, T50 FOR A COMPLETE INVENTORY ORDER LIST SEE OUR WEBSITE

4321200 1 Long nose pliers 8”

4331200 1 Bent long nose pliers 8”

4311175 1 Combination pliers 7”

4341175 1 Diagonal pliers 7”

43611 1 Snap ring pliers (straight-open)

43612 1 Snap ring pliers (straight-close)

43613 1 Snap ring pliers (bent-open)

43614 1 Snap ring pliers (bent-close)

4351250 1 Waterpump pliers 10”

4380250 1 Locking pliers 10”

46701 1 Straight shears

46602 1 Mini hacksaw

46603 1 Saw blade 3-pcs

46808 1 Utility knife (incl. 10 blades)

47004 1 Stainless steel straight ruler 30cm

47005 1 Stainless steel protractor

47013 1 Measuring tape 5 meter

4471250 1 Wire stripper 10”

4820110 1 Telescopic magnet

45602 1 Auto center punch - 47002 1 Feeler gauge 26-pcs

47003 1 Stainless steel vernier caliper FOR A COMPLETE INVENTORY ORDER LIST SEE OUR WEBSITE

SONIC-EQUIPMENT.COM 137 03 604801
WRENCH SET, SFS, 48-PCS
-
L
435MM
6980 GRAM
606901 - WRENCH SET, SFS, 69-PCS 745 X 435MM L 7900 GRAM TOOLS
745 X 435MM L 4600 GRAM TOOLS
-
-
-
-
-
-
-
-
-
-
-
-
-
-
-
-
-
-
-
602204 - PLIERS & CUTTING SET, SFS, 22-PCS
# CONTENTS
-
-

X

Sonic Foam System (SFS)

GRAM TOOLS # CONTENTS - 4311175 1 Combination pliers 7”

- 4321200 1 Long nose pliers 8”

- 4323275 1 Long nose pliers 11” straight

- 4331200 1 Bent long nose pliers 8” - 4333270 1 Long nose pliers 11” 90 degree bent

4333275 1 Long nose pliers 11” 45 degree bent - 4341175 1 Diagonal pliers 7”

- 4351250 1 Waterpump pliers 10” - 43611 1 Snap ring pliers (straight-open)

43612 1 Snap ring pliers (straight-close)

43613 1 Snap ring pliers (bent-open)

43614 1 Snap ring pliers (bent-close)

4380250 1 Locking pliers 10” - 4393002 1 Circle nose pliers 11”-1/2” - 4471250 1 Wire stripper 10”

46601 1 Super heavy duty hacksaw

46701 1 Straight shears

46807 1 Utility knife (incl. 13 blades)

47002 1 Feeler gauge 26-pcs - 47003 1 Vernier caliper

- 47004 1 Stainless steel straight ruler 30cm

47013 1 Measuring tape 5 meter

4820110 1 Telescopic magnet - 48212380 1 Pry bar 380mml - 4811254 1 Steel wire brush - 4821301 1 Wedge (190x30mm) universal FOR A COMPLETE INVENTORY ORDER LIST SEE OUR WEBSITE 602308 -

14423008…13 3 Hex nut driver T-handle 8, 10, 13mm 1950205…08 3 Hex ball point grip key 5, 6, 8mm

4311175 1 Combination pliers 7” - 4321200 1 Long nose pliers 8”

4322160 1 Long nose pliers

4331200 1 Bent long nose pliers 8”

4333275 1 Long nose pliers 11” 45 degree bent - 4341180 1 Diagonal pliers

4351250 1 Waterpump pliers 10”

43611 1 Snap ring pliers (straight-open)

43612 1 Snap ring pliers (straight-close)

43613 1 Snap ring pliers (bent-open)

43614 1 Snap ring pliers (bent-close)

4380250 1 Locking pliers 10”

4471180 1 Wire stripper 7” - 47902 1 Door upholstery panel remover 110mml - 47904 1 Cotter pin puller

47905 1 Radiator hose remover - 47907 1 Trim pad tool 5/16”x115mml

SONIC-EQUIPMENT.COM 138 03
L 6659
602605 - PLIERS & CUTTING SET, SFS, 26-PCS 745
435MM
-
-
-
-
-
-
-
-
-
-
-
745 X 435MM L 4554 GRAM TOOLS #
-
-
-
-
-
-
-
-
-
PLIERS AND HEX BALL GRIP KEY SET, SFS, 23-PCS
CONTENTS
-
-
-
FOR A COMPLETE INVENTORY ORDER LIST SEE OUR WEBSITE

CONTENTS 3358510…32 22 Deep impact socket 1/2”, 6 pt. 10, 11, 12, 13, 14, 15, 16, 17, 18, 19, 20, 21, 22, 23, 24, 25, 26, 27, 28, 29, 30, 32mm - 45110141 1 Grip chisel 140mml 10 - 45112160 1 Grip chisel 160mml 12

45118190 1 Grip chisel 190mml 18

45124220 1 Grip chisel 220mml 24

4527190 1 Grip cape chisel 190mml 7 - 4533150 1 Grip pin punch 150mml 3

4534180 1 Grip pin punch 180mml 4

4535200 1 Grip pin punch 200mml 5

4536210 1 Grip pin punch 210mml 6

4552185 1 Grip taper punch 185mml 2

4553185 1 Grip taper punch 185mml 3

4554185 1 Grip taper punch 185mml 4

4564185 1 Grip center punch 185mml 4

4611400 1 Machinist hammer with ash handle, 512gr

4631000 1 Stoning hammer with ash handle, 1106gr

4620400 1 Install hammer soft/hard, with ash handle, 608gr - 7343125 1 Impact extension 1/2” 125mml - 73531 1 Impact universal joint 1/2”

CONTENTS

45118190 1 Grip chisel 190mml 18

1 Grip chisel 220mml 24

1 Grip pin punch 150mml 3

1 Grip pin punch 180mml 4

1 Grip pin punch 200mml 5

4536210 1 Grip pin punch 210mml 6

SONIC-EQUIPMENT.COM 139 03 604001 - CHISEL, HAMMER & IMPACT SET, SFS, 40-PCS 745 X 435MM L 9960 GRAM TOOLS
-
-
-
-
-
-
-
-
-
-
A COMPLETE
602710
PLIERS
CHISEL SET,
27-PCS 745 X 435MM L 5186 GRAM TOOLS #
-
- 45124220
- 4533150
- 4534180
-
-
- 4538220 1 Grip pin punch 220mml
- 4564185
Grip center punch 185mml
- 4611400 1 Machinist hammer
ash handle,
- 46807
Utility knife
blades) - 46807-1
-
-
-
file
-
-
-
-
-
-
-
-
-
-
-
-
-
FOR A COMPLETE INVENTORY ORDER LIST SEE OUR WEBSITE
#
-
-
-
FOR
INVENTORY ORDER LIST SEE OUR WEBSITE
-
AND
SFS,
4535200
8
1
4
with
512gr
1
(incl. 13
1 Spare blades dispenser 10-pcs (46807)
46905 1 Brake caliper file
46912 1 Half round file 8”
46913 1 Round
8”
46914 1 Triangular file 8”
47003 1 Vernier caliper
47006 1 Feeler gauge 20-pcs, 0.05-1.00mm
47013 1 Measuring tape 5 meter
47023 1 Brake fluid tester
47028 1 Tire profile gauge 50mm
47903 1 Scraper
4811254 1 Steel wire brush
4820110 1 Magnet pickup
4820111 1 Telescopic mirror 31-61cm
4821301 1 Wedge (190x30mm) universal
4822102 1 Install hammer soft/hard, with ash handle, 366gr
48222500 1 Pry bar with plastic cover 500mml

Sonic Foam System (SFS)

SONIC-EQUIPMENT.COM 140 03 604202 - HEX NUT & KEY GRIP SET, SFS, 42-PCS 745 X 435MM L 3940 GRAM TOOLS # CONTENTS 12425004…13 10 Hex nut driver 4, 5, 5.5, 6, 8, 9, 10, 11, 12, 13mm 47537 1 Flexible hex nut driver 7mm 1950202…08 8 Hex ball point grip key 2, 2.5, 3, 4, 5, 6, 7, 8mm - 46911 1 Flat file 8” - 46912 1 Half round file 8” - 46913 1 Round file 8” - 46914 1 Triangular file 8” 600902 9 TX key set extra long, 9-pcs, T10, T15, T20, T25, T27, T30, T40, T45, T50 601008 10 Hex ball key set extra long 10-pcs, 1.27, 1.5, 2, 2.5, 3, 4, 5, 6, 8, 10mm FOR A COMPLETE INVENTORY ORDER LIST SEE OUR WEBSITE 602803 - HEX NUT & KEY GRIP SET, SFS, 27-PCS 745 X 435MM L 4280 GRAM TOOLS # CONTENTS 14423006…13 8 Hex nut driver T-handle 6, 7, 8, 9, 10, 11, 12, 13mm 47537…38 2 Flexible hex nut driver 7, 8mm 1950202…8 8 Hex ball point grip key 2, 2.5, 3, 4, 5, 6, 7, 8mm - 46911 1 Flat file 8” - 46912 1 Half round file 8” - 46913 1 Round file 8” - 46914 1 Triangular file 8” - 47901 1 Door upholstery panel remover 100mml - 47902 1 Door upholstery panel remover 110mml - 47904 1 Cotter pin puller - 47905 1 Radiator hose remover - 47906 1 Trim pad tool 1/4” x 115mml - 4820207 1 Flexible magnet pickup 500g FOR A COMPLETE INVENTORY ORDER LIST SEE OUR WEBSITE 602411 - VDE TOOLS KITS SET, SFS, 24-PCS 745 X 435MM L 3628 GRAM TOOLS # CONTENTS - 4611400 1 Machinist hammer with ash handle, 512gr 47016 1 Electric main tester 120-250 1610…2 3 VDE screwdriver PH, PH.0, PH.1, PH.2 16325…65 4 VDE scewdriver slotted, 2.5, 4, 5.5, 6.5mm - 4813908...17 1 VDE socket 3/8”, 8-17mm - 4813902 1 VDE adaptor 3/8”, 125mml - 4813901 1 VDE ratchet 3/8” - 4312180 1 VDE combination pliers - 4322200 1 VDE long nose pliers - 4342160 1 VDE diagonal pliers - 4472160 1 VDE stripping pliers FOR A COMPLETE INVENTORY ORDER LIST SEE OUR WEBSITE 602109 - 21-PCS PLIERS SET, (W/O 10-PCS) 745 X 435MM L 4500 GRAM TOOLS # CONTENTS 14423008…13 3 Hex nut driver T-handle 8, 10, 13mm 1950205…08 3 Hex ball point grip key 5, 6, 8mm - 4311175 1 Combination pliers 7” - 4321200 1 Long nose pliers 8” - 4331200 1 Bent long nose pliers 8” - 4341180 1 Diagonal pliers - 4352250 1 Waterpump pliers 10” - 43611 1 Snap ring pliers
- 43612 1 Snap ring pliers
- 43613 1 Snap ring pliers
- 43614 1 Snap ring pliers
- 4380250 1 Locking pliers 10” - 4471180 1 Wire stripper 7” - 47902 1 Door upholstery panel remover 110mml - 47904 1 Cotter pin puller - 47905 1 Radiator hose remover - 47907 1 Trim pad tool 5/16”x115mml FOR A COMPLETE INVENTORY ORDER LIST SEE OUR WEBSITE
(straight-open)
(straight-close)
(bent-open)
(bent-close)

# CONTENTS

- 45118190 1 Grip chisel 190mml 18 - 45124220 1 Grip chisel 220mml 24

- 4533150 1 Grip pin punch 150mml 3

4534180 1 Grip pin punch 180mml 4 - 4535200 1 Grip pin punch 200mml 5

4536210 1 Grip pin punch 210mml 6

4538220 1 Grip pin punch 220mml 8

- 4564185 1 Grip center punch 185mml 4

- 4552185 1 Grip taper punch 185mml 2”

- 4553185 1 Grip taper punch 185mml 3 - 4554185 1 Grip taper punch 185mml 4 - 4527190 1 Grip cape chisel 190mml 7 - 46808 1 Utility knife (incl. 10- spare blades) - 46808-1 1 10-pcs spare blades dispenser (46808)

46911 1 Flat file 8”

46912 1 Half round file 8”

46913 1 Round file 8”

46914 1 Triangular file 8”

4820207 1 Flexible magnet pickup 500g

- 47006 1 Feeler gauge 20-pcs, 0.05-1.00mm

- 47013 1 Measuring tape 5 meter - 46905 1 Triangular file for brakes 8” - 47903 1 Scraper - 4811254 1 Steel wire brush

4820110 1 Magnet pickup

- 4820545 1 Pocket-sized, ultra-slim work light

- 4821301 1 Wedge (190x30mm) universal

4611400 1 Machinist hammer with ash handle, 512gr - 4631000 1 Stoning hammer with ash handle, 1106gr - 4652035 1 Hammer with nylon tips 610gr. with ash handle - 4720107 1 Empty tray (54x110x45mm) FOR A COMPLETE INVENTORY ORDER LIST SEE OUR WEBSITE 603304 - SCREWDRIVER SET,

23508…32 22 Flank socket 1/2”, 6 pt. 8, 9,

13, 14, 15, 16, 17, 18, 19, 20, 21, 22, 23,

27,

32mm 2357708…32 22 Flank deep socket 1/2”, 6 pt. 8, 9, 10, 11, 12, 13, 14, 15, 16, 17, 18, 19, 20, 21, 22, 23, 24, 26, 27, 28, 30, 32mm

23610…22 8 Socket TX 1/2”, E10, E11, E12, E14, E16, E18, E20, E22

3310717…21 3 Wheel socket 1/2”, 6 pt. 17, 19, 21mm

7121503 1 Ratchet 1/2” 60 teeth

7143125…250 2 Extension 1/2” 125, 250mml

71531 1 Universal joint 1/2”

71623 1 Adaptor for extension 3/8”(F) x 1/2”(M)

7273380 1 Swivel grip handle 1/2” 380mml

732320200 1 Torque wrench 1/2” 20-200NM

83406205…14 8 Bit socket hex 1/2”, 5, 6, 7, 8, 9, 10, 12, 14mm

83410005…14 8 Bit socket hex 1/2”, 100mml 5, 6, 7, 8, 9, 10, 12, 14mm

83606227…70 8 Bit socket TX 1/2”, T27, T30, T40, T45, T50, T55, T60, T70

83610027…70 8 Bit socket TX 1/2”, 100mml T27, T30, T40, T45, T50, T55, T60, T70

83706227…70 8 Bit socket TX tamperproof 1/2”, T27H, T30H, T40H, T45H, T50H, T55H, T60H, T70H

83806205…14 7 Bit socket spline 1/2”, M5, M6, M8, M9, M10, M12, M14

83806216T 1 Bit socket spline 1/2”, M16-T

83906207…16 8 Bit socket ribe 1/2”, M7, M8, M9, M10, M12, M13, M14, M16 FOR A COMPLETE INVENTORY ORDER LIST SEE OUR WEBSITE

SONIC-EQUIPMENT.COM 141 03 604909 - CHISEL & HAMMER
UTILITY TOOLS SET (W/O 5-PCS), 49-PCS 745
435MM L 7160 GRAM TOOLS
&
X
-
-
-
-
-
-
-
-
-
SFS, 33-PCS 745 X 435MM L 3280 GRAM TOOLS # CONTENTS 1312S
Screwdriver stubby, PH, PH.2 133055S
Screwdriver stubby slotted, 5.5mm 1310…3
Screwdriver
PH.0, PH.1, PH.2, PH.3 13303…65
Screwdriver slotted,
4, 5.5, 6.5, 8, 10, 12mm 13606…30
Screwdriver
T9, T10, T15, T20, T25, T27, T30 13625015…20
Screwdriver TX extra long, 250mml, T15, T20 13625015…45
Screwdriver TX extra long, 250mml, T25, T30, T45 - 4821312 1 Pry bar 300mml 12” 47837...38 2 Precision screwdriver slotted 2.0 x 60, 3.0 x 60 47839...40 2 Precision screwdriver PH 0 x 60, PH 00 x 60 FOR A COMPLETE INVENTORY ORDER LIST SEE OUR WEBSITE 311803 - SET 1/2”, SFS, 118-PCS 745 X 435MM L 15760 GRAM TOOLS #
-
1
1
4
PH,
7
3,
10
TX, T6, T7, T8,
2
3
CONTENTS
10, 11, 12,
24, 26,
28, 30,
-
-
-
-
-
-

Sonic Foam System (SFS)

2155004…13 12 Flank deep socket 1/4”, 6 pt. 4, 4.5, 5, 5.5, 6, 7, 8, 9, 10, 11, 12, 13mm

2165004…8 5 Deep socket TX 1/4”, E4, E5, E6, E7, E8

2256310…22 13 Flank deep socket 3/8”, 6 pt. 10, 11, 12, 13, 14, 15, 16, 17, 18, 19, 20, 21, 22mm

2266310…20 7 Deep socket TX 3/8”, E10, E11, E12, E14, E16, E18, E20

21504…13 12 Flank socket 1/4”, 6 pt. 4, 4.5, 5, 5.5, 6, 7, 8, 9, 10, 11, 12, 13mm

21604…10 6 Socket TX 1/4”, E4, E5, E6, E7, E8, E10

22510…22 13 Flank socket 3/8”, 6 pt. 10, 11, 12, 13, 14, 15, 16, 17, 18, 19, 20, 21, 22mm

22608…20 8 Socket 3/8”, TX E8, E10, E11, E12, E14, E16, E18, E20

7172214 1 Spark plug clip socket 12 pt. 3/8” 14mm

7172216…21 3 Spark plug clip socket 3/8”, 16, 18, 21mm

8153710…45 8 Tamper-Resistant 1/4”, TX plus (5 lobes) 10IPR, 15IPR, 20IPR, 25IPR, 27IPR, 30IPR, 40IPR, 45IPR

8173709…40 8 Bit socket TX tamperproof 1/4”, T9H, T10H, T15H, T20H, T25H, T27H, T30H, T40H

8163708…30 8 Bit socket TX 1/4”, T8, T9, T10, T15, T20, T25, T27, T30

8183704…10 5 Bit socket spline 1/4”, M4, M5, M6, M8, M10

8123700…02 3 Bit socket PZ 1/4”, PZ.0, PZ.1, PZ.2

8143703…10 8 Bit socket hex 1/4”, 3, 4, 5, 5.5, 6, 7, 8, 10mm

8274825…60 8 Bit socket TX tamperproof 3/8”, T25H, T27H, T30H, T40H, T45H, T50H, T55H, T60H

8284804…12 7 Bit socket spline 3/8”, M4, M5, M6, M8, M9, M10, M12

8264825…60 8 Bit socket TX 3/8”, T25, T27, T30, T40, T45, T50, T55, T60

8244805…12 8 Bit socket spline 3/8”, 5, 5,5, 6, 7, 8, 9, 10, 12mm

- 7141050…150 3 Extension 1/4” 50, 100, 150mml

- 7261250 1 Wobble extension 1/4” 250mml -

7262044…450 5 Wobble extension 3/8”, 44, 75, 150, 250, 450mml -

7142044…600 2 Extension 3/8” 44, 600mml

7121101 1 Twister ratchet 1/4”

- 7121501 1 Ratchet 1/4” 60 teeth

- 7121102 1 Twister ratchet 3/8”

- 7121502 1 Ratchet 3/8” 60 teeth - 7272250 1 Swivel grip handle 3/8” 250mml -

72402 1 Spinner 1/4” 150mmL - 41201 1 Hinged driver 1/4” - 1/4” in hex

- 41202 1 Hinged driver 1/4” - 3/8”

601008 10 Hex ball key set extra long 10-pcs, 1.27, 1.5, 2, 2.5, 3, 4, 5, 6, 8, 10mm

600902 9 TX key set extra long, 9-pcs, T10, T15, T20, T25, T27, T30, T40, T45, T50

71511 1 Universal joint 1/4”

71521 1 Universal joint 3/8”

7152810…19 10 Cardan socket 3/8”, 12 pt. 10, 11, 12, 13, 14, 15, 16, 17, 18, 19mm - 72011 1 Bit holder 1/4”(F) x 1/4”(F)

71921 1 Adaptor 3/8”(F) x 1/4”(M) - 72225 1 Magnet socket pick-up 1/4”

71932 1 Adaptor 1/2”(F) x 3/8”(M)

72032 1 Bit holder 1/2”(F) x 5/16”(F)

7110301 1 Disc ratchet 1/4”, 72 teeth

1 Disc ratchet 3/8”, 72 teeth

313602 - COMBINATION SET 1/2”, SFS, 136-PCS

# CONTENTS

2357710…21 5 Flank socket 1/2”, 6 pt. deep 10, 13, 17, 19, 21mm

23610…24 9 Socket TX 1/2”, E10, E11, E12, E14, E16, E18, E20, E22, E24

23510…32 22 Flank socket 1/2”, 6 pt. 10, 11, 12, 13, 14, 15, 16, 17, 18, 19, 20, 21, 22, 23, 24, 25, 26, 27, 28, 29, 30, 32mm

3398530…36 4 Impact socket 1/2”, 12pt. deep 30, 32, 34, 36mm

33510…30 19 Impact socket 1/2”, 6pt. 10, 11, 12, 13, 14, 15, 16, 17, 18, 19, 20, 21, 22, 24, 25, 27, 28, 29, 30mm

3310717…21 3 Wheel socket 1/2”, 6pt. 17, 19, 21mm

83406206…19 9 Bit socket hex 1/2”, 6, 7, 8, 9, 10, 12, 14, 17, 19mm

83606227…70 9 Bit socket TX 1/2”, T25, T27, T30, T40, T45, T50, T55, T60, T70

83706225…70 9 Bit socket tamperproof 1/2”, TX T25H, T27H, T30H, T40H, T45H, T50H, T55H, T60H, T70H

83806205…16 8 Bit socket spline 1/2”, M5, M6, M8, M9, M10, M12, M14, M16

83806216T 1 Bit socket spline 1/2”, M16-T

83906208…16 8 Bit socket ribe 1/2”, M8, M9, M10, M11, M12, M13, M14. M16

83805517 1 Bit socket XZN 1/2”, M17 55mmL

86406006...19 9 Impact bit socket hex 1/2” 6, 7, 8, 9, 10, 12, 14, 17, 19mm

86606025…70 9 Impact bit socket TX 1/2” T25, T27, T30, T40, T45, T50, T55, T60, T70

86807818 1 Impact bit socket spline 1/2”, M18

86404314…19 3 Bit socket impact hex 1/2”, one-piece 14, 17, 19mm - 7263050…250 3 Wobble extension 1/2”, 50, 125, 250mm - 71531 1 Universal joint 1/2” - 7121503 1 Ratchet 1/2” 60 teeth - 7273380 1 Swivel grip handle 1/2” 380mml - 732320200 1 Torque wrench 1/2” 20-200NM FOR

SONIC-EQUIPMENT.COM 142 03 220702 - COMBINATION SET 1/4” & 3/8”, SFS, 207-PCS 745 X 435MM L 10675 GRAM TOOLS # CONTENTS
-
-
-
-
-
-
FOR A COMPLETE INVENTORY ORDER LIST SEE OUR WEBSITE
-
-
7110302
745
435MM L 18040 GRAM TOOLS
X
A COMPLETE INVENTORY ORDER LIST SEE OUR WEBSITE

21503...13 13 Flank socket 1/4”, 6 pt. 3, 4, 4.5, 5, 5.5, 6, 7, 8, 9, 10, 11, 12, 13mm

22506...22 17 Flank socket 3/8”, 6 pt. 6, 7, 8, 9, 10, 11, 12, 13, 14, 15, 16, 17, 18, 19, 20, 21, 22mm

22604...14 9 Socket TX 3/8”, E4, E5, E6, E7, E8, E10, E11, E12, E14

23508…32 24 Flank socket 1/2”, 6 pt. 8, 9, 10, 11, 12, 13, 14, 15, 16, 17, 18, 19, 20, 21, 22, 23, 24, 25, 26, 27, 28,29, 30, 32mm

23610…24 9 Socket 1/2”, TX E10, E11, E12, E14, E16, E18, E20, E22, E24

2155005…13 9 Flank deep socket 1/4”, 6 pt. 5, 6, 7, 8, 9, 10, 11, 12, 13mm

7171216...21 3 Spark plug socket 3/8” 16, 18, 21mm

3310717...19 3 Wheel socket 1/2”, 6 pt. 17, 19, 21mm

8143703...10 7 Bit socket hex 1/4”, 3, 4, 5, 6, 7, 8, 10mm

8113701…03 3 Bit socket PH 1/4”, PH.1, PH.2, PH.3

8123701…03 3 Bit socket PZ 1/4”, PZ.1, PZ.2, PZ.3

8133704…065 3 Bit socket slotted 1/4”, 4, 5.5, 6.5mm

8163708…40 8 Bit socket TX 1/4”, T8, T10, T15, T20, T25, T27, T30, T40

8244803...10 9 Bit socket hex 3/8”, 3, 4, 5, 5.5, 6, 7, 8, 9, 10mm

8264815...55 9 Bit socket TX 3/8”, T15, T20, T25, T27, T30, T40, T45, T50, T55

8274815...55 9 Bit socket TX tamperproof 3/8”, T15H, T20H, T25H, T27H, T30H, T40H, T45H, T50H, T55H

7121501 1 Ratchet 1/4” 60 teeth - 7121502 1 Ratchet 3/8” 60 teeth - 7121503 1 Ratchet 1/2” 60 teeth

- 7110302 1 Disc ratchet 3/8”, 72 teeth

- 7141050...100 1 Extension 1/4” 50, 100mml

- 7142075...250 3 Extension 3/8” 75, 150, 250mml

- 7143125...250 2 Extension 1/2” 125, 250mml -

71511 1 Universal joint 1/4”

71521 1 Universal joint 3/8”

- 71531 1 Universal joint 1/2” - 72402 1 Spinner 1/4” 150mml

- 7273380 1 Swivel grip handle 1/2” 380mml

- 71632 1 Adaptor for extension 1/2”(F) x 3/8”(M)

- 71623 1 Adaptor for extension 3/8”(F) x 1/2”(M)

4120607…1819 7 Hinged socket wrench 6x7, 8x9, 10x11, 12x13, 14x15, 16x17, 18x19mm - 4110810…1214 3 Flare nut wrench 8x10, 11x13, 12x14mm - 42610…17 3 Stubby combination wrench 10, 13, 17mm - 4170208…19 12 Reversible ratcheting wrench 12 pt. 8, 9, 10, 11, 12, 13, 14, 15, 16, 17, 18, 19mm

41706…32 26 Combination wrench NEXT 6, 7, 8, 9, 10, 11, 12, 13, 14, 15, 16, 17, 18, 19, 20, 21, 22, 23, 24, 25, 26, 27, 28, 29, 30, 32mm

SONIC-EQUIPMENT.COM 143 03 315602 - COMBINATION SET 1/4”, 3/8”
1/2”, SFS, 156-PCS 745 X 435MM L 9820 GRAM TOOLS # CONTENTS
&
-
-
FOR A COMPLETE INVENTORY ORDER LIST SEE OUR WEBSITE
WRENCHSET,
51-PCS 745 X 435MM L 10008 GRAM TOOLS
605104 -
SFS,
# CONTENTS
-
A COMPLETE INVENTORY ORDER LIST SEE OUR WEBSITE
FOR
102 GRAM # CONTENTS 47309 -
47309 - S14 FOAM SPACER, SFS
S14 foam spacer 750 x 145mm

Sonic Foam System (SFS)

# CONTENTS

1310…3 4 Screwdriver PH, PH.0, PH.1, PH.2, PH.3

13303…10 7 Screwdriver slotted, 3, 3.5, 4, 5.5, 6.5, 8, 10mm

13605…40 12 Screwdriver TX, T5, T6, T7, T8, T9, T10, T15, T20, T25, T37, T30, T40 - 47902 1 Door upholstery panel remover 110mml - 47903 1 Scraper - 47904 1 Cotter pin puller

- 47905 1 Radiator hose remover - 47906 1 Trim pad tool 1/4”x115mml

47907 1 Trim pad tool 5/16”x115mm

47908 1 Door upholstery panel remover 132mm

47833 2 Straight removal tool 3X63mm, 3X133mm - 47835 2 Angle removal tool 3X63mm, 3X133mm

21504…13 12 Flank socket 1/4”, 6 pt. 4, 4.5, 5, 5.5, 6, 7, 8, 9, 10, 11, 12, 13mm

2155004…13 12 Flank deep socket 1/4”, 6 pt. 4, 4.5, 5, 5.5, 6, 7, 8, 9, 10, 11, 12, 13mm

21604…10 6 Socket TX 1/4”, E4, E5, E6, E7, E8, E10

2165004…10 6 Deep socket TX 1/4”, E4, E5, E6, E7, E8, E10 -

7121501 1 Ratchet 1/4” 60 teeth

- 7110101 1 Flexible ratchet 1/4”, 45 teeth

- 7110301 1 Disc ratchet 1/4”, 72 teeth -

7110201 1 Ratchet 1/4” 72 teeth

- 71911110 1 Universal 2-in-1 SB-Adapter 1/4”, 110mml

7271150 1 Swivel grip handle 1/4” - 72401 1 Spinner 1/4” 150mml

- 7141050…150 3 Extension 1/4”, 50,100,150mml

- 7261250 1 Wobble extension 1/4”, 250mml

71511 1 Universal joint 1/4”

71921 1 Adaptor 3/8”(F) x 1/4”(M)

71912 1 Adaptor 1/4”(F) x 3/8”(M)

7211 1 Flexible extension 1/4” - 72225 1 Magnet socket pick-up 1/4”

8113700…02 3 Bit socket PH 1/4”, PH.0, PH.1, PH.2

8123700…02 3 Bit socket PZ 1/4”, PZ.0, PZ.1, PZ.2

81337055…65 2 Bit socket slotted 1/4”,5.5, 6.5mm

8143703…10 9 Bit socket hex 1/4”, 3, 4, 5, 5.5, 6, 7, 8, 9, 10mm

8153708…45 9 Tamper-Res.TX plus (5 lobes) 1/4”, 8IPR, 10IPR, 15IPR, 20IPR, 25IPR, 27IPR,30IPR, 40IPR, 45IPR

8163708…40 9 Bit socket TX 1/4”, T8, T9, T10. T15, T20, T25, T27, T30, T40

8173708…40 9 Bit socket TX tamperproof 1/4”, T8H, T10H, T15H, T20H, T25H, T27H, T30H, T40H

8183704…10 5 Bit socket spline 1/4”, M4, M5, M6, M8, M10

8193704…10 6 Bit socket ribe 1/4”, M4, M5, M6, M7, M8, M10 FOR A COMPLETE INVENTORY ORDER LIST SEE OUR WEBSITE

221801 - COMBINATION SET 3/8”, SFS, 218-PCS

# CONTENTS

22506…22 17 Flank socket 3/8”, 6 pt. 6, 7, 8, 9, 10, 11, 12, 13, 14, 15, 16, 17, 18, 19, 20, 21, 22mm

2256306…22 17 Flank deep socket 3/8”, 6, 7, 8, 9, 10, 11, 12, 13, 14, 15, 16, 17, 18, 19, 20, 21, 22mm

22806…22 17 Flank socket 3/8”, 12 pt. 6, 7, 8, 9, 10, 11, 12, 13, 14, 15, 16, 17, 18, 19, 20, 21, 22mm

2286306…22 17 Flank deep socket 3/8”, 12 pt. 6, 7, 8, 9, 10, 11, 12, 13, 14, 15, 16, 17, 18, 19, 20, 21, 22mm

22606…20 10 Socket TX 3/8”, E6, E7, E8, E10, E11, E12, E14, E16, E18, E20

2266306…20 10 Deep socket TX 3/8”, E6, E7, E8, E10, E11, E12, E14, E16, E18, E20

7121502 1 Ratchet 3/8” 60 teeth

7120102 1 Stubby ratchet 3/8” 45 teeth

7110302 1 Disc ratchet 3/8” 72 teeth

7110202 1 Flexible ratchet 3/8” 72 teeth

7142044…600 6 Extension 3/8” 44, 75, 150, 200, 450, 600mml

71521 1 Universal joint 3/8”

71923 1 Adaptor 3/8”(F) x 1/2”(M)

71932 1 Adaptor 1/2”(F) x 3/8”(M)

7272250 1 Swivel grip handle 3/8” 250mml

72602 1 Speedy T-grip 3/8”

7152450 1 T-wrench universal joint 3/8” 450mml 7172214 1 Spark plug clip socket 12 pt. 3/8”, 14mm

7172216…21 3 Spark plug clip socket 3/8”, 16, 18, 21mm

732210100 1 Torques wrench 3/8”, 10-100NM

8214801…3 3 Bit socket PH 3/8”, PH.1, PH. 2, PH.3

8224801…3 3 Bit socket PZ 3/8”, PZ.1, PZ.2, PZ.3

8244803…12 11 Bit socket hex 3/8”, 3, 4, 5, 5.5, 6, 7, 8, 9, 10, 11, 12mm

8249003…11 9 Bit socket hex 3/8”, 90mml 3, 4, 5, 6, 7, 8, 9, 10, 11mm

8209003…11 9 Bit socket ball hex 3/8”, 90mml 3, 4, 5, 6, 7, 8, 9, 10, 11mm

8264808…60 12 Bit socket TX 3/8”, T8, T10, T15, T20, T25, T27, T30, T40, T45, T50, T55, T60

8269008…50 10 Bit socket TX 3/8”, 90mml T8, T10, T15, T20, T25, T27, T30, T40, T45, T50

8274808…60 12 Bit socket TX tamperproof 3/8”, T8H, T10H, T15H, T20H, T25H, T27H, T30H, T40H, T45H, T50H, T55H, T60H

8279008…50 10 Bit socket TX tamperproof 3/8”, 90mml T8H, T10H, T15H, T20H, T25H, T27H, T30H, T40H, T45H, T50H

8284804…12 7 Bit socket spline 3/8”, M4, M5, M6, M8, M9, M10, M12

8289005…12 6 Bit socket spline 3/8”, 90mml M5, M6, M8, M9, M10, M12

8294804…12 8 Bit socket ribe 3/8”, M4, M5, M6, M7, M8, M9, M10, M12

8299005…12 7 Bit socket ribe 3/8”, 90mml M5, M6, M7, M8, M9, M10, M12

41202 1 Hinged driver 1/4”-3/8”

100301-2 1 Drill adaptor 3/8” FOR A COMPLETE INVENTORY ORDER LIST SEE OUR WEBSITE

SONIC-EQUIPMENT.COM 144 03 114101 - SCREWDRIVER & 1/4” BIT SOCKET SET, SFS, 141-PCS 745 X 570MM XL 5820 GRAM TOOLS
-
-
-
-
-
-
-
-
745
570MM XL 15560 GRAM TOOLS
X
-
-
-
-
-
-
-
-
-
-
-
-
-
-

-

# CONTENTS

22506…22 17 Flank socket 3/8”, 6 pt. 6, 7, 8, 9, 10, 11, 12, 13, 14, 15, 16, 17, 18, 19, 20, 21, 22mm

2256306…22 17 Flank deep socket 3/8”, 6, 7, 8, 9, 10, 11, 12, 13, 14, 15, 16, 17, 18, 19, 20, 21, 22mm

22806…22 17 Flank socket 3/8”, 12 pt. 6, 7, 8, 9, 10, 11, 12, 13, 14, 15, 16, 17, 18, 19, 20, 21, 22mm

2286306…22 17 Flank deep socket 3/8”, 12 pt. 6, 7, 8, 9, 10, 11, 12, 13, 14, 15, 16, 17, 18, 19, 20, 21, 22mm

22606…20 10 Socket TX 3/8”, E6, E7, E8, E10, E11, E12, E14, E16, E18, E20

2266306…20 10 Deep socket TX 3/8”, E6, E7, E8, E10, E11, E12, E14, E16, E18, E20

8214801…3 3 Bit socket PH 3/8”, PH.1, PH. 2, PH.3

8224801…3 3 Bit socket PZ 3/8”, PZ.1, PZ.2, PZ.3

8244803…12 11 Bit socket hex 3/8”, 3, 4, 5, 5.5, 6, 7, 8, 9, 10, 11, 12mm

8249003…11 9 Bit socket hex 3/8”, 90mml 3, 4, 5, 6, 7, 8, 9, 10, 11mm

8209003…11 9 Bit socket ball hex 3/8”, 90mml 3, 4, 5, 6, 7, 8, 9, 10, 11mm

8264808…60 12 Bit socket TX 3/8”, T8, T10, T15, T20, T25, T27, T30, T40, T45, T50, T55, T60

8269008…50 10 Bit socket TX 3/8”, 90mml T8, T10, T15, T20, T25, T27, T30, T40, T45, T50

8274808…60 12 Bit socket TX tamperproof 3/8”, T8H, T10H, T15H, T20H, T25H, T27H, T30H, T40H, T45H, T50H, T55H, T60H

8279008…50 10 Bit socket TX tamperproof 3/8”, 90mml T8H, T10H, T15H, T20H, T25H, T27H, T30H, T40H, T45H, T50H

8284804…12 7 Bit socket spline 3/8”, M4, M5, M6, M8, M9, M10, M12

8289005…12 6 Bit socket spline 3/8”, 90mml M5, M6, M8, M9, M10, M12

8294804…12 8 Bit socket ribe 3/8”, M4, M5, M6, M7, M8, M9, M10, M12

8299005…12 7 Bit socket ribe 3/8”, 90mml M5, M6, M7, M8, M9, M10, M12

7142044…600 6 Extension 3/8” 44, 75, 150, 200, 450, 600mml -

71923 1 Adaptor 3/8”(F) x 1/2”(M)

71932 1 Adaptor 1/2”(F) x 3/8”(M)

- 41202 1 Hinged driver 1/4”-3/8”

- 7176208...14 4 Glow plug socket 3/8’’, 72l 8, 10, 12, 14mm

- 71521 1 Universal joint 3/8”

- 7110302 1 Disc ratchet 3/8” 72 teeth

- 7152450 1 T-wrench universal joint 3/8” 450mml

- 7120102 1 Stubby ratchet 3/8” 45 teeth

- 7121502 1 Ratchet 3/8” 60 teeth

- 7121102 1 Twister ratchet 3/8”

- 72602 1 Speedy T-grip 3/8”

- 732210100 1 Torques wrench 3/8”, 10-100NM - 7272250 1 Swivel grip handle 3/8” 250mml

- 100301-2 1 Drill adaptor 3/8” FOR A COMPLETE INVENTORY ORDER LIST SEE OUR WEBSITE

314901 - COMBINATION SET 1/2”, SFS, 149-PCS 745 X 570MM

TOOLS # CONTENTS

23510…32 20 Flank socket 1/2”, 6 pt. 10, 11, 12, 13, 14, 15, 16, 17, 18, 19, 20, 21, 22, 23, 24, 26, 27, 28, 30, 32mm

23810…32 20 Flank socket 1/2”, 12 pt. 10, 11, 12, 13, 14, 15, 16, 17, 18, 19, 20, 21, 22, 23, 24, 26, 27, 28, 30, 32mm

23910…32 15 Flank socket 1/2”, 12 pt. 3/8”, 7/16”, 1/2”, 9/16”, 5/8”, 11/16”, 3/4”, 13/16”, 7/8”, 15/16”, 1”, 1.1/16”, 1.1/8”, 1.3/16”, 1.1/4”

23610…24 9 Socket TX 1/2”, E10, E11, E12, E14, E16, E18, E20, E22, E24

3310717…21 3 Wheel socket 1/2”, 6 pt. 17, 19, 21mm

3310617 1 Impact socket 1/2”, 17mm for Mercedes-Benz 88mml

7110403 1 Swivel stubby ratchet 1/2” 72 teeth

7121503 1 Ratchet 1/2” 60 teeth

7110203 1 Swivel ratchet 1/2” 72 teeth

71531 1 Universal joint 1/2”

7273380 1 Swivel grip handle 1/2” 380mml

7233600 1 Swivel handle 1/2” 600mml - 7143125…250 2 Extension 1/2” 125, 250mml - 7263050…500 4 Wobble extension 1/2” 50, 125, 250, 500mml

71923 1 Adaptor 3/8”(F) x 1/2”(M)

71932 1 Adaptor 1/2”(F) x 3/8”(M)

71623 1 Adaptor for extension 3/8”(F) x 1/2”(M)

71943 1 Adaptor 3/4”(F) x 1/2”(M)

71934 1 Adaptor 1/2”(F) x 3/4”(M)

732380400 1 1/2” torques wrench 80-400NM 83406204…19 12 Bit socket hex 1/2”, 4, 5, 5.5, 6, 7, 8, 9, 10, 12, 14, 17, 19mm 834106205…17 10 Bit socket hex 1/2”, 3/16”, 1/4”, 9/32”, 5/16”, 11/32”, 3/8”, 7/16”, 1/2”, 9/16”, 5/8”

83606220…70 10 Bit socket TX 1/2”, T20, T25, T27, T30, T40, T45, T50, T55, T60, T70 83706220…70 10 Bit socket TX tamperproof 1/2”, T20H, T25H, T27H, T30H, T40H, T45H, T50H, T55H, T60H, T70H 83806205…16 8 Bit socket spline 1/2”, M5, M6, M7, M8, M9, M10, M12, M14, M16, M16T 83806216T 1 Bit socket spline 1/2”, M16T 83805517 1 Bit socket spline 1/2”, M17 83906205…16 11 Bit socket ribe 1/2”, M5, M6, M7, M8, M9, M10, M10-1, M12, M13, M14, M16 FOR A COMPLETE INVENTORY ORDER LIST SEE OUR WEBSITE

SONIC-EQUIPMENT.COM 145 03 221803 - COMBINATION SET 3/8”, SFS, 218-PCS 745 X 570MM XL HEAVY DUTY 15560 GRAM
TOOLS
-
XL 20200 GRAM
-
-
-
-
-
-
-
-
-
-
-
-

Sonic Foam System (SFS)

# CONTENTS

23508…32 22 Flank socket 1/2”, 6 pt. 8, 9, 10, 11, 12, 13, 14, 15, 16, 17, 18, 19, 20, 21, 22, 23, 24, 26, 27, 28, 30, 32mm

2357721…32 9 Flank deep socket 1/2”, 6 pt. 21, 22, 23, 24, 26, 27, 28, 30, 32mm

23610…22 9 Socket TX 1/2”, E10, E11, E12, E14, E16, E18, E20, E22

7121103 1 Twister ratchet 1/2”

7121503 1 Ratchet 1/2” 60 teeth

- 7110303 1 Disc ratchet 1/2”, 72 teeth

- 71531 1 Universal joint 1/2” - 7273380 1 Swivel grip handle 1/2” 380mml

7233600 1 Swivel handle 1/2” 600mml

- 7143125…250 2 Extension 1/2” 125, 250mml

7263050...500 4 Wobble extension 1/2” 50, 125, 250, 500mml

71923 1 Adaptor 3/8”(F) x 1/2”(M)

71932 1 Adaptor 1/2”(F) x 3/8”(M)

71623 1 Adaptor for extension 3/8”(F) x 1/2”(M)

71943 1 Adaptor 3/4”(F) x 1/2”(M)

71934 1 Adaptor 1/2”(F) x 3/4”(M)

732380400 1 1/2” torques wrench 80-400NM

83406205…14 8 Bit socket hex 1/2”, 5, 6, 7, 8, 9, 10, 12, 14mm

83606227…70 8 Bit socket TX 1/2”, T27, T30, T40, T45, T50, T55, T60, T70

83706227…70 8 Bit socket TX tamperproof 1/2”, T27H, T30H, T40H, T45H, T50H, T55H, T60H, T70H

83806205…14 7 Bit socket spline 1/2”, M5, M6, M8, M9, M10, M12, M14

83806216T 1 Bit socket spline 1/2”, M16T

83906207…16 8 Bit socket ribe 1/2”, M7, M8, M9, M10, M12, M13, M14, M16 FOR A COMPLETE INVENTORY ORDER LIST SEE OUR WEBSITE

603402 - PLIERS & CUTTING SET, SFS, 34-PCS

TOOLS

CONTENTS - 4311175 1 Combination pliers 7”

4321160 1 Long nose pliers

4321200 1 Long nose pliers 8”

4331200 1 Bent long nose pliers 8”

4341175 1 Diagonal pliers 7”

4341190 1 Universal diagonal pliers

4351180 1 Waterpump pliers 7”

4351250 1 Waterpump pliers 10”

43611 1 Snap ring pliers (straight-open)

43612 1 Snap ring pliers (straight-close)

43613 1 Snap ring pliers (bent-open)

43614 1 Snap ring pliers (bent-close)

4380250 1 Locking pliers 10”

4381150 1 Long nose locking pliers 150mml

4382125 1 Curved jaw locking pliers 125mml

4391175 1 Locking pliers for brake and air plug

4333270 1 Long nose pliers 11” 90 degree bent - 4393003 1 Circle nose pliers 11”-1” - 4471180 1 Wire stripper 7” - 44005 1 Multi-grip pliers straight jaw

46702 1 Shears left 7”

46703 1 Shears right 7”

47023 1 Brake fluid tester

4820207 1 Flexible magnet pickup 500g

81301 1 Crimping pliers

81302 1 Jaw for crimping insulated terminals A

81303 1 Jaw for crimping non-insulated terminals B

81304 1 Jaw for crimping open barrel terminals C

81305 1 Jaw for cord-end terminal D (small sizes) - 81306 1 Jaw for cord-end terminal F (big sizes)

81307 1 Jaw for crimping open barrel Terminals H (small sizes) - 600308 3 Hose line clamp set 3-pcs FOR A COMPLETE INVENTORY ORDER LIST SEE OUR WEBSITE

SONIC-EQUIPMENT.COM 146 03 311501 - COMBINATION SET 1/2”, SFS, 115-PCS 745 X 570MM XL HEAVY DUTY 20200 GRAM
TOOLS
-
-
-
-
-
-
-
-
-
-
X 570MM XL 6948 GRAM
-
-
-
-
-
-
-
-
-
-
-
-
-
-
-
-
-
-
-
-
-
745
#
-
-
-
-
-

- 4311175 1 Combination pliers 7” - 4322160 1 Long nose pliers 6”

4321200 1 Long nose pliers 8”

4331200 1 Bent long nose pliers 8”

4341180 1 Diagonal side cutting pliers 7’’ - 4351180...400 3 Waterpump pliers 7”, 10”, 16” 4820545 1 Pocket-sized, ultra-slim work light

4393004 1 Snap ring pliers (straight close) ø 40-100mm

4393005 1 Snap ring pliers (straight open) ø 40-100mm

4393006 1 Snap ring pliers (bent close) ø 40-100mm

4393007 1 Snap ring pliers (bent open) ø 40-100mm - 4380250 1 Locking pliers 10” - 4382125 1 Curved jaw locking pliers 125mml

4391175 1 Locking pliers for brake and air plug

4720107 1 Empty tray (54x110x45mm)

4471180 1 Wire stripper 7”

46702 1 Shears left 7”

46703 1 Shears right 7” - 46704 1 Combi scissors

4820207 1 Flexible magnet pickup 500g

81301 1 Crimping pliers

81302 1 Jaw for crimping insulated terminals A - 81303 1 Jaw for crimping non-insulated terminals B - 81304 1 Jaw for crimping open barrel terminals C - 81305 1 Jaw for cord-end terminal D (small sizes)

81306 1 Jaw for cord-end terminal F (big sizes)

- 81307 1 Jaw for crimping open barrel Terminals H (small sizes)

- 600308 3 Hose line clamp set 3-pcs FOR A COMPLETE INVENTORY ORDER LIST SEE OUR WEBSITE

4081011 1 Flexible flare nut wrench 10x11mm - 4110810…1719 5 Flare nut wrench 8x10, 11x13, 12x14, 16x18, 17x19mm - 41506…36 28 Combination wrench 6, 7, 8, 9, 10, 11, 12, 13, 14, 15, 16, 17, 18, 19, 20, 21, 22, 23, 24, 25, 26, 27, 28, 29, 30, 32, 34, 36mm

- 42608…17 10 Stubby combination wrench 8, 9, 10, 11, 12, 13, 14, 15, 16, 17mm

- 4190607…2122 8 75 offset ring wrench 6x7, 8x9, 10x11, 12x13, 14x15, 16x17, 18x19, 21x22mm - 4170208…19 12 Reversible ratcheting wrench 12 pt. 8, 9, 10, 11, 12, 13, 14, 15, 16, 17, 18, 19mm 4160608…2024 4 TX wrench E6xE8, E10xE12, E14xE18, E20xE24 - 41760608…2024 4 TX wrench E6xE8, E10xE12, E14xE18, E20xE24 FOR A COMPLETE INVENTORY ORDER

CONTENTS

1310…3 4 Screwdriver PH, PH.0, PH.1, PH.2, PH.3

1311S…2S 2 Screwdriver stubby PH, PH.1, PH.2

13303…10 7 Screwdriver slotted, 3.0, 3.5, 4, 5.5, 6.5, 8, 10

133055S…65S 2 Screwdriver stubby slotted, 5.5, 6.5mm 13605…40 12 Screwdriver TX, T5, T6, T7, T8, T9, T10, T15, T20, T25, T27, T30, T40 13625015…45 7 Screwdriver TX, 250mml T15, T20, T25, T27, T30, T40, T45

47902 1 Door upholstery panel remover 110mml - 47903 1 Scraper

47904 1 Cotter pin puller - 47905 1 Radiator hose remover - 47906 1 Trim pad tool 1/4”x115mml - 47907 1 Trim pad tool 5/16”x115mml

47908 1 Door upholstery panel remover 132mml

47833…34 2 Straight removal tool 3x63, 3x133mml - 47835…36 2 Angle removal tool 3x63, 3x133mml FOR A COMPLETE INVENTORY ORDER LIST SEE OUR WEBSITE

SONIC-EQUIPMENT.COM 147 03 603209 - PLIERS SET, SFS, 32-PCS 745 X 570MM XL HEAVY DUTY 7790 GRAM TOOLS
# CONTENTS
-
-
-
-
-
-
-
-
-
-
-
-
-
-
-
-
607201
WRENCH SET, SFS, 72-PCS 745 X 570MM XL 11900 GRAM
-
TOOLS # CONTENTS -
604501
SCREWDRIVER SET, SFS, 45-PCS 745 X 570MM XL 4240 GRAM TOOLS #
LIST SEE OUR WEBSITE
-
-
-
-
-

Sonic Foam System (SFS)

46808-1 1 10-pcs spare blades dispenser (46808)

47006 1 Feeler gauge 20-pcs, 0.05-1.00mm

46808 1 Utility knife (incl. 10 blades)

9 TX key set extra long, 9-pcs 601008 10 Hex ball key set extra long 10-pcs, 1.27, 1.5, 2, 2.5, 3, 4, 5, 6, 8, 10mm

47003 1 Stainless steel vernier caliper

47032 1 Stainless square ruler 200x125mm

47005 1 Stainless steel protractor

47013 1 Measuring tape 5 meter

1 Tire profile gauge 50mm

812008 1 Hinged chain wrench for oil filters

46912 1 Half round file 8”

46913 1 Round file 8”

46914 1 Triangular file 8”

47004 1 Stainless steel straight ruler 30cm

46905 1 Triangular file for brakes 8” - 45310230 1 Grip Pin punch 230mmL 10” - 45312250 1 Grip Pin punch 250mmL 12” - 45314290 1 Grip Pin punch 290mmL 14”

45316310 1 Grip Pin punch 310mmL 16”

45602 1 Auto center punch - 4820110 1 Telescopic magnet - 47817 1 Plastic scraper

4820111 1 Telescopic mirror 31-61cm - 4821301 1 Wedge (190x30mm) universal - 46601 1 Super heavy duty hacksaw FOR A COMPLETE INVENTORY ORDER LIST SEE OUR WEBSITE

# CONTENTS - 4110810...3641 5 Flare nut wrench 8x10, 11x13, 12x14, 16x18, 17x19, 19x22, 24x27, 30x32, 36x41mm - 4190607...2022 8 75° offset ring wrench 6x7, 8x9, 10x11, 12x13, 14x15, 16x17, 18x19, 20X22mm

4170401…02 2 4-in-1 ring ratcheting wrench 8-10,12-13; 16-17, 18-19mm - 4170208…22 14 Reversible ratcheting wrench 12 pt. 8, 9, 10, 11, 12, 13, 14, 15, 16, 17, 18, 19, 21, 22mm - 41506…46 31 Combination wrench 6, 7, 8, 9, 10, 11, 12, 13, 14, 15, 16, 17, 18, 19, 20, 21, 22, 23, 24, 25, 26, 27, 28, 29, 30, 32, 34, 36, 38, 41, 46mm FOR A COMPLETE INVENTORY ORDER LIST

13605…45 12 Screwdriver TX, T5, T6, T7, T8, T9, T10, T15, T20, T25, T37, T30, T40, T45 47840 1 Precision screwdriver PH 00 x 60 47837 1 Precision screwdriver PH 2.0 x 60

13625015…45 7 Screwdriver TX extra long, 250mml, T15, T20, T25, T27, T30, T40, T45

1312501...2 2 Screwdriver extra long, PH.1, PH.2

1342503…06 4 Screwdriver extra long, hex 3, 4, 5, 6mm

13325004...65 2 Screwdriver extra long, 4, 5.5, 6.5mm

1311S…2S 2 Screwdriver stubby, PH, PH.1, PH.2

133055S 1 Screwdriver stubby slotted, 5.5mm

72405 1 Extension driver 1/4”, 100-200mm

104101 1 Bitset 1/4”, 41-pcs

1310…13 4 Screwdriver PH.0, PH.1, PH.2, PH.3

13303...12 8 Screwdriver slotted, 3, 3.5, 4, 5.5, 6.5, 8, 10, 12mm FOR A COMPLETE INVENTORY ORDER LIST SEE OUR WEBSITE

SONIC-EQUIPMENT.COM 148 03 606302 - CHISEL AND UTILITY TOOLS SET, SFS, 63-PCS 745 X 570MM XL HEAVY DUTY 8172 GRAM TOOLS
-
-
-
-
-
-
-
-
-
-
-
-
-
-
-
606601 - WRENCH SET, SFS, 66-PCS 745 X 570MM XL HEAVY DUTY 18164 GRAM TOOLS
-
SEE OUR WEBSITE 608801 - MEVA SCREWDRIVER & BIT SET, SFS, 88-PCS 745 X 570MM XL 5204 GRAM TOOLS # CONTENTS
# CONTENTS - 4811254 1 Steel wire brush
600902
47028
46911 1 Flat file 8”
-
-
-
-
-

22506…22 17 Flank socket 3/8”, 6 pt. 6, 7, 8, 9, 10, 11, 12, 13, 14, 15, 16, 17, 18, 19, 20, 21, 22mm

2256306…22 17 Flank deep socket 3/8”, 6, 7, 8, 9, 10, 11, 12, 13, 14, 15, 16, 17, 18, 19, 20, 21, 22mm

22806…22 17 Flank socket 3/8”, 12 pt. 6, 7, 8, 9, 10, 11, 12, 13, 14, 15, 16, 17, 18, 19, 20, 21, 22mm

2286306…22 17 Flank deep socket 3/8”, 12 pt. 6, 7, 8, 9, 10, 11, 12, 13, 14, 15, 16, 17, 18, 19, 20, 21, 22mm

22606…20 10 Socket TX 3/8”, E6, E7, E8, E10, E11, E12, E14, E16, E18, E20

2266306…20 10 Deep socket TX 3/8”, E6, E7, E8, E10, E11, E12, E14, E16, E18, E20 - 7121502 1 Ratchet 3/8” 60 teeth -

7120102 1 Stubby ratchet 3/8” 45 teeth

7110302 1 Disc ratchet 3/8” 72 teeth

7121102 1 Twister ratchet 3/8”

7142044...600 6 Extension 3/8” 44, 75, 150, 200, 450, 600mml

- 71521 1 Universal joint 3/8” - 71923 1 Adaptor 3/8”(F) x 1/2”(M)

71932 1 Adaptor 1/2”(F) x 3/8”(M)

7272250 1 Swivel grip handle 3/8” 250mml

7152810…19 10 Cardan socket 3/8”, 12 pt. 10, 11, 12, 13, 14, 15, 16, 17, 18, 19mm

7152450 1 T-wrench universal joint 3/8” 450mml

7172214 1 Spark plug clip socket 12 pt. 3/8”, 14mm

7172216…21 3 Spark plug clip socket 3/8”, 16, 18, 21mm

732210100 1 Torques wrench 3/8”, 10-100NM

8214801…3 3 Bit socket PH 3/8”, PH.1, PH. 2, PH.3

8224801…3 3 Bit socket PZ 3/8”, PZ.1, PZ.2, PZ.3

8244803…12 11 Bit socket hex 3/8”, 3, 4, 5, 5.5, 6, 7, 8, 9, 10, 11, 12mm

8249003…11 9 Bit socket hex 3/8”, 90mml 3, 4, 5, 6, 7, 8, 9, 10, 11mm

8209003…10 8 Bit socket ball hex 3/8”, 90mml 3, 4, 5, 6, 7, 8, 9, 10mm

8264808…60 12 Bit socket TX 3/8”, T8, T10, T15, T20, T25, T27, T30, T40, T45, T50, T55, T60

8269008…50 10 Bit socket TX 3/8”, 90mml T8, T10, T15, T20, T25, T27, T30, T40, T45, T50

8274808…60 12 Bit socket TX tamperproof 3/8”, T8H, T10H, T15H, T20H, T25H, T27H, T30H, T40H, T45H, T50H, T55H, T60H

8279008…50 10 Bit socket TX tamperproof 3/8”, 90mml T8H, T10H, T15H, T20H, T25H, T27H, T30H, T40H, T45H, T50H

8284804…12 7 Bit socket spline 3/8”, M4, M5, M6, M8, M9, M10, M12

8289005…12 6 Bit socket spline 3/8”, 90mml M5, M6, M8, M9, M10, M12

8294804…12 8 Bit socket ribe 3/8”, M4, M5, M6, M7, M8, M9, M10, M12

8299005…12 7 Bit socket ribe 3/8”, 90mml M5, M6, M7, M8, M9, M10, M12

41202 1 Hinged driver 1/4”-3/8”

100301-2 1 Drill adaptor 3/8” FOR A COMPLETE INVENTORY ORDER LIST SEE OUR WEBSITE 312103 - COMBINATION SET 1/2”, SFS, 121-PCS

# CONTENTS

23508…32 24 Flank socket 1/2”, 6 pt. 8, 9, 10, 11, 12, 13, 14, 15, 16, 17, 18, 19, 20, 21, 22, 23, 24, 25, 26, 27, 28, 29, 30, 32mm

23610…22 8 Socket TX 1/2”, E10, E11, E12, E14, E16, E18, E20, E22

2357708…32 22 Flank deep socket 1/2”, 6 pt. 8, 9, 10, 11, 12, 13, 14, 15, 16, 17, 18, 19, 20, 21, 22, 23, 24, 25, 26, 27, 28, 29, 30, 32mm

3310715…22 5 Wheel socket 1/2”, 6 pt. 15, 17, 19, 21, 22mm

3310617 1 Impact socket 1/2”, 17mm for Mercedes-Benz 88mml - 7110303 1 Disc ratchet 1/2”, 72 teeth

7121503 1 Ratchet 1/2” 60 teeth

7121103 1 Twister ratchet 1/2”

71531 1 Universal joint 1/2”

7273380 1 Swivel grip handle 1/2” 380mml

7233600 1 Swivel handle 1/2” 600mml - 7143125…250 2 Extension 1/2” 125, 250mml

7263050…500 4 Wobble extension 1/2” 50, 125, 250, 500mml

71923 1 Adaptor 3/8”(F) x 1/2”(M)

71932 1 Adaptor 1/2”(F) x 3/8”(M)

71623 1 Adaptor for extension 3/8”(F) x 1/2”(M)

71943 1 Adaptor 3/4”(F) x 1/2”(M)

71934 1 Adaptor 1/2”(F) x 3/4”(M) - 730340200 1 Torque wrench 1/2”, 40-200Nm

83406205…14 10 Bit socket hex 1/2”, 4, 5, 5.5, 6, 7, 8, 9, 10, 12, 14mm 83606227…70 8 Bit socket TX 1/2”, T27, T30, T40, T45, T50, T55, T60, T70 83706227…70 8 Bit socket TX tamperproof 1/2”, T27H, T30H, T40H, T45H, T50H, T55H, T60H, T70H 83806205…14 8 Bit socket spline 1/2”, M5, M6, M7, M8, M9, M10, M12, M14 83806216T 1 Bit socket spline 1/2”, M16T 83906207…16 8 Bit socket ribe 1/2”, M7, M8, M9, M10, M12, M13, M14, M16

72603 1 Speedy T-grip 1/2”

SONIC-EQUIPMENT.COM 149 03 222801 - COMBINATION SET 3/8”, SFS, 228-PCS 745 X 570MM XL 15720 GRAM
TOOLS # CONTENTS
-
-
-
-
-
-
-
-
745 X 570MM XL 20200 GRAM TOOLS
-
-
-
-
-
-
-
-
-
-
-
-
-
FOR A COMPLETE INVENTORY ORDER LIST SEE OUR WEBSITE

Sonic Foam System (SFS)

# CONTENTS

23510…32 20 Flank socket 1/2”, 6 pt. 10, 11, 12, 13, 14, 15, 16, 17, 18, 19, 20, 21, 22, 23, 24, 26, 27, 28, 30, 32mm

23910…32 15 Flank socket 1/2”, 12 pt. 3/8”, 7/16”, 1/2”, 9/16”, 5/8”, 11/16”, 3/4”, 13/16”, 7/8”, 15/16”, 1”, 1.1/16”, 1.1/8”, 1.3/16”, 1.1/4”

23610…24 10 Socket TX 1/2”, E10, E11, E12, E14, E16, E18, E20, E22, E24

23810…32 20 Flank socket 1/2”, 12 pt. 10, 11, 12, 13, 14, 15, 16, 17, 18, 19, 20, 21, 22, 23, 24, 26, 27, 28, 30, 32mm

7110403 1 Swivel stubby ratchet 1/2” 72 teeth

- 7121503 1 Ratchet 1/2” 60 teeth

- 7110203 1 Swivel ratchet 1/2” 72 teeth

71531 1 Universal joint 1/2”

7273380 1 Swivel grip handle 1/2” 380mml

7233600 1 Swivel handle 1/2” 600mml

7143125…250 2 Extension 1/2” 125, 250mml - 7263050...500 4 Wobble extension 1/2” 50, 125, 250, 500mml - 71923 1 Adaptor 3/8”(F) x 1/2”(M)

71932 1 Adaptor 1/2”(F) x 3/8”(M)

71623 1 Adaptor for extension 3/8”(F) x 1/2”(M)

71943 1 Adaptor 3/4”(F) x 1/2”(M)

71934 1 Adaptor 1/2”(F) x 3/4”(M)

- 732380400 1 1/2” torques wrench 80-400NM

83406204…19 12 Bit socket hex 1/2”, 4, 5, 5.5, 6, 7, 8, 9, 10, 12, 14, 17, 19mm

83606220…70 10 Bit socket TX 1/2”, T20, T25, T27, T30, T40, T45, T50, T55, T60, T70

8370620…70 10 Bit socket TX tamperproof 1/2”, T20H, T25H ,T27H, T30H, T40H, T45H, T50H, T55H, T60H, T70H

83806205…16 8 Bit socket spline 1/2”, M5, M6, M8, M9, M10, M12, M14, M16

83806216T 1 Bit socket spline 1/2”, M16T

83906205…16 11 Bit socket ribe 1/2”, M5, M6, M7, M8, M9, M10, M10-1, M12, M13, M14, M16

834106205…17 10 Bit socket hex 1/2”, 3/16”, 1/4”, 9/32”, 5/16”, 11/32”, 3/8”, 7/16”, 1/2”, 9/16”, 5/8”

83805517 1 Bit socket XZN 1/2”, M17 55mmL FOR A COMPLETE INVENTORY ORDER LIST SEE OUR WEBSITE

610201 - WRENCH SET, SFS, 102-PCS

# CONTENTS - 4081011 1 Flexible flare nut wrench 10x11mm - 4110810…1719 5 Flare nut wrench 8x10, 11x13, 12x14, 16x18, 17x19mm

41534…36 2 Combination wrench 34, 36mm

42608…17 10 Stubby combination wrench 8, 9, 10, 11, 12, 13, 14, 15, 16, 17mm - 4170208…19 12 Reversible ratcheting wrench 12 pt. 8, 9, 10, 11, 12, 13, 14, 15, 16, 17, 18, 19mm - 4160608…2024 4 TX wrench E6xE8, E10xE12, E14xE18, E20xE24 - 4200809…1819 6 Flat double ring wrench 8x9, 10x11, 12x13, 14x15, 16x17, 18x19mm

40808…12 5 Flexible flare nut wrench 8, 9, 10, 11, 12mm

4150310…19 10 Combination wrench extra long 10, 11, 12, 13, 14, 15, 16, 17, 18, 19mm - 41706…32 26 Combination wrench NEXT 6, 7, 8, 9, 10, 11, 12, 13, 14, 15, 16, 17, 18, 19, 20, 21, 22, 23, 24, 25, 26, 27, 28, 29, 30, 32mm 601008 10 Hex ball key set extra long 10-pcs, 1.27, 1.5, 2, 2.5, 3, 4, 5, 6, 8, 10mm 600902 9 TX key set extra long, 9-pcs, T10, T15, T20, T25, T27, T30, T40, T45, T50 FOR A COMPLETE INVENTORY ORDER LIST SEE OUR WEBSITE

SONIC-EQUIPMENT.COM 150 03 314501 - COMBINATION SET 1/2”, SFS, 145-PCS (HEAVY DUTY) 745 X 570MM XL HEAVY DUTY 35200 GRAM TOOLS
-
-
-
-
-
-
-
-
-
745
570MM XL 15210 GRAM TOOLS
-
-
X
-
-

- SCREWDRIVER SET,

# CONTENTS

- 81302 1 Jaw for crimping insulated terminals A - 81303 1 Jaw for crimping non-insulated terminals B - 81304 1 Jaw for crimping open barrel terminals C - 81305 1 Jaw for cord-end terminal D (small sizes)

81306 1 Jaw for cord-end terminal F (big sizes)

- 81307 1 Jaw for crimping open barrel Terminals H (small sizes)

- 81301 1 Crimping pliers

- 44005 1 Multi-grip pliers straight jaw - 4380250 1 Locking pliers 10” - 4381150 1 Long nose locking pliers 150mml - 4382125 1 Curved jaw locking pliers 125mml

- 4391175 1 Locking pliers for brake and air plug

- 4393003 1 Circle nose pliers 11”-1”

4333270 1 Long nose pliers 11” 90 degree bent - 46702 1 Shears left 7”

46703 1 Shears right 7”

- 4820207 1 Flexible magnet pickup 500g-400L - 47023 1 Brake fluid tester

- 600308 3 Hose line clamp set 3-pcs - 4471180 1 Wire stripper 7” - 43611 1 Snap ring pliers (straight-open) - 43612 1 Snap ring pliers (straight-close)

- 43613 1 Snap ring pliers (bent-open)

- 43614 1 Snap ring pliers (bent-close)

- 4311175 1 Combination pliers 7”

4321160 1 Long nose pliers - 4321200 1 Long nose pliers 8”

4331200 1 Bent long nose pliers 8” - 4341175 1 Diagonal pliers 7”

- 4341190 1 Universal diagonal pliers

- 4351180 1 Waterpump pliers 7”

- 4351250 1 Waterpump pliers 10” FOR A COMPLETE INVENTORY ORDER LIST SEE OUR WEBSITE

1310…13 4 Screwdriver PH, PH.0, PH.1, PH.2, PH.3 1312S 1 Screwdriver stubby PH, PH.2 13303…12 8 Screwdriver slotted, 3, 3.5, 4, 5.5, 6.5, 8, 10, 12

133055S 1 Screwdriver stubby slotted, 5.5mm 13605…40 12 Screwdriver TX, T5, T6, T7, T8, T9, T10, T15, T20, T25, T27, T30, T40 13625015…45 5 Screwdriver TX, 250mml T15, T20, T25, T30, T45

47902 1 Door upholstery panel remover 110mml

47903 1 Scraper

47904 1 Cotter pin puller

47905 1 Radiator hose remover

47906 1 Trim pad tool 1/4”x115mml

47907 1 Trim pad tool 5/16”x115mml - 47908 1 Door upholstery panel remover 132mml - 47833…34 2 Straight removal tool 3x63, 3x133mml - 47835…36 2 Angle removal tool 3x63, 3x133mml 1312502 1 Screwdriver extra long, PH.2 47839...40 2 Precision screwdriver PH 0 x 60, PH 00 x 60 47837...38 2 Precision screwdriver slotted 2.0 x 60, 3.0 x 60 - 4821308…12 2 Pry bar 200mml 8”, 300mml 12” 13325065 1 Screwdriver extra long, 6.5mm FOR A COMPLETE INVENTORY ORDER LIST SEE OUR WEBSITE

SONIC-EQUIPMENT.COM 151 03
- PLIERS SET, SFS, 34-PCS 745 X 570MM XL 7702 GRAM TOOLS
603403
-
-
-
-
-
SFS, 50-PCS 745 X 570MM XL 5954 GRAM TOOLS
605004
# CONTENTS
-
-
-
-
-
-

Sonic Foam System (SFS)

TOOLS # CONTENTS

- 4220608…2932 8 Double open wrench 1/4”x5/16”, 3/8”x7/16”, 1/2”x9/16”, 5/8”x11/16”, 11/16”x3/4”, 13/16”x7/8”, 15/16”x1”, 1.1/8”x1.1/4”

- 4150206…25 13 Combination wrench 1/4”, 5/16”, 3/8”, 7/16”, 1/2”, 9/16”, 5/8”, 11/16”, 3/4”, 13/16”, 7/8”, 1 5/16”, 1” - 4270608…2425 7 45° offset ring wrench 1/4”x5/16”, 3/8”x7/16”, 1/2”x9/16”, 9/16”x5/8”, 11/16”x3/4”, 13/16”x7/8”, 15/16”x1”

- 4170508...519 9 Reversible ratcheting wrench 5/16”, 11/32”, 3/8” 7/16”, 1/2”, 9/16”, 5/8”, 11/16”, 3/4”

4140101..15 15 15°/75° Offset open end ignition wrench 5/32”, 3/16”, 7/32”, 15/64”, 1/4”, 9/32”, 5/16”, 11/32”, 3/8”, 13/32”, 7/16”, 1/2”, 9/16”, 5/8”, 11/16” FOR

4230115...250 3 Adjustable wrench 6”, 8”, 10” - 4190607...2022 8 75° offset ring wrench 6x7, 8x9, 10x11, 12x13, 14x15, 16x17, 18x19, 20X22mm

- 4140607…3032 10 Double open wrench 6x7, 8x9, 10x11, 12x13, 14x15, 16x17, 18x19, 20x22, 24x27, 30x32mm

- 4170208…19 12 Reversible ratcheting wrench 12 pt. 8, 9, 10, 11, 12, 13, 14, 15, 16, 17, 18, 19mm

- 41506…32 22 Combination wrench 6, 7, 8, 9, 10, 11, 12, 13, 14, 15, 16, 17, 18, 19, 20, 21, 22, 23, 24, 27, 30, 32mm

- 4250608…1617 4 Flare nut wrench 1/4”x5/16”, 3/8”x7/16”, 1/2”x9/16”, 5/8”x11/16” FOR A COMPLETE INVENTORY ORDER LIST SEE OUR WEBSITE

# CONTENTS

- 42608…17 10 Stubby combination wrench 8, 9, 10, 11, 12, 13, 14, 15, 16, 17mm

- 4160608….2024 4 TX wrench E6xE8, E10xE12, E14xE18, E20xE24

- 41760608…2024 4 TX ratcheting wrench E6xE8, E10XE12, E14XE18, E20XE24

4081011 1 Flexible flare nut wrench 10x11mm - 4110810...1719 5 Flare nut wrench 8x10, 11x13, 12x14, 16x18, 17x19mm - 4190607…2022 8 75° offset ring wrench 6x7, 8x9, 10x11, 12x13, 14x15, 16x17, 18x19, 20x22mm

4170208…19 11 Reversible ratcheting wrench 12 pt. 8, 9, 10, 11, 12, 13, 14, 15, 16, 17, 19mm

41706…32 26 Combination wrench NEXT 6, 7, 8, 9, 10, 11, 12, 13, 14, 15, 16, 17, 18, 19, 20, 21, 22, 23, 24, 25, 26, 27, 28, 29, 30, 32mm

41534…36 2 Combination wrench 34, 36mm FOR A COMPLETE INVENTORY ORDER LIST SEE OUR WEBSITE

SONIC-EQUIPMENT.COM 152 03 605201 - WRENCH SET, SFS, 52-PCS 745 X 570MM XL AVIATION 7526 GRAM
A COMPLETE INVENTORY ORDER LIST SEE OUR WEBSITE 605901 - WRENCH SET, SFS, 59-PCS 745 X 570MM XL AVIATION 10886 GRAM TOOLS # CONTENTS
-
607202
WRENCH SET, SFS, 72-PCS 745 X 570MM XL 11900 GRAM TOOLS
-
-
-
-
-

WORK EFFICIENT WORK WITH

SONIC

WORK EFFICIENT WORK WITH

SONIC

Hand tools - Ratchets

PAGE 156

Hand tools - Bit sockets

PAGE 166

Hand tools - Torque wrenches

PAGE 238

Hand tools - Socket rails

PAGE 180

Hand tools - Sockets

PAGE 186

Hand tools - Screwdrivers

PAGE 208

Hand tools - Pliers

PAGE 214

Hand tools - Punches and chisels

PAGE 220

Hand tools - Hammers, cutting tools and files

PAGE 222

Hand tools - Hex keys and TX keys

PAGE 230

Hand tools - Wrenches

PAGE 242

Toolsets - BMCS

PAGE 254

Toolsets

PAGE 266

Tool cases

PAGE 270

Tool bags

PAGE 274

Portable toolboxes

PAGE 276

Special tools

PAGE 286

Sonic timing tools

PAGE 310

SONIC-EQUIPMENT.COM 155 04
04 TOOLS

Hand tools - Ratchets

WORK EFFICIENT, WORK WITH SONIC.

SONIC-EQUIPMENT.COM 156
04
SONIC-EQUIPMENT.COM 157 RATCHET - 52 TEETH # SIZE L(MM) T(MM) D(MM) G PCS/BAG 7121101 1/4” 165 33.71 33.71 182 10 7121102 3/8” 232 38.77 38.77 430 10 7121103 1/2” 277 44.8 44.8 678 10 RATCHET - 45 TEETH # SIZE L(MM) T(MM) D(MM) G PCS/BAG 7120901 1/4” 140 23 26 122 10 7120902 3/8” 195 30 33 298 10 7120903 1/2” 255 37 43 590 5 RATCHET - 60 TEETH # SIZE L(MM) T(MM) D(MM) G PCS/BAG 7121501 1/4” 147 20 21 90 10 7121502 3/8” 195 28 28 214 10 7121503 1/2” 260 35 37 492 5 RATCHET - 72 TEETH # SIZE L(MM) T(MM) D(MM) G PCS/BAG 7120701 1/4” 145 24 26 112 10 7120702 3/8” 195 30 30 212 10 7120703 1/2” 248 38 38 456 5 STUBBY RATCHET - 45 TEETH # SIZE L(MM) T(MM) D(MM) G PCS/BAG 7120101 1/4” 110 23 26 106 10 7120102 3/8” 118 30 33 192 10 REPAIR SET # DESCRIPTION PCS/BAG 7120901P Repair set ratchet 7120101 & 7120901 7120902P Repair set ratchet 7120102 & 7120902 7120903P Repair set ratchet 7120903 REPAIR SET # DESCRIPTION PCS/BAG 7121501P Repair set 7121501 1 7121502P Repair set 7121502 1 7121503P Repair set 7121503 1 REPAIR SET # DESCRIPTION PCS/BAG 7120701P Repair set ratchet 7120701 1 7120702P Repair set ratchet 7120702 1 7120703P Repair set ratchet 7120703 REPAIR SET # DESCRIPTION PCS/BAG 7120901P Repair set ratchet 7120101 & 7120901 1 7120902P Repair set ratchet 7120102 & 7120902 1

Hand tools - Ratchets

SONIC-EQUIPMENT.COM 158 04 FLEXIBLE RATCHET - 45 TEETH # SIZE L(MM) T(MM) D(MM) G PCS/BAG 7110101 1/4” 133 23 26 142 10 7110102 3/8” 265 30 33 418 10 711013300 1/2” 711013440 1/2” REPAIR SET # DESCRIPTION PCS/BAG 7110101P Repair set ratchet 7110101 1 7110102P Repair set ratchet 7110102 1 711013P Repair set ratchet 711013300 & 711013440 1 FLEXIBLE RATCHET WITH LOCK FUNCTION - 45 TEETH # SIZE L(MM) T(MM) D(MM) G PCS/BAG 7110801 1/4” 133 26 26 410 10 7110802 3/8” 265 30 33 410 10 7110803 1/2” 300 40 43 410 10 ROTOR HEAD RATCHET - 72 TEETH # SIZE L(MM) T(MM) D(MM) G PCS/BAG 7110201 1/4” 150 24 32 130 10 7110202 3/8” 235 34 44 385 10 7110203 1/2” 305 40 49 652 10 REPAIR SET # DESCRIPTION PCS/BAG 7110201P Repair set ratchet 7110201 1 7110202P Repair set ratchet 7110202 & 7110402 1 7110203P Repair set ratchet 7110203 & 7110403 1 ROTOR HEAD STUBBY RATCHET - 72 TEETH # SIZE 7110402 3/8” 7110403 1/2” REPAIR SET # DESCRIPTION PCS/BAG 7110202P Repair set ratchet 7110202 & 7110402 1 7110203P Repair set ratchet 7110203 & 7110403 1 EXTENDABLE RATCHET - 72 TEETH EXTENDABLE # SIZE L(MM) T(MM) D(MM) G PCS/BAG 7120301 1/4” 150-200 23 25 172 5 7120302 3/8” 215-315 33 32 436 5 7120303 1/2” 305-445 40 40 918 5 REPAIR SET # DESCRIPTION PCS/BAG 7120301P Repair set ratchet 7120301 1 7120302P Repair set ratchet 7120302 1 7120303P Repair set ratchet 7120303 1
SONIC-EQUIPMENT.COM 159 04 300313 - DISC RATCHET 3-PCS - 72 TEETH DISC RATCHET - 72 TEETH # SIZE T(MM) D(MM) G PCS/BAG 7110301 1/4” 25 49 50 10 7110302 3/8” 28 49 58 10 7110303 1/2” 32 49 64 10 7120401 - 1/4” MINI BIT RATCHET # DESCRIPTION PCS/BAG 7110301P Repair set ratchet 7110301 1 7110302P Repair set ratchet 7110302 1 RATCHET - 60 TEETH # SIZE L(MM) T(MM) D(MM) G PCS/BAG 7120704 3/4” 505 64 68 1934 1 4813901 - VDE 3/8” RATCHET EXTENDABLE RATCHET - 36 TEETH EXTENDABLE # SIZE L(MM) T(MM) D(MM) G PCS/BAG 7121403 1/2” 355-510 46 42 1060 5 REPAIR SET # DESCRIPTION PCS/BAG 7120704P Repair set ratchet 7120704 1 RATCHET - 24 TEETH # SIZE L(MM) T(MM) D(MM) G PCS/BAG 7121204 3/4” 500 55 64 2608 2 7121305 1” 660 67 72 4390 1 RATCHET - 24 TEETH # 7121205 REPAIR SET # DESCRIPTION PCS/BAG 7121204P Repair set ratchet 7121204 1 7121205P Repair set ratchet 7121205 1

Hand tools - Ratchets

SONIC-EQUIPMENT.COM 160 SWIVEL HANDLE PCS/BAG 10 5 5 2 1 1 PCS/BAG 10 10 5 5 2 # DESCRIPTION PCS/BAG 7271P Repair set Swivel handle 7271150 1 7232P 7232200, 7232250, 7272200 & 7272250 1 7233P 7233250, 7233380, 7273250 & 7273380 1
# SIZE L(MM) G PCS/BAG 7233600 1/2” 635 1386 1 REPAIR SET # DESCRIPTION PCS/BAG 7233601 Repair set swivel handle 7233600 1
SWIVEL HANDLE 24”
RATCHET HANDLE 24” # SIZE L(MM) G PCS/BAG 7233605 1/2” 605 1580 1 RATCHET - 45 TEETH # SIZE L(MM) G PCS/BAG 7233602 1/2” 665 370 1 # SIZE L(MM) T(MM) D(MM) G PCS/BAG 72401 1/4” 65 85 150 85 10 SPINNER - 150 MML # SIZE L(MM) T(MM) D(MM) G PCS/BAG 72402 1/4” 65 85 150 85 10
SWIVEL
SONIC-EQUIPMENT.COM 161 04 LONG FLEXIBLE SPINNER # SIZE L(MM) G PCS/BAG 72403 1/4” 555 85 10 LONG FLEXIBLE MAGNETIC BIT HOLDER # SIZE L(MM) G PCS/BAG 72001 1/4” 554 274 10 SLIDING T-HANDLE UNIVERSAL JOINT # SIZE L(MM) L(MM) G PCS/BAG 7152450 3/8” 450 200 452 10 SPEEDY T-GRIP # SIZE L(MM) L(MM) G PCS/BAG 72601 1/4” 322 140 320 5 72602 3/8” 326 181 550 5 72603 1/2” 330 242 1088 5 SLIDING T-HANDLE
SIZE L(MM) G PCS/BAG 7131115 1/4” 115 45 10 7132165 3/8” 165 150 10 7133250 1/2” 250 345 5 7134450 3/4” 450 1370 2 7135560 1” 560 3292 2 SLIDING T-HANDLE # SIZE L(MM) G PCS/BAG 7135550 1” 560 2656 2 # SIZE L(MM) D(MM) G PCS/BAG 7141050 1/4” 50 11 22 10 7141100 1/4” 100 11 42 10 7141150 1/4” 150 11 64 10 7141250 1/4’’ 250 12 106 10 7142044 3/8” 44 16 36 10 7142075 3/8” 75 16 70 10 7142150 3/8” 150 16 140 10 7142200 3/8” 200 16 200 10 7142250 3/8” 250 16 230 10 7142300 3/8” 300 16 295 10 7142450 3/8” 450 16 400 10 7142600 3/8’’ 600 16 550 10 7143125 1/2” 125 22 216 10 7143250 1/2” 250 22 416 5 7144100 3/4” 100 35.8 402 2 7144200 3/4” 200 35.8 738 2 7145200 1” 200 48.0 1302 2 7145400 1” 410 48.0 2264 2
#

Hand tools - Ratchets

SONIC-EQUIPMENT.COM 162 04 WOBBLE EXTENSION # SIZE L(MM) D(MM) G PCS/BAG 7261050 1/4” 50 12,3 24 10 7261100 1/4” 100 12,3 44 10 7261250 1/4” 250 12,3 106 10 7262044 3/8” 44 16 40 10 7262075 3/8” 75 16 65 10 7262150 3/8” 150 16 140 10 7262200 3/8” 200 16 192 10 7262250 3/8” 250 16 140 10 7262300 3/8” 300 16 295 10 7262450 3/8” 450 16 400 10 7263050 1/2” 50 24 95 10 7263125 1/2” 125 24 200 10 7263250 1/2” 250 24 430 5 7263500 1/2” 500 24 840 1 LOCK-IN EXTENSION # SIZE L(MM) D(MM) G PCS/BAG 7183075 1/2” 75 23.8 128 10 7183125 1/2” 125 23.8 206 10 7183250 1/2” 250 23.8 410 10 LOCK-IN EXTENSION
SIZE L(MM) D(MM) G PCS/BAG 7184400 3/4” 400 36 1556 1 FLEXIBLE EXTENSION # SIZE L(MM) G PCS/BAG 7211 1/4” 145 55 10 SPEED HANDLE 3/8” # SIZE L(MM) G PCS/BAG 72612 3/8” 431 426 1 VDE EXTENSION 3/8” # SIZE L(MM) D(MM) G PCS/BAG 4813902 3/8” 125 23 140 10 IMPACT EXTENSION # SIZE L(MM) D(MM) G PCS/BAG 7342075 3/8” 75 19 80 10 7343075 1/2” 75 25 146 10 7343125 1/2” 125 25 226 5 7343250 1/2” 250 25 432 5
#
SONIC-EQUIPMENT.COM 163 04 IMPACT EXTENSION # SIZE L(MM) D(MM) G PCS/BAG 7344150 3/4” 150 40.0 700 1 7344250 3/4” 250 40.0 1060 1 7344400 3/4” 400 40.0 1600 1 IMPACT EXTENSION # SIZE L(MM) D(MM) G PCS/BAG 7345150 1” 150 52 1170 1 7345175 1” 175 52 1390 1 7345250 1” 250 52 1880 1 7345400 1” 400 52 2870 1 UNIVERSAL JOINT # PCS/BAG 71511 71521 71531 REPAIR SET # DESCRIPTION PCS/BAG 71511P Repair set universal joint 71511 1 71521P Repair set universal joint 71521 1 71531P Repair set universal joint 71531 1 IMPACT UNIVERSAL JOINT # SIZE L(MM) D(MM) G PCS/BAG 73521 3/8” 46 24 78 10 73531 1/2” 60 28 142 10 73541 3/4” 94 42 500 1 ADAPTOR # SIZE L(MM) D(MM) G PCS/BAG 71912 1/4”(F)x3/8”(M) 26 12 18 10 71921 3/8”(F)x1/4”(M) 27 17 20 10 71923 3/8”(F)x1/2”(M) 36 18 45 10 71932 1/2”(F)x3/8”(M) 36 22 48 10 71934 1/2”(F)x3/4”(M) 46 26 124 10 71943 3/4”(F)x1/2”(M) 51 31,5 134 10
ADAPTOR # SIZE L(MM) D(MM) G PCS/BAG 73612 1/4”(F)x3/8”(M) 26 14 20 10 73621 3/8”(F)x1/4”(M) 32 22 46 10 73623 3/8”(F)x1/2”(M) 36 22 68 10 73632
38
68
73643
56 44 320 10
IMPACT
1/2”(F)x3/8”(M)
25
10 73634 1/2”(F)x3/4”(M) 48 30 160 10
3/4”(F)x1/2”(M)

Hand tools - Ratchets

SONIC-EQUIPMENT.COM 164 04 IMPACT ADAPTOR # SIZE L(MM) D(MM) G PCS/BAG 73645 3/4”(F)x1”(M) 63 44 440 1 ADAPTOR # SIZE L(MM) D(MM) G PCS/BAG 71623 3/8”(F)x1/2”(M) 43 23,8 68 10 71632 1/2”(F)x3/8”(M) 39 23,8 66 10 7135 1” 80 49 632 2 BIT HOLDER # SIZE L(MM) D(MM) G PCS/BAG 72011 1/4”(F) X 1/4”(F) 25 12 12 10 72023 3/8”(F) x 10mm(F) 29 17 28 10 72032 1/2”(F) x 5/16(F) 38 22 44 10 72033 1/2”(F) x 10mm(F) 38 22 52 10 IMPACT BIT HOLDER # SIZE L(MM) D(MM) G PCS/BAG 73721 3/8”(F)x1/4”(F) 40 19 36 10 IMPACT DRIVER # SIZE L(MM) D(MM) G PCS/BAG 72501 5/16” 170 30 740 10
FOR BITS 9X12 # SIZE L(MM) G PCS/BAG 7201001 1/4'’ 42.5 52 10 7202001 5/6’’ 42.5 52 10 MAGNET SOCKET PICK-UP 1/4’’ # SIZE L(MM) D(MM) G PCS/BAG 72225 1/4” 25 12 16 10
INSERT
HOLDER

WORK EFFICIENT WORK WITH SONIC

Hand tools - Bit sockets

WORK

EFFICIENT, WORK WITH SONIC.

SONIC-EQUIPMENT.COM 166
04
SONIC-EQUIPMENT.COM 167 04 BIT SOCKET PH 1/4” DIN NO. 3120 6.3 1/4” # SIZE L(MM) L1(MM) D(MM) G PCS/BAG 8113700 PH.0 37 16 12 14 10 8113701 PH.1 37 16 12 14 10 8113702 PH.2 37 16 12 14 10 8113703 PH.3 37 16 12 16 10 BIT SOCKET PZ 1/4” DIN NO. 3120 6.3 1/4” # SIZE L(MM) L1(MM) D(MM) G PCS/BAG 8123700 PZ.0 37 16 12 14 10 8123701 PZ.1 37 16 12 14 10 8123702 PZ.2 37 16 12 14 10 8123703 PZ.3 37 16 12 16 10 BIT SOCKET SLOTTED 1/4” DIN NO. 3120
1/4” # SIZE L(MM) L1(MM) D(MM) G PCS/BAG 8133704 4 37 16 12 14 10 81337055 5.5 37 16 12 14 10 81337065 6.5 37 16 12 16 10 BIT SOCKET HEX 1/4” DIN NO. 3120 6.3 1/4” # SIZE L(MM) L1(MM) D(MM) G PCS/BAG 8143703 3 37 16 12 14 10 8143704 4 37 16 12 16 10 8143705 5 37 16 12 16 10 81437055 5.5 37 16 12 16 10 8143706 6 37 16 12 16 10 8143707 7 37 16 13 20 10 8143708 8 37 16 13 22 10 8143709 9 37 16 13 24 10 8143710 10 37 16 13 26 10 BIT SOCKET HEX BALL 1/4” DIN NO. 3120 6.3 1/4” # SIZE L(MM) L1(MM) D(MM) G PCS/BAG 8103703 3 37 16 12 14 10 8103704 4 37 16 12 16 10 8103705 5 37 16 12 16 10 81037055 5.5 37 16 12 16 10 8103706 6 37 16 12 16 10 8103707 7 37 16 13 20 10 8103708 8 37 16 13 22 10 8103709 9 37 16 13 24 10 8103710 10 37 16 13 26 10 BIT SOCKET HEX 1/4” (SAE) DIN NO. 3120 6.3 1/4” # SIZE L(MM) L1(MM) D(MM) G PCS/BAG 81413703 1/8” 37 16 12 15 10 81413704 5/32” 37 16 12 15 10 81413705 3/16” 37 16 12 15 10 81413706 7/32” 37 16 12 15 10 81413707 1/4" 37 16 12 15 10 81413708 5/16” 37 16 13 20 10 81413710 3/8” 37 16 13 25 10 BIT SOCKET TX 1/4” DIN NO. 3120 6.3 1/4” # SIZE L(MM) L1(MM) D(MM) G PCS/BAG 8163706 T6 37 16 12 14 10 8163707 T7 37 16 12 14 10 8163708 T8 37 16 12 14 10 8163709 T9 37 16 12 14 10 8163710 T10 37 16 12 14 10 8163715 T15 37 16 12 16 10 8163720 T20 37 16 12 16 10 8163725 T25 37 16 12 16 10 8163727 T27 37 16 12 16 10 8163730 T30 37 16 12 16 10 8163740 T40 37 16 12 16 10
6.3

Hand tools - Bit sockets

SONIC-EQUIPMENT.COM 168 04 BIT SOCKET TX BALL 1/4” DIN NO. 3120 6.3 1/4” # SIZE L(MM) L1(MM) D(MM) G PCS/BAG 81613710 T10 37 16 12 14 10 81613715 T15 37 16 12 14 10 81613720 T20 37 16 12 14 10 81613725 T25 37 16 12 14 10 81613727 T27 37 16 12 14 10 81613730 T30 37 16 12 14 10 81613740 T40 37 16 12 14 10 BIT SOCKET TX TAMPERPROOF 1/4” DIN NO. 3120 6.3 1/4” # SIZE L(MM) L1(MM) D(MM) G PCS/BAG 8173706 T6H 37 16 12 14 10 8173707 T7H 37 16 12 14 10 8173708 T8H 37 16 12 14 10 8173709 T9H 37 16 12 14 10 8173710 T10H 37 16 12 14 10 8173715 T15H 37 16 12 14 10 8173720 T20H 37 16 12 14 10 8173725 T25H 37 16 12 14 10 8173727 T27H 37 16 12 16 10 8173730 T30H 37 16 12 16 10 8173740 T40H 37 16 12 16 10 TAMPER-RESISTANT 1/4”, TX PLUS (5 LOBES) DIN NO. 3120 6.3 1/4” # SIZE L(MM) L1(MM) D(MM) G PCS/BAG 8153708 8IPR 37 16 12 14 10 8153710 10IPR 37 16 12 14 10 8153715 15IPR 37 16 12 14 10 8153720 20IPR 37 16 12 14 10 8153725 25IPR 37 16 12 14 10 8153727 27IPR 37 16 12 16 10 8153730 30IPR 37 16 12 16 10 8153740 40IPR 37 16 12 16 10 8153745 45IPR 37 16 13 20 10 8153750 50IPR 37 16 13 22 10 BIT SOCKET SPLINE 1/4” DIN NO. 3120 6.3 1/4” # SIZE L(MM) L1(MM) D(MM) G PCS/BAG 8183704 M4 37 16 12 14 10 8183705 M5 37 16 12 16 10 8183706 M6 37 16 12 16 10 8183708 M8 37 16 13 20 10 8183710 M10 37 16 13 24 10 BIT SOCKET RIBE 1/4” DIN NO. 3120 6.3 1/4” # SIZE L(MM) L1(MM) D(MM) G PCS/BAG 8193704 M4 37 16 12 14 10 8193705 M5 37 16 12 16 10 8193706 M6 37 16 12 16 10 8193707 M7 37 16 12 16 10 8193708 M8 37 16 13 20 10 8193710 M10 37 16 13 24 10 BIT SOCKET PH 3/8” DIN NO. 3120 10 3/8” # SIZE L(MM) L1(MM) D(MM) G PCS/BAG 8214801 PH.1 48 20 18 34 10 8214802 PH.2 48 20 18 34 10 8214803 PH.3 48 20 18 34 10 BIT SOCKET PZ 3/8” DIN NO. 3120 10 3/8” # SIZE L(MM) L1(MM) D(MM) G PCS/BAG 8224801 PZ.1 48 20 18 34 10 8224802 PZ.2 48 20 18 34 10 8224803 PZ.3 48 20 18 34 10
SONIC-EQUIPMENT.COM 169 04 BIT SOCKET SLOTTED 3/8” DIN NO. 3120 10 3/8” # SIZE L(MM) L1(MM) D(MM) G PCS/BAG 82348055 5.5 48 20 18 32 10 8234806 6 48 20 18 32 10 8234807 7 48 20 18 36 10 8234808 8 48 20 18 38 10 HEX LOW SOCKET BIT 3/8” DIN NR. 3120 10 3/8” # SIZE L(MM) L1(MM) D(MM) G PCS/BAG 8242704 4 27 18 18 30 10 8242705 5 27 18 18 30 10 8242706 6 27 18 18 30 10 8242707 7 27 18 18 34 10 8242708 8 27 18 18 34 10 8242709 9 27 18 18 34 10 8242710 10 27 18 18 34 10 8242711 11 27 18 18 44 10 8242712 12 27 18 18 46 10 STAR LOW SOCKET BIT 3/8” DIN NR. 3120 10 3/8” # SIZE L(MM) L1(MM) D(MM) G PCS/BAG 8262710 T10 27 18 18 28 10 8262715 T15 27 18 18 28 10 8262720 T20 27 18 18 28 10 8262725 T25 27 18 18 30 10 8262727 T27 27 18 18 30 10 8262730 T30 27 18 18 30 10 8262740 T40 27 18 18 30 10 8262745 T45 27 18 18 32 10 8262750 T50 27 18 18 34 10 8262755 T55 27 18 18 34 10 BIT SOCKET HEX 3/8” DIN NO. 3120 10 3/8” # SIZE L(MM) L1(MM) D(MM) G PCS/BAG 8244803 3 48 20 18 32 10 8244804 4 48 20 18 32 10 8244805 5 48 20 18 32 10 82448055 5.5 48 20 18 34 10 8244806 6 48 20 18 34 10 8244807 7 48 20 18 36 10 8244808 8 48 20 18 38 10 8244809 9 48 20 18 48 10 8244810 10 48 20 18 50 10 8244811 11 48 20 18 50 10 8244812 12 48 20 18 52 10 BIT SOCKET HEX 3/8”, 90MML DIN NO. 3120 10 3/8” # SIZE L(MM) L1(MM) D(MM) G PCS/BAG 8249003 3 90 62 18 44 10 8249004 4 90 62 18 44 10 8249005 5 90 62 18 44 10 82490055 5.5 90 62 18 46 10 8249006 6 90 62 18 46 10 8249007 7 90 62 18 50 10 8249008 8 90 62 18 58 10 8249009 9 90 62 18 76 10 8249010 10 90 62 18 78 10 8249011 11 90 62 18 78 10

Hand tools - Bit sockets

SONIC-EQUIPMENT.COM 170 04 BIT SOCKET HEX BALL 3/8”, 90MML DIN NO. 3120 10 3/8” # SIZE L(MM) L1(MM) D(MM) G PCS/BAG 8209003 3 90 62 18 44 10 8209004 4 90 62 18 44 10 8209005 5 90 62 18 44 10 82090055 5.5 90 62 18 46 10 8209006 6 90 62 18 46 10 8209007 7 90 62 18 50 10 8209008 8 90 62 18 58 10 8209009 9 90 62 18 76 10 8209010 10 90 62 18 78 10 BIT SOCKET HEX 3/8” (SAE) DIN NO. 3120 10 3/8” # SIZE L(MM) L1(MM) D(MM) G PCS/BAG 82414803 1/8” 48 20 18 35 10 82414804 5/32” 48 20 18 35 10 82414805 3/16” 48 20 18 35 10 824148055 7/32” 48 20 18 35 10 82414806 1/4” 48 20 18 35 10 82414808 5/16” 48 20 18 40 10 82414810 3/8” 48 20 18 50 10 82414812 7/16” 48 20 18 55 10 82414813 1/2" 48 20 18 60 10 BIT SOCKET TX 3/8” DIN NO. 3120 10 3/8” # SIZE L(MM) L1(MM) D(MM) G PCS/BAG 8264808 T8 48 20 18 32 10 8264810 T10 48 20 18 32 10 8264815 T15 48 20 18 32 10 8264820 T20 48 20 18 32 10 8264825 T25 48 20 18 32 10 8264827 T27 48 20 18 32 10 8264830 T30 48 20 18 32 10 8264840 T40 48 20 18 34 10 8264845 T45 48 20 18 36 10 8264850 T50 48 20 18 38 10 8264855 T55 48 20 18 50 10 8264860 T60 48 20 18 54 10 BIT SOCKET TX 3/8”, 90MML DIN NO. 3120 10 3/8” # SIZE L(MM) L1(MM) D(MM) G PCS/BAG 8269008 T8 90 62 18 44 10 8269010 T10 90 62 18 44 10 8269015 T15 90 62 18 44 10 8269020 T20 90 62 18 44 10 8269025 T25 90 62 18 44 10 8269027 T27 90 62 18 44 10 8269030 T30 90 62 18 44 10 8269040 T40 90 62 18 44 10 8269045 T45 90 62 18 52 10 8269050 T50 90 62 18 58 10 BIT SOCKET TX TAMPERPROOF 3/8” DIN NO. 3120 10 3/8” # SIZE L(MM) L1(MM) D(MM) G PCS/BAG 8274808 T8H 48 20 18 32 10 8274810 T10H 48 20 18 32 10 8274815 T15H 48 20 18 32 10 8274820 T20H 48 20 18 32 10 8274825 T25H 48 20 18 32 10 8274827 T27H 48 20 18 32 10 8274830 T30H 48 20 18 32 10 8274840 T40H 48 20 18 34 10 8274845 T45H 48 20 18 36 10 8274850 T50H 48 20 18 36 10 8274855 T55H 48 20 18 50 10 8274860 T60H 48 20 18 52 10 BIT SOCKET TX TAMPERPROOF 3/8”, 90MML DIN NO. 3120 10 3/8” # SIZE L(MM) L1(MM) D(MM) G PCS/BAG 8279008 T8H 90 62 18 44 10 8279010 T10H 90 62 18 44 10 8279015 T15H 90 62 18 44 10 8279020 T20H 90 62 18 44 10 8279025 T25H 90 62 18 44 10 8279027 T27H 90 62 18 44 10 8279030 T30H 90 62 18 44 10 8279040 T40H 90 62 18 48 10 8279045 T45H 90 62 18 52 10 8279050 T50H 90 62 18 58 10
SONIC-EQUIPMENT.COM 171 04 BIT SOCKET SPLINE 3/8” DIN NO. 3120 10 3/8” # SIZE L(MM) L1(MM) D(MM) G PCS/BAG 8284804 M4 48 20 18 30 10 8284805 M5 48 20 18 32 10 8284806 M6 48 20 18 34 10 8284808 M8 48 20 18 36 10 8284809 M9 48 20 18 48 10 8284810 M10 48 20 18 50 10 8284812 M12 48 20 18 54 10 BIT SOCKET SPLINE 3/8”, 90MML DIN NO. 3120 10 3/8” # SIZE L(MM) L1(MM) D(MM) G PCS/BAG 8289005 M5 90 62 18 44 10 8289006 M6 90 62 18 46 10 8289008 M8 90 62 18 56 10 8289009 M9 90 62 18 76 10 8289010 M10 90 62 18 78 10 8289012 M12 90 62 18 92 10 BIT SOCKET RIBE 3/8” DIN NO. 3120 10 3/8” # SIZE L(MM) L1(MM) D(MM) G PCS/BAG 8294804 M4 48 20 18 30 10 8294805 M5 48 20 18 32 10 8294806 M6 48 20 18 34 10 8294807 M7 48 20 18 36 10 8294808 M8 48 20 18 36 10 8294809 M9 48 20 18 48 10 8294810 M10 48 20 18 50 10 8294812 M12 48 20 18 54 10 BIT SOCKET RIBE 3/8”, 90MML DIN NO. 3120 10 3/8” # SIZE L(MM) L1(MM) D(MM) G PCS/BAG 8299005 M5 90 62 18 45 10 8299006 M6 90 62 18 45 10 8299007 M7 90 62 18 55 10 8299008 M8 90 62 18 57 10 8299009 M9 90 62 18 77 10 8299010 M10 90 62 18 79 10 8299012 M12 90 62 18 83 10 BIT SOCKET HEX 1/2” DIN NO. 3120 12.5 1/2” # SIZE L(MM) L1(MM) D(MM) G PCS/BAG 83406204 4 62 24 22 70 10 83406205 5 62 24 22 70 10 83406255 5.5 62 24 22 70 10 83406206 6 62 24 22 70 10 83406207 7 62 24 22 70 10 83406208 8 62 24 22 70 10 83406209 9 62 24 22 80 10 83406210 10 62 24 22 80 10 83406212 12 62 24 24 110 10 83406214 14 62 24 24 125 10 83406217 17 62 24 24 140 10 83406219 19 62 24 24 150 10 83406222 22 62 24 25 180 10 83406224 24 62 24 27 200 10 BIT SOCKET HEX 1/2”, 100MML DIN NO. 3120 12.5 1/2” # SIZE L(MM) L1(MM) D(MM) G PCS/BAG 83410005 5 100 62 22 84 10 83410006 6 100 62 22 84 10 83410007 7 100 62 22 86 10 83410008 8 100 62 22 86 10 83410009 9 100 62 22 104 10 83410010 10 100 62 22 106 10 83410011 11 100 62 24 144 10 83410012 12 100 62 24 142 10 83410013 13 100 62 24 144 10 83410014 14 100 62 24 172 10 83410017 17 100 62 24 212 10

Hand tools - Bit sockets

SONIC-EQUIPMENT.COM 172 04 BIT SOCKET HEX 1/2”, 140MML DIN NO. 3120 12.5 1/2” # SIZE L(MM) L1(MM) D(MM) G PCS/BAG 83414007 7 140 102 24 121 10 83414010 10 140 102 22 132 10 83414011 11 140 102 24 183 10 83414013 13 140 102 24 202 10 83414014 14 140 102 24 220 10 BIT SOCKET HEX 1/2”, 248MML DIN NO. 3120 12.5 1/2” # SIZE L(MM) L1(MM) D(MM) G PCS/BAG 83424806 6 248 210 22 150 10 BIT SOCKET HEX BALL 1/2”, 100MML DIN NO. 3120 12.5 1/2” # SIZE L(MM) L1(MM) D(MM) G PCS/BAG 83010005 5 100 62 22 84 10 830100055 5.5 100 62 22 84 10 83010006 6 100 62 22 84 10 83010007 7 100 62 22 86 10 83010008 8 100 62 22 86 10 83010009 9 100 62 22 104 10 83010010 10 100 62 22 106 10 83010011 11 100 62 22 142 10 83010012 12 100 62 22 142 10 83010013 13 100 62 22 142 10 83010014 14 100 62 22 142 10 BIT SOCKET HEX BALL 1/2”, 140MML DIN NO. 3120 12.5 1/2” # SIZE L(MM) L1(MM) D(MM) G PCS/BAG 83014005 5 140 102 24 119 10 83014006 6 140 102 24 120 10 83014007 7 140 102 24 121 10 83014008 8 140 102 24 122 10 83014010 10 140 102 24 150 10 83014012 12 140 102 24 183 10 BIT SOCKET HEX 1/2” (SAE) DIN NO. 3120 12.5 1/2” # SIZE L(MM) L1(MM) D(MM) G PCS/BAG 834106205 3/16” 62 24 22 65 10 834106206 1/4" 62 24 22 65 10 834106207 9/32” 62 24 22 70 10 834106208 5/16” 62 24 22 70 10 834106209 11/32” 62 24 22 80 10 834106210 3/8” 62 24 22 80 10 834106212 7/16” 62 24 22 85 10 834106213 1/2" 62 24 24 110 10 834106214 9/16” 62 24 24 125 10 834106217 5/8” 62 24 24 135 10 BIT SOCKET TX 1/2” DIN NO. 3120 12.5 1/2” # SIZE L(MM) L1(MM) D(MM) G PCS/BAG 83606220 T20 62 24 22 65 10 83606225 T25 62 24 22 65 10 83606227 T27 62 24 22 65 10 83606230 T30 62 24 22 65 10 83606240 T40 62 24 22 65 10 83606245 T45 62 24 22 70 10 83606250 T50 62 24 22 70 10 83606255 T55 62 24 22 80 10 83606260 T60 62 24 24 105 10 83606270 T70 62 24 24 125 10 BIT SOCKET TX 1/2”, 100MML DIN NO. 3120 12.5 1/2” # SIZE L(MM) L1(MM) D(MM) G PCS/BAG 83610020 T20 100 62 22 84 10 83610025 T25 100 62 22 84 10 83610027 T27 100 62 22 84 10 83610030 T30 100 62 22 86 10 83610040 T40 100 62 22 84 10 83610045 T45 100 62 22 86 10 83610050 T50 100 62 22 86 10 83610055 T55 100 62 22 104 10 83610060 T60 100 62 24 142 10 83610070 T70 100 62 24 168 10 83610080 T80 100 62 24 292 10 83610090 T90 100 62 24 292 10 836100100 T100 100 62 24 358 10
SONIC-EQUIPMENT.COM 173 04 TX BIT SOCKET 1/2”, 140MML DIN NO. 3120 12.5 1/2” # SIZE L(MM) L1(MM) D(MM) G PCS/BAG 83614040 T40 140 102 22 120 10 83614045 T45 140 102 22 121 10 83614050 T50 140 102 22 121 10 83614055 T55 140 102 22 149 10 83614060 T60 140 102 24 180 10 83614070 T70 140 102 24 217 10 BIT SOCKET TX TAMPERPROOF 1/2” DIN NO. 3120 12.5 1/2” # SIZE L(MM) L1(MM) D(MM) G PCS/BAG 83706220 T20H 62 24 22 65 10 83706225 T25H 62 24 22 65 10 83706227 T27H 62 24 22 65 10 83706230 T30H 62 24 22 65 10 83706240 T40H 62 24 22 70 10 83706245 T45H 62 24 22 70 10 83706250 T50H 62 24 22 70 10 83706255 T55H 62 24 22 80 10 83706260 T60H 62 24 24 105 10 83706270 T70H 62 24 24 120 10 BIT SOCKET TX TAMPERPROOF 1/2”, 100MML DIN NO. 3120 12.5 1/2” # SIZE L(MM) L1(MM) D(MM) G PCS/BAG 83710020 T20H 100 62 22 84 10 83710025 T25H 100 62 22 84 10 83710027 T27H 100 62 22 84 10 83710030 T30H 100 62 22 86 10 83710040 T40H 100 62 22 84 10 83710045 T45H 100 62 22 86 10 83710050 T50H 100 62 22 86 10 83710055 T55H 100 62 22 104 10 83710060 T60H 100 62 24 140 10 83710070 T70H 100 62 24 166 10 83710080 T80H 100 62 24 292 10 BIT SOCKET SPLINE 1/2” DIN NO. 3120 12.5 1/2” # SIZE L(MM) L1(MM) D(MM) G PCS/BAG 83806205 M5 62 24 22 70 10 83806206 M6 62 24 22 70 10 83806208 M8 62 24 22 70 10 83806209 M9 62 24 22 75 10 83806210 M10 62 24 22 80 10 83806212 M12 62 24 24 105 10 83806214 M14 62 24 24 120 10 83806216 M16 62 24 24 130 10 83806216T M16T 62 24 24 125 10 BIT SOCKET SPLINE 1/2”, 100MML DIN NO. 3120 12.5 1/2” # SIZE L(MM) L1(MM) D(MM) G PCS/BAG 83810005 M5 100 62 22 84 10 83810006 M6 100 62 22 84 10 83810008 M8 100 62 22 84 10 83810009 M9 100 62 22 104 10 83810010 M10 100 62 22 102 10 83810012 M12 100 62 24 138 10 83810014 M14 100 62 24 166 10 83810016 M16 100 62 24 184 10 83810016T M16T 100 62 24 193 10 BIT SOCKET SPLINE 1/2”, 140MML DIN NO. 3120 12.5 1/2” # SIZE L(MM) L1(MM) D(MM) G PCS/BAG 83814010 M10 140 102 22 148 10 83814012 M12 140 102 24 178 10 83814014 M14 140 102 24 215 10 BIT SOCKET SPLINE 1/2”, 800MML DIN NO. 3120 12.5 1/2” # SIZE L(MM) L1(MM) D(MM) G PCS/BAG 83880008 M8 800 762 22 90 10 83880010 M10 800 762 22 90 10

Hand tools - Bit sockets

SONIC-EQUIPMENT.COM 174 04 BIT SOCKET RIBE 1/2” DIN NO. 3120 12.5 1/2” # SIZE L(MM) L1(MM) D(MM) G PCS/BAG 83906205 M5 62 24 22 68 10 83906206 M6 62 24 22 70 10 83906207 M7 62 24 22 70 10 83906208 M8 62 24 22 70 10 83906209 M9 62 24 22 80 10 83906210 M10 62 24 22 80 10 83906211 M10-1 62 24 22 80 10 83906212 M12 62 24 24 105 10 83906213 M13 62 24 24 120 10 83906214 M14 62 24 24 120 10 83906216 M16 62 24 24 130 10 BIT SOCKET RIBE 1/2”, 100MML DIN NO. 3120 12.5 1/2” # SIZE L(MM) L1(MM) D(MM) G PCS/BAG 83910005 M5 100 62 22 85 10 83910006 M6 100 62 22 86 10 83910007 M7 100 62 22 86 10 83910008 M8 100 62 22 86 10 83910009 M9 100 62 22 102 10 83910010 M10 100 62 22 105 10 83910012 M12 100 62 24 140 10 83910013 M13 100 62 24 165 10 83910014 M14 100 62 24 165 10 83910016 M16 100 62 27 193 10 BIT SOCKET RIBE 1/2”, 120MML DIN NO. 3120 12.5 1/2” # SIZE L(MM) L1(MM) D(MM) G PCS/BAG 83912011 M10-1 120 82 24 127 10 Especially for Fiat BIT SOCKET RIBE 1/2”, 140MML DIN NO. 3120 12.5 1/2” # SIZE L(MM) L1(MM) D(MM) G PCS/BAG 83914010 M10 140 102 24 178 10 Especially for VW BIT SOCKET RIBE 1/2”, 240MML DIN NO. 3120 12.5 1/2” # SIZE L(MM) L1(MM) D(MM) G PCS/BAG 83924007 M7 240 202 24 190 10 83924008 M8 240 202 24 194 10 83805517 - BIT SOCKET XZN 1/2”, M17 55MML - M17 - 55mml - For cylinder head screws Mercedes-Benz M400, M420, M500 engines IMPACT BIT SOCKET SPLINE 1/2”, 78MML 12.5 1/2” # SIZE L(MM) D(MM) G PCS/BAG 86807814 M14 78 25 126 10 86807816 M16 78 25 144 10 86807818 M18 78 25 150 10 BIT SOCKET IMPACT SPLINE 3/4” 20 3/4” # SIZE L(MM) D(MM) G PCS/BAG 87810518 M18 105 40 396 1 BIT SOCKET IMPACT RIBE 1/2”, ONE-PIECE 78MML DIN NO. 3121 12.5 1/2” # SIZE L(MM) D(MM) G PCS/BAG 86907805 M5 78 25 78 10 86907806 M6 78 25 76 10 86907807 M7 78 25 82 10 86907808 M8 78 25 84 10 86907809 M9 78 25 92 10 86907810 M10 78 25 96 10 86907812 M12 78 25 110 10 86907813 M13 78 25 120 10 86907814 M14 78 25 124 10
SONIC-EQUIPMENT.COM 175 04 BIT SOCKET IMPACT HEX 1/2”, ONE-PIECE DIN NO. 3121 12.5 1/2” # SIZE L(MM) D(MM) G PCS/BAG 86404314 14 43 25 92 10 86404317 17 43 25 104 10 86404319 19 43 25 204 10 IMPACT BIT SOCKET XZN 1/2” DIN NO. 3121 12.5 1/2” # SIZE L(MM) D(MM) G PCS/BAG 86804314 M14 43 25 82 10 86804316 M16 43 25 86 10 86804318 M18 43 25 92 10 IMPACT HEX ONE-PIECE 60L 1/2” DIN NO. 3121 12.5 1/2” # SIZE L(MM) D(MM) G PCS/BAG 86406006 6 60 25 80 10 86406007 7 60 25 84 10 86406008 8 60 25 88 10 86406009 9 60 25 92 10 86406010 10 60 25 96 10 86406012 12 60 25 106 10 86406014 14 60 25 118 10 86406017 17 60 25 138 10 86406019 19 60 25 158 10 IMPACT TX ONE-PIECE 60L 1/2” DIN NO. 3121 12.5 1/2” # SIZE L(MM) D(MM) G PCS/BAG 86606025 T25 60 25 74 10 86606027 T27 60 25 76 10 86606030 T30 60 25 78 10 86606040 T40 60 25 82 10 86606045 T45 60 25 86 10 86606050 T50 60 25 88 10 86606055 T55 60 25 96 10 86606060 T60 60 25 104 10 86606070 T70 60 25 112 10 Bits will be delivered in a 5 piece blister package # SIZE L(MM) D(MM) G PCS/BAG 9112501 PH.1 25 6.3 4 5 9112502 PH.2 25 6.3 4 5 5 # SIZE L(MM) D(MM) G PCS/BAG 9132503 3 25 6.3 4 5 9132504 4 25 6.3 4 5 9132505 5 25 6.3 4 5 9132506 6 25 6.3 6 5 # SIZE L(MM) D(MM) G PCS/BAG 9142503 3 25 6.3 4 5 9142504 4 25 6.3 4 5 9142505 5 25 6.3 6 5

Hand tools - Bit sockets

SONIC-EQUIPMENT.COM 176 04 BIT SPLINE 1/4”, 25MML # SIZE L(MM) D(MM) G PCS/BAG 9182504 M4 25 6.3 14 5 9182505 M5 25 6.3 14 5 BIT PH 5/16”, 30MML # SIZE L(MM) D(MM) G PCS/BAG 9213001 PH.1 30 7.9 10 5 9213002 PH.2 30 7.9 10 5 9213003 PH.3 30 7.9 10 5 9213004 PH.4 30 7.9 10 5 BIT PH 5/16”, 36MML # SIZE L(MM) D(MM) G PCS/BAG 9213601 PH.1 36 7.9 12 5 9213602 PH.2 36 7.9 12 5 9213603 PH.3 36 7.9 12 5 9213604 PH.4 36 7.9 12 5 BIT PZ 5/16”, 30MML # SIZE L(MM) D(MM) G PCS/BAG 9223002 PZ.2 30 7.9 10 5 9223003 PZ.3 30 7.9 10 5 9223004 PZ.4 30 7.9 12 5 BIT SLOTTED 5/16”, 30MML # SIZE L(MM) D(MM) G PCS/BAG 9233006 6 30 7.9 10 5 9233008 8 30 7.9 10 5 9233010 10 30 7.9 16 5 9233012 12 30 7.9 20 5 BIT SLOTTED 5/16”, 36MML # SIZE L(MM) D(MM) G PCS/BAG 9233605 5 36 7.9 12 5 9233606 6 36 7.9 12 5 9233608 8 36 7.9 14 5 9233610 10 36 7.9 14 5 9233612 12 36 7.9 16 5 BIT HEX 5/16”, 30MML # SIZE L(MM) D(MM) G PCS/BAG 9243007 7 30 7.9 14 5 9243008 8 30 7.9 14 5 9243010 10 30 7.9 14 5 9243012 12 30 7.9 16 5 9243014 14 30 7.9 26 5 BIT HEX 5/16”, 36MML # SIZE L(MM) D(MM) G PCS/BAG 9243604 4 36 7.9 12 5 9243605 5 36 7.9 14 5 9243606 6 36 7.9 14 5 9243608 8 36 7.9 14 5
SONIC-EQUIPMENT.COM 177 04 BIT TX 5/16”, 30MML # SIZE L(MM) D(MM) G PCS/BAG 9263030 T30 30 7.9 9 5 9263040 T40 30 7.9 10 5 9263045 T45 30 7.9 12 5 9263050 T50 30 7.9 12 5 9263055 T55 30 7.9 14 5 BIT SPLINE 5/16”, 30MM # SIZE L(MM) D(MM) G PCS/BAG 9283006 M6 30 7.9 14 5 9283008 M8 30 7.9 14 5 9283010 M10 30 7.9 14 5 BIT HEX 10MM, 30MML # SIZE L(MM) D(MM) G PCS/BAG 9343004 4 30 10 14 5 9343005 5 30 10 14 5 9343006 6 30 10 14 5 9343007 7 30 10 14 5 9343008 8 30 10 18 5 9343010 10 30 10 20 5 9343012 12 30 10 24 5 BIT HEX 10MM, 75MML # SIZE L(MM) D(MM) G PCS/BAG 9347504 4 75 10 42 5 9347505 5 75 10 38 5 9347506 6 75 10 44 5 9347507 7 75 10 46 5 9347508 8 75 10 46 5 9347510 10 75 10 50 5 9347512 12 75 10 64 5 BIT TX 10MM, 30MML # SIZE L(MM) D(MM) G PCS/BAG 9363020 T20 30 10 12 5 9363025 T25 30 10 12 5 9363030 T30 30 10 14 5 9363040 T40 30 10 14 5 9363045 T45 30 10 16 5 9363050 T50 30 10 16 5 9363055 T55 30 10 16 5 9363060 T60 30 10 18 5 BIT TX 10MM, 75MML # SIZE L(MM) D(MM) G PCS/BAG 9367520 T20 75 10 22 5 9367525 T25 75 10 40 5 9367530 T30 75 10 42 5 9367540 T40 75 10 44 5 9367545 T45 75 10 44 5 9367550 T50 75 10 46 5 9367555 T55 75 10 48 5 9367560 T60 75 10 66 5

Hand tools - Bit sockets

9363020…60

9383005…12

SONIC-EQUIPMENT.COM 178 04 BIT TX-H 10MM, 30MML # SIZE L(MM) D(MM) G PCS/BAG 9373015 T15H 30 10 92 5 9373020 T20H 30 10 92 5 9373025 T25H 30 10 92 5
T30H 30 10 92 5 9373040 T40H 30 10 94 5 9373045 T45H 30 10 94 5 BIT SPLINE 10MM, 30MML # SIZE L(MM) D(MM) G PCS/BAG 9383005 M5 30 10 14 5 9383006 M6 30 10 14 5 9383008 M8 30 10 16 5 9383010 M10 30 10 18 5 9383012 M12 30 10 20 5 BIT SPLINE 10MM, 75MML # SIZE L(MM) D(MM) G PCS/BAG 9387505 M5 75 10 42 5 9387506 M6 75 10 42 5 9387508 M8 75 10 44 5 9387510 M10 75 10 46 5 9387512 M12 75 10 54 5 304201 - BIT SET 10MM, 42-PCS Note: Certain T40 TX fasteners are glued into place with Loctite. This glue must be melted with a hot air gun before attempting to remove the bolt or damage may result to the T40 TX bit. # PCS CONTENTS 9343004…12 7 Bit hex 10mm 30mml, 4, 5, 6, 7, 8, 10, 12mm
7 Bit hex 10mm 75mml, 4, 5, 6, 7, 8, 10, 12mm
9373030
9347504…12
8 Bit TX 10mm 30mml, T20, T25, T30, T40, T45, T50, T55, T60
8 Bit TX 10mm 75mml, T20, T25, T30, T40, T45, T50, T55, T60
9367520…60
5 Bit spline 10mm 30mml,
M6,
5 Bit spline 10mm 75mml, M5, M6, M8,
M12 72023…33 2 Bit holder 3/8”(F) x 10mm(F),
101007 - BIT SET 1/4”, 10-PCS PCS CONTENTS 2 Bit PH.1, PH.2 2 Bit slotted 5.5, 6.5mm 6 Bit
104101 - BIT SET 1/4”, 41-PCS
M5,
M8, M10, M12 9387505…12
M10,
1/2”(F) x 10mm(F)
T10, T15, T20, T25, T27, T30

WORK EFFICIENT WORK WITH SONIC

Hand tools - Socket rails

WORK EFFICIENT, WORK WITH SONIC.

SONIC-EQUIPMENT.COM 180
04
SONIC-EQUIPMENT.COM 181 04 100902 - DEEP SOCKET SET 1/4”, 12 PT. ON RAIL 9-PCS 6.3 1/4” TOOLS # CONTENTS 2195005…12 Deep socket 1/4”, 12 pt. 3/16”, 7/32”, 1/4”, 9/32”, 5/16”, 11/32”, 3/8”, 7/16”, 1/2” 101002 - TX SOCKET SET 1/4”, TX ON RAIL 10-PCS 6.3 1/4” TOOLS # CONTENTS 21605…10 Socket TX 1/4”, E5, E6, E7, E8, E10 2165005...10 Deep socket TX 1/4”, E5, E6, E7, E8, E10 101003 - BIT SOCKET SET 1/4”, ON RAIL 10-PCS 6.3 1/4” TOOLS # CONTENTS 8113701...02 Bit socket PH 1/4”, PH.1, PH.2 8123701...02 Bit socket PZ 1/4”, PZ.1, PZ.2 8143703...08 Bit socket hex 1/4”, 3, 4, 5, 6, 7, 8mm 100904 - BIT SOCKET SET 1/4”, HEX ON RAIL 9-PCS 6.3 1/4” TOOLS # CONTENTS 8143703…10 Bit socket hex 1/4”, 3, 4, 5, 5.5, 6, 7, 8, 9, 10mm 100903 - BIT SOCKET SET 1/4”, HEX WITH BALL END ON RAIL 9-PCS 6.3 1/4” TOOLS # CONTENTS 8103703…10 Bit socket hex ball 1/4”, 3, 4, 5, 5.5, 6, 7, 8, 9, 10mm 100702 - BIT SOCKET SET 1/4”, HEX ON RAIL 7-PCS 6.3 1/4” TOOLS # CONTENTS 81413703…10 Bit socket hex 1/4”, 1/8”, 5/32”, 3/16”, 7/32”, 1/4”, 5/16”, 3/8” 101001 - FLANK SOCKET SET 1/4”, 6 PT. ON RAIL 10-PCS 6.3 1/4” TOOLS # CONTENTS 21505...13 Flank socket 1/4”, 6 pt. 5, 5.5, 6 ,7 ,8 ,9 ,10, 11, 12, 13mm 101203 - FLANK SOCKET SET 1/4”, 6 PT. ON RAIL 12-PCS 6.3 1/4” TOOLS # CONTENTS 21504…13 Flank socket 1/4”, 6 pt. 4, 4.5, 5, 5.5, 6, 7, 8, 9, 10, 11, 12, 13mm 101204 - FLANK DEEP SOCKET SET 1/4”, 6 PT. ON RAIL 12-PCS 6.3 1/4” TOOLS # CONTENTS 2155004…13 Flank deep socket 1/4”, 6 pt. 4, 4.5, 5, 5.5, 6, 7, 8, 9, 10, 11, 12, 13mm 101201 - SOCKET SET 1/4”, 12 PT. ON RAIL 12-PCS 6.3 1/4” TOOLS # CONTENTS 21804…13 Socket 1/4”, 12 pt. 4, 4.5, 5, 5.5, 6, 7, 8, 9, 10, 11, 12, 13mm 101202 - DEEP SOCKET SET 1/4”, 12 PT. ON RAIL 12-PCS 6.3 1/4” TOOLS # CONTENTS 2185004…13 Deep socket 1/4”, 12 pt. 4, 4.5, 5, 5.5, 6, 7, 8, 9, 10, 11, 12, 13mm 100901 - DEEP SOCKET SET 1/4”, 12 PT. ON RAIL 12-PCS 6.3 1/4” TOOLS # CONTENTS 21905…13 Socket 1/4”, 12 pt. 3/16”, 7/32”, 1/4”, 9/32”, 5/16”, 11/32”, 3/8”, 7/16”, 1/2”

Hand tools - Socket rails

SONIC-EQUIPMENT.COM 182
04 101004 - BIT SOCKET SET 1/4”, TX ON RAIL 10-PCS 6.3 1/4” TOOLS # CONTENTS 8163708…25 Bit socket TX 1/4”, T8, T10, T15, T20, T25 8173708…25 Bit socket TX tamperproof 1/4”, T8H, T10H, T15H, T20H, T25H 100704 - BIT SOCKET SET 1/4”, TX WITH BALL END ON RAIL 7-PCS 6.3 1/4” TOOLS # CONTENTS 81613710…40 Bit socket TX ball 1/4”, T10, T15, T20, T25, T27, T30, T40 100701 - BIT SOCKET SET 1/4”, TX TAMPERPROOF ON RAIL 7-PCS 6.3 1/4” TOOLS # CONTENTS 8153710…40 Tamper-resistant 1/4”, TX plus (5 lobes) 10IPR, 15IPR, 20IPR, 25IPR, 27IPR, 30IPR, 40IPR 101005 - BIT SOCKET SET 1/4”, TX TAMPERPROOF ON RAIL 10-PCS 6.3 1/4” TOOLS # CONTENTS 8153708…50 Tamper-resistant 1/4”, TX plus (5 lobes) 8IPR, 10IPR, 15IPR, 20IPR, 25IPR, 27IPR, 30IPR, 40IPR, 45IPR, 50IPR 100501 - BIT SOCKET SET 1/4”, SPLINE ON RAIL 5-PCS 6.3 1/4” TOOLS # CONTENTS 8183704…10 Bit socket spline 1/4”, M4, M5, M6, M8, M10 100601 - BIT SOCKET SET 1/4”, RIBE ON RAIL 6-PCS 6.3 1/4” TOOLS # CONTENTS 8193704…10 Bit socket ribe 1/4”, M4, M5, M6, M7, M8, M10 201001 - SOCKET SET 3/8”, 6 PT. ON RAIL 10-PCS 10 3/8” TOOLS # CONTENTS 22508…17 Flank socket 3/8”, 6 pt. 8, 9, 10, 11, 12, 13, 14, 15, 16, 17mm 201008 - FLANK DEEP SOCKET 3/8”, 6 PT. ON RAIL 10-PCS 10 3/8” TOOLS # CONTENTS 2256308…17 Flank deep socket 3/8”, 6 pt. 8, 9, 10, 11, 12, 13, 14, 15, 16, 17mm 201009 - SOCKET SET 3/8”, 12 PT. ON RAIL 10-PCS 10 3/8” TOOLS # CONTENTS 22808…19 Socket 3/8”, 12 pt. 8, 10, 11, 12, 13, 14, 15, 16, 17, 19mm 201010 - DEEP SOCKET SET 3/8”, 12 PT. ON RAIL 10-PCS 10 3/8” TOOLS # CONTENTS 2286308…19 Deep socket 3/8”, 12 pt. 8, 10, 11, 12, 13, 14, 15, 16, 17, 19mm 200801 - SOCKET SET 3/8”, 12 PT. ON RAIL 8-PCS 10 3/8” TOOLS # CONTENTS 22910…21 Socket 3/8”, 12 pt. 3/8”, 7/16”, 1/2”, 9/16”, 5/8”, 11/16”, 3/4”, 13/16” 200802 - DEEP SOCKET SET 3/8”, 12 PT. ON RAIL 8-PCS 10 3/8” TOOLS # CONTENTS 2296310…21 Socket 3/8”, 12 pt. deep 3/8”, 7/16”, 1/2”, 9/16”, 5/8”, 11/16”, 3/4”, 13/16”
SONIC-EQUIPMENT.COM 183 04 201002 - SOCKET SET 3/8”, TX ON RAIL 10-PCS 10 3/8” TOOLS # CONTENTS 22610…16 Socket TX 3/8”, E10, E11, E12, E14, E16 2266310…16 Deep socket TX 3/8”, E10, E11, E12, E14, E16 201014 - CARDAN SOCKET SET 3/8”, 12 PT. ON RAIL 10-PCS 10 3/8” TOOLS # CONTENTS 7152810...19 Cardan socket 3/8” 10, 11, 12, 13, 14, 15, 16, 17, 18, 19mm 200907 - HEX LOW SOCKET BIT SET 3/8”, ON RAIL 9-PCS 10 3/8” TOOLS # CONTENTS 8242704...12 Hex low socket bit set 3/8” 4, 5, 6, 7, 8, 9, 10, 11, 12mm 201003 - BIT SOCKET SET 3/8”, HEX ON RAIL 10-PCS 10 3/8” TOOLS # CONTENTS 8244803…12 Bit socket hex 3/8”, 3, 4, 5, 5.5, 6, 7, 8, 9, 10, 12mm 200903 - HEX LONG BIT SOCKET SET 3/8”, HEX ON RAIL 9-PCS 10 3/8” TOOLS # CONTENTS 8249003…10 Bit socket hex 3/8”, 90mml 3, 4, 5, 5.5, 6, 7, 8, 9, 10mm 200901 - BIT SOCKET HEX BALL SET 3/8”, HEX WITH BALL ON RAIL 9-PCS 10 3/8” TOOLS # CONTENTS 8209003…10 Bit socket hex ball 3/8”, 3, 4, 5, 5.5, 6, 7, 8, 9, 10mm 200902 - BIT SOCKET HEX SET 3/8”, HEX ON RAIL 9-PCS 10 3/8” TOOLS # CONTENTS 82414803…13 Bit socket hex 3/8”, 1/8”, 5/32”, 3/16”, 7/32”, 1/4”, 5/16”, 3/8”, 7/16”, 1/2” 201016 - STAR LOW SOCKET BIT SET 3/8”, ON RAIL 10-PCS 10 3/8” TOOLS # CONTENTS 8262710...55 Star low socket bit set 3/8” T10, T15, T20, T25, T27, T30, T40, T45, T50, T55 201005 - BIT SOCKET SET 3/8’’, TX ON RAIL 10-PCS 10 3/8” TOOLS # CONTENTS 8264808…50 Bit socket TX 3/8”, T8, T10, T15, T20, T25, T27, T30, T40, T45, T50 201012 - BIT SOCKET SET 3/8”, TX LONG ON RAIL 10-PCS 10 3/8” TOOLS # CONTENTS 8269008...50 Bit socket TX 3/8”, 90mml T8, T10, T15, T20, T25, T27, T30, T40, T45, T50 201006 - BIT SOCKET SET 3/8”, TX TAMPERPROOF ON RAIL 10-PCS 10 3/8” TOOLS # CONTENTS 8274808…50 Bit socket TX tamperproof 3/8”, T8H, T10H, T15H, T20H, T25H, T27H, T30H, T40H, T45H, T50H 201013 - BIT SOCKET SET 3/8”, TX TAMPERPROOF LONG ON RAIL 10-PCS 10 3/8” TOOLS # CONTENTS 8279008...50 Bit socket TX tamperproof 3/8”, 90mml T8H, T10H, T15H, T20H, T25H, T27H, T30H, T40H, T45H, T50H

Hand tools - Socket rails

9/16”, 5/8”, 11/16”, 3/4”, 13/16”, 7/8”, 15/16”, 1”, 1.1/16”, 1.1/8”, 1.3/16”, 1.1/4” 300902 - SOCKET SET 1/2”, TX ON RAIL 9-PCS

12.5 1/2”

# CONTENTS 2367710…24 Deep TX socket 1/2”, E10, E11, E12, E14, E16, E18, E20, E22, E24

SONIC-EQUIPMENT.COM 184
04 201201 - BIT SOCKET SET 3/8”, RIBE & SPLINE ON RAIL 12-PCS 10 3/8” TOOLS # CONTENTS
Bit socket spline 3/8”, M5, M6, M8, M9, M10, M12 8294805…10 Bit socket ribe 3/8”, M5, M6, M7, M8, M9, M10 200805 - 1/4” & 3/8” PORSCHE SOCKETS 10MM ON RAIL 8-PCS 6.3 1/4” 10 3/8” TOOLS # CONTENTS 21510 Flank socket 1/4” 6 pt. 10mm 2155010 Flank deep socket 1/4” 6 pt. 10mm 22510 Flank socket 3/8” 6 pt. 10mm 2256310 Flank deep socket 3/8” 6 pt. 10mm - 71511 Universal joint 1/4” 7151810 Cardan socket 1/4” 12 pt. 10mm - 71521 Universal joint 3/8” 7152810 Cardan socket 3/8”, 10mm 201015 - 1/4” & 3/8” VW/AUDI SOCKET SET ON RAIL 10-PCS 6.3 1/4” 10 3/8” TOOLS # CONTENTS 21510…13 Flank socket 1/4” 6 pt. 10, 13mm 8163720…30 Bit socket TX 1/4”, T20, T25, T30 8244805…06 Bit socket hex 3/8”, 5, 6mm 8284806…10 Bit socket spline 3/8” M6, M8, M10 301201 - FLANK SOCKET SET 1/2”, 6 PT. ON RAIL 12-PCS 12.5 1/2” TOOLS # CONTENTS 23508…19 Flank socket 1/2”, 6 pt. 8, 9, 10, 11, 12, 13, 14, 15, 16, 17, 18, 19mm 301007 - FLANK SOCKET SET 1/2”, 6 PT. ON RAIL 10-PCS 12.5 1/2” TOOLS # CONTENTS 23510…24 Flank socket 1/2”, 6 pt. 10, 11, 12, 13, 14, 15, 17, 19, 21, 24mm 301202 - FLANK DEEP SOCKET SET 1/2”, 6 PT. ON RAIL 12-PCS 12.5 1/2” TOOLS # CONTENTS 2357708…19 Flank deep socket 1/2”, 6 pt. 8, 9, 10, 11, 12, 13, 14, 15, 16, 17, 18, 19mm 301203 - SOCKET SET 1/2”, 12 PT. ON RAIL 12-PCS 12.5 1/2” TOOLS # CONTENTS 23808…19 Socket 1/2”, 12 pt. 8, 9, 10, 11, 12, 13, 14, 15, 16, 17, 18, 19mm 301204 - DEEP SOCKET SET 1/2”, 12 PT. ON RAIL 12-PCS 12.5 1/2” TOOLS # CONTENTS 2387708…19 Deep socket 1/2”, 12 pt. 8, 9, 10, 11, 12, 13, 14, 15, 16, 17, 18, 19mm 301503 - SOCKET SET 1/2”, 12 PT. ON RAIL 15-PCS 12.5 1/2” TOOLS # CONTENTS 23910…32 Socket 1/2”, 12 pt. 3/8”, 7/16”, 1/2”, 9/16”, 5/8”, 11/16”, 3/4”, 13/16”, 7/8”, 15/16”, 1”, 1.1/16”, 1.1/8”, 1.3/16”, 1.1/4” 301504 - DEEP SOCKET SET 1/2”, 12 PT. ON RAIL 15-PCS 12.5 1/2” TOOLS # CONTENTS 2397710…32 Deep socket 1/2”, 12 pt. 3/8”, 7/16”, 1/2”,
TOOLS
8284805…12
12.5 1/2”
# CONTENTS 23610…24 Socket TX 1/2”, E10, E11, E12, E14, E16, E18, E20, E22, E24 300903 - DEEP SOCKET SET 1/2”, TX ON RAIL 9-PCS
TOOLS

12.5 1/2”

83706220…70 Bit socket TX tamperproof 1/2”, T20H, T25H, T27H, T30H, T40H, T45H, T50H, T55H, T60H, T70H

CONTENTS 83806205…16 Bit socket spline 1/2”, M5, M6, M8, M9, M10, M12, M14, M16

SOCKET SET 1/2”, RIBE ON RAIL 10-PCS

# CONTENTS

83906205…14 Bit socket ribe 1/2”, M5, M6, M7, M8, M9, M10, M10-1, M12, M13, M14

300814 - ADAPTOR & UNIVERSAL JOINT 8-PCS

# CONTENTS

72011 Bit holder 1/4”(F) x 1/4”(F)

71912

71511

71921

71923

71521

71932

71531

Adaptor 1/4 (F) X 3/8 (M)

Universal joint 1/4''

Adaptor 3/8”(F) x 1/4”(M)

Adaptor 3/8”(F)X 1/2”(M)

Universal joint 3/8''

Adaptor 1/2”(F)x 3/8”(M)

Universal joint 1/2

SONIC-EQUIPMENT.COM 185 04 301003 - BIT SOCKET SET 1/2”, HEX ON RAIL 10-PCS 12.5 1/2” TOOLS # CONTENTS
Bit socket hex 1/2”, 4, 5, 5.5, 6, 7, 8, 9, 10, 12, 14mm 301002 - BIT SOCKET SET 1/2”, HEX ON RAIL 10-PCS 12.5 1/2” TOOLS # CONTENTS 834106205…17 Bit socket hex 1/2”, 3/16”, 1/4”, 9/32”, 5/16”, 11/32”, 3/8”, 7/16”, 1/2”, 9/16”, 5/8” 301005 - BIT SOCKET SET 1/2”, TX ON RAIL 10-PCS 12.5 1/2” TOOLS # CONTENTS 83606220…70 Bit socket TX 1/2”, T20, T25, T27, T30, T40, T45, T50, T55, T60, T70 301006 - BIT SOCKET SET 1/2”, TX TAMPERPROOF ON RAIL 10-PCS
TOOLS # CONTENTS
83406204…14
12.5 1/2”
300906
BIT SOCKET SET
SPLINE ON RAIL 9-PCS 12.5 1/2” TOOLS
83806216T
301008
BIT
-
1/2”,
#
Bit socket spline 1/2”, M16-T
-
TOOLS

Hand tools - Sockets

WORK EFFICIENT, WORK WITH SONIC.

SONIC-EQUIPMENT.COM 186
04
SONIC-EQUIPMENT.COM 187 04 FLANK SOCKET 1/4”, 6 PT 6.3 1/4” # SIZE L(MM) D2(MM) G PCS/BAG 21503 3 25 6 10 10 21504 4 25 6,8 10 10 21545 4.5 25 7,2 10 10 21505 5 25 7,8 10 10 21555 5.5 25 8,4 10 10 21506 6 25 9,3 10 10 21507 7 25 11 12 10 21508 8 25 12 10 10 21509 9 25 13 12 10 21510 10 25 15 12 10 21511 11 25 16 16 10 21512 12 25 17 18 10 21513 13 25 18 18 10 21514 14 25 19 26 10 FLANK DEEP SOCKET 1/4”, 6 PT. 6.3 1/4” # SIZE L(MM) D2(MM) G PCS/BAG 2155004 4 50 6,8 16 10 21550045 4.5 50 7,2 16 10 2155005 5 50 7,8 16 10 21550055 5.5 50 8,4 14 10 2155006 6 50 9,3 18 10 2155007 7 50 11 22 10 2155008 8 50 12 22 10 2155009 9 50 13 28 10 2155010 10 50 15 32 10 2155011 11 50 16 38 10 2155012 12 50 17 42 10 2155013 13 50 18 46 10 2155014 14 50 19 64 10 SOCKET 1/4”, 12 PT. 6.3 1/4” # SIZE L(MM) D2(MM) G PCS/BAG 21804 4 25 6,8 10 10 21845 4.5 25 7,2 10 10 21805 5 25 7,8 10 10 21855 5.5 25 8,4 10 10 21806 6 25 9,3 10 10 21807 7 25 11 12 10 21808 8 25 12 10 10 21809 9 25 13 12 10 21810 10 25 15 12 10 21811 11 25 16 16 10 21812 12 25 17 18 10 21813 13 25 18 18 10 DEEP SOCKET 1/4”, 12 PT. 6.3 1/4” # SIZE L(MM) D2(MM) G PCS/BAG 2185004 4 50 6,8 16 10 21850045 4.5 50 7,2 16 10 2185005 5 50 7,8 16 10 21850055 5.5 50 8,4 14 10 2185006 6 50 9,3 18 10 2185007 7 50 11 22 10 2185008 8 50 12 22 10 2185009 9 50 13 28 10 2185010 10 50 15 32 10 2185011 11 50 16 38 10 2185012 12 50 17 42 10 2185013 13 50 18 46 10

Hand tools - Sockets

SONIC-EQUIPMENT.COM 188 04 SOCKET 1/4”, 12 PT. SAE 6.3 1/4” # SIZE L(MM) D2(MM) G PCS/BAG 21905 3/16" 25 7,8 10 10 21955 7/32" 25 8,4 10 10 21906 1/4" 25 9,3 10 10 21907 9/32" 25 11 10 10 21908 5/16" 25 12 10 10 21909 11/32" 25 13 10 10 21910 3/8" 25 14 10 10 21911 7/16" 25 16 15 10 21913 1/2" 25 18 20 10 21914 9/16" 25 20 26 10 DEEP SOCKET 1/4”, 12 PT. SAE 6.3 1/4” # SIZE L(MM) D2(MM) G PCS/BAG 2195005 3/16" 50 7,2 15 10 21950055 7/32" 50 8,4 15 10 2195006 1/4" 50 9,3 20 10 2195007 9/32" 50 11 20 10 2195008 5/16" 50 12 20 10 2195009 11/32" 50 13 25 10 2195010 3/8" 50 14 30 10 2195011 7/16" 50 16 35 10 2195012 1/2" 50 18 45 10 2195014 9/16" 50 20 48 10 SOCKET 1/4”, TX 6.3 1/4” # SIZE L(MM) D2(MM) G PCS/BAG 21604 E4 25 6 10 10 21605 E5 25 7 10 10 21606 E6 25 8 10 10 21607 E7 25 9 10 10 21608 E8 25 10 10 10 21610 E10 25 11,5 12 10 DEEP SOCKET 1/4”, TX 6.3 1/4” # SIZE L(MM) D2(MM) G PCS/BAG 2165004 E4 50 6 14 10 2165005 E5 50 7 16 10 2165006 E6 50 8 18 10 2165007 E7 50 9 18 10 2165008 E8 50 10 20 10 2165010 E10 50 11,5 26 10
1/4”, 12 PT. 6.3 1/4” # SIZE L(MM) D2(MM) G PCS/BAG 7151806 6 35 9,2 22 10 7151807 7 35 10,5 22 10 7151808 8 36,5 11,7 22 10 7151809 9 36,5 13 22 10 7151810 10 38,5 13,8 24 10 7151811 11 39,5 15,6 26 10 7151812 12 40 16,7 26 10 7151813 13 40 18 28 10
CARDAN SOCKET
SONIC-EQUIPMENT.COM 189 04 CARDAN SOCKET 1/4”, 12 PT. SAE 6.3 1/4” # SIZE L(MM) D2(MM) G PCS/BAG 7151706 1/4” 35 14 26 10 7151708 5/16” 36 14 26 10 7151709 11/32” 36 14 26 10 7151710 3/8” 37 14 28 10 7151711 7/16” 39 16 30 10 7151713 1/2” 41 18 34 10 7151714 9/16” 42 19 32 10
1/4”, TX 6.3 1/4” # SIZE L(MM) D2(MM) G PCS/BAG 7151604 E4 40 6 24 10 7151605 E5 40 6,8 24 10 7151606 E6 40 7,8 26 10 7151607 E7 40 8,8 26 10 7151608 E8 40 9,8 26 10 FLANK SOCKET 3/8”, 6 PT. DIN NO. 3120/3124 10 3/8” # SIZE L(MM) D2(MM) G PCS/BAG 22506 6 28 9,3 20 10 22507 7 28 10,6 22 10 22508 8 28 11,8 22 10 22509 9 28 13,2 22 10 22510 10 28 14,5 22 10 22511 11 28 15,7 24 10 22512 12 28 17 22 10 22513 13 28 18 24 10 22514 14 28 20 28 10 22515 15 28 22 34 10 22516 16 28 22 32 10 22517 17 30 24 40 10 22518 18 30 26 42 10 22519 19 30 26 46 10 22520 20 30 28 60 10 22521 21 30 28 50 10 22522 22 32 30 60 10 22524 24 32 32 62 10
CARDAN SOCKET

Hand tools - Sockets

SONIC-EQUIPMENT.COM 190 04 DEEP FLANK SOCKET 3/8”, 6 PT. 10 3/8” # SIZE L(MM) D2(MM) G PCS/BAG 2256306 6 63 9,3 34 10 2256307 7 63 10,6 36 10 2256308 8 63 11,8 34 10 2256309 9 63 13,2 44 10 2256310 10 63 14,5 46 10 2256311 11 63 15,7 50 10 2256312 12 63 18 62 10 2256313 13 63 19 68 10 2256314 14 63 20 74 10 2256315 15 63 22 96 10 2256316 16 63 22 82 10 2256317 17 63 24 106 10 2256318 18 63 26 130 10 2256319 19 63 26 116 10 2256320 20 63 28 148 10 2256321 21 63 28 126 10 2256322 22 63 30 160 10 SOCKET 3/8”, 12 PT. DIN NO. 3120 10 3/8” # SIZE L(MM) D2(MM) G PCS/BAG 22806 6 28 9,3 20 10 22807 7 28 10,6 22 10 22808 8 28 11,8 22 10 22809 9 28 13,2 22 10 22810 10 28 14,5 22 10 22811 11 28 15,7 24 10 22812 12 28 17 22 10 22813 13 28 18 24 10 22814 14 28 20 28 10 22815 15 28 22 34 10 22816 16 28 22 32 10 22817 17 30 24 40 10 22818 18 30 26 42 10 22819 19 30 26 46 10 22820 20 30 28 60 10 22821 21 30 28 50 10 22822 22 32 30 60 10 22824 24 32 32 62 10 VDE SOCKET 3/8”, 12 PT. 10 3/8” # SIZE L(MM) D(MM) G PCS/BAG 4813908 8 45 22 32 10 4813910 10 45 22 34 10 4813911 11 45 22 34 10 4813912 12 45 22 34 10 4813913 13 45 22,5 36 10 4813914 14 45 23,5 38 10 4813915 15 45 26 50 10 4813916 16 45 26 42 10 4813917 17 47 28 62 10
SONIC-EQUIPMENT.COM 191 04 FLANK DEEP SOCKET 3/8”, 12 PT. DIN NO. 3120 10 3/8” # SIZE L(MM) D2(MM) G PCS/BAG 2286306 6 63 9,3 34 10 2286307 7 63 10,6 36 10 2286308 8 63 11,8 34 10 2286309 9 63 13,2 44 10 2286310 10 63 14,5 46 10 2286311 11 63 15,7 50 10 2286312 12 63 18 62 10 2286313 13 63 19 68 10 2286314 14 63 20 74 10 2286315 15 63 22 96 10 2286316 16 63 22 82 10 2286317 17 63 24 106 10 2286318 18 63 26 130 10 2286319 19 63 26 116 10 2286320 20 63 28 148 10 2286321 21 63 28 126 10 2286322 22 63 30 160 10 2286324 24 63 32 210 10 SOCKET 3/8”, 12 PT. SAE DIN NO. 3120 10 3/8” # SIZE L(MM) D2(MM) G PCS/BAG 22906 1/4” 28 9,3 20 10 22908 5/16” 28 11,8 20 10 22910 3/8" 28 14,5 20 10 22911 7/16" 28 15,7 20 10 22913 1/2" 28 18 25 10 22914 9/16" 28 20 25 10 22916 5/8" 28 22 30 10 22917 11/16" 30 24 35 10 22919 3/4" 30 26 45 10 22921 13/16" 30 28 50 10 22922 7/8" 30 30 60 10 DEEP SOCKET 3/8”, 12 PT. SAE DIN NO. 3120 10 3/8” # SIZE L(MM) D2(MM) G PCS/BAG 2296306 1/4'' 63 11,4 42 10 2296308 5/16'' 63 12,4 44 10 2296310 3/8" 63 14,5 45 10 2296311 7/16" 63 15,7 50 10 2296313 1/2" 63 18 65 10 2296314 9/16" 63 20 70 10 2296316 5/8" 63 22 85 10 2296317 11/16" 63 24 100 10 2296319 3/4" 63 26 115 10 2296321 13/16" 63 28 130 10 2296322 7/8" 63 30 150 10 SOCKET 3/8”, TX 10 3/8” # SIZE L(MM) D2(MM) G PCS/BAG 22604 E4 28 6 20 10 22605 E5 28 7 22 10 22606 E6 28 8 20 10 22607 E7 28 9 22 10 22608 E8 28 10 22 10 22610 E10 28 12 22 10 22611 E11 28 13 24 10 22612 E12 28 14 24 10 22614 E14 28 16 24 10 22616 E16 28 18 28 10 22618 E18 28 20 58 10 22620 E20 30 22 72 10

Hand tools - Sockets

SONIC-EQUIPMENT.COM 192 04 DEEP SOCKET 3/8”, TX DIN NO. 3120 10 3/8” # SIZE L(MM) D2(MM) G PCS/BAG 2266304 E4 63 6 26 10 2266305 E5 63 7 28 10 2266306 E6 63 8 34 10 2266307 E7 63 9 32 10 2266308 E8 63 10 38 10 2266310 E10 63 12 42 10 2266311 E11 63 13 42 10 2266312 E12 63 14 50 10 2266314 E14 63 16 64 10 2266316 E16 63 18 68 10 2266318 E18 63 20 129 10 2266320 E20 63 24 151 10 CARDAN SOCKET 3/8” DIN NO. 3120 10 3/8” # SIZE L(MM) D2(MM) G PCS/BAG 7152810 10 49,5 14,5 60 10 7152811 11 50,5 15,8 60 10 7152812 12 51 17 60 10 7152813 13 52 18,3 60 10 7152814 14 52 20 60 10 7152815 15 54,5 22 65 10 7152816 16 54,5 22 65 10 7152817 17 55,5 24 70 10 7152818 18 55,5 26 70 10 7152819 19 57,5 26 75 10
TX 10 3/8” # SIZE L(MM) D2(MM) G PCS/BAG 7152610 E10 60 13,8 66 10 7152612 E12 61 14,6 68 10 7152614 E14 61 16,7 72 10 7152616 E16 61 18,5 76 10
CARDAN SOCKET 3/8”,
10 3/8” # SIZE L(MM) D2(MM) G PCS/BAG 7176208 8 72 12 64 10 7176209 9 72 13 70 10 7176210 10 72 14 72 10 7176212 12 72 16 72 10 7176214 14 80 18 82 10 7176216 16 80 20 94 10
GLOW PLUG SOCKET 3/8”
SONIC-EQUIPMENT.COM 193 04 FLANK SOCKET 1/2”, 6 PT. DIN NO. 3120/3124 12.5 1/2” # SIZE L(MM) D2(MM) G PCS/BAG 23508 8 38 12,2 46 10 23509 9 38 13,5 48 10 23510 10 38 15 48 10 23511 11 38 16,3 50 10 23512 12 38 17,6 50 10 23513 13 38 18,8 52 10 23514 14 38 20,4 54 10 23515 15 38 21 52 10 23516 16 38 22 48 10 23517 17 38 24 60 10 23518 18 38 26 70 10 23519 19 38 26 58 10 23520 20 38 28 70 10 23521 21 38 28 60 10 23522 22 38 30 88 10 23523 23 38 32 98 10 23524 24 38 32 90 10 23525 25 42 34 118 10 23526 26 42 36 142 10 23527 27 42 36 136 10 23528 28 43 38 154 10 23529 29 43 38 134 10 23530 30 43 40 158 10 23532 32 43 42 168 10 23536 36 45 48 262 10 FLANK DEEP SOCKET 1/2”, 6 PT. 12.5 1/2” # SIZE L(MM) D2(MM) G PCS/BAG 2357708 8 77 12,2 70 10 2357709 9 77 13,5 74 10 2357710 10 77 15 66 10 2357711 11 77 16,3 78 10 2357712 12 77 17,6 82 10 2357713 13 77 18,8 96 10 2357714 14 77 20,4 104 10 2357715 15 77 21 98 10 2357716 16 77 22 100 10 2357717 17 77 24 130 10 2357718 18 77 26 154 10 2357719 19 77 26 142 10 2357720 20 77 28 168 10 2357721 21 77 28 152 10 2357722 22 77 30 204 10 2357723 23 77 32 228 10 2357724 24 77 32 218 10 2357725 25 77 34 254 10 2357726 26 77 36 300 10 2357727 27 77 36 286 10 2357728 28 77 38 320 10 2357729 29 77 38 300 10 2357730 30 77 40 346 10 2357732 32 77 42 364 10

Hand tools - Sockets

SONIC-EQUIPMENT.COM 194 04 SOCKET 1/2”, 12 PT. DIN NO. 3120 12.5 1/2” # SIZE L(MM) D2(MM) G PCS/BAG 23808 8 38 12,2 46 10 23809 9 38 13,5 48 10 23810 10 38 15 48 10 23811 11 38 16,3 50 10 23812 12 38 17,6 50 10 23813 13 38 18,8 52 10 23814 14 38 20,4 54 10 23815 15 38 21 52 10 23816 16 38 22 48 10 23817 17 38 24 60 10 23818 18 38 26 70 10 23819 19 38 26 58 10 23820 20 38 28 70 10 23821 21 38 28 60 10 23822 22 38 30 88 10 23823 23 38 32 98 10 23824 24 38 32 90 10 23825 25 42 34 118 10 23826 26 42 36 142 10 23827 27 42 36 136 10 23828 28 43 38 154 10 23829 29 43 38 134 10 23830 30 43 40 158 10 23832 32 43 42 168 10 DEEP SOCKET 1/2”, 12 PT. DIN NO. 3120 12.5 1/2” # SIZE L(MM) D2(MM) G PCS/BAG 2387708 8 77 12,2 70 10 2387709 9 77 13,5 74 10 2387710 10 77 15 66 10 2387711 11 77 16,3 78 10 2387712 12 77 17,6 82 10 2387713 13 77 18,8 96 10 2387714 14 77 20,4 104 10 2387715 15 77 21 98 10 2387716 16 77 22 100 10 2387717 17 77 24 130 10 2387718 18 77 26 154 10 2387719 19 77 26 142 10 2387720 20 77 28 168 10 2387721 21 77 28 152 10 2387722 22 77 30 204 10 2387723 23 77 32 228 10 2387724 24 77 32 218 10 2387725 25 77 34 254 10 2387726 26 77 36 300 10 2387727 27 77 36 286 10 2387728 28 77 38 320 10 2387729 29 77 38 300 10 2387730 30 77 40 346 10 2387732 32 77 42 364 10
SONIC-EQUIPMENT.COM 195 04 SOCKET 1/2”, 12 PT. SAE DIN NO. 3120 12.5 1/2” # SIZE L(MM) D2(MM) G PCS/BAG 23910 3/8" 38 15 50 10 23911 7/16" 38 16,3 45 10 23913 1/2" 38 18,8 50 10 23914 9/16" 38 20,4 50 10 23916 5/8" 38 22 50 10 23917 11/16" 38 24 55 10 23919 3/4" 38 26 50 10 23921 13/16" 38 28 60 10 23922 7/8" 38 30 80 10 23924 15/16" 38 32 90 10 23925 1" 42 34 110 10 23927 1.1/16" 42 36 120 10 23929 1.1/8" 43 38 135 10 23930 1.3/16" 43 40 150 10 23932 1.1/4" 43 42 155 10 DEEP SOCKET 1/2”, 12 PT. SAE DIN NO. 3120 12.5 1/2” # SIZE L(MM) D2(MM) G PCS/BAG 2397710 3/8" 77 15 65 10 2397711 7/16" 77 16,3 75 10 2397713 1/2" 77 18,8 90 10 2397714 9/16" 77 20,4 105 10 2397716 5/8" 77 22 95 10 2397717 11/16" 77 24 120 10 2397719 3/4" 77 26 135 10 2397721 13/16" 77 28 155 10 2397722 7/8" 77 30 190 10 2397724 15/16" 77 32 205 10 2397725 1" 77 34 235 10 2397727 1.1/16" 77 36 270 10 2397729 1.1/8" 77 38 300 10 2397730 1.3/16" 77 40 330 10 2397732 1.1/4" 77 42 355 10 SOCKET 1/2”, TX 12.5 1/2” # SIZE L(MM) D2(MM) G PCS/BAG 23610 E10 38 13 48 10 23611 E11 38 14 50 10 23612 E12 38 15 50 10 23614 E14 38 16 50 10 23616 E16 38 19 56 10 23618 E18 38 20 54 10 23620 E20 38 24 58 10 23622 E22 38 26 78 10 23624 E24 38 28 90 10 DEEP SOCKET 1/2”, TX 12.5 1/2” # SIZE L(MM) D2(MM) G PCS/BAG 2367710 E10 77 13 78 10 2367711 E11 77 14 82 10 2367712 E12 77 15 68 10 2367714 E14 77 16 74 10 2367716 E16 77 19 104 10 2367718 E18 77 20 110 10 2367720 E20 77 24 156 10 2367722 E22 77 26 192 10 2367724 E24 77 28 208 10

Hand tools - Sockets

SONIC-EQUIPMENT.COM 196 04 CARDAN SOCKET 1/2”, TX 12.5 1/2” # SIZE L(MM) D2(MM) G PCS/BAG 7153618 E18 69 21,5 138 10 7153620 E20 69 21,5 132 10 7153622 E22 69 26 148 10 7153624 E24 69 28 154 10 SOCKET 3/4”, 12 PT. DIN NO. 3120 20 3/4” # SIZE L(MM) D2(MM) G PCS/BAG 24917 17 50 27,2 140 2 24918 18 50 28,2 150 2 24919 19 50 29,2 164 2 24920 20 50 30,2 170 2 24921 21 50 31,2 166 2 24922 22 50 32,2 208 2 24923 23 50 33,2 208 2 24924 24 51 34,2 214 2 24925 25 52 36 220 2 24926 26 52 37 214 2 24927 27 52 38 214 2 24928 28 52 39,5 240 2 24929 29 52 40,5 232 2 24930 30 54 42 274 2 24932 32 56 44 286 2 24933 33 56 46 320 2 24934 34 56 47 340 2 24935 35 58 48 376 2 24936 36 58 50 400 2 24938 38 60 52 464 2 24941 41 64 56 526 2 24942 42 64 57 560 2 24946 46 66 62 632 2 24950 50 70 68 760 2 24955 55 76 74 900 2 24960 60 78 80 1050 2 SOCKET 3/4”, 12 PT. SAE DIN NO. 3120 20 3/4” # SIZE L(MM) D2(MM) G PCS/BAG 24819 3/4" 50 29,2 164 2 24822 7/8" 50 32,2 212 2 24824 5/16" 51 34,2 218 2 24825 1" 52 37 220 2 24827 1.1/16" 52 38 220 2 24829 1.1/8" 52 40 240 2 24830 1.3/16" 54 42 266 2 24832 1.1/4" 56 44 286 2 24833 1.5/16" 56 46 310 2 24835 1.3/8" 58 48 368 2 24836 1.7/16" 58 50 398 2 24838 1.1/2” 60 52 454 2 24841 1.5/8” 64 56 530 2 24842 1.11/16” 65 58 560 2 24844 1.3/4” 66 60 604 2 24846 1.13/16” 68 62 632 2 24847 1.7/8” 70 64 700 2 24850 2” 72 68 760 2
SONIC-EQUIPMENT.COM 197 04 SOCKET 1”, 12 PT. DIN NO. 3120 25 1” # SIZE L(MM) D2(MM) G PCS/BAG 25835 35 61 50 430 2 25836 36 65 52 454 2 25838 38 65 54 485 2 25841 41 70 57 580 2 25846 46 75 65 806 2 25850 50 75 70 956 2 25854 54 80 74 1150 2 25855 55 80 76 1190 2 25858 58 80 79 1285 2 25860 60 84 82 1248 2 25863 63 87 86 1500 1 25865 65 87 88 1450 1 25867 67 90 90 1640 1 25870 70 93 94 1946 1 25871 71 93 95 2100 1 25875 75 97 100 2294 1 25877 77 103 102 2500 1 25880 80 103 105 2328 1 WHEEL SOCKET 1/2” 12.5 1/2” # SIZE L(MM) D2(MM) G PCS/BAG 3310521 21 150 31 290 5 WHEEL SOCKET 1/2” 12.5 1/2” # SIZE L(MM) D2(MM) G PCS/BAG 3310817 17 151 27 374 5 3310819 19 151 28 386 5 3310821 21 151 30 406 5 WHEEL SOCKET 1/2” 12.5 1/2” # SIZE L(MM) D2(MM) G PCS/BAG 3310217 17 105 24 222 5 3310219 19 105 26 194 5 3310221 21 105 27 200 5 TORQUE IMPACT SOCKET 1/2” 12.5 1/2” # SIZE L(MM) D2(MM) G PCS/BAG 3310317 17 100 26 362 5 3310319 19 100 29 392 5 3310321 21 100 30 398 5 3310322 22 100 32 422 5

Hand tools - Sockets

WHEEL SOCKET 1/2”, 17MM FOR MERCEDES-BENZ 12.5 1/2”

SONIC-EQUIPMENT.COM 198 04 NSI WHEEL SOCKET 1/2” 12.5 1/2” # SIZE L(MM) D2(MM) G PCS/BAG 3310715 15 88 26,6 96 5 3310717 17 87 26 184 5 3310719 19 87 28 184 5 3310721 21 87 28 216 5 3310722 22 87 31 244 5 IMPACT SOCKET 3/8”, 6 PT. DIN NO. 3121/3129 10 3/8” # SIZE L(MM) D2(MM) G PCS/BAG 32508 8 30 13,5 36 10 32509 9 30 15,2 42 10 32510 10 30 16,5 36 10 32511 11 30 17,6 34 10 32512 12 30 18,2 34 10 32513 13 30 20,2 52 10 32514 14 30 21,5 52 10 32515 15 30 22 48 10 32516 16 30 24 56 10 32517 17 30 25,2 60 10 32518 18 30 26,5 90 10 32519 19 30 27,7 66 10 32520 20 30 28,5 95 10 32521 21 30 30 100 10 32522 22 30 32 105 10 DEEP IMPACT SOCKET 3/8”, 6 PT. DIN NO. 3121/3129 10 3/8” # SIZE L(MM) D2(MM) G PCS/BAG 3256308 8 63 13,5 96 10 3256309 9 63 15,2 100 10 3256310 10 63 16.5 92 10 3256311 11 63 17,6 86 10 3256312 12 63 18,2 86 10 3256313 13 63 20,2 116 10 3256314 14 63 21,5 114 10 3256315 15 63 22,6 130 10 3256316 16 63 24 122 10 3256317 17 63 25,2 146 10 3256318 18 63 26,5 190 10 3256319 19 63 27,7 156 10 3256320 20 63 28,5 210 10 3256321 21 63 30 220 10 3256322 22 63 32 240 10
# SIZE L(MM) D2(MM) G PCS/BAG 3310617 17 88 25 96 5
SONIC-EQUIPMENT.COM 199 04 BRAKE CALIPER SOCKET, 1/2” 10 PT. DIN NO. 3121 12.5 1/2” ART. NO SIZE L(MM) D2(MM) 805019 10 IMPACT SOCKET 1/2”, 6 PT. 12.5 1/2” # SIZE L(MM) D2(MM) G PCS/BAG 33508 8 38 15 60 5 33509 9 38 16 60 5 33510 10 38 16 60 5 33511 11 38 17,2 62 5 33512 12 38 19 64 5 33513 13 38 20,5 68 5 33514 14 38 23 80 5 33515 15 38 24 76 5 33516 16 38 24 72 5 33517 17 38 25,8 90 5 33518 18 38 28 108 5 33519 19 38 28 102 5 33520 20 38 29,8 120 5 33521 21 38 29,8 114 5 33522 22 38 31,8 132 5 33523 23 38 32,2 118 5 33524 24 38 33,8 126 5 33525 25 38 35,8 142 5 33526 26 38 35,8 134 5 33527 27 39 37,8 156 5 33528 28 40 40 164 5 33529 29 40 40 162 5 33530 30 40 41,8 184 5 33532 32 40 43,5 188 5 33533 33 44 46 310 5 33534 34 44 46 320 5 33535 35 48 48 330 5 33536 36 48 49 330 5 33538 38 48 52 480 5 DEEP IMPACT SOCKET 1/2”, 6 PT. 12.5 1/2” # SIZE L(MM) D2(MM) G PCS/BAG 3358508 8 78 15 125 5 3358509 9 78 16 125 5 3358510 10 78 17,5 138 5 3358511 11 78 17,5 152 5 3358512 12 78 19,8 160 5 3358513 13 78 20,8 148 5 3358514 14 78 22,2 158 5 3358515 15 78 23,8 168 5 3358516 16 78 23,8 160 5 3358517 17 78 25,2 176 5 3358518 18 78 27,8 214 5 3358519 19 78 27,8 210 5 3358520 20 78 30 266 5 3358521 21 78 29,5 238 5 3358522 22 78 31,8 266 5 3358523 23 78 33,8 312 5 3358524 24 78 33,8 384 5 3358525 25 78 36 338 5 3358526 26 78 38 364 5 3358527 27 78 37,8 346 5 3358528 28 78 40 414 5 3358529 29 78 40 400 5 3358530 30 78 42 422 5 3358532 32 78 43,8 436 5 3358533 33 78 46 440 5 3358534 34 78 46 480 5 3358535 35 78 48 520 5 3358536 36 78 49 500 5 3358538 38 78 52 600 5 IMPACT SOCKET 1/2”, 12 PT. DIN NO. 3121 12.5 1/2” # SIZE L(MM) D2(MM) G PCS/BAG 33917 17 38 25,8 92 5 33918 18 38 28 110 5 33919 19 38 28 102 5

Hand tools - Sockets

SONIC-EQUIPMENT.COM 200 04 DEEP IMPACT SOCKET 1/2”, 12 PT. DIN NR. 3121 12.5 1/2” # SIZE L(MM) D2(MM) G PCS/BAG 3397824 24 78 34 260 5 3397827 27 78 38 300 5 3397834 34 78 46 480 5 3397835 35 78 48 520 5 DEEP IMPACT SOCKET 1/2”, 12 PT. DIN NO. 3121 12.5 1/2” # SIZE L(MM) D2(MM) G PCS/BAG 3398530 30 85 42 402 5 3398532 32 85 44 420 5 3398534 34 85 46 452 2 3398535 35 85 48 492 2 3398536 36 85 50 508 2 IMPACT CARDAN SOCKET 1/2” DIN NO. 3121
1/2” # SIZE L(MM) D2(MM) G PCS/BAG 7150216 16 68 24,5 173 10 7150217 17 68 26 176 10 7150218 18 68 27 181 10 7150219 19 68 28 182 10 IMPACT SOCKET 1/2”, TX DIN NO. 3121 12.5 1/2” # SIZE L(MM) D2(MM) G PCS/BAG 3367810 E10 78 12,45 82 5 3367811 E11 78 13,06 84 5 3367812 E12 78 14,52 88 5 3367814 E14 78 16 94 5 3367816 E16 78 19,14 118 5 3367818 E18 78 22 130 5 3367820 E20 78 23 152 5 3367822 E22 78 25 174 5 3367824 E24 78 27 214 5
12.5
SONIC-EQUIPMENT.COM 201 04 IMPACT SOCKET 3/4”, 6 PT. DIN NO. 3121/3129 20 3/4” # SIZE L(MM) D2(MM) G PCS/BAG 34517 17 51 29 328 2 34518 18 51 30 320 2 34519 19 51 32 325 2 34520 20 51 33 330 2 34521 21 51 35 340 2 34522 22 51 36 345 2 34523 23 51 38 350 2 34524 24 51 39 350 2 34525 25 54 41 360 2 34526 26 54 41 360 2 34527 27 54 42 370 2 34528 28 54 44 386 2 34529 29 54 46 410 2 34530 30 54 46 410 2 34532 32 57 48 450 2 34533 33 57 50 480 2 34534 34 57 52 490 2 34535 35 57 52 490 2 34536 36 57 54 536 2 34538 38 57 56 540 2 34539 39 57 58 540 2 34540 40 57 58 560 2 34541 41 58 60 610 2 34542 42 58 62 630 2 34543 43 63 63 670 2 34544 44 63 64 670 2 34545 45 63 66 710 2 34546 46 63 66 710 2 34547 47 68 68 800 2 34548 48 68 68 800 2 34550 50 68 71 850 2 34552 52 68 74 900 2 34554 54 73 76 950 2 34555 55 73 77 1100 2 34557 57 73 80 1200 2 34558 58 73 81 1300 2 34559 59 73 84 1400 2 34560 60 75 84 1400 2 34563 63 75 86 1600 2 34565 65 78 88 1700 2 34570 70 84 96 1900 2 DEEP IMPACT SOCKET 3/4”, 6 PT. 20 3/4” # SIZE L(MM) D2(MM) G PCS/BAG 3459017 17 90 29 540 2 3459018 18 90 30 530 2 3459019 19 90 32 550 2 3459020 20 90 33 560 2 3459021 21 90 35 570 2 3459022 22 90 36 590 2 3459023 23 90 38 610 2 3459024 24 90 39 610 2 3459025 25 90 41 620 2 3459026 26 90 41 620 2 3459027 27 90 42 640 2 3459028 28 90 44 644 2 3459029 29 90 46 680 2 3459030 30 90 46 700 2 3459032 32 90 48 730 2 3459033 33 90 50 780 2 3459034 34 90 52 810 2 3459035 35 90 52 810 2 3459036 36 90 54 850 2 3459038 38 90 56 880 2 3459039 39 90 58 920 2 3459040 40 90 58 920 2 3459041 41 90 60 960 2 3459042 42 90 62 1050 2 3459043 43 90 63 1150 2 3459044 44 90 64 1150 2 3459045 45 90 66 1200 2 3459046 46 90 66 1200 2 3459047 47 90 68 1300 2 3459048 48 90 68 1300 2 3459050 50 90 71 1400 2 3459052 52 90 74 1600 2 3459054 54 90 76 1900 2 3459055 55 90 77 1940 2

Hand tools - Sockets

SONIC-EQUIPMENT.COM 202 04 IMPACT SOCKET 3/4”, 12 PT. DIN NO. 3121 20 3/4” # SIZE L(MM) D2(MM) G PCS/BAG 3499017 17 90 26 450 2 3499019 19 90 28 470 2 IMPACT SOCKET 3/4”, TX DIN NO. 3121 20 3/4” # SIZE L(MM) D2(MM) G PCS/BAG 3469018 E18 90 22 412 2 3469020 E20 90 24 426 2 3469024 E24 90 28 500 2 IMPACT SOCKET 1”, 6 PT. DIN NO. 3121/3129 25 1” # SIZE L(MM) D2(MM) G PCS/BAG 35524 24 58 42 574 2 35525 25 58 43 570 2 35526 26 58 44 570 2 35527 27 58 46 580 2 35528 28 58 46 580 2 35530 30 62 49 610 2 35532 32 62 52 660 2 35533 33 62 54 682 2 35534 34 62 54 710 2 35535 35 62 54 710 2 35536 36 65 56 720 2 35538 38 65 58 740 2 35540 40 65 60 750 2 35541 41 68 61 792 2 35542 42 68 64 850 2 35543 43 68 66 890 2 35544 44 68 67 930 2 35545 45 68 67 930 2 35546 46 72 68 1010 2 35548 48 72 70 1060 2 35550 50 75 74 1164 2 35551 51 75 74 1250 2 35552 52 75 75 1250 2 35553 53 80 76 1300 2 35554 54 80 78 1400 2 35555 55 83 80 1480 2 35557 57 83 82 1540 2 35558 58 83 84 1650 2 35559 59 87 85 1700 2 35560 60 87 86 1750 2 35563 63 87 90 1800 2 35565 65 90 92 1850 2 35566 66 90 93 1950 2 35568 68 93 95 2000 2 35570 70 93 97 2100 2 35571 71 95 101 2500 2 35575 75 95 104 2800 2 35580 80 95 112 2900 2 35585 85 100 115 3200 2 35590 90 105 124 3800 2 35595 95 105 130 5250 2
SONIC-EQUIPMENT.COM 203 04 DEEP IMPACT SOCKET 1”, 6 PT. DIN NO. 3121/3129 25 1” # SIZE L(MM) D2(MM) G PCS/BAG 3559024 24 90.0 42.0 868 2 3559025 25 90.0 43.0 850 2 3559026 26 90.0 44.0 870 2 3559027 27 90.0 46.0 890 2 3559028 28 90.0 47.0 890 2 3559030 30 90.0 49.0 930 2 3559032 32 90.0 52.0 960 2 3559033 33 90.0 54.0 1000 2 3559034 34 90.0 54.0 1000 2 3559035 35 90.0 54.0 1000 2 3559036 36 90.0 56.0 1050 2 3559038 38 95.0 58.0 1150 2 3559040 40 95.0 60.0 1200 2 3559041 41 95.0 61.0 1220 2 3559042 42 95.0 64.0 1250 2 3559043 43 95.0 66.0 1270 2 3559044 44 95.0 67.0 1300 2 3559045 45 95.0 67.0 1300 2 3559046 46 95.0 68.0 1350 2 3559048 48 100.0 70.0 1500 2 3559050 50 100.0 74.0 1600 2 3559051 51 100.0 75.0 1650 2 3559052 52 100.0 75.0 1650 2 3559053 53 100.0 76.0 1700 2 3559054 54 100.0 78.0 1750 2 3559055 55 105.0 80.0 1900 2 3559057 57 105.0 82.0 1950 2 3559058 58 105.0 84.0 2000 2 3559059 59 110.0 85.0 2050 2 3559060 60 110.0 87.0 2100 2 3559063 63 110.0 90.0 2200 2 3559065 65 115.0 92.0 2350 2 3559066 66 115.0 93.0 2450 2 3559068 68 120.0 95.0 2550 2 3559070 70 120.0 97.0 2650 2 3559071 71 135.0 101.0 3000 2 3559075 75 135.0 104.0 4000 2 3559076 76 135.0 106.0 4000 2 3559080 80 135.0 112.0 4500 2 3559085 85 140.0 115.0 5250 2 3559090 90 140.0 124.0 5750 2 3559095 95 140.0 130.0 6300 2 SPARK PLUG SOCKET 3/8” 6 PT. 10 3/8” # SIZE L(MM) D(MM) G PCS/BAG 7171216 16 65 22 94 10 7171218 18 65 26 130 10 7171221 21 65 28 136 10 SPARK PLUG SOCKET 3/8”, 7/8” DIN NO. 3120 10 3/8” # SIZE L(MM) D(MM) G PCS/BAG 7173222 7/8” 88 29 208 10
PLUG CLIP SOCKET 3/8” 10 3/8” # SIZE L(MM) D(MM) G PCS/BAG 7172214 14 63 18 58 10 7172216 16 64 22 100 10 7172218 18 64 26 158 10 7172221 21 64 28 158 10 SPARK PLUG SOCKET 3/8” 12 PT. DIN NO. 3120 10 3/8” # SIZE L(MM) D(MM) G PCS/BAG 7174214 14 90 19 104 10 7175214 14 250 19 262 10
SPARK

Hand tools - Sockets

807001-1 1

807001-2 1

807001-3

PCS CONTENTS

- 3 thin walled bi-hex impact sockets specifically designed for front hub nuts - Manufactured from Chrome Molybdenum (CR-MO)

SIZES PCS CONTENTS

Bit sockets 43mml 3 M14, M16, M18

Bit sockets 78mml 3 M14, M16, M18

SONIC-EQUIPMENT.COM 204 04 SPARK PLUG SOCKET 1/2” 6 PT. DIN NO. 3120 12.5 1/2” # SIZE L(MM) D(MM) G PCS/BAG 7171316 16 65 22 90 10 7171318 18 65 26 140 10 7171321 21 65 28 145 10 SPARK PLUG CLIP SOCKET 1/2” 6 PT. 12.5 1/2” # SIZE L(MM) D(MM) G PCS/BAG 7172316 16 68 22 95 10 7172318 18 68 26 155 10 7172321 21 68 28 160 10 301601 - MULTI FUNCTION SOCKET SET 1/2”, 16-PCS Sizes 8 - 24mm. The Sonic multi grip socket set is a new design. Now instead of 4 sockets, 1 Sonic multi grip socket will do the trick. The profile of the multi grip socket is capable of removing and tightening:metric, hex, TX, square, SAE # MULTI GRIP SOCKET HEX MM HEX INCH STAR SQUARE MM SQUARE INCH 12 PT. MM 12 PT. INCH 301601-1 8 8 5/16” E10 7 9/32” 8 5/16” 301601-2 9 9 11/32” - 8 5/16” 9 11/32” 301601-3 10 10 3/8” E12 9 11/32” 10 3/8” 301601-4 11 11 7/16” E14 10 3/8” 11 7/16” 301601-5 12 12 15/32” E16 - - 12 15/32” 301601-6 13 13 1/2” - 11 7/16” 13 1/2” 301601-7 14 14 9/16” E18 12 15/32” 14 9/16” 301601-8 15 15 19/32” - 13 1/2” 15 19/32” 301601-9 16 16 5/8” E20 14 9/16” 16 5/8” 301601-10 17 17 11/16” - 15 - 17 11/16” 301601-11 18 18 23/32” E22 - - 18 23/32” 301601-12 19 19 3/4” E24 16 5/8” 19 3/4” 301601-13 20 20 25/32” - 17 11/16” 20 25/32” 301601-14 21 21 13/16” - 18 23/32” 21 13/16” 301601-15 22 22 7/8” - 19 3/4” 22 7/8” 301601-16 24 24 15/16” - 21 13/16” 24 15/16”
807001 - HUB
NUT
IMPACT SOCKET SET 1/2”, 12-PT. 3-PCS - A set of three thin walled, bi-hex impact sockets specifically designed for front hub nuts - Manufactured from Chrome Molybdenum (CR-MO) # PCS CONTENTS
nut impact socket
Hub
1/2”, 12 pt. 30mm
nut
Hub
impact socket 1/2”, 12 pt. 32mm
1 Hub nut impact socket 1/2”, 12 pt. 36mm
300910 - IMPACT DEEP E SOCKET SET 1/2”, 9-PCS
#
3367810…24
9
Impact deep socket 1/2”, TX 78mml E10, E11, E12, E14, E16, E18, E20, E22, E24 300601 - IMPACT BIT SOCKET SET 1/2”, 6-PCS

- These sockets have a universal joint for easy replacement and removal of popular sized glow plugs

- Manufactured from matt finished chrome vanadium

- Supplied in blow mould case for storage

Impact-proof, fully encapsulated in plastic, extra thin walls, optimum force transmission, rims and bolts no longer become scratched, with groove and drill hole. Special length, specially suitable for drop centre rims. Any falsification of torque caused by putting extensions together is avoided.

- This thin-walled impact socket will last 7 times

- Specially for the wheel assembly and/or dismantling

- Internal square drive to DIN

- Long execution - For machinery usage

- Plastic sleeves for the damage-free work on

- Plastic sleeve protects the surface at the wheel screws/nuts

- Plastic sleeves interchangeable

- Color coded indentifies the socket size

- Phosphate finish

- Chrome Molybdenum (CR-MO)

- In plastic case

#

- This thin-walled impact socket will last 7 times longer than the conventional wheel sockets

- Specially for the wheel assembly and/or dismantling

- Internal square drive to DIN 3121 / ISO 1174

- Length 150mml

- For machinery usage

- Plastic sleeves for the damage-free work on aluminium rims

- Plastic sleeve protects the surface at the wheel screws/nuts

- Plastic sleeves interchangeable

- Color coded indentifies the socket size

- Phosphate finish

- Chrome Molybdenum (CR-MO)

- In plastic case

- TORQUE

ADAPTOR SET 1/2”, 3-PCS

- 3/8”, 1/2”, 3/4”

- Up to 100Nm

- Length 100mm(l)

- Set to loosen the lug nuts with full torque delivery of impact wrench

- Patented design for fastened the lug nuts quickly and accurately to reach presetting torque strength. The torque socket will run free automatically when set torque is reached

- Check the torque strength by torque wrench, according to the maintenance manual of different vehicles. To ensure the nuts fastened securely with correct torque strength

WARNING This product is designed for safety. Because the tightening torque is always lower than the safety value. (The preset torque will decrease gradually and finally stable at about 25~35 Nm.) Must use torque wrench for final tightening.

# DESCRIPTION

300304-1 Torque limited impact adaptor 3/8”

300304-2 Torque limited impact adaptor 1/2”

300304-3 Torque limited impact adaptor 3/4”

SONIC-EQUIPMENT.COM 205 04 7150310 - GLOW PLUG JOINT 3/8”, SOCKET, 10MM For glow plugs
are difficult to reach 10mm, 140mml 805001
GLOW PLUG SOCKET SET 3/8”, 3-PCS
(TDI + CDI) that
-
SIZE 8, 10, 12mm x 72mml 300310 - TORQUE IMPACT SOCKET SET 1/2”, 3-PCS
# PCS DESCRIPTION 3310517…21 3 Wheel socket 1/2” 150mml, 17, 19, 21mm 300302 - TORQUE IMPACT ADAPTOR SET 1/2", 3-PCS - Socket 17, 19, 21mm - Thin wall, plastic stop, length 105mml, maximum 200Nm # PCS DESCRIPTION 3310217…21 3 Wheel socket 1/2” 105mml, 17, 19, 21mm 300507 - POWER IMPACT SOCKET SET 1/2", 5-PCS Only use with torque wrenches # PCS DESCRIPTION 3310715…22 5 Impact wheel socket 1/2", 15, 17, 19, 21, 22
# PCS DESCRIPTION
300311 - WHEEL SOCKET SET
1/2”, 3-PCS
Wheel socket 1/2”, 6 pt. 17, 19, 21mm
3310717…21 3
longer than
conventional wheel sockets
the
/ ISO
3121
1174
aluminium
rims
6PT. WITH RING 150MML, 3-PCS
300312
- WHEEL SOCKET SET 1/2”
PCS DESCRIPTION
Wheel socket 1/2”, 6pt. 105mml, 17, 19, 21mm with ring
3310817…21 3
300304 IMPACT

Hand tools - Sockets

300303 - TORQUE IMPACT SOCKET SET 1/2”, 3-PCS

- Sockets 17, 19, 21mm

- Up to 100Nm - Length 100mm(l)

- Set to loosen the lug nuts with full torque delivery of impact wrench

- Patented design for fastened the lug nuts quickly and accurately to reach presetting torque strength. The torque socket will run free automatically when set torque is reached - Check the torque strength by torque wrench, according to the maintenance manual of different vehicles. To ensure the nuts fastened securely with correct torque strength

WARNING This product is designed for safety. Because the tightening torque is always lower than the safety value. (The preset torque will decrease gradually and finally stable at about 25~35 Nm.) Must use Torque Wrench for final tightening.

- Removes rounded/damaged nuts and bolts

- Manufactured from Chrome Molybdenum (CR-MO) for strength

300901-1…9

- Removes rounded/damaged nuts and bolts

801206-3

801206-4

801206-5 1 Bolt twister socket 3/8”, 8mm

801206-6

801305 - BOLT TWISTER SOCKET SET 1/2”, 5-PCS Extracts the jammed of fractured screw head caused by over-powered, bad quality or wearing-out

801305-1

801305-2

801305-3

801305-4

801305-5

twister socket 1/2”, 8mm

SONIC-EQUIPMENT.COM 206 04
300504 - SPIRAL SOCKET SET 1/2”, 5-PCS
# DESCRIPTION 300504-1 Spiral socket 1/2”, 17mm 300504-2 Spiral socket 1/2”, 19mm 300504-3 Spiral socket 1/2”, 21mm 300504-4 Spiral socket 1/2”, 23mm 300504-5 Spiral socket 1/2”, 27mm 300504-6 Bar 50mml 818026 - SPIRAL SOCKET SET 1/4”& 1/2”, 15-PCS
- Manufactured from Chrome Molybdenum (CR-MO) for strength # PCS DESCRIPTION 818026-1 1 Pin bar (small) 818026-2 1 Pin bar (large) 818026-6 1 Twist socket 1/4” 6mm 818026-8 1 Twist socket 1/4” 8mm 818026-10 1 Twist socket 1/4” 10mm 818026-11 1 Twist socket 1/4” 11mm 818026-12 1 Twist socket 1/4” 12mm 818026-13 1 Twist socket 1/2” 13mm 818026-14 1 Twist socket 1/2” 14mm 818026-15 1 Twist socket 1/2” 15mm 818026-17 1 Twist socket 1/2” 17mm 818026-19 1 Twist socket 1/2” 19mm 818026-21 1 Twist socket 1/2” 21mm
SPIRAL SOCKET SET 3/8”, 10-PCS -
nuts
-
# DESCRIPTION
300901 -
Removes rounded/damaged
and bolts
Manufactured from Chrome Molybdenum (CR-MO) for strength
Spiral socket 3/8”,
11, 12, 13,
17, 19mm
Bar 50mml
10,
14, 15, 16,
300901-10
SET 3/8”, 6-PCS Extracts the jammed of fractured screw head caused by over-powered, bad quality or wearing-out # PCS DESCRIPTION 801206-1 1 Bolt twister socket 3/8”, 2mm 801206-2 1 Bolt twister socket
801206 - BOLT TWISTER SOCKET
3/8”, 3mm
1 Bolt
socket
twister
3/8”, 4mm
1 Bolt twister socket 3/8”, 6mm
Bolt
1
twister socket 3/8”, 10mm
#
PCS DESCRIPTION
Bolt
1
1 Bolt twister socket 1/2”, 10mm
1 Bolt
twister socket 1/2”, 12mm
1 Bolt
twister socket 1/2”, 14mm
1 Bolt
twister socket 1/2”, 16mm
For
For
belt pulley.
is held
33
817006 - ALTERNATOR BIT SOCKET 1/2”, T50X110L
mounting freewheel belt pulley. The belt pulley is held by 33 teeth-insert. 817007 - ALTERNATOR BIT SOCKET, 1/2”, M10X110L
mounting freewheel
The belt pulley
by
teeth-insert.

WORK EFFICIENT WORK WITH SONIC

Hand tools - Screwdrivers

WORK

EFFICIENT, WORK WITH SONIC.

SONIC-EQUIPMENT.COM 208
04
SONIC-EQUIPMENT.COM 209 04 SCREWDRIVER, PH DIN NO. ISO 8764-1 + 8764-2 # SIZE L1(MM) L(MM) G PCS/BAG 1310 PH.0 60 152 20 10 1311 PH.1 80 183 62 10 1312 PH.2 100 215 94 10 1313 PH.3 150 274 156 10 SCREWDRIVER, STUBBY PH DIN NO. ISO 8764-1 + 8764-2 # SIZE L1(MM) L(MM) G PCS/BAG 1311S PH.1 38 104 44 10 1312S PH.2 38 104 48 10 HAMMER GO-THROUGH SCREWDRIVER, PH DIN NO. ISO 8764-1 + 8764-2 # SIZE L1(MM) L(MM) G PCS/BAG 15101 PH.1 75 179 84 5 15102 PH.2 100 215 138 5 SCREWDRIVER EXTRA LONG DIN NO. ISO 2380-1 + 2380-2 EXTRA LONG # SIZE L1(MM) L(MM) G PCS/BAG 1312502 PH.2 250 365 130 10 1314502 PH.2 450 565 218 5 VDE SCREWDRIVER, PH DIN NO. ISO 8764 + EN 60900 # SIZE L1(MM) L(MM) G PCS/BAG 1610 PH.0 60 133 20 5 1611 PH.1 80 184 62 5 1612 PH.2 100 215 94 5 SCREWDRIVER, PZ DIN NO. ISO 8764-1 + 8764-2 # SIZE L1(MM) L(MM) G PCS/BAG 1320 PZ.0 60 152 22 10 1321 PZ.1 80 183 64 10 1322 PZ.2 100 215 96 10 1323 PZ.3 150 274 158 5 SCREWDRIVER, STUBBY PZ DIN NO. ISO 8764-1 + 8764-2 # SIZE L1(MM) L(MM) G PCS/BAG 1321S PZ.1 38 104 42 10 1322S PZ.2 38 104 48 10 SCREWDRIVER, SLOTTED DIN NO. ISO 2380-1 + 2380-2 # SIZE L1(MM) L(MM) G PCS/BAG 13303 3 75 167 20 10 13335 3.5 100 192 24 10 13304 4 100 192 28 10 13355 5.5 125 228 72 10 13365 6.5 150 265 104 10 13308 8 175 299 164 10 13310 10 200 324 228 10 13312 12 200 324 238 10 SCREWDRIVER, STUBBY SLOTTED DIN NO. ISO 2380-1 + 2380-2 # SIZE L1(MM) L(MM) G PCS/BAG 133055S 5.5 38 104 44 10 133065S 6.5 38 104 48 10 HAMMER GO-THROUGH SCREWDRIVER, SLOTTED DIN NO. ISO 2380-1 + 2380-2 ART.NO. SIZE L1(MM) L(MM) G PCS/BAG 1530155 5.5 100 204 88 5 1530165 6.5 125 240 144 5 1530108 8 150 275 208 5 SCREWDRIVER EXTRA LONG DIN NO. ISO 2380-1 + 2380-2 EXTRA LONG # SIZE L1(MM) L(MM) G PCS/BAG 13325004 4 250 342 52 10 13325055 5.5 250 353 92 10 13325065 6.5 250 365 132 10 13345065 6.5 450 565 218 5 13360008 8 600 724 370 5

Hand tools - Screwdrivers

SONIC-EQUIPMENT.COM 210
04 DIN NO. ISO 2380 + EN 60900 # SIZE L1(MM) L(MM) G PCS/BAG 16325 2.5 75 148 20 5 16304 4 100 204 62 5 16355 5.5 125 229 78 5 16365 6.5 150 265 116 5 ELECTRONIC SCREWDRIVER # SIZE L1(MM) L(MM) G PCS/BAG 17320002 2 100 192 20 10 ELECTRIC MAIN TESTER 120-250V DIN NO. ISO 8764-1 + 8764-2 # L(MM) G PCS/BAG 47016 133 20 5 SCREWDRIVER, TX # SIZE L1 (MM) L (MM) N.W. (G) PCS/BAG 13605 T5 75 167 24 10 13606 T6 75 167 24 10 13607 T7 75 167 24 10 13608 T8 75 167 24 10 13609 T9 75 167 26 10 13610 T10 100 203 64 10 13615 T15 100 203 66 10 13620 T20 100 203 68 10 13625 T25 100 215 94 10 13627 T27 100 215 94 10 13630 T30 100 215 94 10 13640 T40 100 215 102 10 13645 T45 100 224 136 10 SCREWDRIVER LONG # SIZE L1(MM) L(MM) G PCS/BAG 1342503 3 250 342 46 10 1342504 4 250 353 94 10 1342505 5 250 365 132 10 1342506 6 250 365 156 10 SCREWDRIVER, TX # SIZE L1(MM) L(MM) G PCS/BAG 13625015 T15 250 353 94 10 13625020 T20 250 353 94 10 13625025 T25 250 365 132 10 13625027 T27 250 365 132 10 13625030 T30 250 365 132 10 13625040 T40 250 365 132 10 13625045 T45 250 365 184 10 SCREWDRIVER, TX TAMPERPROOF # SIZE L1 (MM) L (MM) N.W. (G) PCS/BAG 13708 T8H 75 167 24 10 13710 T10H 100 203 64 10 13715 T15H 100 203 66 10 13720 T20H 100 203 68 10 13725 T25H 100 215 94 10 13727 T27H 100 215 94 10 13730 T30H 100 215 94 10 13740 T40H 100 215 102 10 HEX NUT DRIVER # SIZE L1(MM) L(MM) G PCS/BAG 12425004 4 125 240 115 10 12425005 5 125 240 119 10 124250055 5.5 125 240 121 10 12425006 6 125 240 123 10 12425007 7 125 240 142 10 12425008 8 125 240 146 10 12425009 9 125 240 148 10 12425010 10 125 240 152 10 12425011 11 125 249 170 10 12425012 12 125 249 174 10 12425013 13 125 249 178 10 PRECISION SCREWDRIVER, SLOTTED, PH # SIZE L(MM) G PCS/BAG 47837 2 155 14 10 47838 3 155 16 10 47839 PH.0 x 60 155 16 10 47840 PH.00 x 60 155 14 10
SONIC-EQUIPMENT.COM 211 04 FLEXIBLE HEX NUT DRIVER # SIZE L1(MM) L(MM) G PCS/BAG 47536 6 150 274 151 10 47537 7 150 274 151 10 47538 8 150 274 151 10 FLEXIBLE SOCKET SCREWDRIVER # SIZE L(MM) G PCS/BAG 4753701 7 545 260 10 HEX NUT DRIVER T-HANDLE DIN NO. ISO 3125 # SIZE L1(MM) L(MM) G PCS/BAG 14423005 5 230 287 112 5 14423006 6 230 287 136 5 14423007 7 230 287 146 5 14423008 8 230 287 148 5 14423009 9 230 287 150 5 14423010 10 230 287 156 5 14423011 11 230 287 188 5 14423012 12 230 287 192 5 14423013 13 230 287 196 5 HEX BALL POINT GRIP KEY DIN NO. ISO 2936 # SIZE L1(MM) L(MM) G PCS/BAG 1950202 2 103 142 18 10 19502025 2.5 103 142 20 10 1950203 3 103 142 24 10 1950204 4 103 142 36 10 1950205 5 153 206 80 10 1950206 6 153 206 100 10 1950207 7 153 206 120 10 1950208 8 193 246 178 10 1950210 10 200 270 336 10 1950212 12 200 270 434 10 TX GRIP KEY # SIZE L1(MM) L(MM) G PCS/BAG 1960208 T8 103 142 26 10 1960210 T10 103 142 28 10 1960215 T15 103 142 28 10 1960220 T20 103 142 28 10 1960225 T25 153 206 80 10 1960227 T27 153 206 80 10 1960230 T30 153 206 80 10 1960240 T40 178 231 106 10 1960245 T45 200 270 188 10 1960250 T50 200 270 236 10 16 IN 1 RATCHET SCREWDRIVER # CONTENTS PCS 601001-1 Ratchet grip 1 601001-2 Bit holder 1 601001-3 Bit PH.1 + PH.2 1 601001-4 Bit PZ.1 + PZ.2 1 601001-5 Bit slotted 3.5mm + 5mm 1 601001-6 Bit 1/4” driver 1 601001-7 Bit T10 + T15 1 601001-8 Bit T20 + T25 1 601001-9 Bit T27 + T30 1 601001-10 Bit hex 3mm + 4mm 1 601001 16 in 1 ratchet screwdriver 1

Hand tools - Screwdrivers

602303-1...5

SONIC-EQUIPMENT.COM 212
04 602006 - SCREWDRIVER SET IN COLORED BOX, 20-PCS # PCS CONTENTS 1311…3 3 Screwdriver PH, PH.1, PH.2, PH.3 1312S 1 Screwdriver stubby PH, PH.2 1321…3 3 Screwdriver PZ, PZ.1, PZ.2, PZ.3 1322S 1 Screwdriver stubby PZ, PZ.2 13303…8 5 Screwdriver slotted, 3, 4, 5.5, 6.5, 8mm 133065S 1 Screwdriver stubby slotted, 6.5mm 13610…30 6 Screwdriver TX, T10, T15, T20, T25, T27, T30 600514 - GO-THROUGH SCREWDRIVER SET IN COLORED BOX, 5-PCS
PCS CONTENTS 15101...2 2 Hammer go-through screwdriver PH, PH.1 , PH.2 1530155...08 3 Hammer go-through screwdriver slotted, 5.5, 6,5, 8mm 600512 - SCREWDRIVER SET IN COLORED BOX, 5-PCS # PCS CONTENTS 1311…2 2 Screwdriver PH, PH.1, PH.2 13304…65 3 Screwdriver slotted, 4, 5.5, 6.5mm 600618 - SCREWDRIVER SET IN COLORED BOX, 6-PCS # PCS CONTENTS 1311…12 2 Screwdriver PH, PH.1, PH.2 13303…65 4 Screwdriver slotted, 3, 4, 5.5, 6.5mm 600619 - SCREWDRIVER SET TX IN COLORED BOX, 6-PCS # PCS CONTENTS 13610…30 6 Screwdriver TX, T10, T15, T20, T25, T27, T30
#
SET TX-H IN COLORED
# PCS CONTENTS 13710…30 6 Screwdriver TX tamperproof, T10H, T15H, T20H, T25H, T27H, T30H
- PRECISION SCREWDRIVER SET, 23-PCS # PCS CONTENTS
600620 - SCREWDRIVER
BOX, 6-PCS
602303
5 Screwdriver PH, PH.0000, PH.000, PH.00, PH.0, PH.1
2 Screwdriver PZ, PZ.0, PZ.1
5 Screwdriver slotted, 1.5, 2, 2.5, 3, 3.5mm
4 Screwdriver hex, 1.5, 2, 2.5, 3mm
7 Screwdriver TX, T5, T6, T7, T8, T9, T10, T15
602303-6...7
602303-8...12
602303-13...16
602303-17...23

WORK EFFICIENT WORK WITH SONIC

Hand tools - Pliers

WORK

EFFICIENT, WORK WITH SONIC.

SONIC-EQUIPMENT.COM 214
04
SONIC-EQUIPMENT.COM 215 04 COMBINATION PLIERS 6” # L(MM) G PCS/BAG 4311165 165 180 6 COMBINATION PLIERS 7” # L(MM) G PCS/BAG 4311175 190 248 10 ERGONOMIC POWER-COMBINATION PLIERS 8” # L(MM) G PCS/BAG 4312200 180 268 10 VDE COMBINATION PLIERS # L(MM) G PCS/BAG 4312180 185 260 10 FLAT LONG NOSE PLIERS 6” # L(MM) G PCS/BAG 4321160 170 152 6 FLAT LONG NOSE PLIERS 6” # L(MM) G PCS/BAG 4322160 170 160 6 LONG NOSE PLIERS 6” # L(MM) G PCS/BAG 4321170 170 150 6 LONG NOSE PLIERS 8” # L(MM) G PCS/BAG 4321200 200 198 10 VDE LONG NOSE PLIERS 8” # L(MM) G PCS/BAG 4322200 205 220 10 BENT LONG NOSE PLIERS 8” # L(MM) G PCS/BAG 4331200 195 198 10 DIAGONAL PLIERS 5” # L(MM) G PCS/BAG 4341145 155 158 6 DIAGONAL PLIERS 7” # L(MM) G PCS/BAG 4341175 170 200 10 DIAGONAL PLIERS 7” # L(MM) G PCS/BAG 4341180 190 236 6 UNIVERSAL DIAGONAL PLIERS # L(MM) G PCS/BAG 4341190 195 250 6

Hand tools - Pliers

SONIC-EQUIPMENT.COM 216
04 LEVERAGE DIAGONAL PLIERS 8” # L(MM) G PCS/BAG 4342200 210 308 10 LEVERAGE DIAGONAL PLIERS 9” # L(MM) G PCS/BAG 4342240 250 410 10 HEAVY DUTY DIAGONAL PLIERS 8” # L(MM) G PCS/BAG 4343200 210 290 6 VDE DIAGONAL PLIERS 6” # L(MM) G PCS/BAG 4342160 165 210 10 VDE STRIPPING PLIERS # L(MM) G PCS/BAG 4472160 160 185 10 WIRE STRIPPER 8” # L(MM) G PCS/BAG 4471250 215 186 10 600322 - PLIERS SET 3-PCS AUTOMATIC WIRE STRIPPER 0.5 - 4MM # L(MM) G PCS/BAG 4471180 180 130 10 WATERPUMP PLIERS # L(MM) G PCS/BAG 4351180 180 145 10 4351250 250 322 10 4351300 300 580 10 WATERPUMP PLIERS MX # L(MM) G PCS/BAG 4352180 280 200 10 4352250 250 340 10 4352300 300 543 10 4352400 400 1065 10 TOWER PINCERS # L(MM) G PCS/BAG 44601280 280 436 1 WIRE STRIPPER 0.2-6.0MM - Stripping and cutting of cables and wires with Ø0,05-6mm², adjustable by setting wheel - Crimping of 0,2-6mm² isolated cable shoes - Crimping of 0,2-6mm² uninsulated cable shoes - Crimping of 7-8mm² ignition cable contacts - With one operation each position of the cable can be stripped # L(MM) G PCS/BAG 813003 280 316 1 600440 - PLIERS SET 4-PCS
SONIC-EQUIPMENT.COM 217 04 SNAP RING PLIERS (STRAIGHT OPEN) Ø 19-60MM # L(MM) G PCS/BAG 43611 178 150 10 SNAP RING PLIERS (STRAIGHT CLOSE) Ø 19-60MM # L(MM) G PCS/BAG 43612 178 150 10 SNAP RING PLIERS (BENT OPEN) Ø 19-60MM # L(MM) G PCS/BAG 43613 167 150 10 SNAP RING PLIERS (BENT CLOSE) Ø 19-60MM # L(MM) G PCS/BAG 43614 167 150 10 LOCK RING PLIERS # L(MM) G PCS/BAG 830001 220 190 1 FLAT NOSE PLIERS ESD # L(MM) G PCS/BAG 4324115 115 70 1 CHAIN NOSE PLIERS ESD # L(MM) G PCS/BAG 4325115 115 70 1 SIDE CUTTER ESD # L(MM) G PCS/BAG 4344115 115 80 1 4345115 115 70 1 # L(MM) G PCS/BAG 4323275 284 295 5 LONG NOSE PLIERS 10” 90° BENT # L(MM) G PCS/BAG 4333270 257 290 5 # L(MM) G PCS/BAG 4333275 275 287 5 CIRCLE NOSE PLIERS 11” # L(MM) G PCS/BAG 4393001 291 313 5 4393002 291 321 5 4393003 295 317 5 SCISSOR JOINTED PLIERS, EXTA LONG # L(MM) G PCS/BAG 4476006 340 396 10 SCISSOR JOINTED PLIERS, EXTRA LONG 45° BENT # L(MM) G PCS/BAG 4476007 336 396 10 GLOW PLUG PLIERS BENT # L(MM) G PCS/BAG 4476004 240 240 10 SPARK PLUG PLIERS # L(MM) G PCS/BAG 4476005 290 302 10 SNAP RING PLIERS (STRAIGHT OPEN) Ø 40-100MM # L(MM) G PCS/BAG 4393005 220 238 10 SNAP RING PLIERS (STRAIGHT CLOSE) Ø 40-100MM # L(MM) G PCS/BAG 4393004 220 232 10 SNAP RING PLIERS (BENT OPEN) Ø 40-100MM # L(MM) G PCS/BAG 4393007 200 242 10 SNAP RING PLIERS (BENT CLOSE) Ø 40-100MM # L(MM) G PCS/BAG 4393006 200 236 10

Hand tools - Pliers

SONIC-EQUIPMENT.COM 218
04 SPARK PLUG CONNECTOR PLIERS # L(MM) G PCS/BAG 4476002 290 267 10 SPARK PLUG CONNECTOR PLIERS (RING) # L(MM) G PCS/BAG 4476001 290 240 10 # L(MM) G PCS/BAG 4380250 230 570 10 # L(MM) G PCS/BAG 4381150 170 190 5 4381225 220 376 5 CURVED JAW LOCKING PLIERS # L(MM) G PCS/BAG 4382125 145 178 5 4382175 190 345 5 4382250 225 552 5 # L(MM) G PCS/BAG 4383175 190 376 5 4383250 230 578 5 # L(MM) G PCS/BAG 4384250 230 572 10 PAD LOCKING C CLAMP PLIERS # L(MM) G PCS/BAG 4385150 175 274 5 4385275 285 798 5 DOT LOCKING C CLAMP # L(MM) G PCS/BAG 4386150 170 232 5 4386275 275 802 5 LOCKING PLIERS # L(MM) G PCS/BAG 4387250 245 708 5 WELDER’S GRIP PLIERS # L(MM) G PCS/BAG 4388275 270 864 5 LOCKING PLIERS FOR BRAKE AND AIR PLUG # L(MM) G PCS/BAG 4391175 200 366 5
SONIC-EQUIPMENT.COM 219 04 HOSE CLAMP PLIERS # L(MM) G PCS/BAG 4473001 215 208 1 FLAT BAND HOSE CLAMP PLIERS # L(MM) G PCS/BAG 4473002 215 208 1 ANGLED FLAT BAND HOSE CLAMP PLIERS
L(MM) G PCS/BAG 4473004 215 186 1 HOSE CLIP PLIER # L(MM) G PCS/BAG 4473003 175 228 1 HOSE CLAMP PLIER (ANGLE TYPE) # L(MM) G PCS/BAG 4473005 180 244 1 WHEEL WEIGHT BALANCE PLIERS # L(MM) G PCS/BAG 4474001 240 394 1 WHEEL WEIGHT BALANCE PLIERS To remove adhesive weights for alloy wheels. Through its unique design in the basin, the removal of all kinds of adhesive weight can be done very easily and without damage to alloy rims. # L(MM) G PCS/BAG 4474002 230 536 1 RIVETING PLIERS # L(MM) G PCS/BAG 4410265 260 480 24 OIL FILTER PLIERS # L(MM) G PCS/BAG 4450250 260 396 5 4450300 305 466 5 PIPE WRENCH 90° # L(MM) G PCS/BAG 47034340 310 785 1 47034550 560 376 1 47034680 650 3450 1 PLASTIC PIPE CUTTER # L(MM) G PCS/BAG 47033 210 785 1 SAFETY WIRE PLIER # L(MM) G PCS/BAG 4477150 213 390 5 4477151 345 390 5
#

Hand tools - Punches and chisels

WORK EFFICIENT, WORK WITH SONIC.

SONIC-EQUIPMENT.COM 220
04
SONIC-EQUIPMENT.COM 221 04 GRIP CHISEL # L(MM) G PCS/BAG 45110141 140 60 10 45112160 160 96 10 45116170 170 116 10 45118190 190 196 10 45124220 220 350 10 GRIP CAPE CHISEL # L(MM) G PCS/BAG 10 # L(MM) G PCS/BAG 4831101 240 370 1 GRIP PIN PUNCH # L(MM) G PCS/BAG 4532140 140 50 10 4533150 150 54 10 4534180 180 88 10 4535200 200 102 10 4536210 210 182 10 4538220 220 176 10 45310230 250 230 10 45312250 290 250 10 45314290 310 290 10 45316310 220 310 10 GRIP TAPER PUNCH # L(MM) G PCS/BAG 4552185 185 98 10 4553185 185 100 10 4554185 185 102 10 GRIP CENTER PUNCH # L(MM) G PCS/BAG 4564185 185 102 10 AUTO CENTER PUNCH # L(MM) W(MM) G PCS/BAG 45602 155 37 134 10 600624 - PIN PUNCH SET 6-PCS ART. NR. PCS DESCRIPTION 4532115…8180 6 Pin punch 115mml 2, 125mml 3, 150mml 4, 165mml 5, 180mml 6, 180mml 8

Hand tools - Hammers, cutting tools and files

WORK EFFICIENT, WORK WITH SONIC.

SONIC-EQUIPMENT.COM 222
Made in Italy 04
SONIC-EQUIPMENT.COM 223 04 MACHINIST HAMMER WITH ASH HANDLE # L(MM) G PCS/BAG 4611200 287 262 5 4611300 300 380 5 4611400 311 512 5 4640500 347 630 5 4640600 360 760 5 4640800 383 994 5 4621000 366 1166 5 4641500 422 1672 5 4642000 447 2170 5 STONING HAMMER WITH ASH HANDLE # L(MM) G PCS/BAG 4631000 278 1106 5 INSTALL HAMMER SOFT/HARD, WITH ASH HANDLE # L(MM) G PCS/BAG 4822102 97 366 5 4620400 290 608 5 ANTI REBOUND HAMMER, WITH ASH HANDLE # L(MM) G PCS/BAG 4652035 330 610 5 4652060 355 1340 5 ROUND HEAD HAMMER WITH ASH HANDLE # L(MM) G PCS/BAG 4822503 320 454 1 HACKSAW # L(MM) G PCS/BAG 46601 415 962 5 SPARE BLADES 3-PCS FOR MINI HACKSAW 46602 # L(MM) G PCS/BAG 46603 153 8 3 MINI HACKSAW # L(MM) G PCS/BAG 46602 270 218 10 SHEARS # TYPE L(MM) G PCS/BAG 46702 left 185 210 5 46703 right 185 210 5 SHEARS # L(MM) G PCS/BAG 46701 262 484 5 COMBISCISSOR # L(MM) G PCS/BAG 46704 190 235 1

Hand tools - Hammers, cutting tools and files

SONIC-EQUIPMENT.COM 224 04
UTILITY KNIFE # L(MM) G PCS/BAG 46808 262 484 10 46808-1 (spare blades) 119 76 100 UTILITY KNIFE # L(MM) G PCS/BAG 46807 164 184 10 46807-1 (spare blades) 68 48 100 UNIVERSAL KNIFE Also available in display with 8-pcs # L(MM) G PCS/BAG 46804 155 144 8 FLAT FILE 8” # L1(MM) L2(MM) L(MM) G PCS/BAG 46911 205 115 320 190 10 HALF ROUND FILE 8” # L1(MM) L2(MM) L(MM) G PCS/BAG 46912 205 115 320 206 10 ROUND FILE 8” # L1(MM) L2(MM) L(MM) G PCS/BAG 46913 205 115 320 138 10 TRIANGULAR FILE 8” # L1(MM) L2(MM) L(MM) G PCS/BAG 46914 205 115 320 188 10 TRIANGULAR FILE FOR BRAKES 8” # L1(MM) L2(MM) L(MM) G PCS/BAG 46905 155 115 270 170 10 TRIANGULAR HOLLOW SHAPE SCRAPER # L(MM) G PCS/BAG 47824 275 122 10 BASTARD HALF ROUND FILE 6” # L(MM) G PCS/BAG 46922 255 100 10
BRUSH • Maximum width steel brush 8,5mm • Maximum width plastic holder 12,5mm • Length brush 90mm • Also available in display with 12-pcs # L(MM) G PCS/BAG 4811254 225 65 10
STEEL
BRUSH Applicable on all aluminium brake callipers to remove brake dust Also suitable for cleaning work on all metallic surfaces # L(MM) G PCS/BAG 4811260 235 58 10
BRASS

WORK EFFICIENT WORK WITH SONIC

Hand tools - Hammers, cutting tools and files

SONIC-EQUIPMENT.COM 226 04 DOOR UPHOLSTERY PANEL REMOVER SMALL # L1(MM) L2(MM) L(MM) G PCS/BAG 47901 100 115 215 106 10 DOOR UPHOLSTERY PANEL REMOVER # L1(MM) L2(MM) L(MM) G PCS/BAG 47902 110 124 234 169 10 SCRAPER # L1(MM) L2(MM) L(MM) G PCS/BAG 47903 125 124 249 155 10 PLASTIC SCRAPER # L1(MM) L2(MM) L(MM) G PCS/BAG 82 1 # L1(MM) L2(MM) L(MM) G PCS/BAG 47825 190 30 12.5 28 1 STICKER SCRAPER # L1(MM) L2(MM) L(MM) G PCS/BAG 47818 280 30 30 152 10 SEAL SCRAPER # L1(MM) L2(MM) L(MM) G PCS/BAG 47819 280 75 30 156 10 ANGLE SCRAPER # L1(MM) L2(MM) L(MM) G PCS/BAG 47820 265 30 30 158 10 COTTER PIN PULLER # L1(MM) L2(MM) L(MM) G PCS/BAG 47904 125 115 240 116 10 RADIATOR HOSE REMOVER # L1(MM) L2(MM) L(MM) G PCS/BAG 47905 80 115 195 106 10 TRIM PAD TOOL # L1(MM) L2(MM) L(MM) G PCS/BAG 47906 115 115 230 110 10 TRIM PAD TOOL # L1(MM) L2(MM) L(MM) G PCS/BAG 47907 115 124 239 134 10 DOOR UPHOLSTERY PANEL REMOVER # L1(MM) L2(MM) L(MM) G PCS/BAG 47908 132 124 256 183 10 STRAIGHT PICK HOOK # L1(MM) L2(MM) L(MM) G PCS/BAG 47909 135 115 250 108 10
SONIC-EQUIPMENT.COM 227 04 DEGREE HOOK # L1(MM) L2(MM) L(MM) G PCS/BAG 47910 135 115 250 112 10 FULL HOOK # L1(MM) L2(MM) L(MM) G PCS/BAG 47911 135 115 250 112 10 FULL HOOK # L1(MM) L2(MM) L(MM) G PCS/BAG 47912 135 115 250 110 10 MINI STRAIGHT PICK HOOK # L1(MM) L2(MM) L(MM) G PCS/BAG 47829 70 92 162 30 10 MINI DEGREE HOOK # L1(MM) L2(MM) L(MM) G PCS/BAG 47830 70 92 162 30 10 MINI FULL HOOK # L1(MM) L2(MM) L(MM) G PCS/BAG 47831 70 92 162 30 10 MINI SMALL ANGLE HOOK # L1(MM) L2(MM) L(MM) G PCS/BAG 47832 70 92 162 30 10 HOOK FOR EXHAUST RUBBER RINGS # L(MM) G PCS/BAG 47814 235 100 48 600439 - MINI HOOK SET, 4-PCS # PCS DESCRIPTION 47829 1 Mini straight pick hook 47830 1 Mini degree hook 47831 1 Mini full hook 47832 1 Mini small angle hook 600437 - HOOK SET, 4-PCS # PCS DESCRIPTION 47909 1 Straight pick hook 47910 1 Degree hook 47911 1 Full hook 47912 1 Small angle hook

Hand tools - Hammers, cutting tools and files

SONIC-EQUIPMENT.COM 228 04 MAGNET PICKUP # L1(MM) L3(MM) L2(MM) L(MM) G PCS/BAG 4820201 90 465 70 160-535 35 10 MAGNET PICKUP (4,5KG)
L1(MM) L3(MM) L2(MM) L(MM) G PCS/BAG 4820110 75 650 120 195-770 58 5 Also available in display with 16 pcs # L1(MM) L3(MM) L2(MM) L(MM) G PCS/BAG 4820106 30 490 130 160-620 60 16 FLEXIBLE MAGNET PICKUP 500GR # L1(MM) L2(MM) L(MM) G PCS/BAG 4820207 300 115 415 120 5 TELESCOPIC MIRROR 30-74CM # L(MM) G PCS/BAG 4820111 318-618 76 10 PRY BAR # L1(MM) L2(MM) L(MM) G PCS/BAG 4821308 90 115 205 108 5 4821312 180 125 305 254 5 4821318 330 125 455 456 5 4821324 435 125 560 596 5 # L1(MM) L2(MM) L(MM) G PCS/BAG 48203210 88 121 209 146 10 BENT FORKED PRY BAR 12” # L1(MM) L2(MM) L(MM) G PCS/BAG 48203300 192 121 313 284 10 ELBOW BENT PRY BAR 18” # L1(MM) L2(MM) L(MM) G PCS/BAG 48203460 325 144 469 538 5 EXTENDED PRY BAR 24” # L1(MM) L2(MM) L(MM) G PCS/BAG 48203610 466 144 610 682 5
#
SONIC-EQUIPMENT.COM 229 WORK
EFFICIENT WORK WITH SONIC

Hand tools - Hex and TX keys

WORK EFFICIENT, WORK WITH SONIC.

SONIC-EQUIPMENT.COM 230
04

7

SONIC-EQUIPMENT.COM 231 04 600713 - FOLDABLE HEX KEY SET, 7-PCS PCS DESCRIPTION 7 2.5, 3, 4, 5, 6, 8, 10mm 600712 - FOLDABLE HEX KEY SET, 7-PCS (AVAILABLE IN 16-PCS DISPLAY) PCS DESCRIPTION
2, 2.5, 3, 4, 5, 6, 8mm 600716 - FOLDABLE HEX KEY SET, 7-PCS (AVAILABLE IN 16-PCS DISPLAY) PCS DESCRIPTION 7 2.5, 3, 4, 5, 6, 8, 10mm 600927 - FOLDABLE HEX KEY SET SAE, 9-PCS (AVAILABLE IN 16-PCS DISPLAY) PCS DESCRIPTION
1/16’’, 5/64’’, 3/32’’, 7/64’’, 1/8’’, 5/32’’, 3/16’’, 7/32’’, 1/4’’
- HEX KEY SET EXTRA LONG, 10-PCS # PCS DESCRIPTION 184030127…10 10 Hex extra long key 1.27, 1.5, 2, 2.5, 3, 4, 5, 6, 8, 10mm
9
601007
PCS DESCRIPTION 10 2, 2.5, 3, 4, 5, 6, 8, 10mm 600621 - HEX KEY SET 600MML, 6-PCS EXTRA LONG , 600MML PCS DESCRIPTION 6 4, 5, 6, 7, 8, 10mm
600831 - LONG HEX KEY WRENCH SET, 8-PCS

Hand tools - Hex and TX keys

SONIC-EQUIPMENT.COM 232
04 600912 - HEX BALL STUBBY KEY SET, 9-PCS PCS DESCRIPTION 9 1.5, 2, 2.5, 3, 4, 5, 6, 8, 10mm 601006 - HEX BALL KEY SET, 10-PCS # PCS DESCRIPTION 185020127…10 10 Hex ball long key 1.27, 1.5, 2, 2.5, 3, 4, 5, 6, 8, 10mm 601008 - HEX BALL KEY SET EXTRA LONG 10-PCS # PCS DESCRIPTION 185030127...10 10 Hex extra long key 1.27, 1.5, 2, 2.5, 3, 4, 5, 6, 8, 10mm 601003 - HEX KEY SET EXTRA LONG (SAE), 10-PCS # PCS DESCRIPTION 1850601...10 10 1/16”, 5/64”, 3/32”, 1/8”, 5/32”, 3/16”, 7/32”, 1/4”, 5/16”, 3/8” 600931 - BALL KEY WRENCH SET EXTRA LONG, MAGNETIC, 9-PCS PCS DESCRIPTION 9 1.5, 2, 2.5, 3, 4, 5, 6, 8, 10mm 601305 - BALL ENDED HEX KEY SET WITH MAGNET, 13-PCS PCS DESCRIPTION 13 2, 2.5, 3, 4, 5, 6, 7, 8, 10, 12, 14, 17, 19mm 601306 - BALL ENDED HEX KEY SET SAE WITH MAGNET, 13-PCS PCS DESCRIPTION 13 5/64, 3/32, 1/8, 5/32, 3/16, 7/32, 1/4, 5/16, 3/8, 1/2, 9/16, 5/8, 3/4” 600830 - FOLDABLE TX KEY SET, 8-PCS (AVAILABLE IN 16-PCS DISPLAY) PCS DESCRIPTION 8 T8, T10, T15, T20, T25, T27, T30, T40 600813 - FOLDABLE TX KEY SET, 8-PCS PCS DESCRIPTION 8 T8, T10, T15, T20, T25, T27, T30, T40
SONIC-EQUIPMENT.COM 233 04 600924 - COLORED STUBBY TX-H KEY SET, 9-PCS PCS DESCRIPTION 9 T10H, T15H, T20H, T25H, T27H, T30H, T40H, T45H, T50H
SET EXTRA
# PCS DESCRIPTION 1860310…50 9 T10, T15, T20, T25, T27, T30, T40, T45, T50 601307 - TX KEY SET WITH MAGNET, 13-PCS PCS DESCRIPTION 13 T10, T15, T20, T25, T27, T30, T40, T45, T50, T55, T60, T70, T80 600909 - TX BALL EXTRA LONG KEY SET, 9-PCS
PCS DESCRIPTION 1861310...350 9 T10, T15, T20, T25, T27, T30, T40, T45, T50
600902 - TX KEY
LONG, 9-PCS
#
EXTRA LONG, 600MML PCS DESCRIPTION 6 T20, T25, T30, T40, T45, T50
600622 - TX KEY SET 600MML, 6-PCS

Hand tools - Hex and TX keys

SONIC-EQUIPMENT.COM 234
04 BALL ENDED HEX KEY WRENCH # SIZE L(MM) l(MM) G PCS/BAG 185020127 1,27 63 13 2 10 18502015 1,5 63 16 2 10 1850202 2 75 18 2 10 18502025 2,5 88 21 4 10 1850203 3 92 22 6 10 1850204 4 103 29 14 10 1850205 5 118 32 24 10 1850206 6 140 38 40 10 1850208 8 158 44 82 10 1850210 10 180 50 142 10 HEX KEY WRENCH, EXTRA LONG # SIZE L(MM) l(MM) G PCS/BAG 184030127 1,27 81 13 2 10 18403015 1,5 92 16 2 10 1840302 2 102 18 2 10 18403025 2,5 115 21 6 10 1840303 3 129 22 8 10 1840304 4 144 29 18 10 1840305 5 165 32 32 10 1840306 6 185 38 50 10 1840307 7 195 41 56 10 1840308 8 208 44 102 10 1840310 10 232 50 176 10 BALL ENDED HEX KEY WRENCH, EXTRA LONG # SIZE L(MM) l(MM) G PCS/BAG 185030127 1,27 81 13 2 10 18503015 1,5 92 16 2 10 1850302 2 102 18 4 10 18503025 2,5 115 21 6 10 1850303 3 129 22 8 10 1850304 4 144 29 18 10 1850305 5 165 32 30 10 1850306 6 185 38 50 10 1850308 8 208 44 98 10 1850310 10 232 50 176 10 BALL ENDED HEX KEY WRENCH, EXTRA LONG (SAE) # SIZE L(MM) l(MM) G PCS/BAG 1850601 1/16” 81 13 2 10 1850602 5/64” 92 16 2 10 1850603 3/32” 102 18 4 10 1850604 1/8” 115 21 6 10 1850605 5/32” 129 22 8 10 1850606 3/16” 144 29 18 10 1850607 7/32” 165 32 30 10 1850608 1/4” 185 38 50 10 1850609 5/16” 208 44 98 10 1850610 3/8” 232 50 176 10
SONIC-EQUIPMENT.COM 235 04 TX KEY WRENCH, EXTRA LONG KEY # SIZE L(MM) l(MM) G PCS/BAG 1860310 T10 92 16 6 10 1860315 T15 102 18 8 10 1860320 T20 115 21 12 10 1860325 T25 129 22 18 10 1860327 T27 144 29 26 10 1860330 T30 165 32 40 10 1860340 T40 186 38 62 10 1860345 T45 208 44 90 10 1860350 T50 232 50 128 10 BALL ENDED TX KEY WRENCH TX, EXTRA LONG # SIZE L(MM) l(MM) G PCS/BAG 1861310 T10 92 16 4 10 1861315 T15 102 18 8 10 1861320 T20 115 21 12 10 1861325 T25 129 22 18 10 1861327 T27 144 29 24 10 1861330 T30 165 32 38 10 1861340 T40 185 38 60 10 1861345 T45 208 44 88 10 1861350 T50 232 50 124 10 TX KEY WRENCH, EXTRA LONG # SIZE L(MM) l(MM) G PCS/BAG 1860106 T6 45 20 2 10 1860107 T7 50 20 4 10 1860108 T8 51 20 4 10 1860109 T9 53 18 4 10 601908 - TWIN TYPE LONG BALL POINT HEX KEY & TX-H KEY WRENCH SET, 18-PCS PCS DESCRIPTION 9 1.5, 2, 2.5, 3, 4, 5, 6, 8, 10mm 9 T10, T15, T20, T25, T27, T30, T40, T45, T50

Hand tools - Hex and TX keys

SONIC-EQUIPMENT.COM 236
04 HEXAGON KEY WRENCH 3 TIP T-HANDLE # SIZE L(MM) l(MM) G PCS/BAG 4840102 2 125 65 36 10 48401025 2.5 125 65 36 10 4840103 3 125 65 36 10 4840104 4 180 90 72 10 48401045 4.5 180 90 72 10 4840105 5 180 90 74 10 4840106 6 210 105 142 10 4840107 7 250 125 216 10 4840108 8 250 125 218 10 4840110 10 298 145 396 10 TX KEY T-HANDLE 3 TIP # SIZE L(MM) l(MM) G PCS/BAG 4840210 T10 125 65 36 10 4840215 T15 125 65 36 10 4840220 T20 125 65 36 10 4840225 T25 180 90 72 10 4840227 T27 180 90 72 10 4840230 T30 180 90 74 10 4840240 T40 210 105 142 10 4840245 T45 250 125 216 10 4840250 T50 250 125 218 10 4840255 T55 298 145 396 10 601014 - HEX KEY WRENCH SET 3 TIP T-HANDLE, 10-PCS # DESCRIPTION 4840102...10 2, 2.5, 3, 4, 4.5, 5, 6, 7, 8, 10mm 601015 - TX KEY SET T-HANDLE 3 TIP, 10-PCS # DESCRIPTION 4840210...55 T10, T15, T20, T25, T27, T30, T40, T45, T50, T55

WORK EFFICIENT WORK WITH SONIC

Hand tools - Torque wrenches

WORK EFFICIENT, WORK WITH SONIC.

SONIC-EQUIPMENT.COM 238
04

The new generation of Sonic torque wrenches.

The Sonic NEXT torque wrench delivers exceptional power and precision. The NEXT torque wrenches are available in a one-way, right-handed calibrated version and in a version with calibration of both directions of rotation.

NEXT TORQUE WRENCH

SONIC-EQUIPMENT.COM 239 04 Hand tools - Torque wrenches LIGHT WEIGHT
ONE-WAY RIGHT-HANDED ROTATION CALIBRATION - ISO 6789-1:2017 # SIZE NM D(MM) T(MM) L(MM) G 733105251 - ISO 6789-1:2017 1/4” 5-25 22,5 20 254 345 733210501 - ISO 6789-1:2017 3/8” 10-50 31 26,5 416 1145 7332201001 - ISO 6789-1:2017 3/8” 20-100 31 26,5 413 1145 7333201001 - ISO 6789-1:2017 1/2” 20-100 31 31 413 1150 7333402001 - ISO 6789-1:2017 1/2” 40-200 41 36,5 524 1535 7333603401 - ISO 6789-1:2017 1/2” 60-340 41 36,5 615 1730 BI-DIRECTIONAL ROTATION CALIBRATION - ISO 6789-2:2017 CERTIFICATION # SIZE NM D(MM) T(MM) L(MM) G 733105252 - ISO 6789-2:2017 1/4” 5-25 22,5 20 254 345 733210502 - ISO 6789-2:2017 3/8” 10-50 31 26,5 416 1145 7332201002 - ISO 6789-2:2017 3/8” 20-100 31 26,5 413 1145 7333201002 - ISO 6789-2:2017 1/2” 20-100 31 31 413 1150 7333402002 - ISO 6789-2:2017 1/2” 40-200 41 36,5 524 1535 7333603402 - ISO 6789-2:2017 1/2” 60-340 41 36,5 615 1730 L D T
SONIC-EQUIPMENT.COM 240 04 TORQUE WRENCH # 73210525 73220550 3/8" 10-50 40.5 37 360 920 732210100 3/8" 20-100 40.5 37 405 1020 732310100 1/2" 20-100 40.5 40 405 1020 732320200 1/2" 40-200 40.5 40 500 1220 732360300 1/2" 60-300 40.5 40 595 1330 732380400 1/2" 80-400 40.5 40 680 1820 7324550 3/4'' 110-550 63.0 58 970 3700 7324750 3/4'' 150-750 63.0 58 1150 5600 73241000 3/4'' 200-1000 63.0 63 1250 7200 7325750 1'' 150-750 63.0 58 1150 5600 73251000 1'' 200-1000 63.0 63 1250 7200 TORQUE WRENCH # SIZE NM D(MM) T(MM) L(MM) G 73021050 3/8" 10-50 40.5 37 360 920 730220100 3/8" 20-100 40.5 37 405 1020 730320100 1/2" 20-100 40.5 40 405 1020 730340200 1/2" 40-200 40.5 40 500 1220 730360300 1/2" 60-300 40.5 40 595 1330 730380400 1/2" 80-400 40.5 40 680 1820 7304110550 3/4" 110-550 63.0 58 970 3700 7304150750 3/4" 150-750 63.0 58 1150 5600 PCS/BAG 1 7322P Repair set torque wrench 73220550 & 732210100 1 7323P Repair set torque wrench 732310100, 732320200, 732360300 & 732380400 1 7324550P Repair set torque wrench 7324550 1 7324750P Repair set torque wrench 7324750 & 73241000 1 7325P Repair set torque wrench 7325750 & 73251000 1 REPAIR SET # DESCRIPTION PCS/BAG 7302P Repair set torque wrench 73021050 & 730220100 1 7303P Repair set torque wrench 730320100, 730340200, 730360300 & 730380400 1 7304P Repair set torque wrench 7304110500 & 7304150750 1 LIGHT WEIGHT
SONIC-EQUIPMENT.COM 241 04
- TORQUE WRENCH SET EXCHANGEABLE HEAD 9X12 RING+OPEN 4-20NM, 8-PCS 6.3 1/4” This tool allows the usual 3/8” Torque operation but with the added innovation of changing the ratchet head to a Spanner head for tightening bolts to a specific torque. 9x12 torque wrench 4-20nm 9x12 open ended insert tool 10, 13, 17 mm 9x12 ring insert tool 10, 13, 17 mm 9x12 72 teeth ratchet insert tool 1/4”
600907
SET EXCHANGEABLE HEAD 9X12 RING+OPEN 10-60NM, 8-PCS 10 3/8” This tool allows the usual 3/8” Torque operation but with the added innovation of changing the ratchet head to a Spanner head for tightening bolts to a specific torque. 9x12 torque wrench 12-60nm 9x12 open ended insert tool 10, 13, 17mm 9x12 ring insert tool 10, 13, 17mm 9x12 72 teeth ratchet insert tool 3/8”
600908 - TORQUE WRENCH
HEAD 14X18 RING HEAD 60-340NM, 11-PCS 12.5 1/2” This tool allows the usual 1/2” Torque operation but with the added innovation of changing the ratchet head to a Spanner head for tightening bolts to a specific torque. # DESCRIPTION PCS/BAG 73114340 14x18 torque wrench 68-340nm 1 7311403 14x18, 1/2”DR. Ratchet head (72th) 1 73114213…30 14x18, Ring end insert 13, 14, 15, 17, 19, 22, 24, 27, 30mm 9 Items also available separately 601106 - TORQUE WRENCH EXCHANGEABLE HEAD 14X18 OPEN HEAD 60-340NM, 11-PCS 12.5 1/2” This tool allows the usual 1/2” Torque operation but with the added innovation of changing the ratchet head to a Spanner head for tightening bolts to a specific torque. # DESCRIPTION PCS/BAG 73114340 14x18 Torques wrench 60-340Nm 1 7311403 14x18, 1/2”DR. Ratchet head (72th) 1 73114113…30 14x18, Ring end insert 13, 14, 15, 17, 19, 22, 24, 27, 30mm 9 Items also available separately CLEARLY VISIBLE SCALE IN NM AND FT.LB DIRECT FIT, LEFT OR RIGHT RATCHET ACTION WITH SONIC QUICK RELEASE SYSTEM COMFORTABLE ERGONOMIC HANDLE
601105 - TORQUE WRENCH EXCHANGEABLE

Hand tools - Wrenches

WORK EFFICIENT, WORK WITH SONIC.

SONIC-EQUIPMENT.COM 242
04

Torque test

SONIC-EQUIPMENT.COM 243 04
SONIC TORQUE TEST # DESCRIPTION ABOVE STANDARD DIN (%) 41508 Combination wrench 8 41509 Combination wrench 9 209.3% 41510 Combination wrench 10 95 58.1 163.5% 41511 Combination wrench 11 151 72.7 207.7% 41512 Combination wrench 12 204 89.1 229.0% 41513 Combination wrench 13 218 107.0 203.7% 41514 Combination wrench 14 255 128.0 199.2% 41515 Combination wrench 15 370 150.0 246.7% 41516 Combination wrench 16 363 175.0 207.4% 41517 Combination wrench 17 484 201.0 240.8% 41518 Combination wrench 18 553 230.0 240.4% 41519 Combination wrench 19 588 261.0 225.3% 41520 Combination wrench 20 714 294.0 242.9% 41521 Combination wrench 21 1023 330.0 310.0% 41522 Combination wrench 22 899 368.0 244.3% 41523 Combination wrench 23 1082 408.0 265.2% 41524 Combination wrench 24 1032 451.0 228.8% 41525 Combination wrench 25 1316 496.0 265.3% 41526 Combination wrench 26 1443 544.0 265.3% 41527 Combination wrench 27 1629 594.0 274.2% 41528 Combination wrench 28 1623 647.0 250.9% 41529 Combination wrench 29 1650 -41530 Combination wrench 30 1953 760.0 257.0% 41532 Combination wrench 32 2318 884.0 262.2%
Sonic wrenches meet up to more than 2.5 times the DIN standard. Sonic wrenches are made of chrome vanadium steel and

Hand tools - Wrenches

SONIC-EQUIPMENT.COM 244
04 FLARE NUT WRENCH # SIZE L(MM) B1(MM) B2(MM) G PCS/BAG 4110810 8x10 145 18,4 20,8 52 10 4111113 11x13 165 22,6 25 90 10 4111214 12x14 178 25 27,4 130 10 FLARE NUT WRENCH # SIZE L(MM) B1(MM) B2(MM) G PCS/BAG 4111618 16x18 196 30 27,4 136 10 4111719 17x19 210 30 32,5 188 10 4111922 19x22 233 32,5 38 240 10 4112427 24x27 265 41 45 346 5 4113032 30x32 285 48,5 51 482 5 4113641 36x41 345 65 54 816 5
WRENCH SAE # SIZE L(MM) B1(MM) B2(MM) G PCS/BAG 4250608 1/4"x5/16” 135 16,2 17,9 38 10 4251011 3/8”x7/16” 152 20,8 22,6 68 10 4251314 1/2”x9/16” 178 25 27,4 124 10 4251617 5/8”x11/16” 196 27,4 30 136 10 FLEXIBLE FLARE NUT WRENCH DIN NO. 3118 # SIZE L(MM) B1(MM) B2(MM) G PCS/BAG 40808 8 128 18 18 50 10 40809 9 128 18 18 48 10 40810 10 128 18 18 48 10 40811 11 148 22 22 82 10 40812 12 148 22 22 78 10 FLEXIBLE FLARE NUT WRENCH DIN NO. 3118 # SIZE L(MM) B1(MM) B2(MM) G PCS/BAG 4080809 8x9 150 19 19 66 10 4081011 10x11 158 19 22,7 76 10 4081213 12x13 180 23 26,8 120 10 HINGED SOCKET WRENCH # SIZE L(MM) B1(MM) B2(MM) G PCS/BAG 4120607 6x7 184 9,5 10,9 72 10 4120809 8x9 180 13 14 78 10 4121011 10x11 200 15 16 106 10 4121213 12x13 220 18 19 160 10 4121415 14x15 242 20 22 240 10 4121617 16x17 260 24 24 326 10 4121819 18x19 275 26 26 394 10 4122022 20x22 305 28 30,5 572 10 4122123 21x23 305 29,8 33 616 10 4122427 24x27 335 33 37 774 10
FLARE NUT
SONIC-EQUIPMENT.COM 245 04 HINGED TX E WRENCH # SIZE L(MM) B1(MM) B2(MM) G PCS/BAG 41210608 E6xE8 183 8,3 9,9 76 10 41211012 E10xE12 201 12 15 108 10 41211418 E14xE18 220 16,3 19 202 10 41212024 E20xE24 250 22 26 334 10 HINGED DRIVER 1/4” - 1/4” INHEX # SIZE L(MM) B1(MM) B2(MM) G PCS/BAG 41201 1/4” 188 13,9 12,9 80 10 HINGED DRIVER 1/4” X 3/8” # SIZE L(MM) B1(MM) B2(MM) G PCS/BAG 41202 1/4” x 3/8” 208 18 14 122 10 DOUBLE OPEN WRENCH # SIZE L(MM) B1(MM) B2(MM) G PCS/BAG 4140607 6x7 123 15,5 18 22 10 4140809 8x9 140 20,4 22,7 32 10 4141011 10x11 156 23,6 25,7 58 10 4141213 12x13 172 28,2 30,3 80 10 4141415 14x15 190 33,3 35,3 98 10 4141617 16x17 204 36,1 37,9 134 10 4141819 18x19 221 39,2 41,5 158 10 4142022 20x22 237 45,4 49,5 212 10 4142123 21x23 247 45,2 48,5 232 10 4142224 22x24 247 46,8 50,8 225 10 4142427 24x27 263 51,9 58,1 314 5 4142528 25x28 279 53,8 60,3 386 5 4143032 30x32 298 64,4 68,8 486 5 4143436 34x36 350 69,8 76.0 600 5
# SIZE L(MM) B1(MM) B2(MM) G PCS/BAG 4220608 1/4”x5/16” 123 14,5 17,3 24 5 4221011 3/8”X7/16” 156 23,8 26 60 5 4221314 1/2"X9/16” 180 30,3 32,3 88 5 4221617 5/8”x11/16” 204 35,5 37,6 132 5 4221719 11/16”x3/4” 221 39,6 41,3 162 5 4222122 13/16”x7/8” 237 43,7 47,7 208 5 4222425 15/16”x1” 255 49,1 55,2 288 5 4222932 1.1/8”x1.1/4” 298 64 68,4 508 5
DOUBLE OPEN WRENCH SAE

Hand tools - Wrenches

SONIC-EQUIPMENT.COM 246
04 COMBINATION WRENCH DIN NO. 3113 # SIZE L(MM) B1(MM) B2(MM) G PCS/BAG 41706 6 95 15,6 10,2 12 10 41707 7 115 17 11,5 18 10 41708 8 125 19,2 12,8 26 10 41709 9 135 21,2 14,2 34 10 41710 10 145 23,2 15,6 40 10 41711 11 155 25,3 16,9 50 10 41712 12 165 27,2 18,3 60 10 41713 13 175 29,4 19,7 72 10 41714 14 185 31,5 21,2 84 10 41715 15 195 33,2 22,5 100 10 41716 16 205 34,7 24 110 10 41717 17 215 36,5 25,3 146 10 41718 18 225 38,7 26,8 165 10 41719 19 235 40,7 28,1 180 10 41720 20 245 43,1 29,7 195 10 41721 21 255 44,8 31,3 217 10 41722 22 265 46,9 32,6 258 10 41723 23 275 48,3 34,2 287 10 41724 24 285 50,4 35,5 314 5 41725 25 295 52 36,9 350 5 41726 26 305 53,6 38,2 386 5 41727 27 315 55,7 39,6 443 5 41728 28 325 57,6 40,9 472 5 41729 29 335 58,3 42,3 530 5 41730 30 345 61,8 43,7 601 5 41732 32 365 65,8 46,4 697 5 COMBINATION WRENCH DIN NO. 3113 # SIZE L(MM) B1(MM) B2(MM) G PCS/BAG 41506 6 105 15,5 10,1 14 10 41507 7 115 17 11,5 20 10 41508 8 125 19,2 12,8 30 10 41509 9 135 21,2 14,2 32 10 41510 10 145 23,2 15,6 38 10 41511 11 155 25,3 16,9 50 10 41512 12 165 27,2 18,3 66 10 41513 13 175 29,4 19,7 70 10 41514 14 185 31,5 21,2 84 10 41515 15 195 33,2 22,5 94 10 41516 16 205 34,7 24 108 10 41517 17 215 36,5 25,3 128 10 41518 18 225 38,7 26,8 148 10 41519 19 235 40,7 28,1 160 10 41520 20 245 43,1 29,7 178 10 41521 21 255 44,8 31,3 210 10 41522 22 265 46,9 32,6 250 10 41523 23 275 48,3 34,2 254 10 41524 24 285 50,4 35,5 328 5 41525 25 295 52 36,9 314 5 41526 26 305 53,6 38,2 348 5 41527 27 315 55,7 39,6 380 5 41528 28 325 57,6 40,9 430 5 41529 29 335 58,3 42,3 436 5 41530 30 345 61,8 43,7 530 5 41532 32 365 65,8 46,4 570 5 41533 33 380 69,2 48,8 630 2 41534 34 380 69,2 44,8 630 2 41535 35 410 74 53 800 2 41536 36 410 74 53 800 2 41538 38 430 77 56 1000 2 41541 41 460 84 61 1160 2 41543 43 460 84 61 1160 2 41546 46 500 92 66 1700 2 41548 48 540 102 73 2000 2 41550 50 540 102 73 2000 2 41555 55 560 118 86 2800 2 41558 58 600 126 94 3900 2 41560 60 600 126 94 3900 2 41565 65 680 148 108 5800 2 41570 70 680 148 108 5800 2 41575 75 730 155 115 6650 2 41580 80 730 155 115 6510 2
SONIC-EQUIPMENT.COM 247 04 COMBINATION WRENCH EXTRA LONG # SIZE L(MM) B1(MM) B2(MM) G PCS/BAG 4150310 10 189 23,4 16,4 54 10 4150311 11 207 25,2 17,9 75 10 4150312 12 225 27,8 19,4 88 10 4150313 13 243 29,2 21 104 10 4150314 14 261 32 22,4 149 10 4150315 15 279 34,1 24 167 10 4150316 16 297 35,9 25,4 203 10 4150317 17 314 38,2 26,8 231 10 4150318 18 333 40 28,1 272 10 4150319 19 349 42,1 29,3 298 10 COMBINATION WRENCH SAE # SIZE L(MM) B1(MM) B2(MM) G PCS/BAG 4150206 1/4" 105 15,5 10,1 16 10 4150208 5/16” 125 19,2 12,8 26 10 4150210 3/8” 145 23,2 15,6 40 10 4150211 7/16” 155 25,3 16,9 52 10 4150213 1/2" 175 29,4 19,7 70 10 4150214 9/16” 185 31,5 21,2 88 10 4150216 5/8” 205 34,7 24 114 10 4150217 11/16” 215 36,5 25,3 126 10 4150219 3/4" 235 40,7 28,1 170 10 4150221 13/16” 255 44,8 31,3 196 10 4150222 7/8” 265 46,9 32,6 218 10 4150224 15/16” 285 50,4 35,5 308 10 4150225 1” 300 52 37,5 325 10 4150227 1-1/16'' 315 55,8 39 410 10 4150228 1-1/8'' 335 58,5 42,2 460 10 4150232 1-1/4” 365 65 46,5 600 10 4150233 1-5/16” 380 67,2 49 640 5 4150235 1-3/8” 410 73,4 53,8 820 5 4150238 1-1/2” 430 76,6 57,8 1000 5 4150241 1-5/8” 460 83,5 61,8 1200 5 STUBBY COMBINATION WRENCH # SIZE L(MM) B1(MM) B2(MM) G PCS/BAG 42608 8 91 17,1 12,8 20 10 42609 9 97 21,4 15 30 10 42610 10 97 21,4 15 34 10 42611 11 100 23,7 17,3 44 10 42612 12 105 25,9 18,4 46 10 42613 13 108 26,8 19,7 50 10 42614 14 115 29,8 21,7 68 10 42615 15 118 31,6 22,8 80 10 42616 16 122 33,8 24,2 84 10 42617 17 130 36,2 25,4 102 10 REVERSIBLE RATCHETING WRENCH 12PT. # SIZE L(MM) B1(MM) B2(MM) G PCS/BAG 4170208 8 136 16,7 17,6 36 10 4170209 9 143 19,4 19,1 44 10 4170210 10 159 21,5 20,7 58 10 4170211 11 168 23,9 22,7 70 10 4170212 12 174 26 24 84 10 4170213 13 180 27,3 26,1 100 10 4170214 14 189 31,2 27,8 116 10 4170215 15 200 32,5 29,2 140 10 4170216 16 216 34,1 31,6 158 10 4170217 17 232 37,5 33,5 200 10 4170218 18 239 39 33,7 202 10 4170219 19 247 40,7 35,1 250 10 4170221 21 285 40,7 35,1 358 10 4170222 22 285 40,7 35,1 342 10 4170224 24 325 40,7 35,1 484 10 4170227 27 359 40,7 35,1 632 10

Hand tools - Wrenches

SONIC-EQUIPMENT.COM 248
04 REVERSIBLE RATCHETING WRENCH, SAE # SIZE L(MM) B1(MM) B2(MM) G PCS/BAG 4170508 5/16'' 136 16,7 17,6 36 10 4170509 11/32'' 143 19,4 19,1 44 10 4170510 3/8'' 158 21,5 20,7 58 10 4170511 7/16'' 167 23,9 22,7 70 10 4170513 1/2'' 179 26 24 84 10 4170514 9/16'' 189 27,3 26,1 100 10 4170516 5/8'' 215 31,2 27,8 116 10 4170517 11/16'' 231 32,5 29,2 140 10 4170519 3/4'' 247 34,1 31,6 158 10 FLEXIBLE RATCHETING WRENCH 12PT. # SIZE L(MM) B1(MM) B2(MM) G PCS/BAG 4170308 8 136 17,1 17,5 38 10 4170309 9 143 19,2 19,3 44 10 4170310 10 160 21,3 21 66 10 4170311 11 168 23,7 22,7 76 10 4170312 12 174 25,8 24 92 10 4170313 13 180 26,8 26 106 10 4170314 14 193 30,4 27,7 128 10 4170315 15 200 32,1 29,1 148 10 4170316 16 216 33,8 30,7 186 10 4170317 17 233 37 32,6 218 10 4170318 18 239 38,7 33,7 226 10 4170319 19 250 40,2 34,8 268 10 FLAT RATCHETING WRENCH 12PT. # SIZE L(MM) B1(MM) B2(MM) G PCS/BAG 4170108 8 129 18,8 18 32 10 4170109 9 139 20,8 19,5 40 10 4170110 10 149 22,8 21 50 10 4170111 11 159 24,9 23 60 10 4170112 12 169 26,8 24,5 70 10 4170113 13 179 29 26,5 88 10 4170114 14 189 31,1 28 110 10 4170115 15 199 32,8 29,5 118 10 4170116 16 209 34,3 31,5 134 10 4170117 17 219 36,1 33 168 10 4170118 18 229 38,3 34 176 10 4170119 19 239 40,3 35 204 10 4-IN-1 RING RATCHET WRENCH # SIZE L(MM) B1(MM) B2(MM) G PCS/BAG 4170401 8-10, 12-13 160 21,5 26,5 98 5 4170402 16-17, 18-19 230 34,5 35,6 264 5 TX RATCHETING WRENCH # SIZE L(MM) B1(MM) B2(MM) G PCS/BAG 41760608 E6xE8 130,4 17,4 20,9 56 10 41761012 E10xE12 144,4 20,9 22,9 80 10 41761418 E14xE18 181,4 27,4 30,4 154 10 41762024 E20xE24 224,4 31,9 34,4 218 10
SONIC-EQUIPMENT.COM 249 04 45° OFFSET RING WRENCH DIN NO. 838 # SIZE L(MM) B1(MM) B2(MM) G PCS/BAG 4180607 6x7 165 10,6 13 34 10 4180809 8x9 170 14,5 16,5 50 10 4181011 10x11 180 15 17,5 68 10 4181213 12x13 206 20 22 108 10 4181415 14x15 232 22 24 134 10 4181617 16x17 237 24 26 160 10 4181819 18x19 270 28 29,5 268 10 4182123 21x23 327 32,5 34,5 368 10 75° OFFSET RING WRENCH DIN NO. 838 # SIZE L(MM) B1(MM) B2(MM) G PCS/BAG 4190607 6x7 168 10,7 12,2 52 10 4190809 8x9 183 13,6 15,1 56 10 4191011 10x11 198 16,6 18 94 10 4191213 12x13 217 19,5 20,9 122 10 4191415 14x15 239 22,4 23,7 164 10 4191617 16x17 260 25,3 26,7 196 10 4191819 18x19 292 26,9 28,7 260 10 4192022 20x22 318 34 31,1 320 10 4192122 21x22 318 31,1 35,9 382 10 4192123 21x23 330 34 35,9 344 10 4192326 23x26 345 36,9 41,4 490 5 4192427 24x27 345 36,9 41,4 498 5 4192528 25x28 355 40,4 43,8 546 5 4193032 30x32 370 45,5 48,5 632 5 4193436 34x36 415 48,5 54,5 1000 5 15°/75° OFFSET OPEN END IGNITION WRENCH, SAE # SIZE L(MM) B1(MM) B2(MM) G PCS/BAG 4140101 5/32” 70 10 10 20 10 4140102 3/16” 75 13 13 24 10 4140103 7/32 75 13 13 24 10 4140104 15/64 80 15 15 24 10 4140105 1/4 80 15 15 24 10 4140106 9/32” 80 15 15 24 10 4140107 5/16” 90 18 18 30 10 4140108 11/32” 90 18 18 30 10 4140109 3/8 100 22 22 38 10 4140110 13/32 100 22 22 36 10 4140111 7/16 100 22 22 34 10 4140112 1/2” 120 27 27 48 10 4140113 9/16” 120 27 27 50 10 4140114 5/8” 139,5 33 33 80 10 4140115 11/16 139,5 33 33 76 10 45° OFFSET RING WRENCH, SAE # SIZE L(MM) B1(MM) B2(MM) G PCS/BAG 4270608 1/4"x5/16” 165 10,6 13 36 5 4271011 3/8”x7/16” 180 15 17,5 68 5 4271314 1/2"x9/16” 206 20 22 100 5 4271416 9/16”x5/8” 232 22 25,3 150 5 4271719 11/16”x3/4” 270 28 29,5 256 5 4272122 13/16”x7/8” 327 32,5 34,5 368 5 4272425 15/16”x1” 362 34,5 38,5 478 5
# SIZE L(MM) B(MM) G PCS/BAG 4200113 13 160 20,6 76 5
INJECTION PUMP WRENCH

Hand tools - Wrenches

SONIC-EQUIPMENT.COM 250
04 FLAT DOUBLE RING WRENCH DIN NO. 837 # SIZE L(MM) B1(MM) B2(MM) G PCS/BAG 4200607 6x7 119 9,8 11 16 5 4200809 8x9 135 12,9 16,5 26 5 4201011 10x11 153 16,5 19,8 44 5 4201213 12x13 162 19,8 22 62 5 4201415 14x15 180 22 25 86 5 4201617 16x17 210 25 26,5 118 5 4201819 18x19 225 27,6 28,6 140 5 TX WRENCH # SIZE L(MM) B1(MM) B2(MM) G PCS/BAG 4160608 E6xE8 113 9,2 11,2 22 10 4160711 E7xE11 127 10,6 15,6 24 10 4161012 E10xE12 142 14,4 16,7 42 10 4161418 E14xE18 182 17,2 21,2 82 10 4161622 E16xE22 202 18,9 25,9 116 10 4162024 E20xE24 224 24,8 28,7 200 10 HALF-MOON WRENCH # SIZE L(MM) B1(MM) B2(MM) G PCS/BAG 4211012 10x12 141 15,6 18,2 54 5 4211113 11x13 166 18,2 21 96 5 4211417 14x17 190 22 25 128 5 ADJUSTABLE WRENCH # L(MM) G PCS/BAG 42301150 155 147 10 42301200 205 275 10 42301250 255 410 10 42301300 305 765 10 42301375 385 1330 10
SONIC-EQUIPMENT.COM 251 04 601401 - COMBINATION WRENCH SET IN POUCH, 14-PCS # PCS CONTENTS 41506…22 14 Combination wrench 6, 7, 8, 9, 10, 11, 12, 13, 14, 15, 16, 17, 19, 22mm 602603 - COMBINATION WRENCH SET IN POUCH, 26-PCS # PCS CONTENTS 41506…32 26 Combination wrench 6, 7, 8, 9, 10, 11, 12, 13, 14, 15, 16, 17, 18, 19, 20, 21, 22, 23, 24, 25, 26, 27, 28, 29, 30, 32mm 601204 - COMBINATION WRENCH SET (SAE) 12-PCS # PCS CONTENTS 4150206…24 12 Combination wrench 1/4”, 5/16”, 3/8”, 7/16”, 1/2”, 9/16”, 5/8”, 11/16”, 3/4”, 13/16”, 7/8”, 15/16” 600806 - DOUBLE OPEN WRENCH SET (SAE), 8-PCS # PCS CONTENTS 4220608…2932 8 Double open wrench 1/4”x5/16”, 3/8”x7/16”, 1/2”x9/16”, 5/8”x11/16”, 11/16”x3/4”, 13/16”x7/8”, 15/16”x1”, 1.1/8”x1.1/4” 601702 - COMBINATION WRENCH SET IN POUCH, 17-PCS # PCS CONTENTS 41506…22 17 Combination wrench 6, 7, 8, 9, 10, 11, 12, 13, 14, 15, 16, 17, 18, 19, 20, 21, 22mm 600402 - FLARE NUT WRENCH SET (SAE), 4-PCS # PCS CONTENTS 4250608…1617 4 Flare nut wrench 1/4”x5/16”, 3/8”x7/16”, 1/2”x9/16”, 5/8”x11/16”
45° OFFSET RING
SET
7-PCS # PCS CONTENTS
7 45° offset ring wrench
# PCS CONTENTS
nut wrench
600701 -
WRENCH
(SAE),
4270608…2425
1/4”x5/16”, 3/8”x7/16”, 1/2”x9/16”, 9/16”x5/8”, 11/16”x3/4”, 13/16”x7/8”, 15/16”x1” 600507 - FLEXIBLE FLARE NUT WRENCH SET, 5-PCS
40808…12 5 Flexible flare
8, 9, 10, 11, 12mm

Hand tools - Wrenches

SONIC-EQUIPMENT.COM 252
04 600203 - 4-IN-1 RATCHETING WRENCH SET IN POUCH, 2-PCS # DESCRIPTION L(MM) B1(MM) B2(MM) A1(MM) A2(MM) G PCS/BAG 4170401 4-in-1 ring ratcheting wrench 8-10, 12-13 160 21.5 26.5 8.9 9.8 98 5 4170402 4-in-1 ring ratcheting wrench 16-17, 18-19 230 34.5 35.6 11.7 12.2 264 5 601219 - REVERSIBLE RATCHETING WRENCH 12 PT. SET IN POUCH, 12-PCS # PCS CONTENTS 4170208…19 12 Reversible ratcheting wrench 12 pt. 8, 9, 10, 11, 12, 13, 14, 15, 16, 17, 18, 19mm 601218 - FLEXIBLE RATCHETING WRENCH 12 PT. SET IN POUCH, 12-PCS # PCS CONTENTS 4170308…19 12 Flexible ratcheting wrench 12 pt. 8, 9, 10, 11, 12, 13, 14, 15, 16, 17, 18, 19mm

WORK EFFICIENT WORK WITH

SONIC

Toolsets - BMCS

WORK EFFICIENT, WORK WITH SONIC.

SONIC-EQUIPMENT.COM 254
04

73310002 1 1/4” Torques driver 0.4-2Nm 3-15 inch-pounds

73310109 1 1/4” Torques driver 1-9Nm 10-80 inch-pounds

104001 - COMBINATION SET 1/4”, 40-PCS BMCS

1360 GRAM

TOOLS # CONTENTS

7121501 1 Ratchet 1/4” 60 teeth

21503…14 14 Flank socket 1/4”, 6 pt. 3, 4, 4.5, 5, 5.5, 6, 7, 8, 9, 10, 11, 12, 13, 14mm

8143703…08 5 Bit socket hex 1/4”, 3, 4, 5, 6,8mm

8163710…40 6 Bit socket TX 1/4”, T10, T15, T20, T25, T30, T40

8133704…65 3 Bit socket slotted 1/4”, 4, 5.5, 6.5mm

7131115 1 Sliding T-handle 1/4”

7191125 1 Adaptor bit 1/4” hex-1/4” square 25mml 8163710…20 2 Bit socket TX 1/4”, T10, T20

7121501 1 Ratchet 1/4” 60 teeth 21504…13 12 Flank socket 1/4”, 6 pt. 4, 4.5, 5, 5,5 6, 7, 8, 9, 10, 11, 12, 13mm - 7141050 1 Extension 1/4” 50mml - 71511 1 Universal joint 1/4”

7131115 1 Sliding T-handle 1/4”

72401 1 Spinner 1/4” 150mml

8113700…03 4 Bit socket PH 1/4”, PH.0, PH.1, PH.2, PH.3

8133704…65 3 Bit socket slotted 1/4”, 4, 5.5, 6.5mm

8143703…06 4 Bit socket hex 1/4”, 3, 4, 5, 6mm

8163710…40 7 Bit socket TX 1/4”, T10, T15, T20, T25, T27, T30, T40

8113701…03 3 Bit socket PH 1/4”, PH.1, PH.2, PH.3 8123701…03 3 Bit socket PZ 1/4”, PZ.1, PZ.2, PZ.3

7131115 1 Sliding T-handle 1/4” - 7141050...100 2 Extension 1/4” 50, 100mml - 71511 1 Universal joint 1/4” - 72401 1 Spinner 1/4” 150mml

104602 - COMBINATION SET 1/4”, 46-PCS BMCS 1660 GRAM TOOLS # CONTENTS

7121501 1 Ratchet 1/4” 60 teeth - 184-3 3 Hex key wrench 1.5, 2, 2.5mm - 7191125 1 Adaptor bit 1/4” hex-1/4” square 25mml 21504…14 13 Flank socket 1/4”, 6 pt. 4, 4.5, 5, 5.5, 6, 7, 8, 9, 10, 11, 12, 13, 14mm

7131115 1 Sliding T-handle 1/4”

7141050…100 2 Extension 1/4” 50, 100mml

71511 1 Universal joint 1/4”

7211 1 Flexible extension 1/4” - 72401 1 Spinner 1/4” 150mml

8113701…03 3 Bit socket PH 1/4”, PH.1, PH.2, PH.3

8123701…03 3 Bit socket PZ 1/4”, PZ.1, PZ.2, PZ.3

8133704…65 3 Bit socket slotted 1/4”, 4, 5.5, 6.5mm

8143703…08 6 Bit socket hex 1/4”, 3, 4, 5, 6, 7, 8mm

8163710…40 6 Bit socket TX 1/4”, T10, T15, T20, T25, T30, T40

SONIC-EQUIPMENT.COM 255 04 101105 - TPMS SET 11-PCS BMCS 1600 GRAM TOOLS
-
-
- 47825
removal - 47826
valve
- 47827
-
-
# CONTENTS
1 Trim
1 Tyre
driver 0.25Nm
1 Tyre valve driver 0.45Nm 2155011…12 2 Flank deep socket 1/4”, 6 pt. 11, 12mm
SET
BMCS 1220 GRAM TOOLS
-
-
103502 - SOCKET & BIT
1/4”, 35-PCS
# CONTENTS
-
-
-
-
-
-
-
-

21504…13 12 Flank socket 1/4”, 6 pt. 4, 4.5, 5, 5.5, 6, 7, 8, 9, 10, 11, 12, 13mm

2155004…13 12 Flank deep socket 1/4”, 6 pt. 4, 4.5, 5, 5.5, 6, 7, 8, 9, 10, 11, 12, 13mm

21604…10 6 Socket TX 1/4”, E4, E5, E6, E7 E8, E10

2165004…10 6 Deep TX socket 1/4”, E4, E5, E6, E7 E8, E10 - 7131115 1 Sliding T-handle 1/4” - 7141050…100 2 Extension 1/4” 50, 100mml

71511 1 Universal joint 1/4”

72225 1 Magnet socket pick-up 1/4”

72401 1 Spinner 1/4” 150mml

8113701…03 3 Bit socket PH 1/4”, PH.1, PH.2, PH.3

8123701…03 3 Bit socket PZ 1/4”, PZ.1, PZ.2, PZ.3

8133704…65 3 Bit socket slotted 1/4”, 4, 5.5, 6.5mm

8143703…08 6 Bit socket hex 1/4”, 3, 4, 5, 6, 7, 8mm

8163708…40 8 Bit socket TX 1/4”, T8, T10, T15, T20, T25, T27, T30, T40

8173708…40 8 Bit socket TX tamperproof 1/4”, T8H, T10H, T15H, T20H, T25H, T27H, T30H, T40H

7121501 1 Ratchet 1/4” 60 teeth

# CONTENTS - 7121502 1 Ratchet 3/8” 60 teeth 1312 1 Screwdriver, PH.2

22517 1 Flank socket 3/8”, 6 pt. 17mm 2256317 1 Flank deep socket 3/8”, 6 pt. 17mm

41517 1 Combination wrench 17mm

4311175 1 Combination pliers 7”

7110302 1 Disc ratchet 3/8”, 72 teeth 8264840 1 Bit socket TX 3/8”, T40

TOOLS # CONTENTS

22506…22 17 Flank socket 3/8”, 6 pt. 6, 7, 8, 9, 10, 11, 12, 13, 14, 15, 16, 17, 18, 19, 20, 21, 22mm - 7142044…250 4 Extension 3/8” 44, 75, 150, 250mml

7121502 1 Ratchet 3/8” 60 teeth

71521 1 Universal joint 3/8”

71632 1 Adaptor for extension 1/2”(F) x 3/8”(M) 7171216…21 3 Spark plug socket 3/8” 16, 18, 21mm

7272250 1 Swivel handle 3/8” 250mml

SONIC-EQUIPMENT.COM 256
BMCS 04 107403 - COMBINATION SET 1/4”, 74-PCS BMCS 2680 GRAM TOOLS
CONTENTS
Toolsets -
#
-
-
-
-
1700
200804 - SAMPLE SET SONIC, 8-PCS BMCS GRAM TOOLS
-
-
-
202803 - SOCKET SET 3/8”, 28-PCS BMCS 3320 GRAM
-
-
-
-

TOOLS # CONTENTS

- 7121502 1 Ratchet 3/8” 60 teeth

22506…22 17 Flank socket 3/8”, 6 pt. 6, 7, 8, 9, 10, 11, 12, 13, 14, 15, 16, 17, 18, 19, 20, 21, 22mm

- 41506…19 14 Combination wrench 6, 7, 8, 9, 10, 11, 12, 13, 14, 15, 16, 17, 18, 19mm

- 7142044…150 3 Extension 3/8” 44, 75, 150mml

- 71521 1 Universal joint 3/8” - 71632 1 Adaptor for extension 1/2”(F) x 3/8”(M)

204003 -

3/8”,

TOOLS # CONTENTS - 7121502 1 Ratchet 3/8” 60 teeth

22506…22 17 Flank socket 3/8”, 6 pt. 6, 7, 8, 9, 10, 11, 12, 13, 14, 15, 16, 17, 18, 19, 20, 21, 22mm

- 7142044…150 3 Extension 3/8” 44, 75,150mml

- 71521 1 Universal joint 3/8”

71632 1 Adaptor for extension 1/2”(F) x 3/8”(M)

8244804…08 5 Bit socket hex 3/8”, 4, 5, 6, 7, 8mm

8264820…50 7 Bit socket TX 3/8”, T20, T25, T27, T30, T40, T45, T50

8284805…12 5 Bit socket spline 3/8”, M5, M6, M8, M10, M12

206102 - SOCKET & BIT SOCKET SET 3/8”, 61-PCS BMCS

CONTENTS

7121502 1 Ratchet 3/8” 60 teeth

22506…24 18 Flank socket 3/8”, 6 pt. 6, 7, 8, 9, 10, 11, 12, 13, 14, 15, 16, 17, 18, 19, 20, 21, 22, 24mm

2256308…19 10 Flank deep socket 3/8”, 6 pt. 8, 9, 10, 11, 12, 13, 14, 15, 17, 19mm - 7142075...250 2 Extension 3/8” 75, 250mml - 71521 1 Universal joint 3/8” - 71632 1 Adaptor for extension 1/2”(F) x 3/8”(M)

7171216...21 2 Spark plug socket 3/8” 16, 21mm

8214801…03 3 Bit socket PH 3/8”, PH.1, PH.2, PH.3

8224801…03 3 Bit socket PZ 3/8”, PZ.1, PZ.2, PZ.3

82348055…08 3 Bit socket slotted 3/8”, 5.5, 7, 8mm

8244803…10 7 Bit socket hex 3/8”, 3, 4, 5, 6, 7, 8, 10mm

8264810…55 10 Bit socket TX 3/8”, T10, T15, T20, T25, T27, T30, T40, T45, T50, T55

SONIC-EQUIPMENT.COM 257 04 203703
SOCKET AND WRENCH SET
BMCS 3540 GRAM
-
3/8”, 37-PCS
COMBINATION SET
40-PCS BMCS 3080 GRAM
-
#
-
4380
GRAM
TOOLS

# CONTENTS

7121502 1 Ratchet 3/8” 60 teeth

22506…24 18 Flank socket 3/8”, 6 pt. 6, 7, 8, 9, 10, 11, 12, 13, 14, 15, 16, 17, 18, 19, 20, 21, 22, 24mm

2256308…22 13 Flank deep socket 3/8”, 6 pt. 8, 9, 10, 11, 12, 13, 14, 15, 16, 17, 18, 19, 22mm

8244803…10 7 Bit socket hex 3/8”, 3, 4, 5, 6, 7, 8, 10mm

8214801…03 3 Bit socket PH 3/8”, PH.1, PH.2, PH.3

8224801…03 3 Bit socket PZ 3/8”, PZ.1, PZ.2, PZ.3

82348055…08 4 Bit socket slotted 3/8”, 5.5, 6, 7, 8mm

8264808…55 11 Bit socket TX 3/8”, T8, T10, T15, T20, T25, T27, T30, T40, T45, T50, T55

8274810…55 10 Bit socket TX tamperproof 3/8”, T10H, T15H, T20H, T25H, T27H, T30H, T40H, T45H, T50H, T55H - 7142075...250 2 Extension 3/8” 75, 250mml - 71521 1 Universal joint 3/8”

7171216…21 2 Spark plug socket 3/8” 16, 21mm - 71632 1 Adaptor for extension 1/2”(F) x 3/8”(M)

8

83610027…70 8 Bit socket TX 1/2”, 100mml T27, T30, T40, T45, T50, T55, T60, T70

83806205…16 8 Bit socket spline 1/2”, M5, M6, M8, M9, M10, M12, M14, M16

SONIC-EQUIPMENT.COM 258
BMCS 04 207601 - SOCKET & BIT SOCKET SET 1/2”, 76-PCS BMCS 1140 GRAM TOOLS
-
Toolsets -
BIT SOCKET HEX SET 1/2”, 8-PCS BMCS 1480 GRAM TOOLS # CONTENTS 83410006…17
Bit socket hex 1/2”, 100mml 6, 7, 8, 9, 10, 12, 14, 17mm
300816 -
8
TX SET
BMCS 1400 GRAM TOOLS
CONTENTS
300817 - BIT SOCKET
1/2”, 8-PCS
#
83606227…70
Bit socket TX 1/2”, T27, T30, T40, T45, T50, T55, T60, T70
TX BIT SOCKET SET 1/2”, 8-PCS BMCS 1380 GRAM TOOLS
CONTENTS
300818 -
#
1220 GRAM
300819 - BIT SOCKET SPLINE SET 1/2”, 8-PCS BMCS
TOOLS # CONTENTS
SONIC-EQUIPMENT.COM 259 04 300820 - BIT SOCKET SPLINE SET 1/2”, 8-PCS BMCS 1480 GRAM TOOLS # CONTENTS 83810005…16 8 Bit socket spline 1/2”, 100mml M5, M6, M8, M9, M10, M12, M14, M16 300821 - BIT SOCKET RIBE SET 1/2” 8-PCS BMCS 1220 GRAM TOOLS # CONTENTS 83906206…14 8 Bit socket ribe 1/2”, M6, M7, M8, M9, M10, M12, M13, M14 300822 - BIT SOCKET RIBE SET 1/2”, 8-PCS BMCS 1440 GRAM TOOLS # CONTENTS 83910006…14 8 Bit socket ribe 1/2”, 100mml M6, M7, M8, M9, M10, M12, M13, M14 300823 - BIT SOCKET HEX SET 1/2”, 8-PCS BMCS 1280 GRAM TOOLS # CONTENTS 83406206…17 8 Bit socket hex 1/2”, 6, 7, 8, 9, 10, 12, 14, 17mm 301702 - BIT SOCKET TX 1/2”, 17-PCS BMCS 1280 GRAM TOOLS # CONTENTS 23610…24
Socket TX 1/2”,
E18, E20, E22, E24 83606225…60 8 Bit socket TX 1/2”, T25, T27, T30, T40, T45, T50, T55, T60
- SOCKET SET 1/2”, 19-PCS BMCS 3800 GRAM TOOLS # CONTENTS - 7121503
Ratchet
60 teeth 23510…24
socket
- 7133250
- 7143125...250
Extension 1/2” 125, 250mml - 71531
Universal joint 1/2”
9
E10, E11, E12, E14, E16,
301904
1
1/2”
14 Flank
1/2”, 6 pt. 10, 11, 12, 13, 14, 15, 16, 17, 18, 19, 21, 22, 23, 24mm
1 Sliding T-handle 1/2”
2
1

7121503 1 Ratchet 1/2” 60 teeth

23508…32 23 Flank socket 1/2”, 6 pt. 8, 9, 10, 11, 12, 13, 14, 15, 16, 17, 18, 19, 20, 21, 22, 23, 24, 25, 26, 27, 28, 30, 32mm

2 Spark plug socket 1/2” 16, 21mm

71623 1 Adaptor for extension 3/8”(F) x 1/2”(M)

41506…22 15 Combination wrench 6, 7, 8, 9, 10, 11, 12, 13, 14, 15, 16, 17, 18, 19, 22mm

1 Ratchet 1/2” 60 teeth

18 Flank socket 1/2”, 6 pt. 10, 11, 12, 13, 14, 15, 16, 17, 18, 19, 20, 21, 22, 23, 24, 27, 30, 32mm

7143125...250 2 Extension 1/2” 125, 250mml

71531 1 Universal joint 1/2”

71623 1 Adaptor for extension 3/8”(F) x 1/2”(M)

7273380 1 Swivel handle 1/2” 380mml

306701 - TX SET, 67-PCS

13606…40 9 Screwdriver TX, T6, T8, T10, T15, T20, T25, T27, T30, T40

1860108…70 14 Key wrench TX, extra long T8, T9, T10, T15, T20, T25, T27, T30, T40, T45, T50, T55, T60, T70 21604…10 6 Socket TX 1/4”, E4, E5, E6, E7, E8, E10 23611…24 8 Socket TX 1/2”, E11, E12, E14, E16, E18, E20, E22, E24 4160608…2024 4 TX wrench E6xE8, E10xE12, E14xE18, E20xE24 8163708…40 9 Bit socket TX 1/4”, T8, T9, T10, T15, T20, T25, T27, T30, T40 83706250…60 3 Bit socket TX tamperproof 1/2”, TX T50H, T55H, T60H 9367520…55 7 Bit TX 10mm, 75mml T20, T25, T30, T40, T45, T50, T55 9373015…45 6 Bit TX 10mm tamperproof, 30mml T15H, T20H, T25H, T30H, T40H, T45H - 72033 1 Bitholder, 1/2”(F)x10mm(F)

SONIC-EQUIPMENT.COM 260
BMCS 04 304501
SOCKET AND WRENCH SET 1/2”, 45-PCS BMCS 6660 GRAM TOOLS # CONTENTS -
Toolsets -
-
-
-
7171316...21
-
-
302404 - SOCKET SET 1/2”, 24-PCS BMCS 5040 GRAM TOOLS # CONTENTS -
-
-
-
-
7143125...250 2 Extension 1/2” 125, 250mml
71531 1 Universal joint 1/2”
7121503
23510…32
TOOLS
BMCS 4880 GRAM
# CONTENTS

# CONTENTS

21504…13 12 Flank socket 1/4”, 6 pt. 4, 4.5, 5, 5.5, 6, 7, 8, 9, 10, 11, 12, 13mm

8113701…03 3 Bit socket PH 1/4”, PH.1, PH.2, PH.3

8123701…03 3 Bit socket PZ 1/4”, PZ.1, PZ.2, PZ.3

8133704…65 3 Bit socket slotted 1/4”, 4, 5.5, 6.5mm

8143703…10 7 Bit socket hex 1/4”, 3, 4, 5, 6, 7, 8, 10mm

8163708…40 8 Bit socket TX 1/4”, T8, T10, T15, T20, T25, T27, T30, T40

8173708…40 8 Bit socket TX tamperproof 1/4”, T8H, T10H, T15H, T20H, T25H, T27H, T30H, T40H

- 7121501 1 Ratchet 1/4” 60 teeth

- 7131115 1 Sliding T-handle 1/4” - 7141050…150 3 Extension 1/4” 50mml, 100, 150mml - 71511 1 Universal joint 1/4”

- 72401 1 Spinner 150mml 1/4”

23508…32 20 Flank socket 1/2” , 6 pt. 8, 9, 10, 11, 12, 13, 14, 15, 16, 17, 18, 19, 20, 21, 22, 23, 24, 27, 30, 32mm - 7121503 1 Ratchet 3/8” 60 teeth

- 7143125…250 2 Extension 1/2” 125, 250mml

- 71531 1 Universal joint 1/2”

- 71623 1 Adaptor for extension 3/8”(F) x 1/2”(M)

309101 - SOCKET SET 1/4” & 1/2”, 91-PCS BMCS

8500 GRAM

TOOLS # CONTENTS

21503…14 14 Flank socket 1/4”, 6 pt. 3, 4, 4.5, 5, 5.5, 6, 7, 8, 9, 10, 11, 12, 13, 14mm

2155006…13 8 Flank deep socket 1/4”, 6 pt. 6, 7, 8, 9, 10, 11, 12, 13mm

8113701…03 3 Bit socket PH 1/4”, PH.1, PH.2, PH.3

8123701…03 3 Bit socket PZ 1/4”, PZ.1, PZ.2, PZ.3

8133704…065 3 Bit socket slotted 1/4” 4, 5.5, 6.5mm

8143703…06 4 Bit socket hex 1/4” 3, 4, 5, 6mm

8163708…40 8 Bit socket TX 1/4” T8, T10, T15, T20, T25, T27, T30, T40

7121501 1 Ratchet 1/4” 60 teeth

7131115 1 Sliding T-handle 1/4”

7141050…100 2 Extension 1/4” 50, 100mml

71511 1 Universal joint 1/4”

72401 1 Spinner 1/4” 150mml

23510…32 14 Flank socket 1/2”, 6 pt. 10, 13, 15, 16, 17, 18, 19, 20, 21, 22, 24, 27, 30, 32mm

2357714…19 4 Flank deep socket 1/2”, 6 pt. 14, 15, 17, 19mm

7171316…21 2 Spark plug socket 1/2”, 16, 21mm

83606250…60 3 Bit socket TX 1/2”, T50, T55, T60

7121503 1 Ratchet 1/2” 60 teeth

- 7143125…250 2 Extension 1/2” 125, 250mml - 71531 1 Universal joint 1/2” - 71623 1 Adaptor for extension 3/8”(F) x 1/2”(M)

72032 1 Bit holder 1/2”(F) x 5/16”(F)

9213002…04 3 Bit PH 5/16” 30mml, PH.2, PH.3, PH.4

9223002…04 3 Bit PZ 5/16” 30mml, PZ.2, PZ.3, PZ.4

9233006…12 4 Bit slotted 5/16” 30mml, 6, 8, 10, 12mm

9263030…45 3 Bit TX 5/16” 30mml, T30, T40, T45

SONIC-EQUIPMENT.COM 261 04 307603 - SOCKET SET 1/4”
1/2”, 76-PCS BMCS 5740 GRAM TOOLS
&
-
-
-
-
-
-
-

184-3 3 Hex key wrench 1.5, 2, 2.5mm

21504...14 13 Flank socket 1/4”, 6 pt. 4, 4.5, 5, 5.5, 6, 7, 8, 9, 10 ,11, 12, 13, 14mm

2155006...13 8 Flank deep socket 1/4”, 6 pt. 6, 7, 8, 9, 10, 11, 12, 13mm

8113701...02 2 Bit socket PH 1/4”, PH.1, PH.2

8123701...02 2 Bit socket PZ 1/4”, PZ.1, PZ.2

8133704...65 3 Bit socket slotted 1/4”, 4, 5.5, 6.5mm

8143703...06 4 Bit socket hex 1/4” 3, 4, 5, 6mm

8163708...30 7 Bit socket TX 1/4” T8, T10, T15, T20, T25, T27, T30

7121501 1 Ratchet 1/4” 60 teeth - 7131115 1 Sliding T-handle 1/4”

- 7141050...100 2 Extension 1/4” 50, 100mml

- 71511 1 Universal joint 1/4”

72401 1 Spinner 1/4” 150mml

23510...32 17 Flank socket 1/2”, 6 pt. 10, 11, 12, 13, 14, 15, 16, 17, 18, 19, 20, 21, 22, 24, 27, 30, 32mm

2357713...22 5 Flank deep socket 1/2”, 6 pt. 13, 15, 17, 19, 22mm

7171316...21 2 Spark plug socket 1/2”, 16, 21mm

- 7121503 1 Ratchet 1/2”, 60 teeth

- 7143125...250 2 Extension 1/2”, 125, 250mml

71531 1 Universal joint 1/2”

71623 1 Adaptor 3/8”(F) x 1/2”(M)

72032 1 Bit holder 1/2”(F) x 5/16”(F)

9213003...04 2 Bit PH 5/16”, 30mml PH.3, PH.4

9223003...04 2 Bit PZ 5/16”, 30mml PZ.3, PZ.4

9233008...12 3 Bit slotted 5/16”, 30mml 8, 10, 12mm

9243007...14 5 Bit hex 5/16”, 30mml 7, 8, 10, 12, 14mm

9263040...55 4 Bit TX 5/16”, 30mml T40, T45, T50, T55

309901 - SOCKET SET 1/4”, 3/8’’ & 1/2”, 99-PCS BMCS 8500 GRAM

# CONTENTS

21504...13 12 Flank socket 1/4”, 6 pt. 4, 4.5, 5, 5.5, 6, 7, 8, 9, 10, 11, 12, 13mm

22510...19 10 Flank socket 3/8”, 6 pt. 10, 11, 12, 13, 14, 15, 16, 17, 18, 19mm

23517...32 13 Flank socket 1/2”, 6 pt. 17, 18, 19, 20, 21, 22, 23, 24, 26, 27, 28, 30, 32mm

21604...10 6 Socket TX 1/4”, E4, E5, E6, E7, E8, E10 22611...20 6 Socket TX 3/8”, E11, E12, E14, E16, E18, E20 - 41506 16 Combination wrench 6, 7, 8, 9, 10, 11, 12, 13, 14, 15, 16, 17, 18, 19, 20, 22mm

7171316...21 2 Spark plug socket 1/2”, 16, 21mm

8113701...02 2 Bit socket PH 1/4”, PH.1, PH.2

8123701...02 2 Bit socket PZ 1/4”, PZ.1, PZ.2

8133704...65 3 Bit socket slotted 1/4”, 4, 5.5, 6.5mm

8143703...06 4 Bit socket hex 1/4”, 3, 4, 5, 6

8163708...30 8 Bit socket TX 1/4”, T8, T9, T10, T15, T20, T25, T27, T30

7121501 1 Ratchet 1/4” 60 teeth

7121502 1 Ratchet 3/8”, 60 teeth

7121503 1 Ratchet 1/2”, 60 teeth

7131115 1 Sliding T-handle 1/4” - 7141050...100 2 Extension 1/4”, 50, 100mml - 7262075...150 2 Wobble extension 3/8”, 75, 150mml - 7263125...250 2 Wobble extension 1/2”, 125, 250mml

71511 1 Universal joint 1/4”

71521 1 Universal joint 3/8”

71531 1 Universal joint 1/2”

71921 1 Adaptor 3/8”(F) x 1/4”(M)

71932 1 Adaptor 1/2”(F)x 3/8”(M)

SONIC-EQUIPMENT.COM 262 Toolsets - BMCS 04 309402 - SOCKET SET 1/4”
1/2”, 94-PCS BMCS 6460 GRAM TOOLS # CONTENTS -
&
-
-
-
-
-
TOOLS
-
-
-
-
-
-
-
-
-

TOOLS # CONTENTS

21905…13 9 Flank socket 1/4”, 12 pt. 3/16”, 7/32”, 1/4”, 9/32”, 5/16”, 11/32”, 3/8”, 7/16”, 1/2”

8113700…03 4 Bit socket PH 1/4”, bit PH.0, PH.1, PH.2, PH.3

8133704…65 3 Bit socket slotted 1/4”, 4, 5.5, 6.5

81413703…06 4 Bit socket hex 1/4”, 1/8”, 5/32”, 3/16”, 7/32”

8163710…40 7 Bit socket TX 1/4”, T10, T15, T20, T25, T27, T30, T40 - 7121501 1 Ratchet 1/4” 60 teeth - 7131115 1 Sliding T-handle 1/4” - 7141050 1 Extension 1/4”, 50mml

71511 1 Universal joint 1/4”

72401 1 Spinner 1/4”, 150mml

22906…21 10 Flank socket 3/8”, 12 pt. 1/4”, 5/16”, 3/8”, 7/16”, 1/2”, 9/16”, 5/8” 11/16”, 3/4”, 13/16”

2296306…21 10 Flank deep socket 3/8”, 12 pt. 1/4”, 5/16”, 3/8”, 7/16”, 1/2”, 9/16”, 5/8” 11/16”, 3/4”, 13/16”

82414803…12 7 Bit socket hex 3/8’’ 1/8”, 5/32”, 3/16”, 1/4”, 5/16”, 3/8”, 7/16”

8214801…03 3 Bit socket PH 3/8”, PH.1, PH.2, PH.3

8224801…03 3 Bit socket PZ 3/8”, PZ.1, PZ.2, PZ.3

82348055…08 3 Bit socket slotted 3/8”, 5.5, 7, 8

8264810…55 10 Bit socket TX 3/8”, T10, T15, T20, T25, T27, T30, T40, T45, T50, T55 - 7121502 1 Ratchet 3/8”, 60 teeth - 7142075…250 2 Extension 3/8”, 75, 250mml - 71521 1 Universal joint 3/8”

7171216…21 2 Spark plug socket 3/8”, 16, 21 - 71632 1 Adaptor 1/2”(F)x3/8”(M)

302801 - SOCKET SET 1/2”, 28-PCS BMCS (SAE)

TOOLS # CONTENTS

23910…32 15 Flank socket 1/2”, 12 pt. 3/8”, 7/16”, 1/2”, 9/16”, 5/8”, 11/16”, 3/4”, 13/16”, 7/8”, 15/16” 1”, 1.1/16”, 1.1/8”, 1.3/16”, 1.1/4” 834106206…17 8 Bit socket hex 1/2’’ 1/4”, 9/32”, 5/16”, 11/32”, 3/8”, 7/16”, 9/16”, 5/8”

7121503 1 Ratchet 1/2” 60 teeth

- 7143125...250 2 Extension 1/2”, 125, 250mml - 71623 1 Adaptor 3/8”(F)x1/2”(M) - 71531 1 Universal joint 1/2” 303401 - SOCKET AND WRENCH SET 1/2”, 34-PCS BMCS (SAE)

TOOLS # CONTENTS

23910…32 15 Flank socket 1/2” 12 pt. 3/8”, 7/16”, 1/2”, 9/16”, 5/8”, 11/16”, 3/4”, 13/16”, 7/8”, 15/16”, 1”, 1.1/16”, 1.1/8”, 1.3/16”, 1.1/4”

7121503 1 Ratchet 1/2” 60 teeth

- 7143125…250 2 Extension 1/2”, 125, 250mml - 71531 1 Universal joint 1/2” 7171316…21 2 Spark plug socket 1/2”, 16, 21 - 71623 1 Adaptor 3/8”(F)x1/2”(M)

4150206…24 12 Combination wrench 1/4”, 5/16”, 3/8”, 7/16”, 1/2”, 9/16”, 5/8”, 11/16”, 3/4”, 13/16”, 7/8”, 15/16”

SONIC-EQUIPMENT.COM 263 04 103202
COMBINATION SET
32-PCS BMCS (SAE) 1074 GRAM
-
1/4”,
-
-
205301 - SOCKET & BITSOCKET SET
53-PCS BMCS (SAE) 4418 GRAM TOOLS # CONTENTS
3/8”
4704 GRAM
-
6346 GRAM
-
-

# CONTENTS

21905…13 9 Flank socket 1/4”, 12 pt. 3/16” , 7/32”, 1/4”, 9/32”, 5/16”, 11/32”, 3/8”, 7/16”, 1/2”

2195006…12 7 Flank deep socket 1/4”, 12 pt. 1/4”, 9/32”, 5/16”, 11/32”, 3/8”, 7/16”, 1/2”

81413703…06 4 Bit socket hex 1/4”, 1/8”, 5/32”, 3/16”, 7/32”

8163708…30 7 Bit socket TX 1/4”, T8, T10, T15, T20, T25, T27, T30

8133704…65 3 Bit socket slotted 1/4”, 4, 5.5, 6.5

8113701…02 2 Bit socket PH 1/4”, PH.1, PH.2

8123701…02 2 Bit socket PZ 1/4”, PZ.1, PZ.2

7121501 1 Ratchet 1/4” 60 teeth

- 7131115 1 Sliding T-handle 1/4”

- 7141050…100 2 Extension 1/4”, 50, 100mml

- 71511 1 Universal joint 1/4”

- 72401 1 Spinner 1/4”, 150mml

- 184-3 3 Hex key 1.5, 2, 2.5

23910…32 15 Flank socket 1/2” 12 pt. 3/8”, 7/16”, 1/2”, 9/16”, 5/8”, 11/16”, 3/4”, 13/16, 7/8”, 15/16”, 1”, 1.1/16”, 1.1/8”, 1.3/16”, 1.1/4”

2397713…22 5 Flank deep socket 1/2” 12 pt. 1/2”, 5/8”, 11/16”, 3/4”, 7/8”

7121503 1 Ratchet 1/2” 60 teeth

- 7143125…250 2 Extension 1/2”, 125, 250mml

- 71531 1 Universal joint 1/2”

7171316…21 2 Spark plug socket 1/2”, 16, 21 - 71623 1 Adaptor 3/8”(F)x1/2”(M)

72032 1 Bit holder 1/2”(F)x5/16”(F)

9243007…14 5 Bit hex 5/16” 30mml, 7, 8, 10, 12, 14mm

9263040…55 4 Bit TX 5/16” 30mml, T40, T45, T50, T55

9233008…12 3 Bit slotted 5/16” 30mml, 8, 10, 12mm

9213003…04 2 Bit PH 5/16” 30mml, PH.3, PH.4

9223003…04 2 Bit 5/16” 30mml, PZ.3, PZ.4

SONIC-EQUIPMENT.COM 264 Toolsets - BMCS 04 308502 - SOCKET SET 1/4’’ & 1/2’’, 85-PCS BMCS (SAE) 5984 GRAM TOOLS
-
-
-
S403 - EMPTY BLOW MOULD CASE 240 X 120 X 45MM 386 GRAM S404 - EMPTY BLOW MOULD CASE 280 X 150 X 45MM 554 GRAM S407 - EMPTY BLOW MOULD CASE 340 X 220 X 60MM 936 GRAM
- EMPTY BLOW MOULD CASE 380 X 250 X 65MM 1328
S409
GRAM
EMPTY BLOW MOULD CASE 380
250
85MM
- EMPTY BLOW MOULD CASE 440 X 310 X 75MM 1772
S409-1 -
X
X
1256 GRAM S413
GRAM

WORK EFFICIENT WORK WITH SONIC

Toolsets

WORK EFFICIENT, WORK WITH SONIC.

SONIC-EQUIPMENT.COM 266
04

3

4 Screwdrivers: Slotted: 2.5 x

3 Screwdrivers:

2

3

7

1 Bit T10+T15

601001-8 1 Bit T20+T25

601001-9 1 Bit T27+T30

601001-10 1 Bit hex 3mm+4mm

601503 - IMPACT DRIVER SET, 15-PCS

# PCS CONTENTS 72501

4 Bit PH 5/16” 36mml, PH.1, PH.2, PH.3, PH.4 72032 1 Bit holder 1/2”(F) x 5/16”(F)

103101 - BIT SET 1/4”, 31-PCS

# PCS CONTENTS

7120401 1 Ratchet 1/4”

103101-2…4 3 Bit PH.1, PH.2, PH.3

103101-5…7 3 Bit PZ.1, PZ.2, PZ.3

103101-8…12 5 Bit slotted, 3.5, 4.5, 5.5, 6.5, 8mm

103101-13…19 7 Bit hex, 2, 3, 4, 5, 6, 7, 8mm

103101-20…29 10 Bit TX, T7, T8, T9, T10, T15, T20, T25, T27, T30, T40

103101-30…31 2 Bit robertson, R1, R2

SONIC-EQUIPMENT.COM 267 04 605003 - VDE TOOLSET, 50-PCS A comprehensive 50 piece insulated tool set - 1000V, VDE & GS certified. PCS CONTENTS
100mm,
150mm
Screwdrivers: PH.1 x 80mm, PH.2 x
PH.2 x
75mm,
x 100mm,
100mm, 4 x100mm
3
3.5 x
TX:
x 100mm, T25 x 125mm, T30 x 150mm 17 3/8” Socket set: 6, 7, 8, 9, 10, 11, 12, 13, 14, 15, 16, 17, 18, 19, 20, 21, 22mml
T20
Extensions: 150, 250mm
3/8”
1 3/8” Ratchet
bits:
M12
Spline
M8, M10,
Pliers set: cable shears, bent nose pliers, long nose pliers, flat nose pliers, side cutters, water pump pliers and an insulated cable stripping knife 10 Protective 100mm sleeves: 5 x 18mm and 5 x 24mm 601020 - VDE SLIM INSULATE SCREWDRIVER SET, 10-PCS PCS CONTENTS 8 PH.1, PH.2, PZ.1, PZ.2, 3.5, 4, 5.5, 6.5 601115 - VDE TOOL KIT, 11 PCS PCS CONTENTS 1 VDE 3/8” Ratchet 1 VDE 3/8” Extension 125mmL 9 VDE 3/8” 12pt Flank socket 8, 10, 11, 12, 13, 14, 15, 16, 17 601001 - 16 IN 1 RATCHET SCREWDRIVER # PCS CONTENTS 601001-1 1 Ratchet grip 601001-2 1 Bit holder 601001-3 1 Bit PH.1+PH.2 601001-4 1 Bit PZ.1+PZ.2 601001-5 1 Bit slotted 3.5mm + 5mm 601001-6 1 Bit 1/4” 601001-7
1 Impact driver 9243604...08 4 Bit hex 5/16” 36mml, 4, 5, 6, 8mm 9233605...12 5 Bit slotted 5/16” 36mml, 5, 6,
10, 12mm 9213601...04
8,

CONTENTS

1 Bit holder 1/4”(F)x1/4”(M) 65mml

1 Bit adaptor 1/4”(F)x1/4”(F) 25mml

4 Bit slotted 1/4” 25mml, 3, 4, 5.5, 6.5mm

4 Bit PH 1/4” 25mml, PH.1, PH.2, PH.3, PH.4

4 Bit PZ 1/4” 25mml, PZ.1, PZ.2, PZ.3, PZ.4

6 Bit hex 1/4” 25mml, 2, 2.5, 3, 4, 5, 6mm

6 Bit TX 1/4” 25mml, T10, T15, T20, T25, T30, T40

PCS CONTENTS

1 Extension ratchet driver 1/4” 3 Bit phillips 1/4” 25mml PH.1, PH.2, PH.3

2 Bit pozidriv 1/4” 25mml PZ.1, PZ.2

3 Bit slotted 1/4” 25mml 4, 4.5, 5mm 4 Bit TX 1/4” 25mml T10, T15, T20, T25 1 Bit hex 1/4” 25mml 4mm

6 Bit TX tamperproof 1/4” 25mml, T10H, T15H, T20H, T25H, T30H, T40H

- 1/4” or 12mm - Sockets are manufactured from chrome

4 7, 8, 10, 12mm

6 Hex 4, 5, 6, 7, 8, 10mm

5 TX T27, T30, T40, T45, T50

4 Spline M5, M6, M8, M10 1 12mm Bi-Hex ratchet spanner

PCS CONTENTS

1 Bit ratchet handle for 10mm Hex bit 1 Bit ratchet handle for 5/16” Hex bit 1 Bit ratchet handle for 1/4” Hex bit

1 Adaptor Hex 10mm - 3/8”

1 Adaptor Hex 5/16” - 3/8”

1 Adaptor Hex 1/4” - 1/4”

101901 - DISC RATCHET SET 1/4”, 19-PCS

# PCS CONTENTS

21506…12 5 Flank socket 1/4”, 6 pt. 6, 8, 9, 10, 12mm

7110301 1 Disc ratchet 1/4”, 72 teeth

7141050 1 Extension 1/4” 50mml

72011 1 Bit holder 1/4”(F) x 1/4”(F)

9112501…03 3 Bit PH 1/4” 25mml, PH.1, PH.2, PH.3

9132503…06 4 Bit slotted 1/4” 25mml, 3, 4, 5, 6mm

9142503…05 3 Bit hex 1/4” 25mml, 3, 4, 5mm

SONIC-EQUIPMENT.COM 268 Toolsets 04 103201
PCS
- BIT SET, 32-PCS
829136
WHEEL
KEY SET - AUDI, 22-PCS
supplied
car
use where space
restricted PCS
-
NUT
vanadium - 1/4” with locking ring for use with
ratchet spanner - Bits made from SNCM-V - Ideal for
door hinges and for
is
CONTENTS
601906
19-PCS # PCS CONTENTS 72403 1 Long flexible spinner 1/4” 545mmL 4753701 1 Flexible Socket screwdriver, Hex 7mm 545mml 72001 1 Long flexible magnetic bit holder 1/4 , 545mml 21505…10 5 Flank socket 1/4 , 6 pt. 5, 6, 7, 8, 10mm - 2 Bit PH.1, PH.2 - 2 Bit slotted 5.5, 6.5mm - 6 Bit T10, T15, T20, T25, T27, T30 601408
14 IN 1 EXTENSION RATCHET DRIVER & BIT SET
- FLEXIBLE HOSE CLIP DRIVER SET,
-
100602
- MINI RATCHET SET, 6-PCS

- ADAPTOR SET, 6-PCS

71912 1 Adaptor 1/4”(F) x 3/8”(M)

71921 1 Adaptor 3/8”(F) x 1/4”(M) 71923 1 Adaptor 3/8”(F) x 1/2”(M) 71932 1 Adaptor 1/2”(F) x 3/8”(M)

71934 1 Adaptor 1/2”(F) x 3/4”(M)

71943 1 Adaptor 3/4”(F) x 1/2”(M)

300605 - IMPACT ADAPTOR SET, 6-PCS

50mml, 100mml

# PCS CONTENTS

73612 1 Impact adaptor 1/4”(F) x 3/8”(M)

73621 1 Impact adaptor 3/8”(F) x 1/4”(M)

73623 1 Impact adaptor 3/8”(F) x 1/2”(M)

73632 1 Impact adaptor 1/2”(F) x 3/8”(M)

73634 1 Impact adaptor 1/2”(F) x 3/4”(M)

73643 1 Impact adaptor 3/4”(F) x 1/2”(M)

402001 - SOCKET SET 3/4”, 12 PT. 20-PCS

# PCS CONTENTS

24919…50 16 Socket 3/4”, 12 pt. 19, 21, 22, 23, 24, 26, 27, 29, 30, 32, 35, 36, 38, 41, 46, 50mm

7121204 1 Ratchet 3/4” 24 teeth

7134450 1 Sliding T-handle 3/4”

7144100…200 2 Extension 3/4” 100mml, 200mml

SONIC-EQUIPMENT.COM 269 04 75214 - SOCKET & BIT SET 1/4”, 36-PCS PCS CONTENTS
Flat ratcheting wrench 11mm 1 Bit holder 1/4”(F) x 1/4”(F) 1 Extension 1/4”, 50mmL
Bit 1/4”, 25mml PH.0, PH.1, PH.2, PH.3 3 Bit 1/4”, slotted 25mmL 4, 5, 6mm 6 Bit 1/4”, hex 25mml 2, 2.5, 3, 4, 5, 6mm 7 Bit 1/4”, 25mml, T10, T15, T20, T25, T27, T30, T40 13 Multi grip socket 1/4”, 4, 4.5, 5, 5.5, 6, 7, 8, 9, 10, 11, 12, 13, 14mm 104601 - BIT SOCKET SET 1/4”, 46-PCS # PCS CONTENTS 21504…14 13 Flank socket 1/4”, 6 pt. 4, 4.5, 5, 5.5, 6, 7, 8, 9, 10, 11, 12, 13, 14mm 8143703…08 6 Bit socket hex 1/4”, 3, 4, 5, 6, 7, 8mm 8163710…40 6 Bit socket TX 1/4”, T10, T15, T20, T25, T30, T40 8133704…065 3 Bit socket slotted 1/4”, 4, 5.5, 6.5mm 8113701...03 3 Bit socket PH 1/4”, PH.1, PH.2, PH.3 8123701...03 3 Bit socket PZ 1/4”, PZ.1, PZ.2, PZ.3 7120201 1 Ratchet 1/4” 24 teeth 7131115 1 Sliding T-handle 1/4” 7141050...100 2 Extension 1/4”
71511
7191125
72401
7211
extension
184-3 3 Hex key wrench
1
4
1 Universal joint 1/4”
1 Adaptor bit 1/4” hex-1/4” square 25mml
1 Spinner 1/4” 150mml
1 Flexible
1/4”
1.5, 2, 2.5mm
300603
# PCS CONTENTS

WORK EFFICIENT, WORK WITH SONIC.

SONIC-EQUIPMENT.COM 270
04

#49502 (made in EU)

Empty tool case

Tool case with 78 elastic tool holders and a bottom tray for subdivision. Features 11 tool holders in the tray cover and 2 inserts within the tray itself. In the tool case there is a double-sided tool panel with 28+17 tool holders and a document holder.

Main features

- Material: ABS-hard shell case, protects case and content - 2 cylinder key-locks integrated in frame

#49503 (made in EU)

Empty tool case with wheels

Portable tool case with 79 elastic tool holders and a bottom tray for subdivision. Features 11 tool holders in the tray cover and an assortment of 5 inserts within the tray itself. In the tool case there is a double-sided tool panel with 28+17 tool holders plus a further single-sided panel with 23 tool holders and a document holder.

Main features

- Material: ABS-hard shell case, protects case and content - 2 cylinder key-locks integrated in frame

SONIC-EQUIPMENT.COM 271 04
Width 485mm Height 215mm Depth 410mm Empty weight Aluminum black Case with gas struts 5,8 6,8 Load capacity 25
Width 485mm Height 250mm Depth 410mm Empty weight Aluminum black Case with gas struts Load capacity 25

Filled carry tool case

SONIC-EQUIPMENT.COM 272 Toolcases 04 SCREWDRIVER PH # CONTENTS 1311 Screwdriver PH.1 1312 Screwdriver PH.2 1313 Screwdriver PH.3 SLOTTED SCREWDRIVER # CONTENTS 13303 Slotted screwdriver 3mm 13304 Slotted screwdriver 4mm 13355 Slotted screwdriver 5.5mm 13365 Slotted screwdriver 6.5mm SCREWDRIVER TX # CONTENTS 13610 Screwdriver T10 13615 Screwdriver T15 13620 Screwdriver T20 13625 Screwdriver T25 13627 Screwdriver T27 13630 Screwdriver T30 COMBINATION PLIERS # CONTENTS 4311175 Combination pliers 7” LONG NOSE PLIERS # CONTENTS 4321200 Long nose pliers 8” DIAGONAL PLIERS # CONTENTS 4341175 Diagonal pliers 7” #713203 Filled carry case 132-PCS #49502 Empty carry case COMBINATION WRENCH # CONTENTS 601401 Combination wrench set in pouch, 14-pcs 6, 7, 8, 9, 10, 11, 12, 13, 14, 15, 16, 17, 19, 22mm WATERPUMP PLIERS # CONTENTS 4351180 Waterpump pliers 7'' 4351250 Waterpump pliers 10'' ADJUSTABLE WRENCH # CONTENTS 42302150 Adjustable wrench 6” 42301250 Adjustable wrench 10” WIRE STRIPPER # CONTENTS 4471250 Wire stripper 10” GRIP CHISEL # CONTENTS 45112160 Grip chisel 160mml 12 45118190 Grip chisel 190mml 18 GRIP TAPER PUNCH # CONTENTS 4553185 Grip taper punch 185mml 3 MACHINIST HAMMER # CONTENTS 4611400 Machinist hammer 400gr fibre handle TPR cover UTILITY KNIFE # CONTENTS 46808 Utility knife including 10 blades MEASURING TAPE # CONTENTS 47013 Measuringtape 5 meter TELESCOPIC MAGNET # CONTENTS 4820110 Telescopic magnet FLASH PEN # CONTENTS 4821105 Flash Pen HEX KEY # CONTENTS 601008 Hex ball key set extra long, 10-pcs TX KEY # CONTENTS 600902 TX key set extra long, 9-pcs T10, T15, T20, T25, T27, T30, T40 FLANK SOCKET SET # CONTENTS 104601 Socket set 1/4”, 46-pcs SOCKET SET # CONTENTS 302404 1/2” socket set BMCS, 24-pcs

Filled portable tool case trolley

SONIC-EQUIPMENT.COM 273 04 SCREWDRIVER PH # CONTENTS 1311 Screwdriver PH.1 1312 Screwdriver PH.2 1313 Screwdriver PH.3 SLOTTED SCREWDRIVER # CONTENTS 13303 Slotted screwdriver 3mm 13304 Slotted screwdriver 4mm 13355 Slotted screwdriver 5.5mm 13365 Slotted screwdriver 6.5mm SCREWDRIVER TX # CONTENTS 13610 Screwdriver T10 13615 Screwdriver T15 13620 Screwdriver T20 13625 Screwdriver T25 13627 Screwdriver T27 13630 Screwdriver T30 COMBINATION PLIERS # CONTENTS 4311175 Combination pliers 7” LONG NOSE PLIERS # CONTENTS 4321200 Long nose pliers 8” DIAGONAL PLIERS # CONTENTS 4341175 Diagonal pliers 7” #713204 Filled portable case trolley 132-PCS #49503 Empty portable case trolley COMBINATION WRENCH SET # CONTENTS 601401 Combination wrench set in pouch, 14-pcs 6, 7, 8, 9, 10, 11, 12, 13, 14, 15, 16, 17, 19, 22mm WATERPUMP PLIERS # CONTENTS 4351180 Waterpump pliers 7'' 4351250 Waterpump pliers 10'' ADJUSTABLE WRENCH # CONTENTS 42302150 Adjustable wrench 6” 42301250 Adjustable wrench 10” WIRE STRIPPER # CONTENTS 4471250 Wire stripper 10” GRIP CHISEL # CONTENTS 45112160 Grip chisel 160mml 12 45118190 Grip chisel 190mml 18 GRIP TAPER PUNCH # CONTENTS 4553185 Grip taper punch 185mml 3 MACHINIST HAMMER # CONTENTS 4611400 Machinist hammer 400gr fibre handle TPR cover UTILITY KNIFE # CONTENTS 46808 Utility knife including 10 blades MEASURING TAPE # CONTENTS 47013 Measuringtape 5 meter TELESCOPIC MAGNET # CONTENTS 4820110 Telescopic magnet FLASH PEN # CONTENTS 4821105 Flash Pen HEX KEY # CONTENTS 601008 Hex ball key set extra long, 10-pcs TX KEY # CONTENTS 600902 TX key set extra long, 9-pcs T10, T15, T20, T25, T27, T30, T40 FLANK SOCKET SET # CONTENTS 104601 Socket set 1/4”, 46-pcs SOCKET SET # CONTENTS 302404 1/2” socket set BMCS, 24-pcs

• Measurements Tool bag (L x W x H): 33 x 24 x 47cm

• Volume: 16L

• Empty weight: 2,6kg

• Max loadcapacity: 20kg

Tool bag for professional use

#47799

Empty tool bag

#708401

Tool bag with basic filling, 84-PCS

#711201

Tool bag with advanced filling, 112-PCS

SONIC-EQUIPMENT.COM 274 04 Toolbags
SONIC-EQUIPMENT.COM 275 04 NO Sonic NO Size Length Basic Advanced 1.27 1.5 2 2.5 3, 4, 5, 6, 8, 10mm 2.5, 3, 4, 5, 6, 8, 10mm Socket & bit 1/4” 35PCS 8, 9, 10, 11, 12, 13, 14, 15, 16, 17, 18, 19mm 6, 7, 8, 9, 10, 11, 12, 13, 14, 15, 16, 17, 19, 22mm T10, T15, T20, T25, T27, T30,T40, T45, T50 1 2 3 4 5 6 7 8 9 10 11 12 13 14 15 16 17 18 19 20 21 22 23 24 25 26 27 28 29 30 31 32 33 34 35 36 37 38 V V V V V V V V V V V V V V V V V V V V V V V V V V V V V V V V V V V V V V V V V V V V V V V V V V V V V V V V V 133055S 13630 13627 13625 13620 13615 13610 1312S 1313 1312 1311 13365 13355 13304 13303 47013 4170401 4170402 42301250 4380250 4352250 601008 600902 7143125 7121503 301201 103502 600713 4620400 46806 4611400 601409 45112160 45118190 4564185 4341175 4311175 4321200 5.5mm T30 T27 T25 T20 T15 T10 PH.2 PH.3 PH.2 PH.1 6.5mm 5.5mm 4mm 3mm 5M 8-10, 12-13 16-17, 18-19 10" 10" 10" 1/2" 1/2" 40mm 400gr 12mm 18mm 4mm 7" 7" 8" 104mm 215mm 215mm 215mm 203mm 203mm 203mm 104mm 274mm 215mm 183mm 265mm 228mm 192mm 167mm 81mm 160mm 230mm 250mm 230mm 250mm 125mm 262mm 295mm 157mm 310mm 160mm 190mm 185mm 170mm 190mm 200mm 6.3 1/4” 12.5 1/2” 12.5 1/2” 12.5 1/2” 16 Basic (84PCS TOOLS BACKPACK) Advanced (112PCS TOOLS BACKPACK) 708401 711201 1 6 11 2 3 4 5 7 8 9 10 12 13 14 15 22 23 24 25 26 27 16 21 17 18 19 20 36 37 38 33 34 35 29 30 31 32 28 SO NI C- E QU IPMEN T .CO M | 1 *The inventory order list can also be found on our website under downloads at the specific article.

Portable toolboxes

SONIC-EQUIPMENT.COM 276
WORK EFFICIENT, WORK WITH SONIC. 04
SONIC-EQUIPMENT.COM 277 04 TOPBOX TOPBOX Service topbox 4 drawers Service topbox 4 drawers and lid Empty topbox S9 4 drawers Empty topbox trolley 4 drawers Toolbox Main features - Sheet thickness cover 0,6mm, sheet thickness box 0,55mm - Piano hinged cover - ‘Sonic’ print in both lower trays in the left corner of the long sides - Powder coated exterior #4730414 #4730434 #4730224 #4733014 #4730415 102MM 45MM 531,4MM XS Width 556mm Width 859mm Width 859mm Height 337mm Height 464mm Height 642mm Depth 243mm Depth 532mm Depth 532mm Width 556mm Height 243mm Depth 243mm Empty weight Empty weight Empty weight Empty weight 11,5 15 39 46 Centralized keyed lock Ball bearing drawer slides Powder coating exterior Centralized keyed lock Ball bearing drawer slides Powder coating exterior Centralized keyed lock Ball bearing drawer slides Powder coating exterior Centralized keyed lock Ball bearing drawer slides Powder coating exterior Drawer 100% retractable Drawer 100% retractable Drawer 100% retractable Colour RAL 7011 Colour RAL 7011 Colour RAL 7011 Colour RAL 7011 Drawer 100% retractable Width 565mm Height 200mm Depth 200mm Empty weight 5,1 Colour RAL 7011 Compatible with Sonic Foam System Compatible with Sonic Foam System Compatible with Sonic Foam System Compatible with Sonic Foam System S S S S S S M XS XS M

WORK EFFICIENT WORK WITH

SONIC

SONIC-EQUIPMENT.COM 279 04 4 47030 4 47030 XS #709601 #709671 #708971 € 672,99 #704721 #704771 Filled topbox 96-PCS Filled topbox with lid 96-PCS Filled topbox with lid 89-PCS Filled topbox 47-PCS Filled topbox with lid 47-PCS KARTING KARTING MOTOR CYCLE
1 602402 1 602402 3 305101 1 102502 1 600720 3 203103 2 103203 4 601910 1 102502 3 601112 3 601112 2 601018 2 601018 3 305101 2 600929 2 600929 4 601203 4 601203
Topboxes

# CONTENTS

22515…24 8 Flank socket 3/8”, 6 pt. 15, 16, 17, 18, 19, 21, 22, 24mm

23522…32 3 Flank socket 1/2”, 6 pt. 27, 30, 32mm

83406214 2 Bit socket hex 1/2”, 14, 17mm

8264827…50 6 Bit socket TX 3/8”, T27, T30, T40, T45, T50

8244807…12 5 Bit socket hex 3/8”, 7, 8, 9, 10, 12mm

7142075…150 2 Extension 3/8”, 75, 150mml

71921 1 Adaptor 3/8”(F) x 1/4”(M)

7121502 1 Ratchet 3/8” 60 teeth

72601 1 Speedy T-grip 1/4”

1 Hex key set folding 7-pcs - 7141050…150 3 Extension 1/4” 50, 100, 150mml

7121501 1 Ratchet 1/4” 60 teeth FOR A COMPLETE INVENTORY ORDER LIST SEE OUR WEBSITE

7121503 1 Ratchet 1/2” 60 teeth - 7273380 1 Swivel grip handle 1/2” 380mml FOR A

# CONTENTS - 41506…24 19 Combination wrench 6, 7, 8, 9, 10, 11, 12, 13, 14, 15, 16, 17, 18, 19, 20, 21, 22, 23, 24mm FOR A COMPLETE INVENTORY ORDER LIST SEE OUR WEBSITE

SONIC-EQUIPMENT.COM 280 04 Portable toolboxes 600720 - COMBINATION SET, 7-PCS 472 X 202MM XS MOTOR CYCLE 1698 GRAM TOOLS # CONTENTS - 4821105 1 Flash pen - 4611400 1 Machinist hammer with ash handle, 400gr - 4351250 1 Waterpump pliers 10” - 46911 1 Flat file 8” - 4321170 1 Long nose pliers 6” - 4341175 1 Diagonal pliers 7” - 47013 1 Measuring tape 5 meter FOR A COMPLETE INVENTORY ORDER LIST SEE OUR WEBSITE 103203 - SOCKET SET 1/4”, SFS, 32-PCS 472 X 202MM XS MOTOR CYCLE 2000 GRAM TOOLS # CONTENTS 1311…2 2 Screwdriver PH.1, PH.2 13303…65 7 Screwdriver slotted, 3, 3.5, 4, 5.5, 6.5mm 21504…14 13 Flank socket 1/4”, 6 pt. 4, 4.5, 5, 5.5, 6, 7, 8, 9, 10, 11, 12, 13, 14mm - 71511 1 Universal joint 1/4” 8143703…6
-
600712
-
203103
472
202MM XS
3470 GRAM TOOLS
4 Bit socket hex 1/4”, 3, 4, 5, 6mm 8163708…40 4 Bit socket TX 1/4”, T15, T20, T25
- COMBINATION SET 3/8”, 31-PCS
X
MOTOR CYCLE
-
-
-
601910
WRENCH SET,
19-PCS 472 X 202MM XS MOTOR CYCLE 2970 GRAM TOOLS
-
COMPLETE INVENTORY ORDER LIST SEE OUR WEBSITE
- COMBINATION
SFS,

# CONTENTS

47003 1 Stainless steel vernier caliper 1311…2 2 Screwdriver PH, PH.1, PH.2

13304…65 2 Screwdriver slotted, 4, 6.5mm

47013 1 Measuring tape 5 meter - 7110301 1 Disc ratchet 1/4” 72 teeth

8143703…06 4 Bit socket hex 1/4”, 3, 4, 5, 6mm

21504…13 10 Flank socket 1/4”, 6 pt. 4, 5, 6, 7, 8, 9, 10, 11, 12, 13mm

71511 1 Universal joint 1/4” - 7141050...150 2 Extension 1/4”, 50, 150mml - 7121501 1 Ratchet 1/4” 60 teeth FOR A COMPLETE INVENTORY ORDER LIST SEE OUR WEBSITE

# CONTENTS

23510…32 20 Flank socket 1/2”, 6 pt. 10, 11, 12, 13, 14, 15, 16, 17, 18, 19, 20, 21, 22, 23, 24, 25, 26, 27, 28, 30, 32mm

71531 1 Universal joint 1/2”

7143125…250 2 Extension 1/2” 125, 250mml

7121503 1 Ratchet 1/2” 60 teeth

7172316..21 Spark plug socket 1/2”, 16, 18, 21mm

21504…13 12 Flank socket 1/4”, 6 pt. 4, 4.5, 5, 5.5, 6, 7, 8, 9, 10, 11, 12, 13mm

8173710…40 7 Bit socket TX tamperproof 1/4”, T10H, T15H, T20H, T25H, T27H, T30H, T40H

71511 1 Universal joint 1/4”

7141050…100 2 Extension 1/4” 50, 100mml

72401 1 Spinner 150mml 1/4”

7121501 1 Ratchet 1/4” 60 teeth

SONIC-EQUIPMENT.COM 281 04 102502 - COMBINATION SET, 25-PCS 472 X 202MM XS KARTING 1324 GRAM TOOLS
-
-
305101 - SOCKET SET,
472 X 202MM XS 4120 GRAM TOOLS
-
51-PCS
-
-
-
-
-
FOR A COMPLETE INVENTORY ORDER LIST SEE OUR WEBSITE 601203 - COMBINATION WRENCH SET, SFS, 12-PCS 472 X 202MM XS 1160 GRAM TOOLS # CONTENTS - 41508…19 12 Combination wrench 8, 9, 10, 11, 12, 13, 14, 15, 16, 17, 18, 19mm FOR A COMPLETE INVENTORY ORDER LIST SEE OUR WEBSITE 600929 - SOCKET SET, 51-PCS 472 X 202MM XS 2000 GRAM TOOLS # CONTENTS 1310…12 3 Screwdriver PH, PH.0, PH.1, PH.2 13335…08 5 Screwdriver slotted, 3.5, 4, 5.5, 6.5, 8mm FOR A COMPLETE INVENTORY ORDER LIST SEE OUR WEBSITE 601018 - COMBINATION SET, 10-PCS 472 X 202MM XS KARTING 1130 GRAM TOOLS # CONTENTS 1950203…08 5 Hex ball point grip key 3, 4, 5, 6, 7, 8mm 14423010…13 2 Hex nut driver T-handle 10, 13mm - 46912 1 Half round file 8” - 46804 1 Universal knife - 47004 1 Stainless steel straight ruler 30cm FOR A COMPLETE INVENTORY ORDER LIST SEE OUR WEBSITE 601112 - PLIERS & HAMMER SET, 11-PCS 472 X 202MM XS KARTING 2300 GRAM TOOLS # CONTENTS - 47814 1 Hook for exhast rubber rings - 4311175 1 Combination pliers 7” - 4170210…13 2 Reversible ratcheting wrench 12 pt. 10, 13mm - 4620400 1 Install hammer soft/hard, with ash handle, 400gr - 4111719 1 Flare nut wrench 17x19 - 4341180 1 Diagonal pliers - 4321200 1 Long nose pliers 8” - 41508…13 3 Combination wrench 8, 10, 11, 13mm FOR A COMPLETE INVENTORY ORDER LIST SEE OUR WEBSITE
-
-

S9 topbox 4 drawers. 3 drawers filled with 206-PCS tools

S9 topbox 4 drawers. 3 drawers filled with 206-PCS tools 1

S9 topbox 4 drawers. 4 drawers filled with 285-PCS tools

S9 topbox 4 drawers. 4 drawers filled with 285-PCS tools

SONIC-EQUIPMENT.COM 282 04 Portable toolboxes
602904 3 601707 2 316001
M 1 112102 3 604002 2 310101
#720628 S9 #720634 S9 PORTABLE TOPBOX
#728528 S9
#728534 S9 PORTABLE TOPBOX
4 602302 M
SONIC-EQUIPMENT.COM 283 04 #706201 Filled portable toolbox 62-PCS Portable toolbox
SONIC-EQUIPMENT.COM 284 Toolboxes WORK EFFICIENT WORK WITH SONIC
SONIC-EQUIPMENT.COM 285

Special tools

WORK EFFICIENT, WORK WITH SONIC.

SONIC-EQUIPMENT.COM 286
04
SONIC-EQUIPMENT.COM 287 04 4560201 - COTTER PIN DRIVER FOR BRAKE - With extra long mandrel, specially for brake pins - 175mml - 4mm 803001 - ELECTRICAL CONNECTION CLIP REMOVER, 2-PCS - Handy tools for removing electrical clips in confined or difficult areas - Cushioned grip handles for non-slip operation - Hook style and flat # DESCRIPTION 803001-1 Clip remover hook 803001-2 Clip remover flat 600436 - PRY BAR HEAVY DUTY SET, 4-PCS # DESCRIPTION - Pry bar (straight) 890mml - Pry bar (45°) 890mml - Pry bar (75°) 635mml - Pry bar (90°) 635mml 600403 - PRY BAR SET, 4-PCS # PCS DESCRIPTION 48203210 1 Bent pry bar 8” 48203300 1 Bent forked pry bar 12” 48203460 1 Elbow bent pry bar 18” 48203610 1 Extended pry bar 24”
- With extra long
brake
-
- 6mm
4560202 - COTTER PIN DRIVER FOR BRAKE
mandrel, specially for
pins
175mml
# PCS DESCRIPTION 47818 1 Sticker scraper 47819 1 Seal scraper 47820 1 Angle scraper
600320 - SCRAPER SET, 3-PCS

Special tools

- Universal ratcheting pry bar allow easy acces into areas which are difficult to reach

- Flexible head allows 8 different angles

- High leverage gear design provides maximum leverage while lifting and cutting back

- Fast and easy adjustable - Thin feet - For using/disassembling: gearbox, cilinderhead, waterpump and other parts - Lenghts: 250mm, 300mm, 380mm

803005-2

803005-3

803005-4

803005-5

SONIC-EQUIPMENT.COM 288
04
UNIVERSAL
BAR SET,
805003 -
RATCHETING PRY
3-PCS
# DESCRIPTION 805003-1 Universal ratcheting pry bar 10” 805003-2 Universal ratcheting pry bar 12” 805003-3 Universal ratcheting pry bar 15” 803004
PRY REMOVER SET, 11-PCS
unique
such as removing small rivet or fine trims, bezels of dashboards, door panels, door locks, electronic seat controls, gear shifter, inner lining etc.
high quality impact-resistant nylon
Does not damage
scratch the surface # PCS DESCRIPTION 803004-1 1 Pry remover 1 803004-2 1 Pry remover 2 803004-3 1 Pry remover 3 803004-4 1 Pry remover 4 803004-5 1 Pry remover 5 803004-6 1 Pry remover 6 803004-7 1 Pry remover 7 803004-8 1 Pry remover 8 803004-9 1 Pry remover 9 803004-10 1 Pry remover 10 803004-11 1 Pry remover 11 821001 - PRY REMOVAL MASTER SET, 27-PCS - Extra slim and unique shape for delicate jobs such as removing small rivet or fine trims, bezels of dashboards, door panels, door locks, electronic seat controls, gear shifter, inner lining,… etc. - Made of high quality impact-resistant nylon material - Does not damage or scratch the surface 48212... - PRY BAR # L(MM) G PCS/BAG 48212380 380 342 5 48212530 530 928 5 48212650 650 1122 5 48222500 - PRY BAR WITH PLASTIC COVER # L(MM) G PCS/BAG 48222500 500 780 5 48222500-1 (cover) 500 150 5 803005 - PRY REMOVER SET, 5-PCS - Extra slim and unique shape for delicate jobs such as removing small rivet or fine trims, bezels of dashboards, door panels, door locks, electronic seat controls, gear shifter, inner lining,… etc. - Made of high quality impact-resistant nylon material - Does not damage or scratch the surface # PCS DESCRIPTION
1 Pry remover 1
-
- Extra slim and
shape for delicate jobs
- Made of
material -
or
803005-1
1 Pry remover 2
1 Pry remover 3
1 Pry remover 4
1 Pry remover 5
SONIC-EQUIPMENT.COM 289 04 600506 - WEDGE UTILITY SET, 5-PCS - Utility wedge set suitable for removal of wide range of exterior body and interior trims - Composite material reduces chanches of marking or scratching paintwork body/trim - Includes fork-ended trim stud removal tool # PCS DESCRIPTION 4821301 1 Wedge universal 190x30mm 4821302 1 Wedge felted surface 250x20mm 4821303 1 Wedge spiky 250x20mm 4821304 1 Wedge universal wide 190x60mm 4821305 1 Wedge special level 230x30mm 4821301 - WEDGE UNIVERSAL # DESCRIPTION L(MM) W(MM) N.W.(G) PCS/BAG 4821301 Wedge universal 190 30 74 1 4821302 - WEDGE FELTED SURFACE # DESCRIPTION L(MM) W(MM) N.W.(G) PCS/BAG 4821302 Wedge felted surface 250 20 90 1 4821303 - WEDGE SPIKY # DESCRIPTION L(MM) W(MM) N.W.(G) PCS/BAG 4821303 Wedge spiky 250 20 40 1 600318 - WEDGE UTILITY SET, 3-PCS - Utility wedge set suitable for removal of wide range of exterior body and interior trims - Composite material reduces chances of marking or scratching paintwork body/trim - Includes fork-ended trim stud removal tool # PCS DESCRIPTION 4821301 1 Wedge universal 190x30mm 4821304 1 Wedge universal wide 190x60mm 4821305 1 Wedge special level 230x30mm 4821304 - WEDGE UNIVERSAL WIDE # DESCRIPTION L(MM) W(MM) N.W.(G) PCS/BAG 4821304 Wedge universal wide 190 60 160 1 4821305 - WEDGE SPECIAL LEVEL # DESCRIPTION L(MM) W(MM) N.W.(G) PCS/BAG 4821305 Wedge special level 230 30 94 1

813001 - CRIMPING PLIERS

- Ratchet mechanism crimper stands for superior labour saving

- Quick insertion changing of jaw without any tool

- Professional AISI 4140 alloy steel crimping jaws

- Ergonomic comfort-grip handle

Features

- Crimping tool set with ratcheting function and adjustable jaws

- Includes 6 exchangeable crimping jaws

- Insulated terminal ends DIN 0.5-6mm²

- Non-insulated terminal ends DIN 1.5-10mm²

- Open barrel terminal ends DIN 0.5-4.0mm²

- Insulated cord-end terminal DIN 0.5-6mm² (for small sizes)

- Insulated cord-end terminal DIN 0.5-6mm² (for large sizes)

- Open barrel terminal & D-SUB,V3.5

# DESCRIPTION

Jaw for insulated terminal

Surface treatment

- Procedure: precision and wax-lost casting

- Finished with heat treatment (HRC 38°-45°)

81302

- Zinc phosphate surface treatment Material

- AISI 4140

Suitable for

- AWG 22-18/16-14/12-10

- DIN 0.5-1.0/1.5-2.5/4-6mm²

# DESCRIPTION

813002 - CRIMPING PLIERS

- Ratchet mechanism crimper stands for superior labour saving

- Quick insertion changing of jaw without any tool

- Professional AISI 4140 alloy steel crimping jaws

- Ergonomic comfort-grip handle

Features

- Crimping tool set with ratcheting function and adjustable jaws

- Includes 10 exchangeable crimping jaws

- Insulated terminal ends DIN 0.5-6mm²

- Non-insulated terminal ends DIN 1.5-10mm²

- Open barrel terminal ends DIN 0.5-4.0mm²

- Insulated cord-end terminal DIN 0.5-6mm² (for small sizes)

- Insulated cord-end terminal DIN 0.5-6mm² (for large sizes)

- Open barrel terminal & D-SUB,V3.5

- Cable connector (BNC)

- 4P4C Connector

- 6P6C Connector

- 8P8C Connector

Jaw for non-insulated terminal Surface treatment

- Procedure: precision and wax-lost casting

- Finished with heat treatment (HRC 38°-45°)

81303

# DESCRIPTION

Jaw for open barrel terminal

Surface treatment

- Procedure: precision and wax-lost casting

- Finished with heat treatment (HRC 38°-45°)

81307

- Zinc phosphate surface treatment Material

- AISI 4140

Suitable for

- AWG 14/22/8-6

- DIN 2.5/0.5/8-10mm²

- Zinc phosphate surface treatment Material

- AISI 4140

Suitable for

- AWG 20-18/16-14/12-10/8

- DIN 1.5/2.5/6/10mm²

- JIS 1.25/2/5.5/8 mm²

# DESCRIPTION

Jaw for open barrel terminal

Surface treatment

- Procedure: precision and wax-lost casting

81304

- Finished with heat treatment (HRC 38°-45°)

- Zinc phosphate surface treatment

Material

- AISI 4140

Suitable for

- AWG 20-18/16-14/12-10

- DIN 0.5-1.0/1.5-2.5/4-6mm²

81308

81315

DESCRIPTION

Jaw for cable connector (BNC)

Surface treatment

- Procedure: precision and wax-lost casting

- Finished with heat treatment (HRC 38°-45°)

- Zinc phosphate surface treatment Material

- AISI 4140

Suitable for

- 0.255”/0.213”/0.100”/0.068”/0.324”

- 6.48/5.41/2.54/1.72/8.23mm

- RG 58/59/62/6

Jaw for heat shrink butt connector

Surface treatment

- Procedure: precision and wax-lost casting

- Finished with heat treatment (HRC 38°-45°)

- Zinc phosphate surface treatment Material

- AISI 4140

Suitable for - AWG 22-18/16-14/12-10/8(A1)

# DESCRIPTION DESCRIPTION

Jaw for cord-end terminal (small size)

Surface treatment

- Procedure: precision and wax-lost casting

- Finished with heat treatment (HRC 38°-45°)

81305

- Zinc phosphate surface treatment

Material

- AISI 4140

Suitable for - AWG 22/20/18/16/14/12

- DIN 0.5/0.75/1.0/1.5/2.5/4.0mm²

# DESCRIPTION

Jaw for cord-end terminal (large size)

Surface treatment

- Procedure: precision and wax-lost casting

- Finished with heat treatment (HRC 38°-45°)

81306

- Zinc phosphate surface treatment

Material

- AISI 4140

Suitable for - AWG 10/8/6

- DIN 6/10/16mm²

81316

Jaw for 1.5 supperseal terminal

Surface treatment

- Procedure: precision and wax-lost casting

- Finished with heat treatment (HRC 38°-45°)

- Zinc phosphate surface treatment

Material

- AISI 4140

Suitable for - AWG 22-20/16 (H2)

Jaw for 1.5 supperseal terminal

Surface treatment

- Procedure: precision and wax-lost casting

- Finished with heat treatment (HRC 38°-45°)

- Zinc phosphate surface treatment Material

- AISI

SONIC-EQUIPMENT.COM 290 Special tools 04
#
DESCRIPTION
# DESCRIPTION
81317
Suitable
-
4140
for
AWG 18/17 (H2)
Loose jaws for crimping plier

810002 - HOSE CLAMP PLIERS SET, 7-PCS

# DESCRIPTION

4472100

Hose clamp pliers. Allows extra reach, removal and locking of clamps into open position. Allows removal of plastic and/ or metal self-tightening hose clamps with diameters of 11/16”-2.1/2” (18mm-54mm). Precision clamp on end of flexible cable allows extended reach where other models can’t reach. Pliers can be locked, freeing up your hands and making your job easier and faster. Cable and spring are portable items and must be replaced.

810002-1 Swivel jaw hose clamp pliers (‘+’ slot)

810002-2

Swivel jaw hose clamp pliers. Swivel jaws are slotted for positive holding or large or small clamps at any angle. Ratchet action holds jaws closed in 5 different positions. Fits all automotive and appliance spring wire hose clamps. Allows fast and easy clamp removal. Pliers latch in position to securely hold hose clamp when expanded.

810002-3 Angled flat band hose clamp pliers. Designed to remove and install flat band hose clamps in hard-to-reach areas. Pliers feature angled jaws with 360° rotating tips to grip clamps at any angle. Locking latch securely holds clamp in position.

810002-4 Flat band hose clamp pliers. Removes and installs new style flat band hose clamps. Jaws rotate 360° to grip at any angle.

810002-5 Clic-R collar pliers. For releasing and re-fitting reusable hose clips. For type and clic-R.

810002-6 Hose remover pliers. Designed to allow easy removal of 5/32” to 1/2” vacuum and fuel hoses.

600308 - HOSE LINE CLAMP SET, 3-PCS

3-pcs hose line clamp set with special designed jaws to prevent internal hose linings from damage. Lightweight, easy to use and non conductive.

- Small clamp for 1/8” to 5/16” diameter - Medium clamp for 1/2” to 3/4” diameter - Large size clamp for 3/4” to 2-1/2” diameter

- Made of heat-resistant reinforced nylon

- Each clamp includes a locking mechanism

# DESCRIPTION

600308-1 Small clamp for 1/8” to 5/16” diameter

600308-2 Medium clamp for 1/2” to 3/4” diameter

600308-3 Large size clamp for 3/4” to 2-1/2” diameter

Specially for the removal and installation of the covers of the door handles without cylinder lock. The lock is at a very inaccessible location. Suitable for Volkswagen

- Flexible clamp fastener

- Flexible cable to reach hard places

- Pliers latch in position to securely hold hose clamp when expanded

- Adjustable cable tension

# DESCRIPTION

812002-1

812002-2

812002-3

812002-4

812002-5

Damper pulley puller holder wrench 13mm

Damper pulley puller holder wrench 15mm

Damper pulley puller holder wrench 16mm

Damper pulley puller holder wrench 17mm

Damper pulley puller holder wrench 19mm

SONIC-EQUIPMENT.COM 291 04
829007 - DOOR LOCK DISMANTLING TOOL - VOLKSWAGEN Fox from 2005, Golf 6 from 2008, Passat B6 (3c) from 2005, Tiguan from 2008. Suitable for OEM number T10389. 4472100 - FLEXIBLE CABLE HOSE CLAMP REMOVING PLIERS 812002 - DAMPER PULLEY PULLER HOLDER WRENCH SET 5-PCS

Special tools

- Built in socket (6 point) and wrench

- Socket sizes 7, 8, 9, 10, 11, 12mm

- 1.2M silicon hose with check valve

- Ideal for bleeding brake and hydraulic clutch systems

These specialist brake bleeder wrenches are designed to simplify brake bleeding and the additional ease of access will in many cases let the operator bleed the brakes without removing the road wheels. Clean and lubricate the bleed valve then fit the wrench over it; the wrench’s internal seal and built-in socket fits snugly over the valve. The bleed tube is then fitted onto the nipple that is built into the wrench Thus the wrench can be turned and repositioned without any fear of dragging against the bleed tube, or separating the bleed tube from the valve. Six sizes of wrench are supplied in the set, to cover most popular applications: 7-8-9-10-11-12mm all color-coded for easy identification. Ideal for both brake and clutch hydraulic systems, the wrench set is supplied in a sturdy blow-mould case with internal foam to keep the wrenches and tube secure and tidy.

820014 - METRIC TAP AND DIE SET, 32-PCS

PCS

DESCRIPTION

21 Taps (3pcs per size) M3xP0.5, M4xP0.7,

7 Dies size M3xP0.5, M4xP0.7, M5xP0.8, M6xP1.0, M8xP1.25, M10xP1.5, M12xP1.75

1 Tap wrench M3 - M12

1 Die handle Ø25mm (O/D)

1 Thread pitch gauge

1 Screwdriver

820015 - METRIC TAP AND DIE SET, 40-PCS

DESCRIPTION

PCS

21 Taps size M3xP0.5, M3xP0.6, M4xP0.7, M4xP.075, M5xP0.8, M5xP0.9, M6xP0.75, M6xP1.0, M7xP0.75, M7xP1.0, M8xP1.0, M8xP1.25, M10xP1.25, M10xP1.5, M12xP1.25, M12xP1.5, 1/8”-17 NPT

17 Dies size M3xP0.5, M3xP0.6, M4xP0.7, M4xP.075, M5xP0.8, M5xP0.9, M6xP0.75, M6xP1.0, M7xP0.75, M7xP1.0, M8xP1.0, M8xP1.25, M10xP1.25, M10xP1.5, M12xP1.25, M12xP1.5, 1/8”-17 NPT

1 Adjustable tap wrench M3 - M12

1 T-Handle tap wrench M3 - M6

1 Die handle Ø25mm (O/D)

1 Thread pitch gauge

1 Screwdriver

SONIC-EQUIPMENT.COM 292
04 4831201 - CROSS RIM WRENCH - Length 355mm - Sizes 17, 19, 22mm - Size 13/16” - 1 extension bar for using up to 90Nm - 1 extension bar for using up to 100Nm - 1 extension bar for using up to 110Nm - 1 extension bar for using up to 120Nm
PULLEY WRENCH SET; 12-19MM, E10-E18 15-PCS # PCS DESCRIPTION 805015-1 1 Pulley wrench 805015-2 8 Pulley wrench head 12, 13, 14, 15, 16, 17, 18, 19mm 805015-10 5 Pulley wrench head E10, E12, E14, E16, E18
805015 -
829113 - BRAKE BLEEDER WRENCH SET 6PT
6-PCS
M8xP1.25,
M5xP0.8, M6xP1.0,
M10xP1.5, M12xP1.75

Dies size

M2xP0.4, M3xP0.5, M4xP0.7, M5xP0.8, M6xP0.75, M6xP1.0, M7xP0.75, M7xP1.0, M8xP0.75, M8xP1.0, M8xP1.25, M9xP0.75, M9xP1.0, M9xP1.25, M10xP0.75, M10xP1.0, M10xP1.25, M10xP1.5, M11xP0.75, M11xP1.0, M11xP1.25, M11xP1.5, M12xP0.75, M12xP1.0, M12xP1.25, M12xP1.5, M12xP1.75, M14xP1.0, M14xP1.25, M14xP1.5, M14xP2.0, M16xP1.0, M16xP1.5, M16xP2.0, M18xP1.5

2 Adjustable tap wrench M3 - M12, M6 - M20

1 T-Handle tap wrench M3 - M6

2 Die handle Ø25mm, Ø38mm (O/D)

829006 - WHEEL NUT KEY SET - AUDI, 22-PCS

22 pcs. Audi set complete including 21mm adapter with 1/2" square drive. This kit is designed for the removal of locking bolts when the customer has forgotten to provide the adapter by the car. This is happening very often when the vehicle is brought to maintenance and/or repair. Suitable for OEM T40073.

- Wheels becoming larger and more unwieldy, these wheel hanger pins simplify the wheel installation process by holding the rim centred on the hub as you hand screw in the wheel bolts

- Ideal when fitting wheel spacers: aligns the bolt holes, spacer and wheel together - Particulary useful when replacing the brake discs - the wheel hanger pin ensures that the holes in the new disc are perfectly aligned with the holes in the wheel hub. Then the disc securing screws can be fitted with the wheel hanger pin in place - The four most common thread and pitch sizes are included plus wheel stud version for hubs with wheel studs

M12x1.25 (wheel stud version)

23-pcs Volkswagen set, including 17mm wheel socket with 1/2 “connection. This kit is designed for the removal of locking bolts when the customer has forgotten to provide the adapter by car. This is happening very often when the vehicle is brought for maintenance and/or repair.

Sizes: 6, 7, 8, 9, 10, 11, 12, 13, 14, 15, 16, 17 and 0/10, 1/11, 2/13, 3/14, 4/15, 5/16, 6/17, 7/19, 8/20, 9/21. For Volks-wagen from 2010: Beetle, Golf, Jetta, Passat, Polo, Scirocco, Sharan, Touran and Tiguan. Suitable for OEM numbers T10101, T40004.

3-PCS

1 Adaptor for drills and cordless screwdrivers 3/8”

1 Adaptor for drills and cordless screwdrivers 1/2”

- DRAIN PLUG KEY SET 3/8”, 14-PCS

802214-7 1 Square 7mm

802214-8 1 Square 8mm

802214-9 1 Square 11mm

802214-10 1 Square 13mm

802214-11 1 Square 3/8”

802214-12 1 Square 5/16”

802214-13 1 10mm square (female)

802214-14 1 Triangular

SONIC-EQUIPMENT.COM 293 04 820016 - METRIC TAP AND DIE SET, 110-PCS PCS DESCRIPTION 35
35 Plug
35
Taper taps
taps
829111 - WHEEL HANGER SET, 5-PCS
DESCRIPTION M12x1.5 M14x1.25 M14x1.5 M16x1.5
829004 - WHEEL NUT LOCK SET - VAG, 23-PCS
# PCS DESCRIPTION
100301-2
100301 - ADAPTORS FOR DRILLS, 1/4”DR,
100301-1 1 Adaptor for drills and cordless screwdrivers 1/4”
100301-3
# PCS DESCRIPTION
Hex
Hex
802214
802214-1 1
8mm 802214-2 1
9mm
802214-3 1 Hex 10mm 802214-4 1 Hex 12mm 802214-5 1 Hex 14mm 802214-6 1 Hex 17mm

Special tools

829008 - SUMP PLUG REMOVAL TOOL - VAG

For plastic drain plugs with OEM number 06L-103-801 VAG 4-cylinder 2.0 TDI engine of the third generation. The drain plug has a special connection, for which a special bit is needed. This 1/4” bit has got a hex drive as per DIN 3126 / ISO 1173 C 6.3. Applicable for: Audi, Seat Leon, Volkswagen Golf 7 from 2013. Suitable for OEM Nummer T10549. Pay attention: when inserting the screw again always use a new O-ring.

829009 - FUEL SENDER/PUMP CLAMPING RING REMOVAL TOOL VAG

For the assembly and disassembly of the tank float with most Volkswagen and Audi models. Inner diameter 120mm. With 1/2” connection. For models from 2000 at

R8 TT and Volkswagen Beetle, Caddy, Eos, Golf, Golf Cabrio, Golf Plus, Jetta, Passat, Passat CC, Phaeton, Polo, Sharan, Scirocco, Tiguan, Touareg, Touran, transporter including utility vehicles. Suitable for OEM number T10202 (VAG 3087) 302001 - OIL DRAIN SET 1/2”, 20-PCS

8mm square Citroën, Peugeot, Renault, Talbot, Volvo

- Special bit sockets for assembly and disassembly of plastic oil drain screw on plastic oil sumps. - External hexagon drive with internal square drive. - T-handle - 8-pcs applications for BMW, DAF/MAN/, Ford, GM, Mercedes, PSA, VAG - Material: chrome vanadium

Removes and installs press-on-type belt drive accessory pulleys. Works with hand tools or an impact gun Interchangeable components to work on VW, Audi, Seat, Mercedes, Renault, BMW, Fiat, etc….

# DESCRIPTION

806001-1 Combined socket for alternator T50x113mml

806001-2 Combined socket for alternator M10x113mml

806001-3 Teeth socket hex 15mm x 33 teeth

806001-4 Teeth socket hex 22mm x 33 teeth

806001-5 Hex driver 22mm

806001-6 Round driver 35mm

806001-7 Bitholder 1/2” x 10mm

806001-8 Bit 10mm hex x 75mml; T40

806001-9 Bit 10mm hex x 75mml; T50

806001-10 Bit 10mm hex x 75mml; M8

806001-11 Bit 10mm hex x 75mml; M10

806001-12 Bit 10mm hex x 75mml; hex 8mm

806001-13 Bit 10mm hex x 75mml; hex 10mm

3/8" square Honda, Mazda, Renault, Saab, Volvo

SONIC-EQUIPMENT.COM 294
04
A3 A4 A6 A7 A8 Q3 Q5 Q7
Metal band filter wrench 60-120 diameter SIZE VEHICLE Oil filter wrench3/8" extension 250mmlAdaptor
7mm square -
10mm
11mm square
12mm square13mm
14mm square5/16"
-
10mm10mm triangular
8mm hex
9mm hex Gm 10mm hex Ford 12mm hex Fiat,
14mm hex Lancia, Mercedes 17mm hex Audi, VW BMW, Austin
Audi
for extension
square
Ford
square Nissan, Subaru
square
Renault
BMW, Ford, GM
Lancia, Peugeot
820021 - PLASIC OIL DRAIN PLUG REMOVER SET, 9-PCS 822003 - UNIVERSAL SPREADER TOOL FOR WHEEL BEARING HOUSING 806001 - ALTERNATOR, 13-PCS

818007 - ALTERNATOR PULLEY SET, 18-PCS

A comprehensive range of combination sockets required on the free wheel pulley when removing or replacing the alternator. The set includes tools for Bosch, Marelli and Valeo alternators and is now complete with the new tools required for the latest Renault and Fiat alternators.

# DESCRIPTION

818007-1 Combined socket for alternator T50x113mml

818007-2 Combined socket for alternator M10x113mml

818007-3 Teeth socket hex 15mm x 33 teeth

818007-4 Teeth socket hex 22mm x 33 teeth

818007-5 Hex driver 22mm

818007-6 Round driver 35mm

818007-7 Bitholder 1/2" x 10mm

818007-8 Bit 10mm hex x 75mml; T40

818007-9 Bit 10mm hex x 75mml; T50

818007-10 Bit 10mm hex x 75mml; M8

818007-11 Bit 10mm hex x 75mml; M10

818007-12 Bit 10mm hex x 75mml; hex 8mm

818007-13 Bit 10mm hex x 75mml; hex 10mm

818007-14 Bit socket 110mml; M10

818007-15 Hex driver 22x28mm

818007-16 Bit 12mm spline 64mml; M10

818007-17 Hex driver 19 x 28mm

818007-18 Bit socket 3/8”, M10 x 90mml

822001 - ADBLUE REFRACTOMETER

This optical refractometer is designed for checking the concentration of antifreeze and battery acid but also Adblue.

- Designed for checking the concentration of Adblue. - Urea additive in the exhaust flow which reduces NOx-emissions.

DESCRIPTION

Style Battery / coolants / adblue

Range -60°F ~ 32°F / 1.15 ~ 1.30sg

Resolution 10°F; 0.01sg Adblue 30% - 35%

Ethylene Glycol -50°C~0°C

Propylene Glycol -40°C~0°C

Cleaning Fluids -40°C~0°C

Battery Fluids 1.100 - 1.400sg

Resolution Factor 0.5%, 5°C, 5°C, 5°C, 0.01sg

Size 27 x 40 x 160mm

Weight 176g

822002 - REFRACTOMETER

This optical refractometer is designed for checking the concentration of antifreeze and battery acid.

DESCRIPTION

Style Battery / coolants

Range -60°F ~ 32°F / 1.15 ~ 1.30sg

Resolution 10°F; 0.01sg

Adblue 30% - 35%

Ethylene Glycol 70°C~0°C (-90°F~32°F)

Propylene Glycol -60°C~0°C (-70°F~32°F)

Battery Fluids 1.100 - 1.400sg

Size 27 x 40 x 160mm

Weight 176g

828001 - TYRE REPAIR TOOL SET, 45-PCS

# DESCRIPTION

828001-1 Tyre repair plugs

828001-2 Tyre repair lubricant

828001-3 T-handle insert tool

828001-4 T-handle spiral probe

828001-5 3mm hex wrench

SONIC-EQUIPMENT.COM 295 04

Special tools

This tester can be used as a digital brake fluid tester suitable for determining brake fluid quality. Developed for professional use in automotive repair shops and in servicing.

A 12-pcs tool kit for removing air bags on Volkswagen, Audi, Seat, Skoda, BMW and Mercedes

VW Passat B5, Polo, Lupo, Audi A4 and A6, Skoda Suberb

VW Golf 4, New Beetle, Seat, Skoda Fabia, Octavia 1999

VW Golf 4 (bj. 1998-2004) VW Passat 1997, VW Bora 1999

VW Modell, Passat 2000

T30 for Sudi, Opel, Renault, VW

T30H for Audi, BMW, Mercedes, Opel

T25 for BMW

T25H for BMW

5mm hex, for Audi

- Gear-driven and heat-treated legs will handle high torque applications

- Removes filters from 2-1/2” to 4” diameter (63-102mm) - Use 1/2” or 3/8” square tool 13/16” (21mm) wrench

- Removes oil filters from 2 1/2” - 4 3/4” diameter (63,5-12,6mm) - Use 1/2” or 3/8” square tool or 21mm (13/16”) wrench

SONIC-EQUIPMENT.COM 296
04 810004 - TYRE VALVE DRIVER, 2-PCS With
a reliable fit
prevents sensitive valves being over wound.
for rubber valves
0.45Nm for metal valves
TYRE VALVE DRIVER 0.25NM
TYRE VALVE DRIVER 0.45NM
- TYRE VALVE STEM FITTING TOOL For fitting new valves in the rim valve hole on tubeless tyres. 310mml 810003 - AIR BAG REMOVAL TOOL SET, 12-PCS APPLICATION
torque limitation. This ensures
and
- Inserting tool with 0.25Nm
- Inserting tool with
47826 -
47827 -
812003
47023 - BRAKE FLUID
TESTER
# DESCRIPTION L (MM) N.W.(G) PCS/BAG 47023 Brake fluid tester 50 52 1
4830801 - THREE-LEG OIL FILTER WRENCH
4830802
THREE-LEG OIL FILTER WRENCH (65-120MM)
-
4831302
812007 - OIL FILTER CAP 14 PT. 74MM # L(MM) G PCS/BAG 812007 85 166 1
- OIL FILTER WRENCH CLAW, AUTO ADJUST

811002 - OIL FILTER CAP SET, 30-PCS

- Made of gauge construction

- Able to withstand up to 85ft. lbs of torque

- Cup-type design grips like a socket minimizing the possibility of cruse hung filters

- Fits adaptor 1/2”(F) or 3/8”(M) drive tool

- Coated with electro-black oxide finish for protection against rust

- Suitable for canister filters

# FLUTE SIZE APPLICATION

811002-1 66mm x 6 Fiat, Renault

811002-2 65mm x 14 Daihatsu, Toyota, Nissan, Fiat

811002-3 65-67mm x 14 Daihatsu, Toyota

811002-4 68mm x 14 Mazda, Ford, Subaru

811002-5 73mm x 14 Toyota, Lexus

811002-6 74mm x 15 Audi, Rover, Chrysler

811002-7 74-76mm x 15 Ford, Opel, VW, Audi, Mercedes

811002-8 75-77mm x 15 VW, Audi, Isuzu, Mercedes

811002-9 76mm x 12 Fiat, Mercedes, Renault

- Made of gauge construction

- Able to withstand up to 85ft. lbs of torque

- Cup-type design grips like a socket minimizing the possibility of cruse hung filters - Fits adaptor 1/2”(F) or 3/8”(M) tool - Coated with electro-black oxide finish for protection against rust - Suitable for canister filters

# FLUTE

803003-2 65mm x 14 Nissan, Fiat, Hasting, GM/AC, Wix, Napa, Purolator, Daihatsu, Toyota

803003-3 68mm x 14 Hastings, Mazda, Ford, Subaru

803003-4 73mm x 14 Toyota, Lexus

803003-5 74-76mm x 15 Ford, Opel, VW, Audi, Mercedes, Fram, AC

803003-7 76mm x 14 Audi, Opel, Champion, Purolator, Mopar, VW, Porsche, Mercedes, BMW

803003-10 80mm x 15 Opel, Hastings, Fram, Purolator, Nissan, Honda, Motorcraft, Isuzu, Mazda, Subaru

803003-12 93mm x 15 Mazda, Volvo, Mitsubishi, Honda, Casite, Champ, Champion, GM, Fram, Hastings, Purolator, Wix, Nissan, VW, Porsche, Renault

803003-13 93mm x 36 Ford, Motorcraft

803003-1 65-67mm x 14 Daihatsu, Toyota

803003-9 80-82mm x 15 Wix, Mazda, Subaru, Toyota, Honda, Acura, Nissan

803003-11 90mm x 15 Honda, Mitsubishi, Mopar, Isuzu

803003-6 75-77mm x 15 VW, Audi, Mercedes, Opel, Castite, GM/AC, Hastings, Wix, Ford, Isuzu

803003-8 76mm x 30 Motorcraft

803003-14 100mm x 15 Fram, Motorcraft, Wix, Isuzu, Mitsubishi

803003-15 9.5mm Adaptor 1/2”(F) of 3/8”(M) tool

811002-10 76mm x 14 VW, Porsche, Mercedes, BMW, Audi, Opel

811002-11 76mm x 30 Ford

811002-12 76mm x 8 Fiat, Lancia

811002-13 78mm x 15 Nissan, Ford, Toyota

811002-14 80mm x 15 Nissan, Honda, Opel, Mazda

811002-15 80-82mm x 15 Subaru, Toyota, Honda, Nissan

811002-16 86mm x 16 Volvo

811002-17 86mm x 18 VW, Audi, Peugeot, Citroën

811002-18 90mm x 15 Honda, Mitsubishi, Isuzu

811002-19 92mm x 10 Fiat

811002-20 93mm x 15 Mazda, Volvo, Mitsubishi, Nissan, Honda 811002-21 93mm x 36 Ford

811002-22 93mm x 45 VW, Audi

811002-23 95mm x 15 Toyota, Alfa, Ford

811002-24 96mm x 18 Audi, VW, Renault

811002-25 100mm x 15 Isuzu, Mitsubishi

811002-26 106mm x 15 Fiat

811002-27 108mm x 15 Volvo

811002-28 108mm x 18 Renault

811002-29 Adaptor Adaptor 1/2” (F) x 3/8” (M)

SONIC-EQUIPMENT.COM 297 04 812008 - HINGED CHAIN WRENCH FOR OIL FILTERS 811003 - OIL FILTER CARTRIDGE INSERT # SIZE L(MM) G PCS/BAG 811003-27 27 38 106 1 811003-32 32 44 144 1 811003-36 36 50 172 1
OIL FILTER
SET,
803003 -
CUP
15-PCS
SIZE APPLICATION

Special tools

801003 - OIL DRAIN REPAIR KIT

Solid and fast solution for the repair of defect threads at the oil pan. By drilling out and using a larger drain plug a solid repair is granted. Universally usable for Audi, BMW, Citroën, Daimler, Ford, Fiat, Honda, Mazda, Mitsubishi, Nissan, Opel, Peugeot, Porsche, Renault, Saab, Seat, Skoda, Toyota, Volvo, VW.

# DESCRIPTION

801003-1

801003-2 Thread cutter m15x1,5

801003-3 Thread cutter m17x1,5

801003-4 Thread cutter m20x1,5

801003-5 Oil drain plugs m13x1,5

801003-6 Oil drain plugs m15x1,5

801003-7 Oil drain plugs m17x1,5

801003-8 Oil drain plugs m20x1,5

801003-9 Aluminium sealing ring 17

801003-10 Aluminium sealing ring 19

801003-11 Aluminium sealing ring 8

801003-12 Aluminium sealing ring 10

829001 - BRAKE ADAPTOR SET - ADJUSTABLE

This set is an essential supplement to the existing brake caliper sets, which are already available in most workplaces. The set is suitable for the most common brake pistons with a 3/8 "drive. The set consists of 3 adapters.

Adaptor 1 is an adaptor with two pins steplessly adjustable from 15 to 35mm. Can stand up to 50Nm. Adaptor 2 with three adjustable legs to adjust the electronic handbrake. Use it usually in combination with the necessary electronic parking brake tool.

Adaptor 3 is an adaptor of 3/8 "square drive for connection to the resetting adapter.

# DESCRIPTION

829001-1 Adaptor #1 2 pin adaptor

829001-2 Adaptor #2 3 pin adaptor

829001-3 Adaptor #3

810006 - BRAKE CALIPER PISTON REWIND TOOL KIT

801016 - PNEUMATIC

Pneumatic rewind tool for left and right hand threaded pistons and 15 adaptors #

SUITABLE FOR 801016-1 0 Disc Gm most 2-1/2” diameter pistons

801016-2 2 Disc Citroën XM, Xantia, Honda

Audi (F), Fiat, Alfa Romeo(F), Ford Fiesta(F), Isuzu(F), Honda Concesto(F), Jaguar XJ6, XJ40(F/R), BMW 318is, 320i, 325TD, 518i, 525i, 850ci, M5(F), Mercedes Benz 190, 200, 300, 420, 560 series (F), Mitsubishi Colt(F), Nissan Micra, Stanza, Sunny(F), Rover Austin, Metro 200 & 400 series, Maesta, Montego, Toyota camry(F), Volvo(F), VW passat, Golf gti(F)

801016-4 4 Disc

Ford Australia, NZ telstar, Mazda(R), Saab 9000(R), Lumina, Toyota, Fiat, Alfa Romeo 164 2.0(R), Honda prelude, CRS 16i, GM Saturn(R), Grand Prix

801016-5 5 Disc 3/8” adaptor

801016-6 6 Disc Nissan Primera, VW Golf IV

801016-7 7 Disc

Audi 80, 90, V8+100, Coupe E (R), Rover 800 ABS, Subaru L+Z(R) Ford Sierra ABS, Granada, Scorpio ABS 85(R), Nissan Bluebird 1.8 turbo, Silvia turbo, primera 2.0i LS/GS/GSX(R), Peugeot 405 1.9Gi, Gri, Sri, Gtxi, MI 16, 605 2.0Sri (R), Toyota Celica, Corolla GT, MR2, VW Golf gti, Jetta synchro, jetta gti 16v, Passat CL, GL, GT, GT 16v, Corrado 16V, Scirroco GTX 16V(R), Citroën, Alfa Romeo, Fiat, Honda, Jaguar, Renault, Saab, Seat, Lancia

801016-8 8 Disc GM most 1-7/8” diameter pistons

801016-9 9 Disc GM most 2-1/8” diameter pistons

801016-10 A(Z) Disc Renault R21, Laguna

801016-11 E Disc Nissan Maxima, Ford

801016-12 F(G) Disc Opel(R)

801016-13 M Disc Ford, Mini, Mazda 3

801016-14 N Disc Saab, Honda, Alfa Romeo, Audi, VW, Lancia

801016-15 K Disc Citroën

829005 - BRAKE PIPE CORROSION TOOL

This scraper is very suitable for the removal of corrosion on the brake lines. This is important for MOT, maintenance and service. With 2-component handle.

set is designed for

SONIC-EQUIPMENT.COM 298
04
Thread cutter m13x1,5
This tool Tesla rear brake caliper piston rewind. Supplied with left- and right-handed winders enabling the return of the brake piston into the caliper delivering clearance for the new brake pads.
1
piece 3/8” rotating caliper (right & left side threaded allow)
2
pieces adaptors for brake assemblage
BRAKE CALIPER SERVICE SET, 16-PCS
DESCRIPTION
801016-3 3 Disc

# DESCRIPTION SUITABLE FOR

805011 Brake piston right spindle Right hand helix bolt

805010 Brake piston left spindle Left hand helix bolt

801018-2 2 Disc

801018-3 3 Disc

801018-4 4 Disc

Citroën XM, Xantia(F/R)

Audi (F), Fiat, Alfa Romeo(F), Ford Fiesta(F), Isuzu(F), Honda Concesto(F), Jaguar XJ6, XJ40(F/R), BMW 318is, 320i, 325TD, 518i, 525i, 850ci, M5(F), Mercedes Benz 190, 200, 300, 420, 560 series (F), Mitsubishi Colt(F), Nissan Micra, Stanza, Sunny(F), Rover Austin, Metro 200 & 400 series, Maesta, Montego, Toyota camry(F), Volvo(F), VW passat, Golf gti(F)

Ford Australia, NZ telstar, Mazda(R), Saab 9000(R), Fiat, Alfa Romeo 164 2.0(R), Honda prelude, CRS 16i, GM Saturn(R), Grand Prix, Lumina

801018-5 5 Disc 3/8” adaptor

801018-6 6 Disc Nissan Primera, VW Golf IV

801018-7 7 Disc

801018-8 8 Disc

801018-9 9 Disc

801018-1 0 Disc

Audi 80, 90, V8+100, Coupe E (R), Rover 800 ABS, Subaru L+Z(R), Ford Sierra ABS, Granada, Scorpio ABS 85(R), Nissan Bluebird 1.8 turbo, Silvia turbo, primera 2.0i LS/GS/GSX(R), Peugeot 405 1.9Gi, Gri, Sri, Gtxi, MI 16, 605 2.0Sri (R), Toyota Celica, Corolla GT, MR2(R), VW Golf gti, Jetta synchro, jetta gti 16v, Passat CL, GL, GT, GT 16v, Corrado 16V, Scirroca GTX 16V(R)

GM most 1-7/8” diameter pistons

GM most 2-1/8” diameter pistons (Cadi Seville/ Eldorado 80-85)

GM most 2-1/2” diameter pistons (Seville/Eldorado 79)

801018-10 A Disc Renault R21, Laguna (Rear Disk)

801018-11 M Disc Ford, Mini, Mazda 3

801018-12 N Disc Saab, Honda

801018-13 F Disc Opel (Rear Disk)

801018-14 K Disc Citroën

801018-15 E Disc Nissan Maxima

80501... - BRAKE PISTON SPINDLE

809007 -

Rewind tool for left and right hand threaded pistons and 12 adaptors # DESCRIPTION SUITABLE FOR 809007-2 2 Disc Citroën BX(83), 16V(88-), Honda Prelude 2.0i, 23

809007-3 3 Disc

Audi A3(A4,A6,A8 push-back pistons), BMW-most models(push-back pistons), Citroën XM, XM Turbo CT20, Xantia 1 8i-1.90 &TD-2 QI-2Q 16S(93-94), Activa, Citroën C5 rear callipers push –back pistons, Ford (USA) Mercury, Monarch, Thunderbird, Honda-most models(push-back pistons), Jaguar –most models (push-back pistons), Mitsubishi most models (push-back pistons), Nissan-most models (push-back pistons), Peugeot 406, 806, Rover-most models(push-back pistons), Toyotamost models(push-back pistons), Volkswagen-most models(pushback pistons),Volvo-most models

809007-4 4 Disc Alfa Romeo 164 2.0 1, Fiat Uno Turbo i- Barchetta, Ford Escort 2000RS 16V, Mondeo V6 24V, Honda Civic Vti-CRX-Accord Concerto S 1.6, Rover 220 C Turbo (95), Saab 99L, 900 Turbo(74-81) 900(81-87)

809007-5 6 Disc Jaguar S Type

809007-6 7 Disc Jaguar S series(99-), Opel Astra G, Corsa C, Zafira (with Lucas TRW rear calipers’02)

809007-7 8 Disc GM Motors

809007-8 9 Disc GM Motors

809007-1 0 Disc

GM Motors Disc-Citroën ZX 2.QI 16V, Citroën most models (push-back pistons), Citroën XM, XM Turbo CT 2.0, Xantia 1.8i-1.90 & TD-2 QI-2 16S(93-94), Activa Citroën BX(83), BX 16V(88-), Citroën C3, Citroën C5(front calliper-left hand wheel,) Citroën C5 (front calliper-right hand wheel), Citroën C5 rear callipers push-back pistons.

809007-9 11 Disc Jaguar S Type

809007-10 12 Disc BMW, Mini

809007-20 J Disc

Alfa Romeo 155 1.8-2,01 164TD(93), 164 3.0 V6(91), Audi 80, 90 & V8’s, A3, A4, A6, A8(rear calliper),Citroën ZX 2, QI 16V, Fiat Tipo TD 16V, Uno Turbo(85) TD, Ford Sierra(ABS back), Granada(85-), Ford(Australia&NZ) Thunderbird Turbo, Honda CRX 1.61-16V(88-90), Accord 1800(84-85), 2.0i(86-), Prelude 16V(88-), Legend V6, Jaguar XJ 40 Series, Lancia Dedra 2.0 Ei Tur(93), Delta 1,6Gti(92), The majE 16V(92), Thema 2000 Turbo, Kappa 2.0-2,4LS, 2.4TD, Nissan 280 ZX (82-84), 300 ZX Turbo(84-89), Bluebird 16V(89-), Silvia 1,8 Turbo (8588)100NX 2.0(93), Primera 2.0GT(94-), 200 SX Turbo 16V, Maxima 2.0 GX 3.0, GX(95), Peugeot 306, Peugeot 309Gtj 16S (91), 405 Srif Q,rj,Gil(87-), 405 M.I 16V, Renault Master Van, Rover 216 Gti 16V, 820 Si 2,0(93), 825 SD 2.5(93), Saab 9000 CS 2,0(93 ), 9000 CSE Turbo (93), Seat Toledo GT 16V, GT 2,0 (93), Ibiza 1,8 Gti 16V(95), Subaru L-serie & Serie 2, Volkswagen Passat 2.0&2.2 Liter(84), Golf Rally(89), Golf II Gti 16V(89), Vento GT(92), Transporter T4+A60, Volvo S40&V40

809007-21 K Disc Citroën C5 rear callipers push-back pistons

809007-22 K1 Disc Citroën C5 (front calliper-left hand wheel), Citroën C5 (front calliper-right hand wheel)

809007-23 K2 Disc Audi A8,S8(99-)

809007-24 M Disc Nissan Primera 03

809007-25 N Disc

Alfa Romeo 164 2.0, Twin Spark 2.0, Turbo(8-), 3.0 V6, Audi 200(80-), Coupe GT SE(82-), 80, 901 QO, 200, Quattro(-87), 90.20V(88-), Ford Mondeo 2.0 Ghia, Lancia, Themaalte(86-), Volkswagen Golf II GTI (83-87), Scirocco 16V(84)

809007-28 P Disc Citroën C3

809007-29 R Disc

809007-30 S Disc

Ford (Australia&NZ), Telstar, Laser, Mazda 323 Gti, GTX (86-), 929 (82-), RX7(81-), 626 16V (87-), 626 GT(86-), 929 V6(88-), Mitsubishi Galant GL Si, Toyota Celica, Corolla GT, MR2

Audi 100TQi(91), BMW 740i 8cyl.(91), Lancia Delta 1.9 TD(95), Proton 416, Renault-most models, Renault Laguna 2.0(94), Laguna 2.2D(95), Safrane 2.0-2.2 TD V6, Rover 623 Si, Volkswagen Golf Gti MK III&IV, Passat VR6, Vento GT(92)

809007-31 Z Disc BMW MINI

809007-18 H6 Disc

809007-19 H7 Disc

809007-26

809007-27

P3.0 Disc

P5.5 Disc

BMW-most models (push-back pistons), BMW 740i 8cy1.(91), BMW Mini, Vauxhall Astra G.Zafira

BMW-most models (push-back pistons), BMW 740i 8cy1.(91), BMW Mini, Vauxhall Astra G.Zafira

Opel AstraC Zafira(with Bosch rear calipers), Opel Astra G, Corsa C, Zafira (with Lucas TRW rear calipers’02) Opel Vectra 02, Vauxhall Astra G, Zafira

Opel AstraC, Zafira(with Bosch rear callipers), Opel Astra G, Corsa C, Zafira(with Lucas TRW rear calipers’02)Opel Vectra 02, Vauxhall Astra G, Zafira

SONIC-EQUIPMENT.COM 299 04
CALIPER SERVICE SET,
801018 - BRAKE
18-PCS
For set 801018, 805002 and 809007 # DESCRIPTION 805010 Brake piston left spindle 805011 Brake piston right spindle
BRAKE CALIPER SET, 40-PCS

Special tools

brake socket: 1/2” x 19mm For use on

brake socket: 1/2” x 14mm For use smart car 1pc Pentagon brake socket: 1/2” x 10mm For use on girling brakes

809007-32 Flexible pot for grease Flexible pot for grease

809007-11 A Disc Nissas Primera 2.0, Opel Astra, Zafira(with bosch rear calipers), Vauxhall Astra G. Zafira

809007-12 B Disc Ford(USA) Mercury, Monarch, Thunderbird, Lincoln, Continental Subaru 1600 Kombi (79-)1.6-1.8 SRX, kombi(79-83),1800(84),1800 lim, Kombi, Tourismo 4WD (82-83),1800gt, GTSXT, turbo(85)

809007-13 C Disc Nissan Primera(02), Opel Vectra 02, Toyota Avensis

809007-14 D Disc Citroën BX(83), BX 16V(88-)

809007-15 E Disc Nissan Maximas

809007-16 F Disc Peugeot 206 '03

809007-17 G Disc Fiat Stilo

805002 - BRAKE CALIPER SET, 27-PCS

1 right rotating caliper (with right side thread) - 1 disc - 1 left rotating caliper (with left side thread) - 5-13/32”Adaptor(5) with 3/8” inner 4-pt.

805002-1 0 Disc GM Motors

805002-2 2 Disc Citroën XM, Xantia u.a.

805002-3 3 Disc Alfa Romeo, Audi, Austin, BMW, Ford, Honda, Jaguar, Mercedes-Benz, Mitsubishi, Nissan, Rover, Toyota, VW

805002-4 4 Disc Alfa Romeo 164 2.0, Ford, Mazda, Saab 9000, Subaru

805002-5 6 Disc Nissan Primera, VW-Golf IV

805002-6 7 Disc Audi 80,90,V8 +100, Ford Sierra ABS+Scorpio ab 85, Honda Prelude, Nissan Silvia 1.8 turbo, Rover 8000, Saab 9000, Subaru L+Z, VW Golf, Passat

805002-7 8 Disc GM Motors

805002-8 9 Disc GM Motors

805002-19 M Disc Ford

805002-20 N Disc Saab, Honda

805002-13 E Disc Cefiro, Maxima

805002-15 G Disc Opel

805002-21 O Disc Citroën

805002-16 K Disc Citroën C5

805002-17…18 K1, K2 Disc Citroën, Renault

805002-9 A Disc Nissan Primera 2.0, Bluebird

805002-10 B Disc Ford, Lincoln, Subaru

805002-11 C Disc Mini, Austin

805002-12 D Disc Citroën, Renault

805002-14 F Disc Peugeot 206 cc/Hdi,Gti. A 16mm spanner is required with wind back pistons

805002-22 P Disc Audi, BMW, Ford, Lancia, Proton, Renault, Rover, VW

805002-23 Z Disc Renault

Universally applicable for winding back brake pistons on hand-brake secured brake calipers

820017 - WIRE BRUSH SET, 20-PCS

- Stainless Steel, Brass and Nylon 3 type brushes

- Comprising 9, 11, 13, 15, 17, 19mm diameter for each brushes

- All brushes adopt 1/4” quick driver for power tools

- Install the brushes on extension rod for increased reach

- Ergonomically handle for easy use

820007 - CLEANING

Comprising a handle with extension and 36 assorted brushes with 1/4” drive and 8, 9, 10, 11, 12, 13, 14, 15, 16, 17, 18, 19mm diameter for cleaning and deburring cylinders, bushings, pipes and other work pieces with nylon, brass and steel facing.

APPLICATION EXAMPLES ARE:

- Brake callipers sleeve

- O-ring cut-ins

- Injector seat

- Valves on exhaust gas recirculation

- Inlets and outlets

- Crossbar seal on injection lines on Opel cylinder heads

825001 - CLAMP

CV

- For 1/4” - 3/8” bands and clamps

- Ratchet tension winding mechanism, no need to use extra tools

- Built-in cutter to cut the band to appropriate length

805018 - CLAMP TENSIONER CV BOOT TOOL

-Testing range 0-2.5 bar

-Suitable for all standard vehicles

SONIC-EQUIPMENT.COM 300
04 # DESCRIPTION SUITABLE FOR
Pentagon
1pc
bendix brakes 1pc Pentagon
# DESCRIPTION SUITABLE FOR
-
812006 - BRAKE PISTON REWINDING CUBE BRUSH KIT, 38-PCS TENSIONER BOOT TOOL

829002 - DIESEL INJECTOR SEAT CLEANER SET, 14-PCS

# DESCRIPTION

829002-01 (A)Injector nozzle port cleaner

829002-02 (B)(C)(D)Cleaning brush (inner injector port) 18/22/25mm

829002-03 (H)(I)Cleaning brush (base/injector seat area) 15/20mm

829002-04 (E)Quick chuck 224mm flexible extension

829002-05 (F)Insertion rod for “Injector nozzle port sealing plugs”

829002-06 (G)Injector nozzle port sealing plugs (6 pcs)

816001 - TWO SETS GEAR & BEARING SPLIT TOOLS

Ideal for injection lines, air-conditioning systems, brake lines, compressed air and hydraulic lines, oil pressure switches, 12,5 mm (1/2”) # DESCRIPTION

301302-1 Swivel handle 1/2” 385mm

301302-2 Extension 1/2” 125mm

301302-3…13 Crawfoot 1/2”, 20, 21, 22, 23, 24, 25, 26, 27, 28, 30, 32mm

Mechanical puller set with Ø30-55mm and Ø50-75mm separators and single yoke with 180mm thrust bolt. SUITABLE FOR ENGINEERING AUTOMOTIVE, MARINE AND AGRICULTURAL APPLICATIONS. - Bearing

- Accuracy ±5%

- Heavy-duty construction reduces maintained procedures - Precision gear mechanism applied high torque output with low input - Supplied to react accessories for combined

# DESCRIPTION SPECIFICATIONS

- Main rod: 4 pieces hex bar 17mm 3/8”x

814001

814002

Torque Multiplier 1500Nm / 1250Ft-lb

Torque Multiplier 2700Nm / 2000 Ft-lb

- Input square: 1/2” square (F)

- Output square: 3/4” square (M)

- Maximum range: 1500nm/1250ft-lb

- Ratio: 5:1

- Gear ration: 1: 4.33

- Tool weight: 3.5kg

- Reaction accessory: 2-pcs

- Surface finished: matt

- Input square: 3/4” square (F)

- Output square: 1” square (M)

- Maximum range: 2700Nm/2000ft-lb

- Ratio: 5:1

- Gear ration: 1: 4.33

- Tool weight: 3.5kg

- Reaction accessory: 2-pcs

- Surface finished: matt

SONIC-EQUIPMENT.COM 301 04
bolts: 1 set
drop forged hardened 42° - 45°
30
50 mm
hardened
45°
1 set
drop forged hardened 42° - 45°
Capacity range: 50 ~ 75 mm - Bolt
x L 135mm x 20t S45C hardened 42° - 45°
L125mm x 16t - Extension rod: 4 pieces - Hex bar 14mm 3/8”x L110mm x 16t - Centre bolt: 1 piece - 5/8” x L 175 x 18t/inch carbon steel - Beam: 1 piece - Carbon steel CRAWFOOT
# DESCRIPTION 4080210 3/8” crawfoot 3/8” 4080211 3/8” crawfoot 7/16” 4080213 3/8” crawfoot 1/2” 4080214 3/8” crawfoot 9/16” 4080216 3/8” crawfoot 5/8” 4080217 3/8” crawfoot 11/16” 4080219
4080221
4080222
separator &
- S45C
- Capacity range:
~
- Bolt 3/8” x L 120mm x 24t S45C
42° -
- Bearing separator & bolts:
- S45C
-
1/2”
3/8”, SAE
3/8” crawfoot 3/4”
3/8” crawfoot 13/16”
3/8” crawfoot 7/8”
301302 - CRAWFOOT SET 1/2”, 13-PCS 814... - TORQUE MULTIPLIER

Special tools

812001 - WIPER REMOVAL KIT

# DESCRIPTION

812001-1 Extractors size 1

812001-2 Extractors size 2

812001-3 Extractors size 3

812001-4 Extractors size 4

812001-5 Extractors size 5

812001-6 Extractors size 6

812001-7 Remover

812001-8 Pressure spindle

808001 - SLIDE HAMMER PULLER SET

- Suits most cars and lighttrucks ball joints in steering & suspension

- 2-stage, 30-50mm - Jaw open: 22mm

- For splitting track-rod ends, anti-toll bar mountings, wheel-hub ball joints, etc.

- 2-stage, 50-80mm

- Jaw open: 22mm

This most useful tool can pull flange-type rear axles, remove stubbon oil seals & bearing or press-fit parts. Use as a dent puller or lip puller, reversible jaws can be set up for 2/3 jaw in-external usage, 1/2”-20 thread adaptor expands the slide hammer for extra pulling functions.

- For splitting track-rod ends, anti-toll bar mountings, ball joints, etc. -

820019 - MULTI-PURPOSE SYRINGE 500ML

48307... - REVERSIBLE PULLER

- Jaws grip tighter as more pressure is applied

- Reversible jaws

- Drop forged

- Alloy steel

- Hardened 45° hrc

# DESCRIPTION SPECIFICATIONS

SONIC-EQUIPMENT.COM 302
04
47401 - BALL JOINT SEPARATOR (JAW 20MM) 47402 - BALL JOINT SEPARATOR (JAW 20MM) Jaw open: 20mm 47403 - BALL JOINT SEPARATOR (JAW 22MM) 47404 - BALL JOINT SEPARATOR (JAW 22MM)
4830703 2-3 jaw 3”
4830704 2-3 jaw 4”
-
4830706 2-3 jaw 6” reversible
reversible puller - Spread: 4” - Reach: 2-1/2” - Capacity: 2 ton
reversible puller
Spread: 6” - Reach: 3-1/2” - Capacity: 5 ton
puller - Spread: 8” - Reach: 3-1/2” - Capacity: 5 ton

For professionally changing of motor oils, cleaning of parts or collecting other liquids. This drain pan includes a nozzle for easy poring of the contents. With three grips this drain pan is comfortable to use. - Easy pouring no mess spout

- Convenient front and rear handles

- 15.9 liter

- Extra thick quality

As a result of parallel expansion technique it is possible to align the clutch plate to the pilot bearing in the crankshaft flywheel. For clutch-hub-Ø15 - 28mm

818002 - OXYGEN

- 6 pt. wrench 22mm with flexible head

- 250mml

- Suitable for heated and unheated oxygen sensors - Cut-out section allows socket to pass over wiring

- Suitable for VW, Audi, BMW, Mercedes, Ford, Opel/Vauxhall, Peugeot, Citroën, Renault, Seat, Skoda, Japanese cars

818003 - BELT GAUGE

- This tensioning gauge can be used to adjust the tension on the cam belts where the movement of the timing belt is measured by load

- Suitable for use on cam belts with various belt thickness

- Clear incremental marking with knurled knob for precise measurement

- Dual scale allows reading from top or bottom of tool

Tool set for professional dismantling and assembly of self adjusting clutches. Prevents plate distortion which may prevent the clutch from disengaging of cause dragging. Consists a refitting tool, allowing the clutch adjuster to be wound back, and six alignment adaptors.

slitted version for

Essential set to remove injectors from the cylinder head professionally. # DESCRIPTION

829003-01 Empty case 829003

829003-02 Foam 829003

829003-03 Air hammer extractor

829003-04 (A) diesel injector adaptor - Siemens

829003-05 (B) diesel injector adaptor - Denso 829003-06 (C) diesel injector adaptor - Siemens

829003-07 (D) diesel injector adaptor - High Pressure M12

829003-08 (E) diesel injector adaptor - Delphi

829003-09 (F) diesel injector adaptor - Off-line

829003-10 (G) valve seat removal tool - Denso (1.43usd)

829003-11 (H) M16 denso adapter

829003-12 (I) dual connection adaptor - Bosch

829003-13 (J) Bosch injector dismantling tool

SONIC-EQUIPMENT.COM 303 04 48112 -
DUTY OIL DRAIN PAN 15.9 LITER 400MM 450MM 180MM
HEAVY
818001 - CLUTCH ALIGNER SET, 15-28MM SENSOR WRENCH 815002 - MAGNETIC BOWL, DIAMETER 150MM 818008 - CLUTCH ALIGNMENT TOOL SET, 38-PCS 810005 - OXYGEN SENSOR SOCKET 1/2”, 22MM Extra long, deeply ingrained oxygen sensors, suitable for: - BMW, Ford, Mercedes, Opel, VAG, etc. - 150mml, 22mm 829003 - DIESEL INJECTOR EXTRACTOR WITH ADAPTORS

818009 - COMMON RAIL FLOW METER SET

- To measure return fuel flow on diesel vehicles up to 8 cylinders fitted with common rail injection system - Determination of the runback volume via glass tubes or measurements cartridges - Includes 8 glass tubes, 8 measurements cartridges with connecting lines, mounted on an aluminum bar

818011 - OIL PRESSURE TEST SET

Tests oil pump pressure and also low oil warning devices. Ø75mm gauge fitted with heavy duty cover. Fitted with quick coupling adaptors and 1200mm hose. Includes 90° coupling adaptor for limited access applications.

818004 - DIESEL INJECTOR SEAT CLEANER SET 7-PCS

Set of five diesel injectors seat cleaners a centering pilot and T-handle. Use to clean/decarbonise injector seats when changing injectors. Helps to avoid blow-back due to poorly seated injectors.

805012 - INJECTOR/INJECTOR-EXTRACTION TOOL SET

Specially for VW/Audi/Seat/Skoda, suitable for

- SDI-/TDI- und TFSI- diesel engine (also pump/nozzle and common rail)

- FSI gasoline engines

For the professional dismantling and installation of injectors/injection valves as well as the unit pump nozzle. The striking weight also enables the removal of jammed elements.

SET

- To measure return fuel flow on diesel vehicles up to 6 cylinders fitted with common rail injection system

- Determination of the runback volume via glass tubes or measurements cartridges

- Includes 6 glass tubes, 6 measurements cartridges with connecting lines, mounted on a aluminum bar

818010 - MASTER COMPRESSION TEST SET

A comprehensive set for testing the compression on diesel vehicles. Features 600psi gauge with large rubber bumper, straight and right angled quick connect fittings and an extensive range of spark/glow plug and injector adaptors.

- Spark plug sizes: 10, 12, 14, 18mm

- Glow plug adaptors: Alfa Romeo, BMW, Chrysler, Citroën, Daewoo, Fiat, Ford, Honda, Hyundai, Isuzu, Jeep, Kia, Lada, Lancia, Land Rover, LDV, Mazda, Mercedes, MG, Mitsubishi, Nissan, Peugeot, Renault, Rover, Saab, Ssangyong, Suzuki, Toyota, VAG, Vauxhall/Opel, Volvo

- Injector adaptor: M20, M22, M24 & Ford Stanadyne injectors plus clamp-on injectors

SONIC-EQUIPMENT.COM 304
tools 04
Special
DESCRIPTION
#
Pilot post
15mm flat reamer 818004-4 17mm flat reamer 818004-5 17mm angled reamer 818004-6 17mm x 19mm flat
angled
818004-1 T-handle 818004-2
818004-3
reamer 818004-7 17mm x 21mm
reamer
819005 - COMMON RAIL FLOW METER

818016 - CAMSHAFT & CRANKSHAFT LOCKING SET, 19-PCS

Anodized aluminum chocks suitable for locking camshaft pulleys on twin cam engines. Allows the service easier and reduce the risk of incorrect valve timing from taking place. Set includes flywheel locking tools for selected PSA (Citroën/ Peugeot) and GM (Vauxhall/Opel) petrol and diesel engines. Suitable for a range of vehicles including: Ford, Honda, Land Rover, Rover, VW, Renault, Citroën, Peugeot, Fiat and Vauxhall/Opel.

# DESCRIPTION

818016-1 A. camshaft setting and locking plate

818016-2 Q. balancer shaft locking pin

818016-3 O. crankshaft tdc location pin

818016-4 N. camshaft locking pins (5.0mm, pair)

818016-5 P. camshaft locking pins (6.8mm, pair)

818016-6 K. flywheel holding tool

818016-7 M. flywheel holding tool

818016-8 B. camshaft locking tool

818016-9 C. camshaft locking tool

818016-10 D. camshaft locking tool

818016-11 E. camshaft locking tool

818016-12 F. camshaft locking tool

818016-13

G. camshaft locking tool

818016-14 H. camshaft locking tool

818016-15 I. camshaft locking tool

818016-16 J. camshaft locking tool

818016-17

824002 - TIRE GAUGE (60 PSI)

For universal use, for building up pressure and vacuum. Complete with hose and various couplings in a case. Ideal for brake and clutch bleeder and to bleed the fuel system as at (ISA) V6 TDI engines as well as for testing.

- Vacuum cells e.g. on air-conditioning systems

- Turbochargers etc.

- Vacuum - 0,8 bar

- Pressure - 4 bar

818014 - RADIATOR PRESSURE TEST SET, 17-PCS

- Testing range 0-2,5 bar

- Suitable for all standard vehicles

818029 - RADIATOR PRESSURE TEST SET, 28-PCS

- Testing range 0-2,5 bar

- Suitable for all standard vehicles

818017 - TOOTH BELT TOOL SET, 3-PCS

- Set for working and locking the tooth belt tensioner rolls

- Timing belt tensioner pins-OEM Nos T10115, T40011 and serpentine tension pin-T10060/A.

- For use on: Lupo.

818015 - PETROL ENGINE COMPRESSION TEST SET

SONIC-EQUIPMENT.COM 305 04
819009 - CYLINDER PRESSURE METER SET Quick connect/disconnect feature allows one gauge to be used with variety of quick adaptors for most popular diesel engines. Push pressure scale:
4822504
TYRE THREAD GAUGE
L. camshaft locking tool
0<->1000PSI 0<->70 Bar
-
826001
- VACUUM PUMP SET
Polo 1.4 TDi PD Golf,
Polo 1.9 TDi PD, Beetle, Sharan 1.9 TDi PD, Passat 1.9 TDi PD, Audi A2 / A3 1.4 / 1.9 TDi PD, A4 / A6 1.9 TDi, A4 / A6 / A8 / Allroad 2.5 V6 TDi.
Bora,
Compression tester fitted with Ø63mm gauge reading up to 300psi and 20kg/cm². Set includes 130mm straight and angled push-on connectors, 400mm flexible extension with 10, 12, 14 and 18mm adaptors.

Special tools

820006 - AXIAL JOINT TOOL SET, 30-45MM

- For fast and professional changing of the axial joints of cars

- Automatic clamping of the joint heads

- Easy assembling of long tie rods because of open construction

- Saves up to 3 hours of working time

- For joint heads Ø30-35mm, Ø35-40mm and Ø40-45mm

DESCRIPTION

820006-1 Axial joint tool

820006-2 Joint heads Ø30-35mm

820006-3 Joint heads Ø30-40mm

820006-4 Joint heads Ø40-45mm

818021 - BLIND HOLE BEARING PULLER SET

- 10-PCS clamps: 8-11mm, 12-17mm, 18-23mm, 24-29mm, 30-34mm, 34-37mm, 39-42mm, 44-47mm, 49-52mm, 54-57mm

- 3PCS screw: M10xP1.5, M10xP1.5 & M8xP1.25, M10xP1.5 & M6xP1.0

- One slide hammer - One two jaw puller

# DESCRIPTION

818021-1 One slide hammer

818021-2

818021-3 Clamp 8-11mm

818021-4 Clamp 12-17mm

818021-5 Clamp 18-23mm

818021-6 Clamp 24-29mm

818021-7 Clamp 30-34mm

818021-8 Clamp 34-37mm

818021-9 Clamp 39-42mm

818021-10 Clamp 44-47mm

818021-11 Clamp 49-52mm

818021-12 Clamp 54-57mm

818021-13 Screw M10xP1.5

818021-14 Screw M8xP1.25

818021-15 Screw M6xP1.0

For removing the retaining rubbers on exhaust systems

819001 - NUT BREAKER SET, 4-PCS

- For the splitting of seized and/or overtightened nuts without damaging the thread - Flat round head design allows tool to be used in inaccessible areas drive to prevent binding under load - Does not damage the bolts threads # DESCRIPTION

819001-1 5/16” - 1/2” (9-12mm)

819001-2 1/2” - 5/8” (12-16mm)

819001-3 5/8” - 7/8” (16-22mm)

819001-4 7/8” - 1.1/8” (22-27mm)

819002 - FORK ROD SET, 5-PCS

Forks made of drop forged heavy duty chrome vanadium steel # DESCRIPTION

819002-1 1 handle for use with pneumatic air hammer

819002-2 Both handles are interchangeable

819002-3 Drop forged forks 11/16”

819002-4 Drop forged forks 15/16”

819002-5 Drop forged forks 1-1/8”

818028 - SEPARATING AND MOUNTING FORK 16”

- For tie-rod ends and steering column stalk - 410mml

Perfect for the removal and fitting of springs on brakes, headlights, motorbike mufflers and much more. The bent shape of the fitting hook allows a free view of the fitting spot.

SONIC-EQUIPMENT.COM 306
04
#
two jaw puller
One
47815 - DOUGHNUT STRETCHER 47816 - FITTING HOOK

818023 - TEST LEAD SET, 92-PCS

Comprehensive set of test leads and components suitable for testing, isolating and evaluating automotive electronic circuits. Set includes standard Ø24mm banana style plugs and sockets suitable for use with most diagnostic multi-meters and test equipment.

818025 - FUEL & AIR CONDITIONING TOOL SET, 22-PCS

Comprehensive kit for separating air conditioning hoses and fuel lines. Suitable for a wide variety of vehicles. # DESCRIPTION

818024-1 Coupling tools 3/8”

818024-2 Coupling tools 1/2”

818024-3 Coupling tools 5/8”

818024-4 Coupling tools 3/4”

818024-5 Color coded disconnecting 5/16”

818024-6 Color coded disconnecting 3/8”

818024-7 Color coded disconnecting 1/2”

818024-8 Color coded disconnecting 5/8”

818024-9 Color coded disconnecting 3/4”

818024-10 Color coded disconnecting 7/8”

818024-11 Fuel line disconnect tool

818024-12 Ford oil cooling line disconnect tool

818024-13 Ford oil cooling line coupling tool

818024-14 Ford/Vauxhall/Opel quick disconnect tool

818024-15 Disconnecting 1

818024-16 Disconnecting 2

818024-17 Disconnecting 3

818024-18 Disconnecting 4

818024-19 Disconnecting 5

818024-20 Disconnecting 6

818024-21 Disconnecting 7

818024-22 Spare rubber bands 805007 - TERMINAL RELEASE TOOL SET, 16-PCS

- These tools are spring loaded to assist the removal on Citroën, Peugeot and Renault vehicles - Simply pull the tool and bend, releasing the side locking slot - For damage free releasing of plug type connectors with folding/sheaths to protect the user and the fine precision tips - Blow mould case supplied with positional insert for easy identification of missing tools

805007-1 CE-01, CE-11 Ejection tools for contact sizes Ø1.5mm with dismantling sleeves for contact sizes

Daimler, Fiat, MAN, Opel, Porsche, Seat,

805007-2 CE-02, CE-12 Ejection tools for contact sizes Ø3.5mm with dismantling sleeves for contact sizes BMW, Daimler, Fiat, MAN, Opel, Porsche, Seat, Skoda, VW/Audi

805007-3 CE-05, CE-15 Ejection tools for contact sizes Ø2.3mm with dismantling sleeves for contact sizes Ford, Opel, PSA, Renault

805007-4 CE-53

805007-5 CE-54

805007-6 CE-56

Cable extractor tool for plugs with one release channel 2.8 and 5.8mm

BMW, Daimler, Ford, MAN, Opel, Porsche, PSA, Renault, Seat, Skoda, VW/Audi

Cable extractor tool for plugs with one release channel 2.8mm BMW, PSA, Renault

Cable extractor tool for micro-timer II, III contacts Ø1.6mm Daimler, Opel, Porsche, PSA, Renault, Saab, Seat, Skoda, VW/Audi

805007-7 CE- 56-1 For flat plug-in sockets with asymmetrically positioned latches in terminals with two release channels Seat, Skoda, VW/Audi.

805007-8 CE-57 For flat plug-in sockets with asymmetrically positioned latches in terminals with two release channels Seat, Skoda, VW/Audi

805007-9 CE-58 For flat plug-in sockets with asymmetrically positioned latches in terminals with two release channels Seat, Skoda, VW/Audi

805007-10 CE-59

805007-11 CE-62

805007-12 CE-74

805007-13 CE-91

Cable extractor tool for Maxi-Power Timer contacts 9.5mm Daimler, VW/Audi

Cable extractor tool for Pit-Pod contacts All vehicle makes

Cable extractor tool for Micro-Timer I contacts and ABS plug-in housing Ø1.6mm

Cable extractor tool for plugs with two release channels 2.8 and 5.8 mm

Fiat, Ford, Mazda, Opel, PSA, Renault, Saab, VW/Audi

BMW, Daimler, Fiat, Ford, MAN, Opel, PSA, Renault, Saab, VW/Audi

SONIC-EQUIPMENT.COM 307 04
# NO. DESCRIPTION SUITABLE FOR
BMW,
Skoda, VW/Audi
-
and install the valve spring with the cylinder head on or off the OHV
petrol or diesel engines - An ideal tool kit for most of engines - The multi-point adjustable base of this tool bolted securely to the head while the adjustable lever mechanism pivots form the beam. Thus, compress the spring quickly by one hand operation - Fast remove and install of the spring retaining keeper. Then easily accomplished through the large open on both sides of the compressing tube
819008 - VALVE SPRING COMPRESSOR SET
To remove
& OHC

4411003 - HEAD RIVETER

- Capacity: M6 steel; M5 stainless steel

- Supplied with 4 steel nuts M3 - M4 - M5 - M6

- Max multiple of arm force 35

- Rotary nut loading structure

- Aluminium alloy body

- Chrome molybdenum alloy steel mandrel

- The riveted parts can be replaced without removing the sleeve 4411002 -

- Capacity: Diameter 6.4 mm alu rivets; Diameter 6 mm steel rivets

- Supplied with 5 nosepieces diameter 2.4, 3.2, 4.0, 4.8, 6.4 mm

- Max multiple of arm force 30

- Spent nail core collect

- Aluminium alloy body

- Hexagonal jaw pulldown seat and 3pcs allay steel jaw makes more durable

- Manual adjustable sleeve makes removing easily without any tool

- Capacity: Ø 5 mm aluminium - Ø 4 mm steel

- Supplied with 4 nosepieces diameter 2.4, 3.2, 4.0, 4.8mm

- Max multiple of arm force 26

- Aluminium alloy body

- Hexagonal jaw pulldown seat and 3pcs alloy steel jaw makes more durable

- Manual adjustable sleeve makes removing easily without any tool

SONIC-EQUIPMENT.COM 308 Special tools 04
4411001 - HEAD NUT RIVETER
NUT PLIERS
RIVETING

WORK EFFICIENT WORK WITH SONIC

Sonic timing tools

WORK EFFICIENT, WORK WITH SONIC.

SONIC-EQUIPMENT.COM 310
04

829027 - ENGINE TIMING KIT BMW DIESEL M47 - 2.0

The 829027 has been developed to allow the engine timing to be set on the BMW M47 2.0L, 2.5L 4 cylinder diesel engines and the 3.0L 6 cylinder diesel engines found in BMW’s, Rover 75 and Land Rover Freelander TD4 circa pre 2010.

1

3 4880024 11-3-340 4mm loop pin (zinc plated)

4 4880023 11-6-322 Locking clamp assembly

5 4880038 11 5 180, LRT 12-227 Flywheel

6 4880039 11 6 080

829028 - ENGINE TIMING KIT BMW PETROL N51, 52, 53, 54 - 2.3, 2.5, 2.8, 3.0 6 CYLINDER

The 829028 has been developed to allow the camshafts, vanos units and crankshaft to be locked in their timed position on the applications listed below. Applications: BMW

1 4880259 11 4 280, 11 4 281, 11 4 282, 11 4 283, 11 4 285 Camshaft alignment tool (N51 & N52)

2 4880060 11 4 290, 11 8 520 4.0mm setting pin

3 4880059 11 0 300 Setting pin (MM23060 03A)

4 4880261 11 4 280, 11 4 281, 11 4 283 Camshaft locking plate for N53 & N54 engines assembly

5 4880026 11 9 340 Timing chain pre-tensioning tool assembly (11 9 340)

6 4880028 - M6 x 30 hex head setscrew

7 4880010 - Washers M6

8 4880047 - Washer M8 zinc plated

9 4880211 - M7 x 20 set screw

829029 - ENGINE TIMING KIT BMW PETROL N43 - 1.6, 2.0

The 829029 has been developed to allow the user to lock the camshafts and crankshaft in position on the BMW N43 chain driven petrol engines. The N43 engines are found in 1.6 and 2.0 versions from around 2006 up to the present day. There is a 7 piece kit (not including fixings) which include a camshaft alignment tool/locking plate, a camshaft sensor alignment tool, a crankshaft setting/locking pin, a timing chain pre tensioning tool, a balance shaft locking plate and 2 tensioner locking pins.

COMPONENTS REF # OEM DESCRIPTION

1 4880025 11 5 120 Crankshaft setting pin-BMW

2 4880026 11 9 340 Timing chain pre-tensioning tool assembly (11 9 340)

3 4880024 11 3 340 4mm loop pin (zinc plated)

4 4880257 11 8 710 (11 8 711 11 8 712) BMW camshaft position sensor tool assy (N43)

5 4880256 11 8 690 (11 8 691 11 8 692, 11 8 693) Camshaft alignment tool (N43)

6 4880258 11 8 700 Balancer shaft alignment tool (N43)

7 4880169 M6x16 HT setscrew-S/Col

8 4880028 M6 x 30 hex head setscrew

9 4880010 Washers m6 form C Zc.PL

SONIC-EQUIPMENT.COM 311 04
BMW - MINI
PETROL DIESEL BELT CHAIN PETROL DIESEL BELT CHAIN COMPONENTS REF # OEM DESCRIPTION
4880018 11-2-300, LRT-12-108, LRT-12-171 Crankshaft locking pin 2 4880022 11-6-320 Camshaft setting clamp
locking pin type
1 (BMW 115 180)
Flywheel locking pin body type
2 (BMW 116 080)
BMW - MINI
PETROL DIESEL BELT PETROL DIESEL BELT CHAIN COMPONENTS REF
OEM DESCRIPTION
#
BMW - MINI
PETROL DIESEL BELT PETROL DIESEL BELT CHAIN

Sonic timing tools

SONIC-EQUIPMENT.COM 312 04 829030
ENGINE TIMING KIT BMW, PSA PETROL N12, N14 -1.4, 1.6 BMW - MINI
removal
drive chains on the
1,4
1,6 petrol engines. PETROL DIESEL BELT PETROL DIESEL BELT CHAIN COMPONENTS REF # OEM DESCRIPTION
4880035 11 9 540 / 0197-A3 Camshaft alignment tool body type 2 (of 2) 2 4880034 119540 / 0197-A3 Camshaft alignment tool body type 1 (of 2) 3 4880036 11 9 540 / 0197-A1 Camshaft alignment tool item 1 of 2 (OEM 119 540QC4 item 1)
4880030 11 9 550 / 0197-A2 Camshaft alignment tool (119 550/551) inlet setting plate
4880031 11 9 551 Camshaft alignment plate (OEM 119 550/551exhaust setting) 6 4880032 11 9 552 Support clamp BMW (OEM 119 550/552) 7 4880026 11 9 340 Timing chain pre-tensioning tool assembly
340)
4880134
M6 x 30 hex head setscrew black (self colour) 9 4880028
M6 x 30 hex head setscrew 10 4880322
Shank bolt 6 x 12
M5 thread 11
9 590 / 0197-B Crankshaft setting pin G.A-BMW 12 4880181 - M6 x 20 H T setscrew S/C 13 4880216 - M6 x 30 cap head screw 829031
ENGINE TIMING KIT BMW, PSA PETROL N12, N14 -1.4, 1.6 BMW - MINI The 829031 has been developed for the 1.6/1.8/2.0 BMW petrol engines found in the BMW 3, 5, X and Z4 series vehicles up to 2014. PETROL DIESEL BELT PETROL DIESEL BELT CHAIN COMPONENTS REF # OEM DESCRIPTION 1 4880018 11 5 120, 11 2 300 Crankshaft locking pin 2 4880025 11 9 190 Crankshaft setting pin-BMW 3 4880020 11 9 340 Large bush - preload tool 4 4880029 11 9 292 Inlet camshaft alignment tool-BMW 118i/120i 5 4880043 11 9 350 N42/N46 vanos sensor gear alignment tool 6 4880027 11 9 291 Exhaust Camshaft alignment tool assy. 7 4880021 - Screw pre load tool item 2 8 4880010 - Washers m6 form C Zc.PL. 9 4880028 - M6 x 30 hex head setscrew 10 4880114 - M6 x 55 H.T. Setscrew s/col 11 4880165 - M8 x 25mm socket head cap screw 829032 - ENGINE TIMING KIT BMW PETROL N40, 45, 45T - 1.6 BMW - MINI The 829032 has been developed to allow the user to check and adjust the camshaft timing and remove/ replace the cam chain. The 829032 also includes the vanos plate which is required to lock the variable valve timing system in the correct position. PETROL DIESEL BELT PETROL DIESEL BELT CHAIN COMPONENTS REF # OEM DESCRIPTION 1 4880042 11 7 252 Camshaft locking tool inlet side (OEM 11 7 252) 2 4880019 - Screw pre load tool 3 4880020 11 9 340, 11 9 341 Large bush - preload tool 4 4880040 11 7 260 N40/N45 vanos sensor gear alignment Tool OEM 11 7 260 5 4880041 11 7 251 Camlock plate assembly exhaust side (OEM 117 250) 6 4880028 - M6 x 30 hex head setscrew 7 4880025 11 9 190 Crankshaft setting pin-BMW 8 4880165 - M8 x 25mm socket head cap screw 9 4880114 - M6 x 55 H.T. Setscrew S/Col 10 4880010 - Washers M6 form C Zc.PL
-
The 829030 has been developed to allow the
and fitting of the camshaft
PSA/Mini
and
1
4
5
(11 9
8
-
-
-
x
4880033 11
-

3

4

2

1

5

3

1

2

829033 - ENGINE TIMING KIT BMW, MINI DIESEL N47, 47S - 1.6, 2.0, 3.0

The 829033 has been developed to allow the user to check and adjust the camshaft timing and remove/ replace the cam chain on the 1,6/2,0 and 3,0 BMW diesel engines found across the BMW range. N.B: For some applications additional crankshaft holding tool OEM 11 4 320 may be required, sold separately as Sonic number: 829102 Front crankshaft holding tool; or OEM 11 7 220 tool available separately as Sonic 829105.

829034 - ENGINE TIMING KIT BMW PETROL N62, 73 - 3.6, 4.0, 4.4, 4.8, 6.0, V8, V12

The 829034 has been developed for BMW N62 V8 and N73 V12 engines. The 829034 kit allows the user to check and hold the valve timing whilst maintaining the correct timed position of the camshafts and crankshaft.

829097 has been designed to set the balance shafts

SONIC-EQUIPMENT.COM 313 04
BMW - MINI
PETROL DIESEL BELT CHAIN PETROL DIESEL BELT CHAIN COMPONENTS
OEM DESCRIPTION
REF #
pulley turning tool
480)
4880044 11 6 480 Crankshaft
(11 6
pressure pump sprocket retainer (11 8 740)
4880045 11 8 740 Hi
4880046 11 5 320 Flywheel plate timing pin (OEM 11 5 320)
4880037 11 8 760 Camshaft alignment tool BMW OEM 11 8 760
4
4880024 11 3 340
loop pin (zinc plated)
4mm
BMW - MINI
PETROL DIESEL BELT PETROL DIESEL BELT CHAIN COMPONENTS REF # OEM DESCRIPTION
190 Crankshaft setting pin-bmw
4880025 11 9
Bmw inlet camshaft gauge plate (OEM 11 9 461)
4880207 11 9 461
exhaust camshaft gauge
4880208 11 9 462 Bmw
plate (OEM 11 9 462)
assembly
829097
BALANCE SHAFT SETTING KIT BMW DIESEL N47 - 2.0 BMW - MINI
on BMW N47 diesel engines when the balance shafts have been disturbed also includes the crankshaft setting bridge required to set the crankshaft in its bottom dead centre (BDC) number 1 position.(see application list). PETROL DIESEL BELT CHAIN PETROL DIESEL BELT CHAIN COMPONENTS REF: COMPONENT OEM DESCRIPTION A 11 8 750 Balance shaft alignment tool B 11 8 790: (11 8 791 11 8 792, 11 8 793) Crankshaft alignment tool REF # OEM DESCRIPTION A 4880291 11 8 750 BMW balancer shaft locating tool B 4880292 11 8 790, 11 8 791, 11 8 793 BMW crankshaft locator tool 829101 - BALANCE SHAFT SETTING KIT BMW BMW - MINI BMW - N40, N42, N43, N45, N46, N49, N52 829101 has been specifically designed to set the balance shafts on BMW engines when the balance shafts have been disturbed. Equivalent to OEM 11 7 700, 11 5 140, 11 9 280, 11 9 330 PETROL DIESEL BELT PETROL DIESEL BELT CHAIN COMPONENTS REF # OEM DESCRIPTION 1 4880286 11 8 700 BMW balancer shaft locking tool (119 330) 2 4880287 11 5 140 BMW balancer shaft holding tool (115 140) 3 4880288 11 9 280 BMW crankshaft holding tool 4 4880258 11 9 330 Balancer shaft alignment tool (N43)
4880209 11 9 463 Clamp
(N62 / N73)
-

Sonic timing tools

829102 - CRANKSHAFT HOLDING TOOL BMW DIESEL N47/57 - 1.6/2.0/3.0

829102 is a crankshaft locking and holding tool is designed to lock the crankshaft on the N47 (2.0L) and N57 (3.0L) diesel engines from 2007 found in the BMW range. It is specifically required when replacing or repairing the secondary drive chains on the engines listed. Additional camshaft or balance shaft tooling may be required. Equivalent to OEM 11 4 320.

- AUXILIARY

the

SONIC-EQUIPMENT.COM 314 04
BMW - MINI
PETROL DIESEL BELT CHAIN PETROL DIESEL BELT CHAIN 1 6 3 5 4 2 COMPONENTS REF
OEM DESCRIPTION
#
1 4880301 11 4 320 Machining detail for BMW N47 & N57 crankshaft locking tool
socket black
HT setscrew-s/col
Washers
form
DRIVE BELT WRENCH SET PETROL BMW MINI - 1.6 BMW - MINI
S (pre. 2007 Mk1), Mini Convertible (pre 2009 Mk1). PETROL DIESEL BELT PETRCHAINOL DIESEL COMPONENTS REF # OEM DESCRIPTION 1 4880138 11 8 410 Belt tensioner assembly 2 4880139 11 8 390 BMW mini camshaft pulley wrench (11 8 390) 3 4880002, 4880003 11 8 470 & 11 8 280 Ø4mm tensioner pin + Ø4.5mm tensioner pin 829105 - FRONT PULLEY HOLDING TOOL BMW N47/N57 DIESEL ENGINE 1.6/2.0/3.0 BMW - MINI
is a special crankshaft pulley holding tool for the N47/N57 BMW diesel engines found across the BMW and Mini ranges. Designed to hold the crankshaft pulley stationary while loosening or tightening the centre bolts of the pulley. Equivalent to OEM 11 7 220 PETROL DIESEL BELT CHAIN PETROL DIESEL BELT CHAIN COMPONENTS REF # OEM DESCRIPTION 1 4880221 11 7 220 Brace welded assy 2 4880220 Threaded boss 3 4880333 M16 flat washer form a to DIN 125A 4 4880327 Lock nut M16 x 1.5 24mm A/F 8mm thk chemi black
4880213 M10 x 100 SKT HD cap screw 6 4880217 M8 x 100mm cap head
2 4880302 - Pin for BMW N47 & N57 crankshaft locking tool (11 4 320) 3 4880110 - M5 x 10mm countersunk
4 4880169 - M6x16
5 4880010 -
M6
C Zc. Pl. 6 4880328 - M6 fullnut 829104
This tool set simplifies
removal and replacement of the serpentine belt when servicing or repairing the W10, W11 1600cc engines as used in the Mini One, Cooper & Cooper
829105
5

4

5

A complete engine timing kit designed to allow the timing to be set and checked on the 1.4 | 1.6 PSA | BMW engines found in the BMW, Mini and PSA ranges. Engine codes covered include N12, N13, N14, N16 and N18 for BMW Mini and EP3, EP6 for Citroën | Peugeot from 2006 to 2016.

Specifically designed to offer an alignment solution for the BMW 1.6 and 2.0L N47, B47 and B48 diesel engines found across the BMW range from as early as 2008 up to 2016. The set combines the BMW N47 balance shaft locking tool and the B47/B48 locking tools into one simple to use tool. The innovative EU registered design eliminates the requirement for a separate crankshaft alignment tool by combining the functionality of the OEM tools 11 8 790, 11 8 750 and 2 288 054 into one tool with interchangeable balance shaft alignment adaptors. 829131 supersedes Sonic Equipment 829097.

The 829017 has been developed to allow the user to change the cam belt on the later Z and A coded GM Petrol belt driven engines. These engines are also found in Fiat and Alfa Romeo vehicles as listed below.

1

2 4880168 KM-911 Flywheel locking tool item 2 3 4880185 KM6130, KM6349 Auxilliary drive belt tensioner locking pin (4 x 55)

4 4880239 KM-6628A, 2 000 012 000 Camshaft locking tool (GM)

5 4880057 KM-6340, 2 000 012 100 Cam locking tool (pair)

6 4880058 KM-6333 Locking pin

SONIC-EQUIPMENT.COM 315 04
TIMING
BMW - MINI
829121 -
CHAIN LOCKING KIT PSA/BMW 1,4/1,6 PETROL
PETROL DIESEL BELT PETROL DIESEL BELT CHAIN COMPONENTS REF # OEM DESCRIPTION
4880375
Inlet camshaft alignment tool
4880372
Exhaust camshaft alignment tool
4880349
15lg caphead screw to iso 4762
1
-
2
-
3
- M10 x
4880378
alignment tool-2 base plate
- Camshaft
4880358
Flywheel timing pin for psa 1.0 & 1.2 assembly
4880416
M5x16 c/sink skt head screw 7 4880373 - Exhaust camshaft alignment tool adapter 2 8 4880380 - Link bar for a & b 9 4880377 - Inlet camshaft alignment tool adapter 1 10 4880379
Camshaft alignment tool adapter -5 11 4880374 - Exhaust camshaft alignment tool adapter 2 12 4880379 - Exhasut camshaft alignment tool adapter 3 13 4880415 - Angle bracket 14 4880371 - Dummy timing chain tensioner 15 4880415
Digital inclinometer is a digital angle gauge or digital protractor 829131 - BALANCE SHAFT ALIGNMIENT TOOL - BMW B47/B48N47 BMW - MINI
-
6
-
-
-
PETROL DIESEL BELT CHAIN PETROL DIESEL BELT CHAIN COMPONENTS REF # OEM DESCRIPTION 1 4880404 2 288 054 Balancer shaft alignment tool base assembly 2 4880405 83 20 2 288 054 Balancer shaft alignment tool base assembly 3 4880406 - M8 x 30 cap head 4 4880353 11 8 750 Bmw N47 spigot for bmw balance shaft holding tool
4880346 - Ht bolt M10 x 50 self colour
5
CHEVROLET - CHRYSLER DODGE
829017 - ENGINE TIMING KIT OPEL, CHEVROLET, FIAT PETROL - 1.6, 1.8 16V
PETROL DIESEL BELT PETRCHAINOL DIESEL
REF # OEM DESCRIPTION
COMPONENTS
4880234 KM-6625 Flywheel holding tool (KM-6625)

Sonic timing tools

829064 - ENGINE TIMING KIT OPEL/CHEVROLET/SAAB PETROL (A20/A24) - 2.0, 2.4

DevEloped specifically for the high power output 2.0 litre and 2.4 litre twin cam turbo charged petrol engines found across the GM, Chevrolet and Saab ranges. This kit provides all the components required to set and hold the camshafts, crankshaft and chain tensioner components when performing major engine work or replacing the cam chain and associated components.

COMPONENTS

REF # OEM DESCRIPTION

1 4880231 EN-49212, EN-49212-1 Vauxhall - Opel - camshaft locking tool LHS (OEM ref: EN-492)

2 4880232 EN-49212, EN-49212-2 Vauxhall - Opel - camshaft locking tool RHS (OEM ref: EN-492)

3 4880317 EN-48953 Camshaft adjuster holding tool

4 4880318 EN-48585 Crankshaft bolt hole balancer

5 4880320 J45027-2, EN45027-2, EN-45027, Tension plunger holder

6 4880321 EN-45027-1, J-45027-1 Tension plunger remover

7 4880319 EN-43653, J43653 Flywheel holding tool bottom half

8 4880135 EN-43653, J43653 Flywheel holding tool

9 4880214 - M6 x 50 caphead screw

10 4880010 - Washers M6 form C Zc.Pl. 11 4880173 EN-955-20, KM 955-20 Tensioner location pin 4mm

12 4880172 EN-955-10, KM955 Tensioner location pin 2.5mm

13 4880215 - M6 x 16 cap head screw self-colour to BS4168

829083 - ENGINE TIMING KIT CHRYSLER/LDV

The 829083 kit was developed for the Chrysler DOHC common rail diesel engine found in the Voyager, Grand Voyager and the LDV Maxus van. The 829083 kit allows the user to replace the timing belt whilst maintaining the correct timed position of the camshafts and crankshaft.

COMPONENTS

1

6

- CHRYSLER

2

1

The 829084 kit has been developed specifically for the 2008 and later 2.8 CRD Chrysler/Jeep engines where the cam belt drives one camshaft and the second camshaft is driven via gears. The 829084 kit is a 2 piece kit consisting of the components required to lock the crankshaft and camshafts in their timed position to allow the removal and replacement of the cam belt and associated components.

SONIC-EQUIPMENT.COM 316 04
CHEVROLET
DODGE
PETROL DIESEL BELT PETROL DIESEL BELT CHAIN
DIESEL CRD - 2.5, 2.8 CHEVROLET - CHRYSLER DODGE
PETROL DIESEL BELT CHAIN PETROL DIESEL BELT
REF # OEM DESCRIPTION
4880222 VM.1089, LDV196 Chrysler 2.5/2.8 CRD timing pin - VM.1089 2 4880223 VM.1068, LDV196 Timing pin (chrysler 2.5/2.8 CRD VM.1068) 3 4880224 VM.1052, LDV192 Timing pin (chrysler 2.5/2.8 CRD VM.1052) 4 4880225 VM.1053, LDV193 Timing pin (chrysler 2.5/2.8 CRD VM.1053) 5 4880226 VM1074 Timing belt retaining spring (VM.1074)
4880015 VM.9660, H2587 Tension wrench 7 4880282 VM.1080 Chrysler timing pin (VM.1080) 8 4880283 VM.8873 Chrysler timing pin (VM.8873)
ENGINE TIMING KIT CHRYSLER/JEEP DIESEL CRD - 2.8 CHEVROLET - CHRYSLER DODGE
829084 -
PETROL DIESEL BELT CHAIN PETROL DIESEL BELT COMPONENTS REF # OEM COMPONENTS
4880284 VM.9992 Chrysler crankshaft locking tool (VM.9992)
4880285 VM.9991 Chrysler exhaust camshaft
tool
locking
(VM.9991)

4

5

3

1

829085 - ENGINE TIMING KIT CHRYSLER/JEEP DIESEL CRD - 3.0

The 829085 kit has been designed for the Jeep 3.0 lt V6 diesel engine found in the late model (2011 on) Jeep Grand Cherokee. The 829085 provides all the cam and crankshaft locking tools required for chain replacement.

-

The 829086 covers a large range of vehicles fitted with chain driven engines from Mercedes-Benz including the PT Cruiser 2.2 CRD and Jeep Grand Cherokee 2.7 CRD from Chrysler.

1

2 4880206

829016 - ENGINE TIMING & REBUILD

FIAT, OPEL, FORD, PSA JTD DIESEL - 1.3

The 829016 has been developed to allow the user to change the cam chain on the later 1.3 JTD/CDTi & HDi diesel engines found in the PSA, Fiat, Ford, Suzuki and Opel ranges.

REF #

1 4880200 1 871 000 200, 303-1469, KM-662-C Crankshaft pulley flange holding tool

2 4880004 1 870 900 400 Timing chain tensioning tool

3 4880005 0104-C, 1 870 900 300, 303-1468 Crankshaft alignment tool

4 4880183 0104-A, 1 871 000 900, 1 860 985 000, EN 46781, 09917-68610 Camshaft alignment tool assy

5 4880186 EN 46785, 09912-38300 Crankshaft pin assy

6 4880096 Fiat 8mm pin Locking pin (8mm dia. 70 long)

829017 - ENGINE TIMING KIT OPEL, CHEVROLET, FIAT PETROL - 1.6, 1.8 16V

The 829017 has been developed to allow the user to change the cam belt on the later Z and A coded GM Petrol belt driven engines. These engines are also found in Fiat and Alfa Romeo vehicles as listed below.

COMPONENTS

REF # OEM DESCRIPTION

1 4880234 KM-6625 Flywheel holding tool (KM-6625)

2 4880168 KM-911 Flywheel locking tool item 2

3 4880185 KM6130, KM6349 Auxilliary drive belt tensioner locking pin (4 x 55)

4 4880239 KM-6628A, 2 000 012 000 Camshaft locking tool (GM)

5 4880057 KM-6340, 2 000 012 100 Cam locking tool (pair)

6 4880058 KM-6333 Locking pin

SONIC-EQUIPMENT.COM 317 04
CHEVROLET - CHRYSLER DODGE
PETROL DIESEL BELT CHAIN PETROL DIESEL BELT CHAIN COMPONENTS REF # OEM DESCRIPTION 2 1 5 4 3
4880311 VM10338-1 Camshaft locking tool RH - assy
2 4880310 VM10338-2 Camshaft locking tool LH - assy
- - Cap head screws for reference 1
4880313 VM10359a Crankshaft timing pin assy
ENGINE TIMING
MERCEDES-BENZ/CHRYSLER CRD - 2.2, 2.7 CHEVROLET - CHRYSLER DODGE
4880312 VM10339 Tensioner locking pin 829086
KIT
PETROL DIESEL BELT CHAIN PETROL DIESEL BELT CHAIN
REF
OEM
COMPONENTS
#
DESCRIPTION
4880203 602 589 00 40 00 8929 Flywheel locking tool
602 589 00 40 00 8929 Camshaft locking pin assy
4880205 601 589 02 40 00 8933 Flywheel locking tool Mercedes-Benz 602 589 00 40 00
3
4 Bolts for reference 3
FIAT - ALFA ROMEO
SET
PETROL DIESEL BELT CHAIN PETROL DIESEL BELT CHAIN
COMPONENTS
OEM DESCRIPTION
FIAT - ALFA ROMEO
PETROL DIESEL BELT PETRCHAINOL DIESEL

5

Sonic timing tools

829018 - ENGINE TIMING KIT FIAT, PSA, IVECO JTD DIESEL - 2.8

The 829018 has been developed for Fiat 2.8 diesel engines that are found in the Fiat, Iveco and PSA van ranges. This kit provides all the tools required to set the timed components when replacing the timing belt. The kit also includes the components require to lock the flywheel when undoing and tightening up the front pulley fixings as well as the special spacer to hold the belt tensioner in its fully retracted position.

1 4880237 1 870 765 001 Flywheel locking piece (Fiat)

2 4880090 1 860 617 000 Setting pin 5.0mm (5 x 50)

3 4880097 8mm pin Locking pin (8mm dia. x 60 long)

4 4880132 1 860 638 000 Tensioning tool

829019 - ENGINE TIMING KIT FIAT T JET PETROL - 1.2, 1.4

The 829019 has been developed

1

SONIC-EQUIPMENT.COM 318 04
FIAT - ALFA ROMEO
PETROL DIESEL BELT CHAIN PETROL DIESEL BELT CHAIN COMPONENTS
REF # OEM DESCRIPTION
FIAT - ALFA ROMEO
to lock the cam and crankshaft in position to allow the removal and replacement of the timing belt fitted to the 1,2/1.4 T-Jet Fiat petrol engines. PETROL DIESEL BELT PETRCHAINOL DIESEL COMPONENTS REF # OEM DESCRIPTION
4880182 1 860 992 000 Piston height gauge
4880183 1 860 985 000, 1 871 000 900 Camshaft alignment tool assy 3 4880184 1 860 987 000 Tension wrench
4880233 2 000 015 800 Spigot lock assembly
4880006 2 000 004 500 Crankshaft alignment tool 829020 - ENGINE TIMING KIT FIAT MULTIAIR PETROL - 1.4 FIAT - ALFA ROMEO The 829020 has been developed to lock the cam and crankshaft in position to allow the removal and replacement of the timing belt fitted to the current generation 1.4 Fiat MultiAir engines. PETROL DIESEL BELT PETRCHAINOL DIESEL COMPONENTS REF # OEM DESCRIPTION 1 4880006 2 000 004 500 Crankshaft alignment tool 2 4880137 2 190 754 200 Stud assy 3 4880263 2 000 034 400 Fiat/Alfa multiair camshaft locking tool assy 4 4880184 1 860 987 000 Tension wrench
4880218 - M8 x 20mm socket head screw 829021 - ENGINE TIMING KIT FIAT TWINAIR PETROL - 0.9 FIAT - ALFA ROMEO The 829020 has been developed to lock the cam and crankshaft in position to allow the removal and replacement of the timing belt fitted to the current generation 1.4 Fiat MultiAir engines. PETROL DIESEL BELT PETRCHAINOL DIESEL COMPONENTS REF # OEM DESCRIPTION 1 4880266 2 000 035 100 Fiat/Alfa twinair camshaft locking tool 2 4880265 2 000 035 200 Timing pin for Fiat twin air 0.9 timing set - straight 3 4880264 2 000 035 300 Timing pin for Fiat twin air 0.9 timing set - bent
4880165 - M8 x 25mm socket head cap screw
2
4
5
5
4
4880218 - M8 x 20mm socket head screw

4

4

SONIC-EQUIPMENT.COM 319 04 829022
TWIN CAMSHAFT LOCKING TOOL OPEL, FIAT PETROL - 2.2 FIAT - ALFA ROMEO
lock
cam
position to allow the removal and
timing belt fitted to the current generation 1.4 Fiat MultiAir engines. PETROL DIESEL BELT PETRCHAINOL DIESEL COMPONENTS REF # OEM DESCRIPTION
4880179 KM 6148 Camshaft locking tool (assembled) 2 4880180 KM 6077 Tension pin 1.0 829023 - ENGINE TIMING KIT FORD, PSA, FIAT TDCI, HDI DIESEL - 1.4, 1.5, 1.6 FIAT - ALFA ROMEO The 829023 is an engine timing kit specifically designed for the Ford/PSA 1.4/1.6 TDCi/HDi diesel engines found across the Ford, PSA and Fiat ranges. PETROL DIESEL BELT CHAIN PETROL DIESEL BELT COMPONENTS REF # OEM DESCRIPTION 1 4880090 303-732, 21-260 Setting pin 5.0mm (5 x 50) 2 4880096 303-735, 21-263 Locking pin (8mm dia. 70 long)
4880064 303-734, 21-262 Flywheel locking pin (12 x 55)
-
The 829020 has been developed to
the
and crankshaft in
replacement of the
1
3
4880061 303-393, 21-168 Flywheel locking tool-Ford
303-393-01 Tooth block item 2 6 4880063 303-293-02 Short tooth block 829024 - ENGINE TIMING KIT FIAT, FORD PETROL - 1.2 8V FIAT - ALFA ROMEO The 829024 is an engine locking kit designed for
Fiat
petrol engines. PETROL DIESEL BELT PETRCHAINOL DIESEL COMPONENTS REF # OEM DESCRIPTION
4880184 1 860 987 000 Tension wrench 2 4880007 2 000 004 400, 2 190 754 400 Camshaft alignment strap - machined 3 4880008 2 000 004 200, 2 190 754 200 Camshaft sprocket locking tool 4 4880009 2 000 004 300 Camshaft cover alignment tool 5 4880006 2 000 004 500, 2 190 754 500 Crankshaft alignment tool 6 4880202 - Skt HD capscrew M10x20 7 4880010 - Washers M6 8 4880329 - M6 set screw 30mm long zinc 9 4880332 - M8 x 20 H.T. setscrew
ENGINE TIMING KIT FIAT JTD DIESEL - 2.3, 3.0 FIAT - ALFA ROMEO
an engine timing locking tool set for Fiat
kit includes the latest
timing pin required on engines produced
2006-2008. The
rail diesel engines are belt driven between crankshaft
inlet camshaft
utilise a chain to connect both camshafts. PETROL DIESEL BELT CHAIN PETROL DIESEL BELT COMPONENTS REF # OEM DESCRIPTION
5 4880062
the
1.2
1
829025 -
The 829025 is
Ducato 2.3 JTD. This
crankshaft
from
2.3 JTD twin camshaft common
and
but
99360614 Camshaft alignment barrel assembly 2
99360615 Crankshaft timing pin
4880090 1 860 617 000 Setting pin 5.0mm (5 x 50)
1 4880130
4880131
3
4880001 2 000 018 200 Balancer shaft locking screw - Rover/Honda

Sonic timing tools

829026 - ENGINE TIMING KIT FIAT, PSA, OPEL, IVECO JTD DIESEL - 2.5

The 829026 is a small diesel locking kit specifically assembled to cover the 2.5/2.8 belt driven diesel engines found in the Citroën, Peugeot, Renault and Fiat ranges.

1

2 4880095 1 870 667 000, 1 870 765 001 Locking pin (zinc pl.)

3 4880090 1 860 617 000 Setting pin 5.0mm (5 X 50)

829039 - ENGINE TIMING KIT FIAT, OPEL, FORD, PSA JTD DIESEL - 1.3

The 829039 engine timing kit allows the valve timing to be set on the current 1,3 Multijet Fiat derived diesel engines found across the Fiat, Ford, Opel & PSA ranges.

COMPONENTS

SONIC-EQUIPMENT.COM 320 04
FIAT - ALFA ROMEO
PETROL DIESEL BELT CHAIN PETROL DIESEL BELT COMPONENTS
# OEM DESCRIPTION
REF
4880132 1 860 638 000 Tensioning tool
FIAT - ALFA ROMEO
PETROL DIESEL BELT CHAIN PETROL DIESEL BELT
REF # OEM DESCRIPTION
4880135 153A Flywheel holding tool
4880183 21 860 985 000, EN 46781, 303-1472, 0104-A Camshaft alignment tool assy.
4880005
870 900 300, 303-1468, 0104-C Crankshaft alignment tool 4 4880280 303-1475, 1 871 008 600 Ford 1.3 diesel camshaft support tool Ø36 ID 829041 - ENGINE TIMING & REBUILD SET PSA, FIAT DW10, DW12 - 2.0, 2.2 FIAT - ALFA ROMEO The 829041 kit brings together the tools required to set the valve timing on the extensive range of DW10 2,0 and DW12 2,2 Diesel engines as well as the DV4 1,4 and DV6 1,6 diesel engines found across the PSA and Fiat ranges. PETROL DIESEL BELT CHAIN PETROL DIESEL BELT COMPONENTS REF # OEM DESCRIPTION 1 4880072 7099-TM Crankshaft pin - 8 X 380 2 4880112 0188K, 0132AK, 0153AK, 0187J, 4533-TAD Timing belt Retaining clip 3 4880113 0188P, 7015-T, 0188P2 Puller beam 4 4880068 303-1059 Timing pin 5 4880080 0188AH Centraliser spring - 1.4mm dia 6 4880106 0188F Flywheel lock (zinc PL.) 7 4880108 0188J2 Tension adjustment tool 8 4880097 0188M Locking pin (8mm dia x 60) 9 4880227 0188Q2 2mm formed locking pin (BZP) 210 x 50 10 4880228 0153AL 3mm formed locking pin (yellow passivate) 11 4880060 0188Q1 4.0mm setting pin 12 4880104 0188J/J1 Tension adjustment tool 13 4880096 0189B Locking pin (8mm dia. 70 long) 14 4880090 0178D, 303-732, 0194A Setting pin 5.0mm (5 x 50) 15 4880064 303-734, 0194C Flywheel locking pin (12 x 55) 16 4880255 0.532Y, 9967.34 8mm multi-bend flywheel timing pin
1
2
3
1

1

This is an essential engine timing tool set that provides the camshaft and crankshaft timing tools only.

The 829088 camshaft pulley holding tool has been designed to allow the user to loosen and tighten the camshaft pulley fixings without moving the camshafts or causing damage to any timing tools that may be fitted. Conveniently designed to allow the use of a ½ drive wrench the 829088 combines the double headed OEM tool into one single tool.

1.3

The 829016 has been developed to allow the user to change the cam chain on the later 1.3 JTD/CDTi & HDi diesel engines found in the PSA, Fiat, Ford, Suzuki and Opel ranges.

1 4880200 1 871 000 200, 303-1469, KM-662-C Crankshaft pulley flange holding tool

2 4880004 1 870 900 400 Timing

3

4 4880183 0104-A, 1 871 000 900, 1 860 985 000, EN 46781, 09917-68610 Camshaft alignment tool assy

5 4880186 EN 46785, 09912-38300 Crankshaft pin assy

6 4880096 Fiat 8mm pin Locking pin (8mm dia. 70 long)

829023 - ENGINE TIMING KIT FORD, PSA, FIAT TDCI, HDI DIESEL - 1.4, 1.5, 1.6

The 829023 is an engine timing kit specifically designed for the Ford/PSA 1.4/1.6 TDCi/HDi diesel engines found across the Ford, PSA and Fiat ranges.

COMPONENTS

1 4880090 303-732, 21-260 Setting pin 5.0mm (5 x 50)

2 4880096 303-735, 21-263 Locking pin (8mm dia. 70 long)

3 4880064 303-734, 21-262 Flywheel locking pin (12 x 55)

4 4880061 303-393, 21-168 Flywheel locking tool-Ford

5 4880062 303-393-01 Tooth block item 2

6 4880063 303-293-02 Short tooth block

SONIC-EQUIPMENT.COM 321 04
ENGINE TIMING KIT OPEL/FIAT/FORD/PSA DIESEL JTD/HDI
FIAT - ALFA ROMEO
829063 -
- 1.3
PETROL DIESEL BELT CHAIN PETROL DIESEL BELT COMPONENTS
# OEM DESCRIPTION
REF
4880183 104-A, EN 46781 Camshaft alignment tool assy
4880186 - Crankshaft pin assy 3 4880096 EN-46785 Locking pin
70 long)
TOOL FIAT/FORD/OPEL
JTD -
FIAT - ALFA ROMEO
2
(8mm dia.
829088 - CAMSHAFT HOLDING
DIESEL
1.3
PETROL DIESEL BELT COMPONENTS REF # OEM DESCRIPTION
829088 1 871 008 600 303-1475 Camshaft holding tool Fiat/Ford/Opel diesel JTD - 1,3
FORD
1
829016 - ENGINE TIMING & REBUILD SET FIAT, OPEL, FORD, PSA JTD DIESEL -
PETROL DIESEL BELT CHAIN PETROL DIESEL BELT CHAIN
REF # OEM DESCRIPTION
COMPONENTS
chain tensioning tool
tool
4880005 0104-C, 1 870 900 300, 303-1468 Crankshaft alignment
FORD
PETROL DIESEL BELT CHAIN PETROL DIESEL BELT
OEM DESCRIPTION
REF #

1

8

Sonic timing tools

-

The 829042 kit has been developed specifically for the chain driven 2.2 common rail diesel engines fitted in the Ford Transit from around 2006 with the engine numbers Listed on our website. The 829042 is a 4 piece kit consisting of the components required to lock the crankshaft and cam sprockets in their timed position to allow the

SONIC-EQUIPMENT.COM 322 04 829024 - ENGINE TIMING KIT FIAT, FORD PETROL - 1.2 8V FORD The 829024 is an engine locking kit designed for the Fiat 1.2 petrol engines. PETROL DIESEL BELT PETRCHAINOL DIESEL COMPONENTS REF # OEM DESCRIPTION
4880184 1 860 987 000 Tension wrench 2 4880007 2 000 004 400, 2 190 754 400 Camshaft alignment strap - machined 3 4880008 2 000 004 200, 2 190 754 200 Camshaft sprocket locking tool 4 4880009 2 000 004 300 Camshaft cover alignment tool 5 4880006 2 000 004 500, 2 190 754 500 Crankshaft alignment tool
4880202 - Skt HD capscrew M10x20
4880010 - Washers M6
4880329 - M6 set screw 30mm long zinc 9 4880332 - M8 x 20 H.T. setscrew 829040 - ENGINE TIMING KIT JAGUAR LAND ROVER, FORD, PSA DIESEL DW12 - 2.2 FORD The 829040 is a compact tool set which includes the camshaft
PETROL DIESEL BELT CHAIN PETROL DIESEL BELT
REF # OEM DESCRIPTION
4880096 303-1277, 0188.M Locking pin (8mm dia. 70 long)
4880061 303-1272, 0188.F Flywheel locking tool-Ford
4880068 303-1270, 303-1059 Timing pin
4880080 0188AH Centraliser spring - 1.4mm dia 5 4880106 0188F Flywheel lock (zinc PL.) 829042
ENGINE TIMING KIT FORD DIESEL TDCI 2.2, 3.2 FORD
1
6
7
sprocket, flywheel locking tools and flywheel timing pin required when setting the valve timing and/or changing the timing belt on DW12 (2,2lt) diesel engines found in the Land Rover, Ford, Peugeot and Citroën ranges.
COMPONENTS
1
2
3
4
PETROL DIESEL BELT CHAIN PETROL DIESEL BELT CHAIN COMPONENTS REF # OEM DESCRIPTION 1 4880091 6mm pin x2 Setting pin (chem. black) (6 X 60) 2 4880066 303-698 / 21-251 Timing pin 3 4880273 303-1587 Ford 2.2/2.3 global puma TDC setting tool assembly - previou 829043
ENGINE TIMING KIT FORD DURATORQ (TDCI) BELT DRIVEN DIESEL - 1.4, 1.6, 1.8, 2.0 FORD The
been developed specifically
1.6lt, 1.8lt
belt driven
PETROL DIESEL BELT CHAIN PETROL DIESEL BELT COMPONENTS
# OEM DESCRIPTION
removal and replacement of the cam chain and associated components.
-
829043 kit has
designed for the Ford 1.4lt,
and 2.0
diesel engines.
REF
4880050 303-376B Camshaft alignment strap (chem. black)
4880070 21-104 , 303-193 Setting pin
4880068 303-1059 Timing pin
pin
70
2
3
4 4880096 303-735, 21-263 Locking
(8mm dia.
long)
5 4880064 303-734, 21-262 Flywheel locking pin (12 x 55)
Tooth block item
6 4880061 303-393, 21-168 Flywheel locking tool-Ford 7 4880062 303-393-01
2
303-393-02 Short tooth block
8 4880063
Setting pin
50)
9 4880090 303-732, 21-260
5.0mm (5 x

829044 - ENGINE TIMING KIT FORD/VOLVO PETROL - 1.25, 1.4, 1.6, 1.8, 2.0

The 829044 kit has been developed specifically for late Ford 1.25lt, 1.4lt, 1.6lt, petrol engines. Coverage also includes some 1.8lt, 2.0lt & 2.3lt engines

COMPONENTS

REF # OEM DESCRIPTION

1 4880049 21-163, 303-574 Crankshaft locking pin - Ford (chem. black)

2 4880051 21-210, 303-507 Mazda screw

3 4880052 21-259, 303-748 Setting pin (chem. black)

4 4880274 303-1054 Locking pin

5 4880050 303-376B Camshaft alignment strap (chem. black)

829045 - ENGINE TIMING KIT FORD PETROL 16V WITH VCT - 1.6

The 829045 has been developed to provide the essential tools required to set and time the main engine components when replacing the camshaft drive belts on the 1,25/1,4/1,5/1.6 16V petrol Ford Engines.

1 4880274 303-1054 Locking pin

2 4880049 303-748 Crankshaft locking pin - Ford (chem. black)

3 4880069 303-1097 Camshaft sprocket locking tool 303-1097

4 4880050 303-376B Camshaft alignment strap (chem. black)

829046 - ENGINE TIMING KIT MAZDA, FORD PETROL - 1.8, 2.0, 2.3

The 829046 kit has been developed to allow the user to lock the cam and crankshaft in position to allow the removal and replacement of the timing chain fitted to the twin cam engines fitted to the Ford and Mazda ranges as listed on our website.

COMPONENTS

1 4880267 49 UN30 310610, 303-1061 Machining detail for ford duratec camshaft aligment bracket

2 4880051 999 7152/49JEO1 061, 303 507, 21-210 Mazda Screw

3 4880052 49N010 101/MOT 1430 303 620, 999 7201, 21-163 Setting pin (chem. black)

4 4880050 999 7151, 303 376, 49JE01 054, 303 367//21 162, 49UN30 3376 Camshaft alignment strap (chem. black)

829047 - ENGINE TIMING KIT FORD SCTI ECOBOOST PETROL - 2.0

The 829047 kit has been developed specifically for the 2.0 direct injection chain driven petrol engines fitted with variable valve timing and found in both the Ford and Volvo ranges. 829047 is a 5 piece engine timing kit designed for the Ford 2.0 direct injection ecoboost petrol engines found in the Ford Focus, Mondeo and S-Max. Developed to allow the timing chain to be replaced whilst locking the crankshaft and camshafts in their correct timed positions. The 829047 also includes the crankshaft position sensor alignment tool.

COMPONENTS

REF # OEM DESCRIPTION

1 4880245 303-1565 Ford GTDI M14 Camshaft alignment tool assy

2 4880248 Dia. 2.0mm tensioner pin

3 4880278 303-1504 Ford 2.0 camshaft alignment tool

4 4880281 303-1521 Ford cranksaft sensor alignment tool (CKP)

5 4880049 303-748 Crankshaft locking pin - Ford (chem. black)

SONIC-EQUIPMENT.COM 323 04
FORD
PETROL DIESEL BELT PETRCHAINOL DIESEL
FORD
PETROL DIESEL BELT PETRCHAINOL DIESEL
# OEM DESCRIPTION
COMPONENTS REF
FORD
PETROL DIESEL BELT PETROL DIESEL BELT CHAIN
REF # OEM DESCRIPTION
FORD
PETROL DIESEL BELT PETROL DIESEL BELT CHAIN

Sonic timing tools

829048 - ENGINE TIMING KIT FORD, VOLVO SCTI ECOBOOST PETROL - 1.6

The 829048 kit has been developed specifically for the 1.6 direct injection petrol engines fitted with variable valve timing and found in both the Ford and Volvo ranges. 829048 is a 4 piece kit consisting of the components required to lock the crankshaft and cam pulleys in their timed position to allow the removal and replacement of the camshaft timing belt. The 829048 also includes the crankshaft front pulley alignment tool.

COMPONENTS

REF # OEM DESCRIPTION

1 4880249 303-1054 Dia. 3.0mm tensioner pin

2 4880270 303-1550, 999-7431 Ford 1.6 ecoboost crankshaft pulley alignment Tool assembly

3 4880049 303-748, 999-7406 Crankshaft locking pin - Ford (chem. black)

4 4880069 303-1097, 999-7429 Camshaft sprocket locking tool 303-1097

829049 - ENGINE TIMING KIT FORD, PSA DIESEL TDCI, HDI - 1.4, 1.6

The 829049 kit has been developed specifically for the Ford 1.4 and 1.6 common rail diesel engines with the engine numbers listed on our website. The 829049 is a 4 piece kit consisting of the components required to lock the crankshaft and cam pulleys in their timed position to allow the removal and replacement of the cam belt and associated components.

SONIC-EQUIPMENT.COM 324 04
FORD
PETROL DIESEL BELT PETRCHAINOL DIESEL
FORD
PETROL DIESEL BELT CHAIN PETROL DIESEL BELT COMPONENTS REF # OEM DESCRIPTION
pin
Setting pin
black) (6 X 60) 2 4880066 303-698 / 21-251 Timing pin 3 4880273 303-1587 Ford 2.2/2.3 global puma TDC setting tool assembly 829050
ENGINE TIMING
SETTING KIT FORD, LSV DIESEL - 2.0. 2.4 FORD The 829050 kit has been developed specifically for the Ford/LDV/Jaguar 2.0lt, 2.2lt, 2.4lt and 3.2lt diesel engines. PETROL DIESEL BELT CHAIN PETROL DIESEL BELT CHAIN COMPONENTS REF # OEM DESCRIPTION 1 4880240 303-249-01 Fuel pump remover leg assembly 2 4880241 303-249-01 Center location plug for diesel pump remover 3 4880296 303-682 Ford engine front cover alignment tool 303-682 4 4880066 303-698 Timing pin 5 4880091 - Setting pin (chem. black) (6 x 60) 6 4880279 303-705, 303-1093 Ford oil pump alignment tool- lasercut plated 7 4880014 303-249-01 Puller centre screw 8 4880013 303 249 Puller beam 9 4880331 - M8 x 55LG 1.25P - zinc - set screw 10 4880191 303-679 Fuel pump cover tool body 11 4880047 - Washer M8 zinc plated 12 4880065 303-675 Flywheel locking pin 13 4880064 303-734 Flywheel locking pin (12 x 55) 14 4880090 303-732 Setting pin 5.0mm (5 x 50) 15 4880096 303-735 Locking pin (8mm dia. 70 long) 16 4880144 - Tensioner locking pin 1.4mm bzp & clear passivate 17 4880190 303-1151 303-1151 Locking tool 18 4880273 303-1587 Ford 2.2/2.3 global puma TDC setting tool assembly - previous
1 4880091 6mm
x2
(chem.
-
& FUEL PUMP

5

Note: Where the VCT pulleys require removing or setting the

required.

COMPONENTS

The 829088 camshaft pulley holding tool has been designed to allow the user to loosen and tighten the camshaft pulley fixings without moving the camshafts or causing damage to any timing tools that may be fitted. Conveniently designed to allow the use of a ½ drive wrench the 829088 combines the double headed OEM tool into one single tool.

COMPONENTS

1

SONIC-EQUIPMENT.COM 325 04 829051 - ENGINE TIMING KIT FORD PETROL GTDI ECOBOOST - 1.0 FORD
Ford
cylinder
oil
drive belt
Specifically designed for the new
1.0lt 3
ecoboost engines. The 829051 kit offers the timing tools required for replacement of the
bathed camshaft
on these engines.
kit
number
will be
PETROL DIESEL BELT PETRCHAINOL DIESEL COMPONENTS REF # OEM DESCRIPTION 1 4880253 303-1604 Ford 1.01 - GTDI cranksaft timing pin 2 4880254 303-1602 Large tooth block version of MM 23060 10 - OEM 303.1602
4880274 303-1054 Locking pin
4880096 8mm tensioner pin Locking pin (8mm dia. 70 long)
additional
part
829050
3
4
4880242 303-1605/1 Assembly details for 303-1605/1 camshaft locking tool 6 4880243 303-1606/2 Assembly details for 303-1605/2 camshaft locking tool 7 4880238 303-1603 Ford oil seal installer 8 4880121 4mm tensioner pin Auxiliary belt tensioner locking pin 9 4880084 303-732 DTI extension item 3 829052 - VARIABLE VALVE SETTING KIT FORD PETROL VCT ECOBOOST - 1.0 FORD Specifically designed for the new Ford 1.0lt 3 cylinder ecoboost engines. and used in conjunction with 829051 to assemble the VCT (Variable Camshaft Timing) units on the camshafts in their TDC position without play. Required to align the VCT units when they are assembled on the camshafts. PETROL DIESEL BELT PETRCHAINOL DIESEL COMPONENTS REF # OEM DESCRIPTION 1 4880246 303-1606-1 Variable camshaft timing locking tool assembly - inlet 303-1 2 4880247 303-1606 -2 Variable camshaft timing locking tool assemblyexhaus T 30 829063 - ENGINE TIMING KIT OPEL/FIAT/FORD/PSA DIESEL JTD/HDI - 1.3 FORD This is an essential engine timing tool set that provides the camshaft and crankshaft timing tools only. PETROL DIESEL BELT CHAIN PETROL DIESEL BELT
REF # OEM DESCRIPTION 1 4880183 104-A, EN 46781 Camshaft alignment tool assy 2 4880186 - Crankshaft pin assy 3 4880096 EN-46785 Locking pin (8mm dia. 70 long)
CAMSHAFT HOLDING TOOL FIAT/FORD/OPEL
FORD
829088 -
DIESEL JTD - 1.3
PETROL DIESEL BELT
REF # OEM DESCRIPTION
829088 1 871 008 600 303-1475 Camshaft holding tool Fiat/Ford/Opel diesel JTD - 1,3

Sonic timing tools

The 829089 is designed to hold the front crankshaft pulley while tightening or loosening the pulley fixings across the Volvo range of engines and the Ford 2.5 petrol engine found in the ST Focus etc.

The 829094 flywheel locking kit is equivalent to the Ford OEM flywheel locking kit as detailed below. It is used to lock the flywheel to allow front pulleys etc. to be loosened and tightened without turning the engine.

As of 2011 Ford changed the method of fuel pump sprocket removal on the 2.2 TDCI (Puma) diesel engines. The sprocket no longer has threaded holes which means the legs of the puller used to remove the sprocket must be hooked in shape. The K00286 puller allows the removal of these sprockets by allowing the high pressure diesel injection pump to be pushed out of the pump sprocket to enable pump removal without disturbing the timing chain. Special note: To perform this task the 829095 must be used with Ford special tool 303-1151 (sprocket holding tool).

Note: The 829095 kit contains a force screw. Force screws must be lubricated with high pressure grease. Sonic recommends the use of molybdenum disulphide grease (drive shaft grease). Do not use assembly or anti-seize greases (copper greases). Equivalent to OEM 303-249, 303-249-01

SONIC-EQUIPMENT.COM 326 04 829089
TOOL VOLVO/FORD FORD
- CAMSHAFT SETTING
PETROL DIESEL COMPONENTS REF # OEM DESCRIPTION 1 829089 999 5433, 303-1179 Crankshaft holding tool Volvo/Ford 829094
TIMING CHAIN TENSIONER LEVER FORD PETROL, DIESEL FORD
-
N.B: Starter motor must first
DIESEL PETROL DIESEL BELT PETROL DIESEL BELT CHAIN COMPONENTS REF # OEM DESCRIPTION 1 4880061 21-168 A, 303-393A Flywheel locking tool-Ford 2 4880062 303-393-02 Tooth block item 2 3 4880063 303-393-01 Short tooth block 829095
HIGH PRESSURE FUEL PUMP PULLER DIESEL FORD - TDCI - TRANSIT 2.2 FORD
be removed.
-
PETROL DIESEL BELT CHAIN PETROL DIESEL BELT CHAIN COMPONENTS REF # OEM DESCRIPTION 1 4880240 303-249-01 Fuel pump remover leg assembly 2 4880241 303-249-01 Center location plug for diesel pump remover 3 4880013 303-249 Puller beam 4 4880014 303-249-01 Puller centre screw 5 4880219 303-249 M8 x 50 cap head 6 4880047 999 5382 Washer M8 zinc plated 829106 - CAM BELT TENSIONER WRENCH VAG ADJUSTABLE HEAD FORD The 829106 is an adjustable cam-belt tensioner tool. Equivalent to EOM T10020 and Matra V159. PETROL DIESEL COMPONENTS A NOTE : the use of this kit requires the acquisition of additional tools. REF # OEM DESCRIPTION 1 829100 T10020//Matra V159 Cam belt tensioner wrench vag adjustable head 829107 - OIL PUMP ALIGNMENT PLATE FORD, JAGUAR, LAND ROVER, ROVER, PSA DURATORQ DIESEL 2.0, 2.2, 2.4, 3.2 FORD The 829107 oil pump alignment tool has been developed to allow the user to correctly align the engine oil pump in the sump after an engine rebuild etc. it is important that the pump be correctly and accurately aligned to ensure the oil pump sprocket is not operating with excessive side loads. PETROL DIESEL BELT CHAIN PETROL DIESEL BELT CHAIN COMPONENTS A NOTE : the use of this kit requires the acquisition of additional tools. REF # OEM DESCRIPTION A 829107 303-705, 303-1093, 0198.H Oil pump alignment plate Ford/Jaguar Land Rover/PSA diesel

829135 - FORD CAMBELT TIMING KIT FORD 1.0 GTDI

Developed to lock the engines of the vehicles listed in their “timed” position so that the cambelt can be safely removed and replaced. Please note: where the VCT pulleys require removing or setting an additional kit will also be required.

COMPONENTS

A

B 4880253 303-1604 Ford 1.01 - GTDI cranksaft timing pin

C 4880274 303-1054 Locking pin

D 4880096 303-732 Locking pin (8mm dia. 70 Long)

E 4880367 303-1605/2 Camshaft setting block exhaust

F 4880366 303-1605/1 Camshaft locking block inlet

G

H 4880090 4mm pin Setting pin 5.0mm (5 x 50)

I 4880121 8mm pin Auxiliary belt tensioner locking pin

J 4880216 - M6x30 cap head screw

829053 - ENGINE TIMING KIT HONDA PETROL SOHC/DOHC - 1.6, 1.8, 2.0, 2.2, 2.3, 3.0

The 829053 has been designed to offer not only the special tools listed by Honda for the applications listed but also the correctly sized M6 bolt that is required to lock the sprung loaded cam belt tensioners found on many of the listed applications.

829018 - ENGINE TIMING KIT FIAT, PSA, IVECO JTD DIESEL - 2.8

The 829018 has been developed for Fiat 2.8 diesel engines that are found in the Fiat, Iveco and PSA van ranges. This kit provides all the tools required to set the timed components when replacing the timing belt. The kit also includes the components require to lock the flywheel when undoing and tightening up the front pulley fixings as well as the special spacer to hold the belt tensioner in its fully retracted position.

1

3 4880097 8mm pin Locking pin (8mm dia. x 60 long)

4 4880132 1 860 638 000 Tensioning tool

829026 - ENGINE TIMING KIT FIAT, PSA, OPEL, IVECO JTD DIESEL - 2.5

The 829026 is a small diesel locking kit specifically assembled to cover the 2.5/2.8 belt driven diesel engines found in the Citroën, Peugeot, Renault and Fiat ranges.

REF # OEM DESCRIPTION

1 4880132 1 860 638 000 Tensioning tool

2 4880095 1 870 667 000, 1 870 765 001 Locking pin (zinc pl.)

3 4880090 1 860 617 000 Setting pin 5.0mm (5 X 50)

SONIC-EQUIPMENT.COM 327 04
FORD
PETROL DIESEL BELT CHAIN PETROL DIESEL BELT CHAIN
OEM DESCRIPTION G C A A F I H D B A E J
REF #
mm 23060 10
O.E.M
4880254 303-1602 Large tooth block version of
-
303.1602
4880238 303-1603 Ford oil seal installer
HONDA
PETROL DIESEL BELT PETRCHAINOL DIESEL COMPONENTS REF # OEM DESCRIPTION
4880236
locking tool for Honda 87 onwards
shaft locking
07744-0010400 Setting pin 5.0mm (5 x 50)
1
14540-P13-003 Tension
2 4880001 07LAG-PT20100 / 18G1671 Balancer
screw - Rover/Honda 3 4880090
HT setscrew
x 45
4 4880073 -
M6
Zc.PL.
IVECO
PETROL DIESEL BELT CHAIN PETROL DIESEL BELT CHAIN COMPONENTS REF # OEM DESCRIPTION
4880237
870 765 001 Flywheel locking piece (Fiat)
860 617 000 Setting pin 5.0mm
50)
1
2 4880090 1
(5 x
IVECO
PETROL DIESEL BELT CHAIN PETROL DIESEL BELT COMPONENTS

Sonic timing tools

829037 - ENGINE TIMING KIT JAGUAR LAND ROVER DIESEL TDV6 - 2.7

The 829037 engine timing kit allows the valve timing to be set and maintained during cam belt replacement on the popular Jaguar/Land Rover TDV6 diesel engine found across the Jaguar & Land Rover ranges. The 829037 also includes the additional PSA locking tools required for the 2.7 HDi engine found in the Citroën and Peugeot ranges.

1 4880127 303-1132 Camshaft sprocket timing pin

2 4880079 303-1126 Camshaft sprocket timing pin

3 4880129 303-1116 Fly wheel locking tool

4 4880128 303-1117 Fly wheel locking tool 2

5 4880077 0195-K Flywheel locking pin Peugeot 0195-K

6 4880078 0195-C Coolant pump pulley pin Peugeot 0195-C

829040 - ENGINE TIMING KIT JAGUAR LAND ROVER, FORD, PSA DIESEL DW12 - 2.2

The 829040 is a compact tool set which includes the camshaft sprocket, flywheel locking tools and flywheel timing pin required when setting the valve timing and/or changing the timing belt on DW12 (2,2lt) diesel engines found in the Land Rover, Ford, Peugeot and Citroën ranges.

COMPONENTS

1 4880096 303-1277, 0188.M Locking pin (8mm dia. 70 long)

2 4880061 303-1272, 0188.F Flywheel locking tool-Ford

3 4880068 303-1270, 303-1059 Timing pin

4 4880080 0188AH Centraliser spring - 1.4mm dia

5 4880106 0188F Flywheel lock (zinc PL.)

829107 - OIL PUMP ALIGNMENT PLATE FORD, JAGUAR, LAND ROVER, ROVER, PSA DURATORQ DIESEL 2.0, 2.2, 2.4, 3.2

The 829107 oil pump alignment tool has been developed to allow the user to correctly align the engine oil pump in the sump after an engine rebuild etc. it is important that the pump be correctly and accurately aligned to ensure the oil pump sprocket is not operating with excessive side loads.

COMPONENTS

A 829107 303-705, 303-1093, 0198.H Oil pump alignment plate Ford/Jaguar Land Rover/PSA diesel

829126 - ENGINE TIMING KIT - JLR 2,0 GTDI

A comprehensive engine timing tool kit for the Jaguar, Land Rover 2.0 Petrol GTDI (Gasoline Turbo Direct Injection) engines.

A 4880278 303-1600, 303-1565 Ford 2.0 camshaft alignment tool

B 4880390 303-1595 Crankshaft alignment tool plate with guides and pins

C 4880389 303-1595 Threaded bush guide 16 x 56mm

D 4880391 303-1595 Threaded pin 6 x 61

E 4880281 303-1521 Ford cranksaft sensor alignment tool (CKP)

F 4880392 303-1594 Flywheel locking tool

G 4880049 303-748 Crankshaft locking pin - Ford (chem. black)

SONIC-EQUIPMENT.COM 328 04
JAGUAR
PETROL DIESEL BELT CHAIN PETROL DIESEL BELT COMPONENTS REF
# OEM DESCRIPTION
JAGUAR
PETROL DIESEL BELT CHAIN PETROL DIESEL BELT
REF
# OEM DESCRIPTION
JAGUAR
PETROL DIESEL BELT CHAIN PETROL DIESEL BELT CHAIN
A NOTE : the use of this kit requires the acquisition of additional tools. REF
# OEM DESCRIPTION
JAGUAR
PETROL DIESEL BELT CHAIN PETROL DIESEL BELT
REF # OEM DESCRIPTION A B D E G C F
COMPONENTS

829083 - ENGINE TIMING KIT CHRYSLER/LDV DIESEL CRD - 2.5, 2.8

The 829083 kit was developed for the Chrysler DOHC common rail diesel engine found in the Voyager, Grand Voyager and the LDV Maxus van. The 829083 kit allows the user to replace the timing belt whilst maintaining the correct timed position of the camshafts and crankshaft.

1 4880222 VM.1089, LDV196 Chrysler 2.5/2.8 CRD timing pin - VM.1089

2 4880223 VM.1068, LDV196 Timing pin (chrysler 2.5/2.8 CRD VM.1068)

3 4880224 VM.1052, LDV192 Timing pin (chrysler 2.5/2.8 CRD VM.1052)

4 4880225 VM.1053, LDV193 Timing pin (chrysler 2.5/2.8 CRD VM.1053)

5 4880226 VM1074 Timing belt retaining spring (VM.1074)

6 4880015 VM.9660, H2587 Tension wrench

7 4880282 VM.1080 Chrysler timing pin (VM.1080)

8 4880283 VM.8873 Chrysler timing pin (VM.8873)

829084 - ENGINE TIMING KIT CHRYSLER/JEEP DIESEL CRD

The 829084 kit has been developed specifically for the 2008 and later 2.8 CRD Chrysler/Jeep engines where the cam belt drives one camshaft and the second camshaft is driven via gears. The 829084 kit is a 2 piece kit consisting of the components required to lock the crankshaft and camshafts in their timed position to allow the removal and replacement of the cam belt and associated components.

FORD PETROL - 1.8, 2.0, 2.3

REF #

1 4880267 49 UN30 310610, 303-1061 Machining detail for ford duratec camshaft aligment bracket

2 4880051 999 7152/49JEO1 061, 303 507, 21-210 Mazda Screw

3 4880052 49N010 101/MOT 1430 303 620, 999 7201, 21-163 Setting pin (chem. black)

4 4880050 999 7151, 303 376, 49JE01 054, 303 367//21 162, 49UN30 3376 Camshaft alignment strap (chem. black)

SONIC-EQUIPMENT.COM 329 04
JEEP
PETROL DIESEL BELT CHAIN PETROL DIESEL BELT
REF
DESCRIPTION
COMPONENTS
# OEM
- 2.8 JEEP
PETROL DIESEL BELT CHAIN PETROL DIESEL BELT COMPONENTS REF # OEM COMPONENTS 1 4880284 VM.9992 Chrysler crankshaft locking tool (VM.9992) 2 4880285 VM.9991 Chrysler exhaust camshaft locking tool (VM.9991)
TIMING
CHRYSLER/JEEP DIESEL CRD - 3.0 JEEP The
has been designed for
Jeep 3.0 lt V6 diesel engine found in the late model (2011 on) Jeep
Cherokee.
all
cam
crankshaft locking tools required for chain replacement. PETROL DIESEL BELT CHAIN PETROL DIESEL BELT CHAIN COMPONENTS REF # OEM DESCRIPTION 2 1 5 4 3 1 4880311 VM10338-1 Camshaft locking tool RH - assy 2 4880310 VM10338-2 Camshaft locking tool LH - assy 3 - - Cap head screws for reference 1 4 4880313 VM10359a Crankshaft timing pin assy 5 4880312 VM10339 Tensioner locking pin 829046 - ENGINE TIMING KIT MAZDA,
MAZDA
PETROL DIESEL BELT PETROL DIESEL BELT CHAIN
829085 - ENGINE
KIT
829085 kit
the
Grand
The 829085 provides
the
and
The 829046 kit has been developed to allow the user to lock the cam and crankshaft in position to allow the removal and replacement of the timing chain fitted to the twin cam engines fitted to the Ford and Mazda ranges as listed on our website.
COMPONENTS
DESCRIPTION
OEM

4

5

3

1

4

Sonic timing tools

The 829086 covers a large range of vehicles fitted with chain driven engines from Mercedes-Benz including the PT Cruiser 2.2 CRD and Jeep Grand Cherokee 2.7 CRD from Chrysler.

-

Specifically designed for the Mercedes-Benz vehicles fitted with the chain driven 1.8 |

CDI diesel engines (engine code pre fix 651). The specially designed cam locking tool can be used on both early and late versions of the 651 Mercedes-Benz engine. These engines are found across the Mercedes-Benz range including as well as in the Jeep and Dodge ranges. NOTE: 829120 supersedes Sonic Equipment kit 829087.

-

The Mercedes-Benz M651 1.8 | 2.1 diesel engines can suffer from issues requiring the replacement of the timing chain. The M651 timing chain is at the back of the engine (flywheel end) which makes the replacement of the timing chain difficult. To avoid the need for completely stripping the engine the new chain must be attached to the old chain and “threaded” around the engine sprockets while turning the crankshaft. The 829124 Timing Chain Fitting Bridge helps guide the new chain into position while the old chain is extracted by maintaining the contact of the new chain with the sprocket. Note: the 829124 must be used with the cam locking tools found in 829120 M651 engine timing kits.

COMPONENTS

REF # OEM DESCRIPTION

1 829214 651

1

3

4

5

829134 has been developed specifically for the 1.6 R9M diesel engines fitted across the Renault, Nissan, Vauxhall/Opel and Mercedes-Benz ranges as listed. The 829134 contains all the essential tools required to lock the engine in its “timed” position for safe removal and replacement of the camshaft drive chain.

SONIC-EQUIPMENT.COM 330 04 829086
MERCEDES-BENZ/CHRYSLER
MERCEDES
- ENGINE TIMING KIT
CRD - 2.2, 2.7
PETROL DIESEL BELT CHAIN PETROL DIESEL BELT CHAIN COMPONENTS REF # OEM DESCRIPTION
4880203 602 589 00 40 00 8929 Flywheel locking tool 2 4880206 602 589 00 40 00 8929 Camshaft locking pin assy
4880205 601 589 02 40 00 8933 Flywheel locking tool Mercedes-Benz 602 589 00 40 00
1
3
Bolts for reference 3
MERCEDES
829120
CAMSHAFT VALVE TIMING KIT - MERCEDES BENZ 1,8/2,1/2,2
PETROL DIESEL BELT CHAIN PETROL DIESEL BELT CHAIN COMPONENTS
2.1
DESCRIPTION
REF # OEM
4880385 651 589 09 40 00, 651 589 01 40 00 Camshaft locking tool + bolts
2 4880315 651 589 01 40 00 Crankshaft holding/turning tool
4880314 651 158 90 26 300 Balance shaft lock tool assy
4880314 651 158 90 26 300 Balance shaft lock tool assy
4880314 651 158 90 26 300 Balance shaft lock tool assy 829124
TIMING CHAIN FITTING BRIDGE
MERCEDEZ BENZ MERCEDES
-
PETROL DIESEL BELT CHAIN PETROL DIESEL BELT CHAIN
587 03 04 00 Timing Chain Fitting Bridge - Mercedez Benz 829134
ENGINE TIMING KIT - RENAULT/NISSAN/MERCEDES/VAUXHALL 1,6D MERCEDES
PETROL DIESEL BELT CHAIN PETROL DIESEL BELT
REF # OEM DESCRIPTION
-
COMPONENTS
4880359 626 589 04 40 00, MOT 1969 Camshaft alignment tool
4880118 626 589 02 40 00,MOT 1770 EN956-1, EN48334 Crankshaft pulley holding tool
2
4880201 - Locking pin
4880121 KM 6130 Auxiliary belt tensioner locking pin
4880293 629 589 00 15 00, MOT 1970 Crankshaft timing pin Renault OEM MOT1970

829054 - ENGINE TIMING KIT RENAULT/NISSAN PETROL (K4) - 1.6, 2.0

The 829054 offers the essential engine timing tools required for the Renault petrol 16V belt driven 1.6L and 2.0L engines. The 829054 kit of four tools enables the correct engine timing to be performed on Renault K4J, K4M & F4P, F4R engines, when changing the timing belt. The set includes 2 crankshaft timing pins and camshaft setting bar with the bracket specifically for the K4M 813 engine from 2003 onwards.

COMPONENTS

REF # OEM DESCRIPTION

1 4880048 MOT 1489 Crankshaft locking pin (chem. black)

2 4880095 MOT 1054 Locking pin (zinc PL.)

3 4880109 MOT 1496 Camshaft setting bar - Renault

4 4880111 MOT 1750 Mounting bracket (MOT 1759)

829055 - ENGINE TIMING KIT RENAULT/OPEL/NISSAN DIESEL (BELT DRIVE) - 1.5, 1.9, 2.2, 2.3, 2.5

The 829055 offers the essential engine timing tools required for the Renault belt driven DCI range of diesel engines. It includes the tools required for 1.5, 1.9, 2.2, 2.3 and 2.5 DCi diesel engines found in the Dacia, Nissan, Renault, Suzuki and Opel/Vauxhall ranges.

COMPONENTS

REF # OEM DESCRIPTION

1 4880048 MOT 1489 Crankshaft locking pin (chem. black)

2 4880047 - Washer M8 zinc plated

3 4880073 - Ht setscrew M6 x 45 Zc.PL.

4 4880095 MOT 1054 Locking pin (zinc PL.)

5 4880096 MOT 1430 Locking pin (8mm dia. 70 long)

6 4880116 MOT 1543 Tensioning tool - Renault 19 DCI

7 4880174 MOT 1538 High pressure pump pin C/W T/bar

8 4880175 MOT 1536 KM6203 Crankshaft timing pin (7 x 80)

9 4880177 - H.T. Setscrew M8x60 zinc plate

10 4880178 MOT 1534 KM6205 Inlet cam setting tool (chem. black) 11 4880176 MOT 1537 KM6205 Exhaust cam setting tool

829056 - ENGINE TIMING KIT RENAULT/OPEL/NISSAN DIESEL (CHAIN DRIVE) - 1.6, 2.0, 2.3

The 829056 has been specifically put together to allow the user to lock the engine components of the 1.6, 2.0 and 2.3 Renault engines used across the Renault, Opel and Nissan ranges. The 829056 kit includes the essential tools required to allow the removal and replacement of the engine timing chain.

COMPONENTS

REF # OEM DESCRIPTION

1 4880122 MOT 1766, EN48330 Crankshaft locking pin

2 4880119 MOT 1769, EN48332, MOT 1969 (1,6L) Camshaft setting tool (MOT 1769)

3 4880121 KM 6130 Auxiliary belt tensioner locking pin

4 4880118 MOT 1770, KM 956-1, EN-48334 Crankshaft pulley holding tool

5 4880120 MOT 1773, EN48331 Camshaft gear alignment tool

6 4880201 - Locking pin

7 4880210 - 4mm hex key

8 4880330 - M6 x 40 HT setscrew

9 4880293 MOT 1970 Crankshaft timing pin Renault OEM MOT1970

10 MOT 1969 For 1.6l engines (R9M)

11 MOT 1769 For 2.0l/2.3l engines (M9R/M9T)

SONIC-EQUIPMENT.COM 331 04
NISSAN
PETROL DIESEL BELT PETRCHAINOL DIESEL
NISSAN
PETROL DIESEL BELT CHAIN PETROL DIESEL BELT
NISSAN
PETROL DIESEL BELT CHAIN PETROL DIESEL BELT CHAIN

Sonic timing tools

829130

- FLYWHEEL/FRONT PULLEY LOCKING TOOL SET - RENAULT/NISSAN

The 829130 has been developed to provide a locking solution for the flywheel and front pulley on the Renault engines listed below. The kit also provides the primary tools required for timing chain replacement on the Renault twin cam 1.4,1.6, 2.0, 2.5 and 3.5 litre petrol engines.

COMPONENTS

REF # OEM DESCRIPTION

1 4880403 MOT 919-02 Flywheel locking tool - assy

2 4880402 MOT.1431 Flywheel locking tool - assy

3 4880414 MOT 1716 Cover/sump/joint separator tool

4 4880401 MOT 2019 / MOT 1789 Crankshaft pulley holding tool

829134

- ENGINE TIMING KIT - RENAULT/NISSAN/MERCEDES/VAUXHALL 1,6D

829134 has been developed specifically for the 1.6 R9M diesel engines fitted across the Renault, Nissan, Vauxhall/Opel and Mercedes-Benz ranges as listed. The 829134 contains all the essential tools required to lock the engine in its “timed” position for safe removal and replacement of the camshaft drive chain.

COMPONENTS

REF # OEM DESCRIPTION

1 4880359 626 589 04 40 00, MOT 1969 Camshaft alignment tool

2 4880118 626 589 02 40 00,MOT 1770 EN956-1, EN48334 Crankshaft pulley holding tool

3 4880201 - Locking pin

4 4880121 KM 6130 Auxiliary belt tensioner locking pin

5 4880293 629 589 00 15 00, MOT 1970 Crankshaft timing pin Renault OEM MOT1970

829015 - ENGINE TIMING KIT FIAT, OPEL, SAAB JTD DIESEL - 1.6, 1.9, 2.0, 2.4

The 829015 engine timing kit has been put together to provide the essential crankshaft and cam shaft timing pins only for the Fiat/Opel JTD diesel engines found across the Fiat, Opel, Saab ranges.

COMPONENTS

REF # OEM DESCRIPTION

1 4880188 1.870.896.900, EN-46789, 32 025 008 Camshaft alignment tool

2 4880136 1.860.898.000 Flywheel locking tool

3 4880137 - Stud assy

4 4880218 - M8 x 20mm socket head screw

5 4880091 1.860.965.000 Setting pin (chem. black) (6 X 60)

6 4880187 1.860.905.000, 1.860.905.010, 2.000.003.000, EN-46788, 32 025 009

Crankshaft alignment tool

829016 - ENGINE TIMING & REBUILD SET FIAT, OPEL, FORD, PSA JTD DIESEL - 1.3

The 829016 has been developed to allow the user to change the cam chain on the later 1.3 JTD/CDTi & HDi diesel engines found in the PSA, Fiat, Ford, Suzuki and Opel ranges.

COMPONENTS

REF # OEM DESCRIPTION

1 4880200 1 871 000 200, 303-1469, KM-662-C Crankshaft pulley flange holding tool

2 4880004 1 870 900 400 Timing chain tensioning tool

3 4880005 0104-C, 1 870 900 300, 303-1468 Crankshaft alignment tool

4 4880183 0104-A, 1 871 000 900, 1 860 985 000, EN 46781, 09917-68610 Camshaft alignment tool assy

5 4880186 EN 46785, 09912-38300 Crankshaft pin assy

6 4880096 Fiat 8mm pin Locking pin (8mm dia. 70 long)

SONIC-EQUIPMENT.COM 332 04
NISSAN
PETROL DIESEL BELT PETRCHAINOL DIESEL
NISSAN
PETROL DIESEL BELT CHAIN PETROL DIESEL BELT
OPEL
PETROL DIESEL BELT CHAIN PETROL DIESEL BELT
OPEL
PETROL DIESEL BELT CHAIN PETROL DIESEL BELT CHAIN

4

4

5

The 829017 has been developed to allow the user to change the cam belt on the later Z and A coded GM Petrol belt driven engines. These engines are also found in Fiat and Alfa Romeo vehicles as listed below.

The 829020 has been developed to lock the cam and crankshaft in position to allow the removal and replacement of the timing belt fitted to the current generation 1.4 Fiat MultiAir engines.

The 829026 is a small diesel

kit specifically assembled

belt driven diesel engines found in the Citroën, Peugeot, Renault and Fiat ranges.

1 4880132 1 860 638 000

SONIC-EQUIPMENT.COM 333 04
OPEL
829017 - ENGINE TIMING KIT OPEL, CHEVROLET, FIAT PETROL - 1.6, 1.8 16V
PETROL DIESEL BELT PETRCHAINOL DIESEL COMPONENTS
# OEM DESCRIPTION
REF
KM-6625 Flywheel holding tool
1 4880234
(KM-6625)
locking tool item
2 4880168 KM-911 Flywheel
2 3 4880185 KM6130, KM6349 Auxilliary drive belt tensioner locking pin (4 x 55)
4880239 KM-6628A, 2 000 012 000 Camshaft locking tool (GM)
100 Cam locking tool
4880057 KM-6340, 2 000 012
(pair)
pin
OPEL
6 4880058 KM-6333 Locking
829022 - TWIN CAMSHAFT LOCKING TOOL OPEL, FIAT PETROL - 2.2
PETROL DIESEL BELT PETRCHAINOL DIESEL COMPONENTS REF # OEM DESCRIPTION
4880179 KM 6148 Camshaft locking tool (assembled) 2 4880180 KM 6077 Tension pin 1.0 829026 - ENGINE TIMING KIT FIAT, PSA, OPEL, IVECO JTD DIESEL - 2.5 OPEL
PETROL DIESEL BELT CHAIN PETROL DIESEL BELT COMPONENTS
1
locking
to cover the 2.5/2.8
REF # OEM DESCRIPTION
Tensioning tool
4880095 1 870 667 000, 1 870 765 001 Locking pin (zinc pl.) 3 4880090 1 860 617 000 Setting pin 5.0mm (5 X 50) 829039
ENGINE TIMING KIT FIAT, OPEL, FORD, PSA JTD DIESEL
1.3 OPEL
PETROL DIESEL BELT CHAIN PETROL DIESEL BELT COMPONENTS REF # OEM DESCRIPTION 1 4880135 153A Flywheel holding tool
tool
2
-
-
The 829039 engine timing kit allows the valve timing to be set on the current 1,3 Multijet Fiat derived diesel engines found across the Fiat, Ford, Opel & PSA ranges.
2 4880183 21 860 985 000, EN 46781, 303-1472, 0104-A Camshaft alignment
assy.
3 4880005 1 870 900 300, 303-1468, 0104-C Crankshaft alignment tool
4880280 303-1475, 1 871 008 600 Ford 1.3 diesel camshaft support tool Ø36 ID

Sonic timing tools

829055 - ENGINE TIMING KIT RENAULT/OPEL/NISSAN DIESEL (BELT DRIVE) - 1.5, 1.9, 2.2, 2.3, 2.5

The 829055 offers the essential engine timing tools required for the Renault belt driven DCI range of diesel engines. It includes the tools required for 1.5, 1.9, 2.2, 2.3 and 2.5 DCi diesel engines found in the Dacia, Nissan, Renault, Suzuki and Opel/Vauxhall ranges.

COMPONENTS

REF # OEM DESCRIPTION

1 4880048 MOT 1489 Crankshaft locking pin (chem. black)

2 4880047 - Washer M8 zinc plated

3 4880073 - Ht setscrew M6 x 45 Zc.PL.

4 4880095 MOT 1054 Locking pin (zinc PL.)

5 4880096 MOT 1430 Locking pin (8mm dia. 70 long)

6 4880116 MOT 1543 Tensioning tool - Renault 19 DCI

7 4880174 MOT 1538 High pressure pump pin C/W T/bar

8 4880175 MOT 1536 KM6203 Crankshaft timing pin (7 x 80)

9 4880177 - H.T. Setscrew M8x60 zinc plate

10 4880178 MOT 1534 KM6205 Inlet cam setting tool (chem. black)

829056 - ENGINE TIMING KIT RENAULT/OPEL/NISSAN DIESEL (CHAIN DRIVE) - 1.6, 2.0, 2.3

The 829056 has been specifically put together to allow the user to lock the engine components of the 1.6, 2.0 and 2.3 Renault engines used across the Renault, Opel and Nissan ranges. The 829056 kit includes the essential tools required to allow the removal and replacement of the engine timing chain.

1 4880122 MOT 1766, EN48330 Crankshaft locking pin

2 4880119 MOT 1769, EN48332, MOT 1969 (1,6L) Camshaft setting tool (MOT 1769)

3 4880121 KM 6130 Auxiliary belt tensioner locking pin

4 4880118 MOT 1770, KM 956-1, EN-48334 Crankshaft pulley holding tool

5 4880120 MOT 1773, EN48331 Camshaft gear alignment tool

6 4880201 - Locking pin

7 4880210 - 4mm hex key

8 4880330 - M6 x 40 HT setscrew

9 4880293 MOT 1970 Crankshaft timing pin Renault OEM MOT1970 10 MOT 1969 For 1.6l engines (R9M) 11 MOT 1769 For 2.0l/2.3l engines (M9R/M9T)

829060 - ENGINE TIMING KIT OPEL PETROL (CHAIN DRIVE DOHC (A12/A14) - 1.2, 1.4

The 829060 has been developed to allow the user to lock the cam and crankshafts in position to allow the removal and replacement of the timing chain fitted to the Vauxhall/Opel twin cam engines listed on our website. The 829060 kit is a 7 piece tool kit made up of the required camshaft and crankshaft locking tools.

COMPONENTS

REF # OEM DESCRIPTION

1 4880276 EN-49977-200 Vauxhall camshaft locking tool EN-49977-100

2 4880244 EN-49977-100 Camsprocket locking tool (EN-49977-200)

3 4880277 EN-49978 Camshaft locking tool (EN-49978)

4 4880170 KM-953-A Camshaft setting plate (chem. black)

5 4880171 KM-952 Flywheel locking pin

6 4880173 KM-955-2 Tensioner location pin 4mm

7 4880172 KM-955-1 Tensioner location pin 2.5mm

SONIC-EQUIPMENT.COM 334 04
OPEL
PETROL DIESEL BELT CHAIN PETROL DIESEL BELT
11 4880176 MOT 1537 KM6205 Exhaust cam setting tool
OPEL
PETROL DIESEL BELT CHAIN PETROL DIESEL BELT CHAIN
COMPONENTS REF # OEM DESCRIPTION
OPEL
PETROL DIESEL BELT PETROL DIESEL BELT CHAIN

829062 - ENGINE TIMING KIT OPEL, RENAULT, SAAB DIESEL DOHC CDTI - 1.9

The 829062 provides the essential tools required to replace the camshaft drive belt and remove the camshafts on the Vauxhall/Opel CDTi 1.9/2.0lt twin cam diesel engines listed below.

1 4880137 EN-46788 Stud assy

2 4880185 KM-6130, 6349 Auxilliary drive belt tensioner locking pin (4 x 55)

3 4880187 EN-46788/1, 32 025 009 Crankshaft alignment tool

4 4880188 EN-46789, 32 025 008 Camshaft alignment tool

5 4880189 EN-46789-100 Camshaft setting pin assy.

6 4880332 SSM8x20B M8 x 20 H.T. setscrew

829063 - ENGINE TIMING KIT OPEL/FIAT/FORD/PSA DIESEL JTD/HDI - 1.3

This is an essential engine timing tool set that provides the camshaft and crankshaft timing tools only.

REF # OEM DESCRIPTION

1 4880183 104-A, EN 46781 Camshaft alignment tool assy

2 4880186 - Crankshaft pin assy

3 4880096 EN-46785 Locking pin (8mm dia. 70 long)

829064 - ENGINE TIMING KIT OPEL/CHEVROLET/SAAB PETROL (A20/A24) - 2.0, 2.4

DevEloped specifically for the high power output 2.0 litre and 2.4 litre twin cam turbo charged petrol engines found across the GM, Chevrolet and Saab ranges. This kit provides all the components required to set and hold the camshafts, crankshaft and chain tensioner components when performing major engine work or replacing the cam chain and associated components.

1 4880231 EN-49212, EN-49212-1 Vauxhall - Opel - camshaft locking tool LHS (OEM ref: EN-492)

2 4880232 EN-49212, EN-49212-2 Vauxhall - Opel - camshaft locking tool RHS (OEM ref: EN-492)

3 4880317 EN-48953 Camshaft adjuster holding tool

4 4880318 EN-48585 Crankshaft bolt hole balancer

5 4880320 J45027-2, EN45027-2, EN-45027, Tension plunger holder

6 4880321 EN-45027-1, J-45027-1 Tension plunger remover

7 4880319 EN-43653, J43653 Flywheel holding tool bottom half

8 4880135 EN-43653, J43653 Flywheel holding tool

9 4880214 - M6 x 50 caphead screw

10 4880010 - Washers M6 form C Zc.Pl. 11 4880173 EN-955-20, KM 955-20 Tensioner location pin 4mm 12 4880172 EN-955-10, KM955 Tensioner location pin 2.5mm

13 4880215 - M6 x 16 cap head screw self-colour to BS4168

829065 - CAMSHAFT ALIGNEMENT KIT OPEL/SAAB PETROL TURBO (Z20/B20) - 2.0

The 829065 kit has been developed to change the camshaft drive chain on the twin cam chain driven 2.0lt turbo petrol engines found in the Vauxhall and Saab ranges from 2002 to 2012. 829065 is an 4 piece kit consisting of the components required to lock the camshaft, hold the crankshaft and set the chain tensioner when replacing the timing chain.

SONIC-EQUIPMENT.COM 335 04
OPEL
PETROL DIESEL BELT CHAIN PETROL DIESEL BELT
COMPONENTS
DESCRIPTION
REF # OEM
OPEL
PETROL DIESEL BELT CHAIN PETROL DIESEL BELT
COMPONENTS
OPEL
PETROL DIESEL BELT PETROL DIESEL BELT CHAIN
REF
OEM DESCRIPTION
COMPONENTS
#
OPEL
DIESEL BELT PETROL DIESEL BELT CHAIN COMPONENTS REF # OEM DESCRIPTION
4880298 KM-6362-1 EN-48366-001 Camblock with inlet marking for vauxhall Z20NET engine (2.0L 2 4880299 KM-6362-2 EN-48366-002 Camblock with exhaust marking for vauxhall Z20NET engine (2. 3 4880180
pin
PETROL
1
KM-6077 83 96 392 Tension
1.0 4 4880230 KM-J-38122-A 83 96 210 Holding tool (KM-J-38122-A)

Sonic timing tools

829088 - CAMSHAFT HOLDING TOOL FIAT/FORD/OPEL DIESEL JTD - 1.3

The 829088 camshaft pulley holding tool has been designed to allow the user to loosen and tighten the camshaft pulley fixings without moving the camshafts or causing damage to any timing tools that may be fitted. Conveniently designed to allow the use of a ½ drive wrench the 829088 combines the double headed OEM tool into one single tool.

COMPONENTS

829091 - CRANKSHAFT HOLDING TOOL OPEL 2.0, 2.2

The 829091 is designed to hold the front crankshaft pulley while tightening or loosening the pulley fixings on the GM/Opel/Saab 2,0lt and 2,2 lt petrol engines.

COMPONENTS

1 4880230 KM-J-38122-A Holding tool (KM-J-38122-A)

829116 - ENGINE TIMING KIT VAUXHALL/OPEL 1.6 CDTI

A comprehensive kit to lock the 1.6 diesel engine into its timed position for the removal and replacement of the timing chain to the models listed. Included in this kit is the added component of the camshaft sprocket support bracket that is required when removing the camshaft for essential work on the cam followers. Applications: Astra-J, Astra-K, GTC, Insignia-A, Meriva-B, Mokka, Mokka X & Zafira-C Tourer (from 2013) CDTi EcoFlex. Engine codes: B16DTC, B16DTE, B16DTH, B16DTJ, B16DTL, B16DTN, B16DTR, B16DTU.

COMPONENTS

1 4880185 EN-6349 EN6130 Auxilliary drive belt tensioner locking pin (4

2

6 4880347 - M10 x 40 hex head bolt

7 4880215 - M6 x 16 cap head screw self-colour to bs4168

829119 - ENGINE TIMING KIT VAUXHALL/OPEL 1.6 SIDI PETROL

Specially designed crankshaft pulley holding tool designed to be used with a 1/2”D power bar. Applications: SIDI Turbo, SIDI Turbo EcoFLEX: Vauxhall: Astra-J (2013-2015), Astra-K (from 2015), Cascada (from 2013), GTC (from 2015), Insignia (2013-2017), Zafira-C Tourer (from 2013). Specifically designed for A16XHT, A16SHT, B16XHT, B16SHT and B16SHL petrol turbo engines.

COMPONENTS

REF # OEM DESCRIPTION

1 4880370 EN-6349 EN6130 Balance shaft sprocket locking

2 4880348 EN-51143 Tensioner locking pin

3 4880369 EN-51140 Camshaft holding & alignment tool

4 4880368 EN-50513 Crankshaft pulley holding tool

SONIC-EQUIPMENT.COM 336 04
OPEL
PETROL DIESEL BELT
REF # OEM DESCRIPTION 1 829088 1 871 008 600 303-1475 Camshaft holding tool Fiat/Ford/Opel diesel JTD - 1,3
OPEL
PETROL DIESEL BELT PETRCHAINOL DIESEL
REF # OEM DESCRIPTION
OPEL
PETROL DIESEL BELT PETRCHAINOL DIESEL BELT
REF # OEM DESCRIPTION 5 3 1 2 6 4 7
x 55)
4880355 EN-51143 Camshaft alighment setting pin
4880356 EN-51140 Crankshaft alignment tool 4 4880348 EN-50513 Tensioner locking pin 5 4880357 EN-51188 Camshaft sprocket holding tool
3
OPEL
PETROL DIESEL BELT PETRCHAINOL DIESEL
4 3 2 1

5

1

4

3

4

This kit has been developed to lock the main engine components on the latest Vauxhall/Opel CDTi 2.0L engines from 2014 onwards, to allow removal and replacement of the camshaft drive belt. The kit also contains the tool required to lock the flywheel on vehicles fitted with automatic transmission. N.B: for replacement of the camshaft drive chain in the cylinder head additional tooling will be required –829128.

see 829127 for

SONIC-EQUIPMENT.COM 337 04
ENGINE
OPEL
829127 -
TIMING TOOL KIT - VAUXHALL/OPEL 2,0CDTI
PETROL DIESEL BELT PETRCHAINOL DIESEL BELT COMPONENTS REF # OEM DESCRIPTION 1 26 4 3 5 7 1 4880394 EN-51413 High pressure fuel pump sprocket locking tool 2 4880121 EN-955-2 Auxiliary belt tensioner locking pin
4880397 EN-51412 Crankshaft timing tool
4880396 EN-51414 Camshaft locking pin
4880398 EN-51411 Crankshaft pulley holding tool assy 6 4880353 - M8 x 30 cap head 7 4880354 EN-51412 Locking pin 6.35 X 50mm 829128 - ENGINE TIMING CHAIN KIT - VAUXHALL/OPEL 2,0CDTI OPEL
user
lock
vehicles listed in
position
removal
replacement
camshaft drive chain within the head
removal of
camshafts.
to
lock
PETROL DIESEL BELT PETRCHAINOL DIESEL BELT COMPONENTS REF # OEM DESCRIPTION 1 3 5 2 4 4 4 1 4880393 EN-51415 Camshaft locking tool assembly
4880395 - Camshaft locking tool beam extension block
4880274 EN-51418 Locking pin
5
Developed to allow the
to
the camshafts of the
to their “timed”
for the
and
of the
and
the
**N.B: Additional tooling is required if the timing belt is
be replaced to
the crankshaft and camshaft belt sprockets, please
additional tools.
2
3
4880214
50 caphead screw
4880350 - M6 x 35 socket head cap screw 829132 - AUXILIARY BELT TENSIONER SPANNER 15MM VAUXHALL/OPEL OPEL
PETROL DIESEL BELT PETRCHAINOL DIESEL BELT PETROL DIESEL BELT COMPONENTS REF # OEM DESCRIPTION 1 829132 KM-913-A, EN-913-A Auxiliary belt tensioner spanner 15mm Vauxhall/Opel 829134 - ENGINE TIMING KIT - RENAULT/NISSAN/MERCEDES/VAUXHALL 1,6D OPEL 829134 has been developed specifically for the 1.6 R9M diesel engines fitted across the Renault, Nissan, Vauxhall/Opel and Mercedes-Benz ranges as listed. The 829134 contains all the essential tools required to lock the engine in its “timed” position for safe removal and replacement of the camshaft drive chain. PETROL DIESEL BELT CHAIN PETROL DIESEL BELT COMPONENTS REF # OEM DESCRIPTION
- M6 x
5
Part of the Sonic range of timing tools for Vauxhall, Opel engines
4880359 626 589 04 40 00, MOT 1969 Camshaft alignment tool
4880118 626 589 02 40 00,MOT 1770 EN956-1, EN48334 Crankshaft pulley holding tool 3 4880201 - Locking pin
4880121 KM 6130 Auxiliary belt tensioner locking pin
2
4
4880293 629 589 00 15 00, MOT 1970 Crankshaft timing pin Renault OEM MOT1970

Sonic timing tools

829016 - ENGINE TIMING & REBUILD SET FIAT, OPEL, FORD, PSA JTD DIESEL - 1.3

The 829016 has been developed to allow the user to change the cam chain on the later 1.3 JTD/CDTi & HDi diesel engines found in the PSA, Fiat, Ford, Suzuki and Opel ranges.

COMPONENTS

REF # OEM DESCRIPTION

1 4880200 1 871 000 200, 303-1469, KM-662-C Crankshaft pulley flange holding tool

2 4880004 1 870 900 400 Timing chain tensioning tool

3 4880005 0104-C, 1 870 900 300, 303-1468 Crankshaft alignment tool

4 4880183 0104-A, 1 871 000 900, 1 860 985 000, EN 46781, 09917-68610 Camshaft alignment tool assy

5 4880186 EN 46785, 09912-38300 Crankshaft pin assy

6 4880096 Fiat 8mm pin Locking pin (8mm dia. 70 long)

829018 - ENGINE TIMING KIT FIAT, PSA, IVECO JTD DIESEL - 2.8

The 829018 has been developed for Fiat 2.8 diesel engines that are found in the Fiat, Iveco and PSA van ranges. This kit provides all the tools required to set the timed components when replacing the timing belt. The kit also includes the components require to lock the flywheel when undoing and tightening up the front pulley fixings as well as the special spacer to hold the belt tensioner in its fully retracted position.

1 4880237 1 870 765 001 Flywheel locking piece (Fiat)

2

3

4

829023

The 829023 is an engine timing kit specifically designed for the Ford/PSA 1.4/1.6 TDCi/HDi diesel engines found across the Ford, PSA and Fiat ranges.

1 4880090

(12 x 55)

4 4880061 303-393, 21-168 Flywheel locking tool-Ford

5 4880062 303-393-01 Tooth block item 2

6 4880063 303-293-02 Short tooth block

829026 - ENGINE TIMING KIT FIAT, PSA, OPEL, IVECO JTD DIESEL - 2.5

The 829026 is a small diesel locking kit specifically assembled to cover the 2.5/2.8 belt driven diesel engines found in the Citroën, Peugeot, Renault and Fiat ranges.

COMPONENTS

REF # OEM DESCRIPTION

1 4880132 1 860 638 000 Tensioning tool

2 4880095 1 870 667 000, 1 870 765 001 Locking pin (zinc pl.)

3 4880090 1 860 617 000 Setting pin 5.0mm (5 X 50)

SONIC-EQUIPMENT.COM 338 04
PSA - PEUGEOT - CITROËN
PETROL DIESEL BELT CHAIN PETROL DIESEL BELT CHAIN
PSA - PEUGEOT - CITROËN
PETROL DIESEL BELT CHAIN PETROL DIESEL BELT CHAIN COMPONENTS
REF # OEM DESCRIPTION
4880090
860 617 000 Setting pin 5.0mm (5 x 50)
1
4880097 8mm pin Locking pin (8mm dia. x 60 long)
000
4880132 1 860 638
Tensioning tool
ENGINE TIMING KIT FORD, PSA, FIAT TDCI, HDI DIESEL - 1.4, 1.5, 1.6 PSA - PEUGEOT - CITROËN
-
PETROL DIESEL BELT CHAIN PETROL DIESEL BELT COMPONENTS REF # OEM DESCRIPTION
303-732, 21-260 Setting pin 5.0mm (5 x 50) 2 4880096 303-735, 21-263 Locking pin (8mm dia. 70 long) 3 4880064 303-734, 21-262 Flywheel locking pin
PSA
CITROËN
- PEUGEOT -
PETROL DIESEL BELT CHAIN PETROL DIESEL BELT
SONIC-EQUIPMENT.COM 339 04 829030 - ENGINE TIMING KIT BMW, PSA PETROL N12, N14 -1.4, 1.6 PSA - PEUGEOT - CITROËN The 829030 has been developed to allow the removal and fitting of the camshaft drive chains on the PSA/Mini 1,4 and 1,6 petrol engines. PETROL DIESEL BELT PETROL DIESEL BELT CHAIN COMPONENTS REF # OEM DESCRIPTION 1 4880035 11 9 540 / 0197-A3 Camshaft alignment tool body type 2 (of 2) 2 4880034 119540 / 0197-A3 Camshaft alignment tool body type 1 (of 2) 3 4880036 11 9 540 / 0197-A1 Camshaft alignment tool item 1 of 2 (OEM 119 540QC4 item 1)
4880030 11 9 550 / 0197-A2 Camshaft alignment tool (119 550/551) inlet setting plate 5 4880031 11 9 551 Camshaft alignment plate (OEM 119 550/551exhaust setting) 6 4880032 11 9 552 Support clamp BMW (oem 119 550/552) 7 4880026 11 9 340 Timing chain pre-tensioning tool assembly (11 9 340) 8 4880134 - M6 x 30 hex head setscrew black (self colour) 9 4880028 - M6 x 30 hex head setscrew 10 4880322 - Shank bolt 6 x 12 x M5 thread 11 4880033 11 9 590 / 0197-B Crankshaft setting pin G.A-BMW 12 4880181 - M6 x 20 H T setscrew S/C 13 4880216 - M6 x 30 cap head screw 829035 - ENGINE TIMING KIT PSA PETROL - 1.4 PSA - PEUGEOT - CITROËN The 829035 has been developed to offer the required engine locking tools to fit the popular PSA 1.4 belt driven 16v and 8v petrol engines. Fitted to the models listed between 2000 and 2013. PETROL DIESEL BELT PETRCHAINOL DIESEL COMPONENTS REF # OEM DESCRIPTION 1 4880235 0132QY Flywheel locating pin (PSA 0132QY) 2 4880112 4533-TAD/0132-AK Timing belt retaining clip 3 4880228 3mm pin 3mm formed locking pin (yellow passivate) 4 4880090 0194-A Setting pin 5.0mm (5 x 50) 5 4880096 4533-TAC1/0132-AJ1 Locking pin (8mm dia. 70 long) 6 4880054 0132RZ/4507-TB Pin dia. 10 X 80 long 7 4880053 4507-TA Setting pin 6 x 140 D 829036 - ENGINE TIMING KIT PSA PETROL 3 CYLINDER - 1.0, 1.2 PSA - PEUGEOT - CITROËN The
been developed for
latest generation of Citroën/Peugeot 1.0lt and 1.2lt 3 cylinder
engines.
829036 engine timing kit has been designed to hold the cam shafts and crankshaft
their timed position during belt replacement. The 829036 is made up of a 2 piece camshaft locking bridge and 1 piece crankshaft setting pin. PETROL DIESEL BELT PETRCHAINOL DIESEL COMPONENTS REF # OEM DESCRIPTION
4880300 0109-2A Assembly detail for k00605 PSA 1.0/1.1 VVT 3 cylinder timing 2 4880303 0109-2B Flywheel timing pin for PSA 1.0 & 1.2 assembly
- - With part 4880300, item 3 will be included
4
829036 has
the
petrol
The
in
1
3

Sonic timing tools

829038 - ENGINE TIMING KIT PSA PETROL (EW) - 2.0, 2.2 16V

The 829038 engine timing kit allows the valve timing to be set and maintained during cam belt replacement on the popular EW coded PSA engines used across the Citroën and Peugeot ranges.

2 4880074 0189R Crankshaft setting pin 3 4880075 0189S1 Tensioner adjuster - assembly

4 4880076 0189S2 Tension gauge

5 4880097 0132AJ2, 0188M, 4533TAC2 Locking pin (8mm dia x 60)

6 4880090 0132AB, 0178D, 4527-TS2 Setting pin 5.0mm (5 x 50)

7 4880096 5711-TD Locking pin (8mm dia. 70 long)

8 4880099 0189AZ Timing pins item 2 9 4880100 0189L Locking pin 10 4880098 0189A Timing

The 829039 engine timing kit allows the valve timing to be set on the current 1,3 Multijet Fiat derived diesel engines found across the Fiat, Ford, Opel & PSA ranges.

1 4880135 153A Flywheel holding tool

2 4880183 21 860 985 000, EN 46781, 303-1472, 0104-A

829040 - ENGINE TIMING KIT JAGUAR LAND ROVER, FORD, PSA DIESEL DW12 - 2.2

The 829040 is a compact tool set which includes the camshaft sprocket, flywheel locking tools and flywheel timing pin required when setting the valve timing and/or changing the timing belt on DW12 (2,2lt) diesel engines found in the Land Rover, Ford, Peugeot and Citroën ranges.

COMPONENTS

1 4880096 303-1277, 0188.M Locking pin (8mm dia. 70 long)

2 4880061 303-1272, 0188.F Flywheel locking tool-Ford 3 4880068 303-1270, 303-1059 Timing pin

4 4880080 0188AH Centraliser spring - 1.4mm dia

5 4880106 0188F Flywheel lock (zinc PL.)

SONIC-EQUIPMENT.COM 340 04
PSA - PEUGEOT - CITROËN
PETROL DIESEL BELT PETRCHAINOL DIESEL COMPONENTS REF # OEM DESCRIPTION
1 4880055 0189C Flywheel locking pin
11
PSA - PEUGEOT - CITROËN
pins item 1
4880112 0188K, 0132AK, 0153AK, 0187J, 4533-TAD Timing belt retaining clip 829039 - ENGINE TIMING KIT FIAT, OPEL, FORD, PSA JTD DIESEL - 1.3
PETROL DIESEL BELT CHAIN PETROL DIESEL BELT COMPONENTS REF # OEM DESCRIPTION
Camshaft alignment tool assy.
870 900 300, 303-1468, 0104-C Crankshaft alignment tool 4
3 4880005 1
4880280 303-1475, 1 871 008 600 Ford 1.3 diesel camshaft support tool Ø36 ID
PSA - PEUGEOT - CITROËN
PETROL DIESEL BELT CHAIN PETROL DIESEL BELT
REF # OEM DESCRIPTION

kit brings

and

the

SONIC-EQUIPMENT.COM 341 04
ENGINE TIMING
SET PSA, FIAT DW10, DW12
PSA - PEUGEOT - CITROËN
PETROL DIESEL BELT CHAIN PETROL DIESEL BELT COMPONENTS REF # OEM DESCRIPTION 1 4880072 7099-TM Crankshaft pin - 8 X 380 2
0188K,
0187J, 4533-TAD Timing belt Retaining clip 3
0188P2 Puller beam
4880068 303-1059 Timing pin 5 4880080 0188AH Centraliser spring - 1.4mm dia 6 4880106 0188F Flywheel lock (zinc PL.) 7 4880108 0188J2 Tension adjustment tool 8 4880097 0188M Locking pin (8mm dia x 60) 9 4880227 0188Q2 2mm formed locking pin (BZP) 210 x 50 10 4880228 0153AL 3mm formed locking pin (yellow passivate) 11 4880060 0188Q1 4.0mm setting pin 12 4880104 0188J/J1 Tension adjustment tool 13 4880096 0189B Locking pin (8mm dia. 70 long) 14 4880090 0178D, 303-732, 0194A Setting pin 5.0mm (5 x 50) 15 4880064 303-734, 0194C Flywheel locking pin (12 x 55) 16 4880255 0.532Y, 9967.34 8mm multi-bend flywheel timing pin 829063 - ENGINE TIMING KIT OPEL/FIAT/FORD/PSA DIESEL JTD/HDI - 1.3 PSA - PEUGEOT - CITROËN This is an essential engine timing tool set that provides the camshaft and crankshaft timing tools only. PETROL DIESEL BELT CHAIN PETROL DIESEL BELT COMPONENTS REF # OEM DESCRIPTION 1 4880183 104-A, EN 46781 Camshaft alignment tool assy 2 4880186 - Crankshaft pin assy 3 4880096 EN-46785 Locking pin (8mm dia. 70 long) 829107 - OIL PUMP ALIGNMENT PLATE FORD, JAGUAR, LAND ROVER, ROVER, PSA DURATORQ DIESEL 2.0, 2.2, 2.4, 3.2 PSA - PEUGEOT - CITROËN The 829107 oil pump alignment tool has been developed to allow the user to correctly align the engine oil pump in the sump after an engine rebuild etc. it is important that the pump be correctly and accurately aligned to ensure the oil pump sprocket is not operating with excessive side loads. PETROL DIESEL BELT CHAIN PETROL DIESEL BELT CHAIN COMPONENTS A NOTE : the use of this kit requires the acquisition of additional tools. REF # OEM DESCRIPTION A 829107 303-705, 303-1093, 0198.H Oil pump alignment plate Ford/Jaguar Land Rover/PSA diesel
829041 -
& REBUILD
- 2.0, 2.2
The 829041
together
tools required to set the valve timing on the extensive range of DW10 2,0
DW12 2,2 Diesel engines as well as the DV4 1,4 and DV6 1,6 diesel engines found across the PSA and Fiat ranges.
4880112
0132AK, 0153AK,
4880113 0188P, 7015-T,
4

Sonic timing tools

829022 - TWIN CAMSHAFT LOCKING TOOL OPEL, FIAT PETROL - 2.2

The 829020 has been developed to lock the cam and crankshaft in position to allow the removal and replacement of the timing belt fitted to the current generation 1.4 Fiat MultiAir engines.

1 4880179 KM 6148

2 4880180 KM 6077 Tension pin 1.0

829054 - ENGINE TIMING KIT RENAULT/NISSAN PETROL (K4) - 1.6, 2.0

The 829054 offers the essential engine timing tools required for the Renault petrol 16V belt driven 1.6L and 2.0L engines. The 829054 kit of four tools enables the correct engine timing to be performed on Renault K4J, K4M & F4P, F4R engines, when changing the timing belt. The set includes 2 crankshaft timing pins and camshaft setting bar with the bracket specifically for the K4M 813 engine from 2003 onwards.

COMPONENTS

REF # OEM DESCRIPTION

1 4880048 MOT 1489 Crankshaft locking pin (chem. black)

2 4880095 MOT 1054 Locking pin (zinc PL.)

3 4880109 MOT 1496 Camshaft setting bar - Renault

4 4880111 MOT 1750 Mounting bracket (MOT 1759)

829055 - ENGINE TIMING KIT RENAULT/OPEL/NISSAN DIESEL (BELT DRIVE) - 1.5, 1.9, 2.2, 2.3, 2.5

The 829055 offers the essential engine timing tools required for the Renault belt driven DCI range of diesel engines. It includes the tools required for 1.5, 1.9, 2.2, 2.3 and 2.5 DCi diesel engines found in the Dacia, Nissan, Renault, Suzuki and Opel/Vauxhall ranges.

5

SONIC-EQUIPMENT.COM 342 04
RENAULT - DACIA
PETROL DIESEL BELT PETRCHAINOL DIESEL
OEM DESCRIPTION
COMPONENTS REF #
Camshaft
locking tool (assembled)
RENAULT - DACIA
PETROL DIESEL BELT PETRCHAINOL DIESEL
RENAULT - DACIA
PETROL DIESEL BELT CHAIN PETROL DIESEL BELT
REF # OEM DESCRIPTION
locking pin
black)
zinc
COMPONENTS
1 4880048 MOT 1489 Crankshaft
(chem.
2 4880047 - Washer M8
plated 3 4880073 - Ht setscrew M6 x 45 Zc.PL.
MOT
pin
4 4880095
1054 Locking
(zinc PL.)
MOT
Locking pin
MOT
Tensioning tool
Renault 19 DCI 7
MOT
High pressure pump pin
8
MOT
KM6203 Crankshaft
pin
10
KM6205
setting tool (chem. black) 11
MOT 1537 KM6205 Exhaust cam setting tool
4880096
1430
(8mm dia. 70 long) 6 4880116
1543
-
4880174
1538
C/W T/bar
4880175
1536
timing
(7 x 80) 9 4880177 - H.T. Setscrew M8x60 zinc plate
4880178 MOT 1534
Inlet cam
4880176

829056 - ENGINE TIMING KIT RENAULT/OPEL/NISSAN DIESEL (CHAIN DRIVE) - 1.6, 2.0, 2.3

The 829056 has been specifically put together to allow the user to lock the engine components of the 1.6, 2.0 and 2.3 Renault engines used across the Renault, Opel and Nissan ranges. The 829056 kit includes the essential tools required to allow the removal and replacement of the engine timing chain.

COMPONENTS

REF # OEM DESCRIPTION

1 4880122 MOT 1766, EN48330 Crankshaft locking pin

2 4880119 MOT 1769, EN48332, MOT 1969 (1,6L) Camshaft setting tool (MOT 1769)

3 4880121 KM 6130 Auxiliary belt tensioner locking pin

4 4880118 MOT 1770, KM 956-1, EN-48334 Crankshaft pulley holding tool

5 4880120 MOT 1773, EN48331 Camshaft gear alignment tool

6 4880201 - Locking pin

7 4880210 - 4mm hex key

8 4880330 - M6 x 40 HT setscrew

9 4880293 MOT 1970 Crankshaft timing pin Renault OEM MOT1970

10 MOT 1969 For 1.6l engines (R9M) 11 MOT 1769 For 2.0l/2.3l engines (M9R/M9T)

829057 - ENGINE TIMING KIT RENAULT/DACIA PETROL (K7J/K7M) - 1.4, 1.6

The 829057 has been specifically put together to allow the user to lock the engine

SONIC-EQUIPMENT.COM 343 04
RENAULT - DACIA
PETROL DIESEL BELT CHAIN PETROL DIESEL BELT CHAIN
RENAULT - DACIA
components of the 1.4
1.6 Renault engines used across the Dacia range.
829057 kit includes the belt pre-tensioner lever required on engines equipped with a manual tensioner. PETROL DIESEL BELT PETRCHAINOL DIESEL COMPONENTS REF # OEM DESCRIPTION
4880048 MOT 1489 Crankshaft locking pin (chem. black) 2 4880102 MOT 1145-01 Tension spanner 3 4880295 MOT 1501 Assembly - belt tensioning tool for logan, Sandero MOT 1501
- ENGINE TIMING KIT RENAULT PETROL (BELT DRIVE) - 1.4, 1.6, 1.8, 2.0 16V RENAULT - DACIA The 829058 has been specifically put together to allow the user to lock the engine components of the 1.4, 1.6, 1.8 and 2.0 16V turbo and non-turbo petrol engines. PETROL DIESEL BELT PETRCHAINOL DIESEL COMPONENTS REF # OEM DESCRIPTION 1 4880048 MOT 1489 Crankshaft locking pin (chem. black) 2 4880095 MOT 1054 Locking pin (zinc PL.) 3 4880109 MOT 1496 Camshaft setting bar - Renault 4 4880111 MOT 1750 Mounting bracket (MOT 1759) 5 4880115 MOT 1490 Camshaft pulley alignment tool - Renault 6 4880117 MOT 1801 Camshaft sprocket locking tool - Renault 2,0 (ENG. F4R) 7 4880323 MOT 1368 Cambelt tensioning tool (3894) 829059 - ENGINE TIMING KIT RENAULT PETROL - 1.2 RENAULT - DACIA The 829059 has been specifically assembled to provide the essential tools for belt replacement on the Renault 1.2 petrol engines. PETROL DIESEL BELT PETRCHAINOL DIESEL COMPONENTS REF # OEM DESCRIPTION 1 4880095 MOT 1054 Locking pin (zinc PL.) 2 4880103 MOT 1386 Tensioning tool
4880307 MOT 582-01 Flywheel locking tool - Renault Clio, Twingo, Kangoo, Megan
and
The
1
829058
3

Sonic timing tools

829062 - ENGINE TIMING KIT OPEL, RENAULT, SAAB DIESEL DOHC CDTI - 1.9

The 829062 provides the essential tools required to replace the camshaft drive belt and remove the camshafts on the Vauxhall/Opel CDTi 1.9/2.0lt twin cam diesel engines listed below.

COMPONENTS

REF # OEM DESCRIPTION

1 4880137 EN-46788 Stud assy

2 4880185 KM-6130, 6349 Auxilliary drive belt tensioner locking pin (4 x 55)

3 4880187 EN-46788/1, 32 025 009 Crankshaft alignment tool

4 4880188 EN-46789, 32 025 008 Camshaft alignment tool

5 4880189 EN-46789-100 Camshaft setting pin assy.

6 4880332 SSM8x20B M8 x 20 H.T. setscrew

829082 - ENGINE TIMING KIT RENAULT, VOLVO PETROL TWIN CAM 16V/20V - 2.0, 2.4

The 829082 kit provides all the essential engine timing tools to set and lock the engine components of the popular Renault/Volvo 2,0lt and 2,5lt petrol engines to allow camshaft belt replacement. Also offers coverage for the 1.6, 1.8, 1.9 and 2.3 derivatives. See attached applications.

• Additional recommended tooling – Sonic recommends the use of Sonic 829089 crankshaft pulley holding tool when tightening or loosening the crankshaft pulley fixing bolt.

COMPONENTS

REF # OEM DESCRIPTION

1 4880101 MOT 1340, 999 5451 Timing pin

2 4880105 MOT 1348 Tensioning tool (no sleeve)

3 4880107 MOT 1337, 999 5452 Camshaft setting tool

4 4880051 303-507, 999 7152 Mazda screw

5 4880050 303-376B Camshaft alignment strap (chem. black)

6 - Hex-head bolt for 3

829130 - FLYWHEEL/FRONT PULLEY LOCKING TOOL SET - RENAULT/NISSAN

The 829130 has been developed to provide a locking solution for the flywheel and front pulley on the Renault engines listed below. The kit also provides the primary tools required for timing chain replacement on the Renault twin cam 1.4,1.6, 2.0, 2.5 and 3.5 litre petrol engines.

COMPONENTS

REF # OEM DESCRIPTION

1 4880403 MOT 919-02 Flywheel locking tool - assy

2 4880402 MOT.1431 Flywheel locking tool - assy

3 4880414 MOT 1716 Cover/sump/joint separator tool

4 4880401 MOT 2019 / MOT 1789 Crankshaft pulley holding tool

829134 - ENGINE TIMING KIT - RENAULT/NISSAN/MERCEDES/VAUXHALL 1,6D

829134 has been developed specifically for the 1.6 R9M diesel engines fitted across the Renault, Nissan, Vauxhall/Opel and Mercedes-Benz ranges as listed. The 829134 contains all the essential tools required to lock the engine in its “timed” position for safe removal and replacement of the camshaft drive chain.

COMPONENTS

REF # OEM DESCRIPTION

1 4880359 626 589 04 40 00, MOT 1969 Camshaft alignment tool

2 4880118 626 589 02 40 00,MOT 1770 EN956-1, EN48334 Crankshaft pulley holding tool

3 4880201 - Locking pin

4 4880121 KM 6130 Auxiliary belt tensioner locking pin

5 4880293 629 589 00 15 00, MOT 1970 Crankshaft timing pin renault OEM MOT1970

SONIC-EQUIPMENT.COM 344 04
RENAULT
DACIA
-
PETROL DIESEL BELT CHAIN PETROL DIESEL BELT
RENAULT - DACIA
PETROL DIESEL BELT PETRCHAINOL DIESEL
RENAULT - DACIA
PETROL DIESEL BELT PETRCHAINOL DIESEL
RENAULT - DACIA
PETROL DIESEL BELT CHAIN PETROL DIESEL BELT

829037 - ENGINE TIMING KIT JAGUAR LAND ROVER DIESEL TDV6 - 2.7

The 829037 engine timing kit allows the valve timing to be set and maintained during cam belt replacement on the popular Jaguar/Land Rover TDV6 diesel engine found across the Jaguar & Land Rover ranges. The 829037 also includes the additional PSA locking tools required for the 2.7 HDi engine found in the Citroën and Peugeot ranges.

1 4880127 303-1132 Camshaft sprocket timing pin

2 4880079 303-1126 Camshaft sprocket timing pin

3 4880129 303-1116 Fly wheel locking tool

4 4880128 303-1117 Fly wheel locking tool 2

5 4880077 0195-K Flywheel locking pin Peugeot 0195-K

6 4880078 0195-C Coolant pump pulley pin Peugeot 0195-C

829040 - ENGINE TIMING KIT JAGUAR LAND ROVER, FORD, PSA DIESEL DW12 - 2.2

The 829040 is a compact tool set which includes the camshaft sprocket, flywheel locking tools and flywheel timing pin required when setting the valve timing and/or changing the timing belt on DW12 (2,2lt) diesel engines found in the Land Rover, Ford, Peugeot and Citroën ranges.

COMPONENTS REF # OEM DESCRIPTION

1 4880096 303-1277, 0188.M Locking pin (8mm dia. 70 long)

2 4880061 303-1272, 0188.F Flywheel locking tool-Ford

3 4880068 303-1270, 303-1059 Timing pin

4 4880080 0188AH Centraliser spring - 1.4mm dia

5 4880106 0188F Flywheel lock (zinc PL.)

829107 - OIL PUMP ALIGNMENT PLATE FORD, JAGUAR, LAND ROVER, ROVER, PSA DURATORQ DIESEL 2.0, 2.2, 2.4, 3.2

The 829107 oil pump alignment tool has been developed to allow the user to correctly align the engine oil pump in the sump after an engine rebuild etc. it is important that the pump be correctly and accurately aligned to ensure the oil pump sprocket is not operating with excessive side loads.

COMPONENTS

# OEM DESCRIPTION

A 829107 303-705, 303-1093, 0198.H Oil pump alignment plate Ford/Jaguar Land Rover/PSA diesel

829126 - ENGINE TIMING KIT - JLR 2,0 GTDI

A comprehensive engine timing tool kit for the Jaguar, Land Rover 2.0 Petrol GTDI (Gasoline Turbo Direct Injection) engines.

COMPONENTS

REF # OEM DESCRIPTION

A 4880278 303-1600, 303-1565 Ford 2.0 camshaft alignment tool

B 4880390 303-1595 Crankshaft alignment tool plate with guides and pins

C 4880389 303-1595 Threaded bush guide 16 x 56mm

D 4880391 303-1595 Threaded pin 6 x 61

E 4880281 303-1521 Ford cranksaft sensor alignment tool (CKP)

F 4880392 303-1594 Flywheel locking tool

G 4880049 303-748 Crankshaft locking pin - ford (chem. black)

SONIC-EQUIPMENT.COM 345 04
ROVER
LAND ROVER
-
PETROL DIESEL BELT CHAIN PETROL DIESEL BELT COMPONENTS REF
# OEM DESCRIPTION
ROVER
LAND ROVER
-
PETROL DIESEL BELT CHAIN PETROL DIESEL BELT
ROVER - LAND ROVER
PETROL DIESEL BELT CHAIN PETROL DIESEL BELT CHAIN
A NOTE : the use of this kit requires the acquisition of additional tools.
REF
ROVER - LAND ROVER
PETROL DIESEL BELT CHAIN PETROL DIESEL BELT
A B D E G C F

Sonic timing tools

829015 - ENGINE TIMING KIT FIAT, OPEL, SAAB JTD DIESEL - 1.6, 1.9, 2.0, 2.4

The 829015 engine timing kit has been put together to provide the essential crankshaft and cam shaft timing pins only for the Fiat/Opel JTD diesel engines found across the Fiat, Opel, Saab ranges.

#

1 4880188 1.870.896.900, EN-46789, 32 025 008 Camshaft alignment tool

2 4880136 1.860.898.000 Flywheel locking tool

3 4880137 - Stud assy

4 4880218 - M8 x 20mm socket head screw

5 4880091 1.860.965.000 Setting pin (chem. black) (6 X 60)

6 4880187 1.860.905.000, 1.860.905.010, 2.000.003.000, EN-46788, 32 025 009

Crankshaft alignment tool

829062 - ENGINE TIMING KIT OPEL, RENAULT, SAAB DIESEL DOHC CDTI - 1.9

The 829062 provides the essential tools required to replace the camshaft drive belt and remove the camshafts on the Vauxhall/Opel CDTi 1.9/2.0lt twin cam diesel engines listed below.

COMPONENTS

#

1 4880137 EN-46788 Stud assy

2 4880185 KM-6130, 6349 Auxilliary drive belt tensioner locking pin (4 x 55)

3 4880187 EN-46788/1, 32 025 009 Crankshaft alignment tool

4 4880188 EN-46789, 32 025 008 Camshaft alignment tool

5 4880189 EN-46789-100 Camshaft setting pin assy.

6 4880332 SSM8x20B M8 x 20 H.T. setscrew

829064 - ENGINE TIMING KIT OPEL/CHEVROLET/SAAB PETROL (A20/A24) - 2.0, 2.4

Developed specifically for the high power output 2.0 litre and 2.4 litre twin cam turbo charged petrol engines found across the GM, Chevrolet and Saab ranges. This kit provides all the components required to set and hold the camshafts, crankshaft and chain tensioner components when performing major engine work or replacing the cam chain and associated components.

COMPONENTS

REF # OEM DESCRIPTION

1 4880231 EN-49212, EN-49212-1 Vauxhall - Opel - camshaft locking tool LHS (OEM ref: EN-492)

2 4880232 EN-49212, EN-49212-2 Vauxhall - Opel - camshaft locking tool RHS (OEM ref: EN-492)

3 4880317 EN-48953 Camshaft adjuster holding tool

4 4880318 EN-48585 Crankshaft bolt hole balancer

5 4880320 J45027-2, EN45027-2, EN-45027, Tension plunger holder

6 4880321 EN-45027-1, J-45027-1 Tension plunger remover

7 4880319 EN-43653, J43653 Flywheel holding tool bottom half

8 4880135 EN-43653, J43653 Flywheel holding tool

9 4880214 - M6 x 50 caphead screw

10 4880010 - Washers M6 form C Zc.Pl. 11 4880173 EN-955-20, KM 955-20 Tensioner location pin 4mm

12 4880172 EN-955-10, KM955 Tensioner location pin 2.5mm

13 4880215 - M6 x 16 cap head screw self-colour to BS4168

SONIC-EQUIPMENT.COM 346 04
SAAB
PETROL DIESEL BELT CHAIN PETROL DIESEL BELT CHAIN
REF
OEM DESCRIPTION
COMPONENTS
SAAB
PETROL DIESEL BELT CHAIN PETROL DIESEL BELT
REF
OEM DESCRIPTION
SAAB
PETROL DIESEL BELT PETROL DIESEL BELT CHAIN

5

3

829065 - CAMSHAFT ALIGNEMENT KIT OPEL/SAAB PETROL TURBO (Z20/B20) - 2.0

The 829065 kit has been developed to change the camshaft drive chain on the twin cam chain driven 2.0lt turbo petrol engines found in the Vauxhall and Saab ranges from 2002 to 2012. 829065 is an 4 piece kit consisting of the components required to lock the camshaft, hold the crankshaft and set the chain tensioner when replacing the timing chain.

1 4880298 KM-6362-1 EN-48366-001 Camblock with inlet marking for vauxhall Z20NET engine (2.0L

2 4880299 KM-6362-2 EN-48366-002 Camblock with exhaust marking for vauxhall Z20NET engine (2.

3 4880180 KM-6077 83 96 392 Tension pin 1.0

4 4880230 KM-J-38122-A 83 96 210 Holding tool (KM-J-38122-A)

829066 - ENGINE TIMING KIT VAG PETROL

The 829066 kit has been designed to allow removal and replacement of the timing chain and camshaft sprockets on the 1.8/2.0 TFSi and TSi petrol engines commonly found in the Volkswagen Audi Group of vehicles. Description: 829066 is an 8 piece kit consisting of the components required to find piston TDC, hold the camshaft pulleys in position and lock the chain tensioners in their retracted positions.

The 829067 kit has been designed to offer the essential timing tools required for the 1,0lt 2 cylinder VAG engines from 2011 on. Description: 829067 is a 3 piece kit consisting of the components required to lock the crankshaft, cam pulleys, camshafts and crankshaft in their timed positions to allow the removal and replacement of the camshaft timing belt.

COMPONENTS

1

3

SONIC-EQUIPMENT.COM 347 04
SAAB
PETROL DIESEL BELT PETROL DIESEL BELT CHAIN
COMPONENTS REF # OEM DESCRIPTION
TFSI - 1.8, 2.0 VAG - AUDI - VOLKSWAGEN
PETROL DIESEL BELT PETROL DIESEL BELT CHAIN
REF # OEM DESCRIPTION
4880229 T10352 Camshaft control valve tool
4880268
Camshaft clamp for VAG 1.8,2.0 4V TFSI timing set
COMPONENTS
1
2
T40271-1
T40271-1
4880269 T40271-2 Camshaft clamp for VAG 1.8, 2.0 4V TFSI timing setT40271-2
4880275 T40265 1.8 & 2.0 4V TFSI VAG tension pulley locking pin (T40265)
4
4880144 T40011 Tensioner locking pin 1.4mm BZP & clear passivate 6 4880294 T40267 Vag 1.8, 2.0 4V TFSI tensioner locking clamp (T40267)
4880133 T10170 5mm TDC indicator 8 4880123 Vas6079 DTI -ord. style C/W test cert. 829067 - ENGINE TIMING KIT VAG PETROL 3 CYLINDER - 1.0 VAG - AUDI - VOLKSWAGEN
7
PETROL DIESEL BELT PETRCHAINOL DIESEL
REF # OEM DESCRIPTION
4880297
Camshaft locking tool for VAG 3 cyl 4V
pin (T10340)
T10477
2 4880199 T10340 Locking
4880324
Camshaft sprocket locking tool VAG
T10476

1

Sonic timing tools

829068 - ENGINE TIMING KIT VAG DIESEL CR (2012 ON) - 1.6, 2.0

The 829068 kit has been designed to offer the timing tools required for the popular 1.6/2.0 TDi VAG engines to include the latest versions. From 2013 on. The 829068 is a 9 piece kit consisting of the components required to lock the crankshaft, cam pulley and fuel pump pulley in their timed positions to allow the removal and replacement of the camshaft timing belt. 829068 also includes the special VAG sump plug removal tool designed specifically for the plastic sump and timing plugs used on the later 1.6/2.0 TDi CR diesel engines.

SONIC-EQUIPMENT.COM 348 04
VAG - AUDI - VOLKSWAGEN
PETROL DIESEL BELT CHAIN PETROL DIESEL BELT COMPONENTS REF # OEM DESCRIPTION
4880157 T10060a Tensioner pin
4880092 3359 Injection pump timing pin 3 4880152 T10051 Pulley holding tool G.A VAG 4 4880197 T10264 6mm ball end hex key
4880196
Tensioner pulley locking pin assy
4880304 T10490 Machined plate for crankshaft positioning/holding tool 7 4880096 - Locking pin (8mm dia. 70 long) 8 4880305 T10549 VAG 2.0 4cyl sump plug remover tool 9 4880308 T10492 6mm locking pin 829069 - ENGINE TIMING KIT VAG PETROL TSI - 1.2, 1.4 VAG - AUDI - VOLKSWAGEN The 829069 kit has been designed to offer the essential tools required to allow the engine timing to be set on the new generation 1.2/1.4 of TSi VAG petrol engines. The kit includes an specially designed camlocking bar that is equivalent to the OEM tools. PETROL DIESEL BELT CHAIN PETROL DIESEL BELT COMPONENTS REF # OEM DESCRIPTION 1 4880309 T10494 VAG camshaft locking tool 2 4880199 T10340 Locking pin (T10340) 829070 - ENGINE TIMING KIT VAG PETROL 3 CYLINDER 6V/12V - 1.2 VAG - AUDI - VOLKSWAGEN The 829070 kit provides the essential timing tools required when setting the engine timing on the belt driven 3 cylinder 1,2 six valve and twelve valve petrol engines found across the VAG ranges. PETROL DIESEL BELT CHAIN PETROL DIESEL BELT COMPONENTS REF # OEM DESCRIPTION 1 4880192 T10123 Camshaft alignment tool VAG 1.2-12V (OEM T10123) 2 4880194 T10120 Crank alignment pin (chem. black) 3 4880193 T10121 Camshaft alignment pin VAG 1.2-12V (OEM T10120) 829071 - ENGINE TIMING KIT VAG PETROL FSI/TFSI - 1.2, 1.4 VAG - AUDI - VOLKSWAGEN The 829071 kit provides the essential timing tools required when removing the camshaft drive chains on the 1,2 and 1,4 FSi/TFSi petrol engines found across the VAG ranges from as early as 2003 to 2015. The kit also includes 2 alignment pins used to help align the supercharger on the engines equipped with a supercharger. PETROL DIESEL BELT PETROL DIESEL BELT CHAIN COMPONENTS REF # OEM DESCRIPTION 1 4880262 T10414 Camshaft locking tool 2 4880123 VAS 6079 DTI -ORD. style C/W test cert. 3 4880133 T10170 5mm TDC indicator 4 4880144 T40011 Tensioner locking pin 1.4mm BZP & clear passivate 5 4880159 T10171//T10171A Camshaft alignment tool 6 4880198 T10341 Guide (T10341)
4880199 T10340 Locking pin (T10340)
2
5
T10265
Ø2.5. [T10265] 6
7

1

829072 - ENGINE TIMING KIT VAG DIESEL TRANSPORTER, LT - 2.4, 2.5

The 829072 kit provides the essential timing tools required for the VW 2.4/2.5 diesel engines listed below.

1 4880081 2065A Setting bracket (zinc PL.)

2 4880146 3355 32mm. hex wrench tensioner pulley

3 4880145 T50009 Mm 23161 15x vw crafter crankshaft alignment pin (T50009)

4 4880071 2064 Setting spigot (chem. black) (pin 15.5 X 67)

5 4880167 T10025 Flywheel sprocket holding tool (zinc PL.)

829073 - ENGINE TIMING KIT VAG PETROL FSI/TFSI - 2.0

The 829073 kit provides the essential camshaft timing tools required when removing the camshaft drive chain in the cylinder head of the 2.0 TFSi amd FSi petrol engines found across the VAG ranges. These engines use a Belt to drive one camshaft and a chain in the rear of the head to drive the second camshaft.

829074 - ENGINE TIMING KIT VAG PETROL FSI

SONIC-EQUIPMENT.COM 349 04
VAG - AUDI - VOLKSWAGEN
PETROL DIESEL BELT CHAIN PETROL DIESEL BELT COMPONENTS REF
OEM DESCRIPTION
#
VAG - AUDI - VOLKSWAGEN
PETROL DIESEL BELT CHAIN PETROL DIESEL BELT PETRCHAINOL DIESEL COMPONENTS REF # OEM DESCRIPTION
4880017 T10020//V.159 Tensioner 2 4880144 T40011 Tensioner locking pin 1.4mm BZP & clear passivate 3 4880153 T10252 Camshaft setting tool-VAG FSI T10252
Chain tensioner retainer
4 4880154 3366
Tensioner bolt
pin
5 4880155 T10092
6 4880157 T10060/A Tensioner
V6/V8 - 2.4/3.2 VAG - AUDI - VOLKSWAGEN The
has
essential timing tools required for the 2.4
3.2 V6 FSi engines as well as the 5 cylinder
FSi petrol engines found in the Audi range. Equivalent to OEM = T40069, T40070 PETROL DIESEL BELT PETROL DIESEL BELT CHAIN COMPONENTS REF # OEM DESCRIPTION 1 4880160 T40070 Camshaft alignment tool VAG T40070 2 4880161 T40069 TDC alignment pin VAG T40069 3 4880162 T40071 Clip 4 4880047 - Washer M8 zinc plated 5 4880212 - M8 X 50 LG bolt DIN 931 829075 - ENGINE TIMING KIT VAG DIESEL V6 TDI - 2.7, 3.0 VAG - AUDI - VOLKSWAGEN This kit has been specifically designed as a kit to suit the popular 2.7/3.0 TDi and TDi CR (common rail) chain driven diesel engine found in the VAG range PETROL DIESEL BELT CHAIN PETROL DIESEL BELT CHAIN COMPONENTS REF # OEM DESCRIPTION 1 4880056 3242 Locking pin (chem. black) 2 4880092 3359 Injection pump timing pin 3 4880147 T40049 Crankshaft turning tool (T40049) 4 4880156 T40058 Pulley bolt 5 4880148 T40060 Camshaft alignment pin assembly (T40060) 6 4880149 T40061 Camshaft alignment tool - Audi (T40061) 7 4880150 T40062 Tensioning tool Audi (T40062) 8 4880151 - Chain tensioner pin
829074 kit
the
and
2.5

Sonic timing tools

A small but essential kit for setting the camshafts on the popular 1,4 and 1,6 Fsi petrol engines found across the VAG ranges from 1996 to 2008. These engines use one belt to transfer the drive from the crankshaft to one camshaft then a second belt to transfer the drive across the camshafts. Depending on the engine specification the cam

or without the

provided.

SONIC-EQUIPMENT.COM 350 04 829076
CAMSHAFT SETTING TOOL VAG PETROL 16V FSI (BELT DRIVE) - 1.4, 1.6 VAG - AUDI - VOLKSWAGEN
-
bar
PETROL DIESEL BELT PETRCHAINOL DIESEL COMPONENTS REF # OEM DESCRIPTION
4880094 T10016/T10074 Camshaft locking tool - VAG 829077 - ENGINE TIMING KIT VAG DIESEL PD TDI - 1.2, 1.4, 1.9, 2.0 VAG - AUDI - VOLKSWAGEN VAG diesel engine timing tool master kit offered specifically for the applications listed on our website. Designed to allow the replacement of the camshaft drive belts found on the popular VAG diesel engines from 1999 to 2015. PETROL DIESEL BELT CHAIN PETROL DIESEL BELT COMPONENTS REF # OEM DESCRIPTION 1 4880250 E10347 04 Dia. 4.0mm tensioner pin 2 4880251 E10347 07 Dia. 7.0mm tensioner pin 3 4880274 T10115 Locking pin 4 4880092 T20102, 3359 Injection pump timing pin 5 4880093 T10008 Tensioning tool (zinc PL. Y) 6 4880140 T10050 Crankshaft locking tool 7 4880141 T10100 Crankshaft alignment tool 8 4880157 T10060 Tensioner pin 9 4880195 T40098 Tensioner pulley locking pin assembly [T40098] 10 4880196 T10265 Tensioner pulley locking pin assy Ø2.5. [T10265] 11 4880197 T10264 6mm ball end hex key 12 4880252 E10347 08 Dia. 8.0mm tensioner pin 13 4880017 T10020 / V.159 Tensioner 14 4880016 T10020 / 2287 Tension wrench 829078 - ENGINE TIMING KIT VAG PETROL, DIESEL - 1.7, 1.9 (DIESEL), 1.6, 2.0 (PETROL) VAG - AUDI - VOLKSWAGEN VAG combination kit PETROL DIESEL BELT CHAIN PETROL DIESEL BELT CHAIN PETROL DIESEL BELT PETRCHAINOL DIESEL COMPONENTS REF # OEM DESCRIPTION 1 4880017 T10020 Tensioner 2 4880015 2587, MatraV159 Tension wrench 3 4880081 2065A Setting bracket (zinc PL.) 4 4880142 - M5 x 60 HT setscrew S/Col 5 4880158 T10098 Camshaft setting bracket 6 4880092 T20102, 3359 Injection pump timing pin 7 4880071 2064 Setting spigot (chem. black) (pin 15.5 x 67) 8 4880144 T40011 Tensioner locking pin 1.4mm bzp & clear passivate 9 4880143 - Stud and nut assembly 10 4880155 T10092 Tensioner bolt 11 4880154 T20018, 3366, T20044 Chain tensioner retainer
setting pins may be used with
cross
1

A 12 point (double Hex) 30 mm cam belt tensioner wrench intended for use on VAG vehicles as listed on our website. The 829090 VAG tension wrench is designed to allow the user to adjust the camshaft drive belt tensioner in the manor described by the manufacturer. The 829090 is specifically designed for use on the latest range of 1.0lt, 1.2lt and 1.4lt belt driven petrol turbo charged petrol engines.

Equivalent to OEM T10499

A 16.0 mm across flats spanner with PVC handle intended for use on VAG vehicles (predominantly Volkswagen) utilising the 1.4 TSI engines. The cranked spanner is required for releasing tension on the auxiliary drive belt, which is achieved by rotating the engines’ spring loaded belt tensioner away from the belt.

Equivalent to OEM T10447

SONIC-EQUIPMENT.COM 351 04 829090
30MM PETROL
VAG - AUDI - VOLKSWAGEN
- CAMBELT TENSIONER WRENCH VAG
- 1.0, 1.2, 1.4
PETROL DIESEL BELT PETRCHAINOL DIESEL COMPONENTS REF # OEM DESCRIPTION
T10499 Cam belt tensioner wrench VAG 30mm petrol1,0/1,2/1,4 829092
AUXILLIARY DRIVE BELT WRENCH PETROL TFSI 16MM VAG - 1.4 VAG - AUDI - VOLKSWAGEN
1 829090
-
PETROL DIESEL BELT PETRCHAINOL DIESEL COMPONENTS REF # OEM DESCRIPTION 1 829092 T10447 Auxiliary Drive Belt Wrench Petrol TFSi 16mm VAG - 1,4 829093 - TIMING CHAIN TENSIONER LEVER VAG PETROL TFSI - 1.8/2.0 VAG - AUDI - VOLKSWAGEN The 829093 is a specially designed tensioner lever for later generation III 1.8 & 2.0 4v TFSI engines. This one piece lever allows the user to push back the timing chain tensioner without removing the front engine cover. The 829093 is the Sonic equivalent to the VAG original equipment number T40243. PETROL DIESEL BELT PETROL DIESEL BELT CHAIN COMPONENTS REF # OEM DESCRIPTION 1 829093 T40243 Timing Chain Tensioner Lever VAG Petrol TFSi - 1,8/2,0 829099 - CAM BELT TENSIONER WRENCH VAG, VOLVO 32MM DISELS TDI - 2.5 VAG - AUDI - VOLKSWAGEN The 829099
a 32mm multi hex wrench designed to fit the tensioner used on the VAG 2.5 TDi/SDi diesel engines. Equivalent to OEM number 3355. PETROL DIESEL BELT CHAIN PETROL DIESEL BELT COMPONENTS REF # OEM DESCRIPTION A 4880146 3355, 999 5649 , 999-5649 32mm. hex wrench tensioner pulley 829100 - CAM BELT TENSIONER WRENCH VAG ADJUSTABLE HEAD VAG - AUDI - VOLKSWAGEN The 829100 is an adjustable cam-belt tensioner tool. Equivalent to EOM T10020 and Matra V159. PETROL DIESEL BELT CHAIN COMPONENTS REF # OEM DESCRIPTION 1 829100 T10020//Matra V159 Cam belt tensioner wrench VAG adjustable head 829103 - FRONT PANEL GUIDE SET VW T5 VAN VAG - AUDI - VOLKSWAGEN 829103 allows the user to space the front of the T5 van off away from the front of the vehicle without disconnecting all the front panel pipe work saving significant time and ensuring the panel does not fall so preventing damage. Screw in place of main front panel mounting pins. Supplied as a set of 4. A COMPONENTS REF # OEM DESCRIPTION A 4880306 T10288 VW (2004 - onwards) T5 front body panel guide pin assy
is

Sonic timing tools

The 829108 used during timing belt replacement on Volkswagen 1.9/2.0 TDi PD SOHC, 4 cylinder diesel engines where there is restricted access to the tensioner pulley rollers due to the modified sub-frame mountings.

The 829109 Water pump puller tool set is equivalent to the OEM tools required to remove the water pump and water pump pulley on the VAG 2.5 diesel engines found in the VW T5 van and Touareg vehicles.

COMPONENTS

The 829115 is a comprehensive kit for removal and fitting of the camshaft drive belt on the popular 1.4, 1.6 and 2.0 VAG TDi CR

SONIC-EQUIPMENT.COM 352 04 829108
BELT
TOOL SET VAG TDI
VAG - AUDI - VOLKSWAGEN
- CAM
TENSIONER
- 1.9, 2.0
PETROL DIESEL BELT CHAIN PETROL DIESEL BELT COMPONENTS REF # OEM DESCRIPTION 1 4880197 T10264 6 mm ball end hex key 2 4880196 T10265 Tensioner pulley locking pin assy
[T10265] 3
T40098 Tensioner pulley locking pin assembly
PULLER KIT VAG DIESEL - 2.5 VAG - AUDI - VOLKSWAGEN
Ø2.5.
4880195
[T40098] 829109 - WATER PUMP
PETROL DIESEL BELT
REF # OEM DESCRIPTION 1 4880164 T10225 Special wrench VAG 2 4880163 T10221A Puller VAG T10221 3 4880166 T10222A Water pump tool 829115 - ENGINE TIMING TOOL SET - VAG 1,4/1,6/2,0I TDI CR VAG - AUDI - VOLKSWAGEN
diesel
found across the VAG ranges from 2012. The engines covered utilise a belt
transfer gears
head. Included in the kit are the pins required for timing the camshafts in
head, updated for 2018. PETROL DIESEL BELT CHAIN PETROL DIESEL BELT COMPONENTS REF # OEM DESCRIPTION
4880196 T10265 Tensioner pulley locking pin assy Ø2.5. [T10265]
4880197
6mm ball end hex key 3 4880413
8mm hex key 4 4880308 T10492 6mm locking pin 5 4880157 T100600A Tensioner pin 6 4880096 T10490 Locking pin (8mm dia. 70 long) 7 4880304 T10490 Machined plate for crankshaft positioning/holding tool 8 4880152 T10051 Pulley holding tool g.A vag 829117 - ENGINE TIMING KIT VAG/PORSCHE VAG - AUDI - VOLKSWAGEN
2001
6
FSi petrol
PETROL DIESEL BELT PETROL DIESEL BELT CHAIN COMPONENTS REF # OEM DESCRIPTION 1 4880360 T10068-A Camshaft alignment plate x 2 2 4880361 T10069 Crankshaft pulley holding tool
4880407 T40237 Crankshaft TDC locking screw
4880362 T10363 Fuel pump sprocket locking tool (with mechanical vacuum pump) 5 4880363 T10332 Fuel pump sprocket locking tool (no mechanical vacuum pump)
engines
with
in the
the
1
2
T10264
T10409
The 829117 timing tool kit provides the essential camshaft, crankshaft and petrol fuel pump alignment tools to allow replacement of the camshaft drive chain on the
to 2015
and 8 cylinder
engines found in the VAG and Porsche ranges.
3
4

829118 - FUEL PUMP DRIVE BELT KIT - VAG TDI 2,7/3,0

829118 has been developed specifically for the VAG 2.7L and 3.0L TDI diesel engines from 2007 that are equipped with a belt driven high pressure diesel pump. The kit contains all the components to allow the removal and replacement of the pump belt while maintaining the pump and engine timing. Component equivalent to OEM tools – T40135, 3242, T10320, T40058.

COMPONENTS

REF # OEM DESCRIPTION

1 4880364 T40135 High pressure pump locking tool

2 4880407 3242/T40237 Crankshaft tdc locking screw

3 4880365 T10320 Camshaft sprocket puller

4 4880156 T40058 Pulley bolt

829122 - VIBRATION DAMPER HOLDING TOOL - 1,8/2,0 TFSI/TSI

A comprehensive kit used for dismantling and assembling the vibration damper on the applications listed. The vibration damper fitted to the VAG 1.8 | 2.0 TFSi | TSi engines is held in place by a single central bolt. The pulley clamps the crankshaft timing chain sprocket against the end of the crankshaft, there is no traditional key way and the sprocket is not supported by the crankshaft. If the pulley bolt is removed without using the 829122 the crankshaft chain sprocket can easily separate from the crankshaft causing the timing position to be lost. The 829122 is an essential kit required to maintain the engine timing when removing the front vibration damper and should be used whenever the vibration damper is removed for instance when replacing the front crankshaft oil seal. N.B. for replacement of the camshaft drive chain additional tooling will be required – see Sonic Equipment 829066 Engine Timing Kit. The 829122 can also be used on earlier engines as the VW tool T10531 replaces the older tool T10368.

829123 - CRANKSHAFT HOLDING TOOLS WRENCH - VAG

The 829123 has been designed to hold the crankshaft pulley while loosening or tightening the crankshaft centre bolt. The tool has a short handle for easy storage with a 1/2”D square to allow use with a power bar to extend the

SONIC-EQUIPMENT.COM 353 04
VAG - AUDI - VOLKSWAGEN
PETROL DIESEL BELT CHAIN PETROL DIESEL BELT
VAG - AUDI - VOLKSWAGEN
PETROL DIESEL BELT PETROL DIESEL BELT CHAIN COMPONENTS REF # OEM DESCRIPTION 1 4880382 T10531/1 Vibration damper holding tool 2 4880383 T10531/3 Crankshaft sprocket holding tool adapter 3 4880384 T10531/4 & T10531/2 Crankshaft sprocket holding tool nut
VAG - AUDI - VOLKSWAGEN
PETROL DIESEL BELT PETRCHAINOL DIESEL COMPONENTS REF # OEM DESCRIPTION 1 829123 3415 & 3415/1 Crankshaft Holding Tools Wrench - VAG 829125
CAMSHAFT ALIGNMENT KIT VAG 1,4TFSI VAG - AUDI - VOLKSWAGEN
PETROL DIESEL BELT PETRCHAINOL DIESEL COMPONENTS REF # OEM DESCRIPTION 1 4880386 T10504 Camshaft positioning tool - EU registered design 2 4880388 T10504/1 Camshaft timing pin 3 4880199 T10320 Locking pin (T10340)
4880387 T10504/2 Camshaft timing check pin
effective handle length. Double sided tool for tightening and loosening the fixing bolts.
-
The 829125 timing tool kit provides the essential camshaft and crankshaft setting tools to allow replacement of the camshaft drive belt on the new (2012 onwards) VAG 1.4 TFSi petrol engines.
4

Sonic timing tools

829129 - ENGINE TIMING TOOL KIT - AUDI RS3, Q3, TT 2,5

The 829129 timing tool kit provides the essential camshaft, crankshaft setting tools and camshaft adjuster holding tool to allow replacement of the camshaft drive chains on the 2.5 TFSi 5 cylinder petrol engines found in the Audi TT and RS3 models.

1 4880160 T40070 Camshaft alignment tool VAG T40070

2 4880212 Bolts M8 X 50mm Din 931 M8 x 50 LG bolt DIN 931

3 4880274 T03006 Locking pin

4 4880400 T03003 Crankshaft pulley bolt adapter

5 4880161 T40069 TDC alignment pin vag T40069

6 4880399 T40079 Camshaft adjuster holding tool

829044 - ENGINE TIMING KIT FORD/VOLVO PETROL - 1.25, 1.4, 1.6, 1.8, 2.0

The 829044 kit has been developed specifically for late Ford 1.25lt, 1.4lt, 1.6lt, petrol engines. Coverage also includes some 1.8lt, 2.0lt & 2.3lt engines

COMPONENTS

REF # OEM DESCRIPTION

1 4880049 21-163, 303-574 Crankshaft locking pin - Ford (chem. black)

2 4880051 21-210, 303-507 Mazda screw

3 4880052 21-259, 303-748 Setting pin (chem. black)

4 4880274 303-1054 Locking pin

5 4880050 303-376B Camshaft alignment strap (chem. black)

829048 - ENGINE TIMING KIT FORD, VOLVO SCTI ECOBOOST PETROL - 1.6

The 829048 kit has been developed specifically for the 1.6 direct injection petrol engines fitted with variable valve timing and found in both the Ford and Volvo ranges. 829048 is a 4 piece kit consisting of the components required to lock the crankshaft and cam pulleys in their timed position to allow the removal and replacement of the camshaft timing belt. The 829048 also includes the crankshaft front pulley alignment tool.

COMPONENTS

REF # OEM DESCRIPTION

1 4880249 303-1054 Dia. 3.0mm tensioner pin

2 4880270 303-1550, 999-7431 Ford 1.6 ecoboost crankshaft pulley alignment Tool assembly

3 4880049 303-748, 999-7406 Crankshaft locking pin - Ford (chem. black)

4 4880069 303-1097, 999-7429 Camshaft sprocket locking tool 303-1097

829079 - ENGINE TIMING KIT VOLVO DIESEL 5 CYLINDER - 2.0, 2.4

The 829079 kit provides all the essential engine timing tools to set and lock the engine components of the popular Volvo 2,0lt and 2,4lt 5 cylinder diesel engines to allow camshaft belt replacement.

• Additional recommended tooling – Sonic recommends the use of Sonic 829089 crankshaft pulley holding tool when tightening or loosening the crankshaft pulley fixing bolt.

1 4880272 999-7005 Volvo crankshaft timing pin (999-7005)

2 4880271 999-7007 Volvo camshaft timing pin (999-7007)

3 4880096 999-7122 Locking pin (8mm dia. 70 long)

4 4880097 999-7169 Locking pin (8mm dia x 60)

5 4880068 999-7121 Timing pin

6 4880106 999-7120 Flywheel lock (zinc PL.)

7 4880061 999-7119 Flywheel locking tool-Ford

8 - 999-7119 Tooth block for reference 7

9 4880332 - M8 x 20 H.T. setscrew

10 4880047 - Washer M8 zinc plated

11 4880197 - 6mm ball end hex key

12 4880090 999-7233 Setting pin 5.0mm (5 x 50)

SONIC-EQUIPMENT.COM 354 04
VAG - AUDI - VOLKSWAGEN
PETROL DIESEL BELT CHAIN PETROL DIESEL BELT
REF
COMPONENTS
# OEM DESCRIPTION
VOLVO
PETROL DIESEL BELT PETRCHAINOL DIESEL
VOLVO
PETROL DIESEL BELT PETRCHAINOL DIESEL
VOLVO
PETROL DIESEL BELT CHAIN PETROL DIESEL BELT
COMPONENTS REF # OEM DESCRIPTION

829081 - ENGINE TIMING KIT VAG PETROL 3 CYLINDER - 1.0

The 829081 kit has been developed specifically for the 1.6 D Volvo drive/D2 engines. 829081 is a 3 piece kit consisting of the components required to lock the crankshaft, crank pulley and the cam pulley in their timed position to allow the removal and replacement of the camshaft timing belt. Whilst the 829081 has been specifically put together to cover the latest generation 1.6 diesel engines from Volvo, the kit includes components that are also relevant to earlier Ford engines.

COMPONENTS

REF # OEM DESCRIPTION

1 4880064 303-734, 999-7169 Flywheel locking pin (12 x 55)

2 4880096 303-735, 999-7122 Locking pin (8mm dia. 70 long)

3 4880090 303-732, 999-7121 Setting pin 5.0mm (5 x 50)

829082 - ENGINE TIMING KIT RENAULT, VOLVO PETROL TWIN CAM 16V/20V - 2.0, 2.4

The 829082 kit provides all the essential engine timing tools to set and lock the engine components of the popular Renault/Volvo 2,0lt and 2,5lt petrol engines to allow camshaft belt replacement. Also offers coverage for the 1.6, 1.8, 1.9 and 2.3 derivatives. See attached applications.

• Additional recommended tooling – Sonic recommends the use of Sonic 829089 crankshaft pulley holding tool when tightening or loosening the crankshaft pulley fixing bolt.

1 4880101 MOT 1340, 999 5451 Timing pin

2 4880105 MOT 1348 Tensioning tool (no sleeve)

3 4880107 MOT 1337, 999 5452 Camshaft setting tool

4 4880051

5

6

SONIC-EQUIPMENT.COM 355 04
VOLVO
PETROL DIESEL BELT CHAIN PETROL DIESEL BELT
VOLVO
PETROL DIESEL BELT PETRCHAINOL DIESEL
REF # OEM DESCRIPTION
COMPONENTS
303-507, 999 7152 Mazda screw
4880050 303-376B Camshaft alignment strap (chem. black)
Hex-head bolt for 3 829089 - CAMSHAFT SETTING TOOL VOLVO/FORD VOLVO
hold
front crankshaft
tightening
loosening the pulley
Volvo range of engines and the Ford 2.5 petrol engine found in the ST Focus etc. PETROL DIESEL COMPONENTS REF # OEM DESCRIPTION 1 829089 999 5433, 303-1179 Crankshaft holding tool Volvo/Ford 829099 - CAM BELT TENSIONER WRENCH VAG, VOLVO 32MM DISELS TDI - 2.5 VOLVO The 829099 is a 32mm multi hex wrench designed to fit the tensioner used on the VAG 2.5 TDi/SDi diesel engines. Equivalent to OEM number 3355. PETROL DIESEL BELT CHAIN PETROL DIESEL BELT COMPONENTS REF # OEM DESCRIPTION A 4880146 3355, 999 5649 , 999-5649 32mm. hex wrench tensioner pulley 829133 - ENGINE SERVICE LIT VOLVO/FORD 2,5 PETROL VOLVO Developed specifically for the 2.5 DOHC petrol engines used by Ford and Volvo. • The kit contains all of the components to allow the camshafts to be held in the correct position whilst setting the tappets and for replacement of the front crankshaft oil seal. PETROL DIESEL BELT PETRCHAINOL DIESEL COMPONENTS REF # OEM DESCRIPTION 1 2 3 4 5 7 6 8 1 4880411 303-1183,999 5765 Camshaft holding bracket - base 2 4880410 303-1183 Camshaft holding bracket - clamp 3 4880412 303-1183 Camshaft holding bracket - connecting piece 4 4880349 303-1183 M10 x 15lg caphead screw to ISO 4762 5 4880351 - M6 x 40 screws 6 4880214 - M6 x 50 caphead screw
4880408 303-1180 Crankshaft seal fitting drift
4880409 303-1180 Crankshaft seal fitting guide
-
The 829089 is designed to
the
pulley while
or
fixings across the
7
8

Sonic timing tools

829096 - DIESEL INJECTION PUMP TIMING KIT BOSCH/NIKI/NIPPON DENSO/LUCAS CAV

The 829096 tool kit is required when setting up Bosch EP/VE Rotary, Nikki, Nippon Denso, CAV roto-diesel injection pumps (top entry port) and the PSA XUD range of engines.

6 4880088 999 5382 Probe assembly

7 4880089 999 5382

8 4880124

829098 - SPROCKET HOLDING TOOL UNIVERSAL

The 829098 is a sprocket holding wrench used to tighten and loosen camshaft sprockets to prevent damage to timing pins and camshafts.

1 829098 6016T, 1 860 831 000, 1 860 885 000, 1 842 128 000, 15-030A, MOT 799, MP1-216, 3036, 5199, 1 822 146 000, 1 822 155 000, 205-072, U20002, 999 5645, 999-5199, 999-5705, 15-30-A, 15-030-A, MP 1-216, 999 5199, 999-5645, 999 5705, 9880, MB990767, UN205 072, 0132-AA

Sprocket holding tool - universal

SONIC-EQUIPMENT.COM 356 04
UNIVERSAL
PETROL DIESEL BELT COMPONENTS REF # OEM DESCRIPTION 6 1 2 8 9 10 4 3 11 5 7
Adaptor assy zinc
DTI extension item 3
Connector
1 4880083
2 4880084
3 4880085
(chem. black)
4 4880086 M14 adaptor assembly 5 4880087 Plunger
DTI/CAV mounting bracket
Adaptor
short
Dti extension item 2 10 4880126 Adaptor M10 short 11 4880123
3313 DTI -ORD. style c/w test cert.
M8
assy. 9 4880125
KM 571A,
UNIVERSAL
PETROL DIESEL
REF # OEM DESCRIPTION
DIESEL
COMPONENTS

Always a solution.

With our accurate Timing Tool database, which is based on Autodata, you will find the right tool to work with by searching for: OE number, Vehicle selection or Engine Code. You will find a wide range on the Sonic website or in our catalog.

SONIC-EQUIPMENT.COM 357 04 WORK EFFICIENT WORK WITH SONIC PETROL DIESEL BELT CHAIN
Sonic timing tools SONIC-EQUIPMENT.COM 358 WORK EFFICIENT WORK WITH SONIC
SONIC-EQUIPMENT.COM 359

Equipment

WORK EFFICIENT, WORK WITH SONIC.

SONIC-EQUIPMENT.COM 360
05

Jacks

PAGE 362

Spring compressors

PAGE 366

Reels

PAGE 370

Power lights

PAGE 372

Heatguns, endoscopes and measuring tools

PAGE 376

Accessories

PAGE 380

Booster spare parts

PAGE 384

Assortment

PAGE 386

SONIC-EQUIPMENT.COM 361 05
05 EQUIPMENT

Jacks

WORK EFFICIENT, WORK WITH SONIC.

SONIC-EQUIPMENT.COM 362
05

Aluminum jacks in an extra low version. The jacks are equipped with nylon wheels (2 swivel wheels) and a two-part control rod and a carrying handle. The jacks come with a pick-up dish with a rubber pad.

Steel jacks in an extra low version and therefore very suitable for light commercial vehicles. The jacks are equipped with nylon wheels (2 swivel wheels) and an extra foot control. Furthermore, the jacks have a two-part operating rod with handle and a protective foam cover. The jacks come with a pick-up dish with a rubber pad and an extra shell for small material.

SONIC-EQUIPMENT.COM 363 05
48032 - ALUMINUM JACK, 2 TON 48034 - LOW PROFILE JACK, 3 TON 48035 - LOW PROFILE
JACK,
1,5 TON, EXTRA LONG 48033 - LOW PROFILE JACK, 2 TON
- Maximum lifting capacity: 2000kg - Minimum lift height: 83mm - Maximum lift height: 470mm - Total length: 632mm - Diameter pick-up dish: 108mm - Maximum lifting capacity: 3000kg - Minimum lift height: 75mm - Maximum lift height: 505mm - Total length: 673mm - Diameter pick-up dish: 108mm - Maximum lifting capacity: 1500kg - Minimum lift height: 70mm - Maximum lift height: 610mm - Total length: 863mm - Diameter pick-up dish: 108mm - Maximum lifting capacity: 2000kg - Minimum lift height: 75mm - Maximum lift height: 505mm - Total length: 675mm - Diameter pick-up dish: 108mm - Maximum lifting capacity: 1500kg - Minimum lift height: 88mm - Maximum lift height: 360mm - Total length: 484mm - Diameter pick-up dish: 108mm
48031 - ALUMINUM JACK, 1,5 TON

Constructed from heavy gauge, welded square tubular steel. The 2 speed hydraulic pump with chromed ram rotates up to 135 degrees ensuring the optimal working position. Fine adjustment lowering handle with dead man’s control prevents from rapid uncontrolled lowering of load. Nylon casters avoid floor damage. The arm has 3 pre-set positions for lifting. Easy to maneuver in open or closed position due to unique supporting wheels at the front of the base plate.

Measurements folded:

Professional transmission jack, for mounting and dismounting gearboxes and transfer boxes. This 500kg version has nylon swivel wheels for easy maneuvering. The jack is equipped with a quick-lift foot control. Due to the reversible pick-up head, the jack is multifunctional.

Compact hydraulic bottle jacks for lifting different types of vehicles and other heavy objects.

Equipment SONIC-EQUIPMENT.COM 364 05 DESCRIPTION SPECIFICATIONS
L 1499 x W 90 x H 1405mm 5KG 1000KG
4800708 - TRANSMISSION JACK, 500KG
-
JACK 2 TON 4800702 - BOTTLE JACK 4 TON 4800703 - BOTTLE JACK 6 TON 4800704 - BOTTLE JACK 8 TON 4800705 - BOTTLE JACK 12 TON 4800706 - BOTTLE JACK 20 TON
4800701
BOTTLE
48025
4800707 - JACK STANDS, 3 TON
- SCISSOR JACK
- Lifting capacity 2 ton - Min. lift height 158mm - Max. lift height 308mm - Lifting capacity 4 ton - Min. lift height 180mm - Max. lift height 350mm - Lifting capacity 6 ton - Min. lift height 197mm - Max. lift height 382mm - Lifting capacity 8 ton - Min. lift height 205mm - Max. lift height 390mm - Lifting capacity 12 ton - Min. lift height 218mm - Max. lift height 400mm - Lifting capacity 20 ton - Min. lift height 244mm - Max. lift height 449mm Jack stands with a capacity of 3 ton for the safe support of various vehicles and other heavy objects. - Min. height 305mm - Max. height 450mm - Maximum capacity: 1 ton - Minimum height: 90mm - Maximum height 330mm POSITION CAPACITY MINIMUM HEIGHT MAXIMUM HEIGHT 1 1000KG 334mm 2120mm 2 750KG 214mm 2210mm 3 500KG 94mm 2300mm 4822331 - FOLDABLE ENGINE CRANE, 1 TON 71KG 1000KG transpeY440102 Capacity (kg) P1 1000 P2 750 P3 500 Spec. (mm) A 1405 B 90 C 1499 D 1009 E 125 H1min 334 H2min 214 H3min 94 H1max 2120 H2max 2210 H3max 2300 www.winntec.net In compliance with NEN-EN 1494:2001+A1:2008 Technical details subject to change without notice. All dimensions in millimeter mm).

This long life, light weight, high capacity cart allows the tire fitter to maneuver heavy wheel sets in the most ergonomic way with the help of its patented lifting system. The unique push-slide-secure automatic locking system eliminates the need for inefficient, wear sensitive, foot operated - or hand controlled jaws. The black colored foam filled tires are maintenance free and leave no traces on the work shop floor. The wheels run on industrial bearings. It comes in stainless steel (robotic welding) with high strength components and an exceptional 3 year warranty period. With just 17KG this lightweight cart handles wheels from 13”-20” up to 200KG.

# DESCRIPTION

4821511

4821512

4821513

4821514

4821515

4821516

4821517

Tie-raps 3,6x140; 100-pcs in bag (black)

Tie-raps 3,6x180; 100-pcs in bag (black)

Tie-raps 4,8x190; 100-pcs in bag (black)

Tie-raps 4,8x220; 100-pcs in bag (black)

Tie-raps 4,8x280; 100-pcs in bag (black)

Tie-raps 4,8x330; 100-pcs in bag (black)

Tie-raps 4,8x370; 100-pcs in bag (black)

SONIC-EQUIPMENT.COM 365 05 4822332 - TYRE CARRIER CADDY 35 0 1385 61 0 55 6 2. 0 B 56 0± 10 44 0± 10 73 0 +2 0 -1 0 75 0 +2 0 -1 0 A A B 1385 61 0 2. 0 B 56 0± 10 44 0± 10 73 0 +2 0 -1 0 75 0 +2 0 -1 0 A A B 1385 61 0 55 6 2. 0 B 56 0± 10 44 0± 10 73 0 +2 0 -1 0 75 0 +2 0 -1 0 A A B
4822507 - EXTENDER & PUSH PULL KIT FOR 4822332 48215... - TIE-RAPS

Spring compressors

WORK EFFICIENT, WORK WITH SONIC.

Equipment SONIC-EQUIPMENT.COM 366
05

Apart from being competitively priced, Sonic spring compressor is one of the most user-friendly coil spring compressors on the market, making dismantling of McPherson struts safer, easier and much faster compared to using a traditional tool. Sonic spring compressor is supplied with two sets of standard jaws which work efficiently with the springs on approximately 90% of all cars.

- Handles approximately 90% of all cars

- High quality coil spring compressor used by thousands of professionals

- Supplied with two sets of standard jaws

- Built-in protective accessory

- Large user-friendly adjusting handle - TÜV approved safety

BUILT-IN

ACCESSORY

- For safe and easy clamping in the bench vice

- Made from high-tech hard-wearing polyurethane

- Large user-friendly and ergonomic adjusting handle - For easier and faster manual positioning of the jaws - Ergonomic handle on the body makes the tool more comfortable to hold - Jaws secured with strong bolts - Equipped with a lip which locks the spring during compression improving safety - Powder coated surface to protect the springs - Can be used on the spindle - To avoid overload use max. 180Nm air wrench

- Max load 1800 kg

- Two sets of jaws: 2 pieces

ø80-120mm and 2 pieces

ø80-200mm

- Built-in safety pin

- Use air wrench max 180Nm

- Maximum distance: 364mm

- Minimum distance: 80mm

- Weight body: 5.2kg

- Weight included jaws: 10.7kg

SONIC-EQUIPMENT.COM 367 05
110001
AIR WRENCH
- SPRING COMPRESSOR, 1800KG
871192 - SPRING COMPRESSOR WITH EXTRA BRACKET 1800KG
AIR WRENCH SPECIFICATIONS ACCESSORIES
INNOVATIVE
PROTECTIVE
ERGONOMIC HANDLES TWO PAIRS OF STANDARD JAWS EASILY CHANGED
Jaws for special springs are available on request STRUT
1800KG
HANDWHEEL

120001 - SPRING COMPRESSOR, 1500KG

Apart from being competitively priced and makes the dismantling of mcpherson struts both safer and easier. It is very simple and easy to use the Sonic spring compressor and compared with using a traditional tool, makes the operation much faster giving a considerable saving in working hours. Sonic spring compressor is supplied with two

- Handles approximately 90% of all cars

- High quality coil spring compressor used by thousands of professionals

- Supplied with two sets of standard jaws

- Supplied with safety wire

- Tailored protective jaws for clamping the bench vice are additional accessoires - TÜV approved safety INNOVATIVE BUILT-IN PROTECTIVE

SONIC-EQUIPMENT.COM 368 05
Equipment
TWO PAIRS OF STANDARD JAWS EASILY CHANGED AIR WRENCH SPECIFICATIONS ACCESSORIES
-
secured with strong bolts - Equipped with a lip which locks the spring during compression improving safety - Powder coated surface to protect the springs - Can be used on the spindle - To avoid overload use max. 180Nm air wrench - Max load 1500kg - Two sets of jaws: 2 pieces ø80-145mm
2 pieces ø145-195mm - Built-in safety pin - Use air wrench max 180Nm - Maximum distance: 354mm - Minimum distance: 80mm - Weight body: 4.7kg - Weight included jaws: 10.2kg
AIR
STRUT
ACCESSORY
- For safe and easy clamping in the bench vice - Made from high-tech hardwearing polyurethane
Jaws
and
Jaws for special springs are available on request.
WRENCH JAWS

- Handles 95% of all cars with wishbone/multilink suspension rear and front

- Only tool on the market capable of handling among others VW Touran, Citroën C3, Skoda Octavia, and Peugeot 107

- Very compact design makes it possible to use the tool for cars with a small hole in the rear spring control arm down to Ø30 mm

- Unique safety key torque

- Only on the market with angled jaws

- Patent pending

- TÜV approved safety

INNOVATIVE ANGLED SHAPE OF THE JAWS UNIQUE SAFETY KEY TORQUE TWO PAIRS OF STANDARD JAWS EASILY CHANGED

- Only universal spring compressor on the market for wishbone/ multilink suspension with angled jaws

- Improves safety - Provides a high degree of functionality

- Only universal spring compressor on the market for wishbone/ multilink suspension with angled jaws

- Improves safety - Provides a high degree of functionality

- Functions as extension unit - Makes it easier, safer and more convenient to position the tool correctly inside the spring - Prevents overload - Improves safety

- Max load 1500kg

- Two sets of jaws: 2 small angled jaws ø90-120mm and 2 large angled jaws ø120-140mm for Mercedes and many other cars with wishbone/multilink suspension

- Use air wrench

- Maximum distance: 167mm

- Minimum distance: 70mm

- Weight body: 1.65kg

- Weight include jaws: 2.5kg

SONIC-EQUIPMENT.COM 369
SPECIFICATIONS ACCESSORIES
Large angled and large flat jaws are available on request JAW IN SPRING SPRING

Reels

WORK EFFICIENT, WORK WITH SONIC.

Made in Italy SONIC-EQUIPMENT.COM 370
05

SPECIFICATIONS

- Automatic rewinding spring

- Plastic outer casing

- Steel swiveling wall bracket

- Ratched stop device easily inspectable and removable by the end user

- 3 X 1,5mm² cable

- With coiled cable a maximum capacity of 800w

- With unrolled cable a maximum capacity of 200w

- CE approved

- TÜV approved

SPECIFICATIONS

- Automatic rewinding spring

- Plastic outer casing

- Steel swiveling wall bracket

- Ratched stop device easily inspectable and removable by the end user

- Fitting 3/8”

- Hose diameter 10mm

- Maximum working pressure 15 bar

- Glossy polyurethan hose

- CE approved

SPECIFICATIONS

- Automatic spring rewinding

- Plastic outer casing

- Steel swivelling wall bracket

- Ratched stop device easilly inspectable and removable by the end user

- Hose diameter 16mm

- 30A

- Ratched stop device easilly inspectable and removable by the end user

- CE approv

SPECIFICATIONS

- Automatic rewinding spring- Plastic outer casing

- Steel swiveling wall bracket

- Ratched stop device easily inspectable and removable by the end user

- Fitting 1/4”

- Hose diameter 8mm

- Maximum working pressure 10 bar

- Glossy polyurethan hose

- CE approved

SPECIFICATIONS

- Automatic rewinding spring

- Plastic outer casing

- Steel swiveling wall bracket

- Ratched stop device easily inspectable and removable by the end user

- Fitting 1/4”

- Hose diameter 8mm

- Maximum working pressure 15 bar

- Glossy polyurethan hose

- CE approved

SPECIFICATIONS

- Automatic rewinding spring

- Plastic outer casing

- Steel swiveling wall bracket

- Ratched stop device easily inspectable and removable by the end user

- Fitting 1/4”

- Hose diameter 8mm

- Maximum working pressure 15 bar

- Glossy polyurethan hose

- CE approved

SPECIFICATIONS

- Automatic rewinding spring

- Plastic outer casing

- Steel swiveling wall bracket

- Ratched stop device easily inspectable and removable by the end user

- Fitting 3/8”

- Hose diameter 10mm

- Maximum working pressure 15 bar

- Glossy polyurethan hose

- CE approved

This system makes it possible to slowly and uniformly wind cables and hoses without jerking or whiplash. It guarantees increased safety, better organization and higher productivity in the workplace. Zero damage to property and no personal injuries. This system is available and applicable for all cable- and air hose reels, also after installation and can be mount easily on the outside of the housing.

SONIC-EQUIPMENT.COM 371 05 4822401 - CABLE REEL 18 METER 4822402 - AIR HOSE REEL 9 MTR, Ø8MM, MAX. 10 BAR 4822403 - AIR HOSE REEL 12 MTR, Ø8MM, MAX. 15 BAR
4822404 - AIR HOSE REEL 8 MTR, Ø10MM, MAX. 15 BAR 4822411 - CABLE REEL WITH CHARGING CABLES 6 METER 4822405 - AIR HOSE REEL 15 MTR, Ø8MM, MAX. 15 BAR 4822406 - AIR HOSE REEL 14+1 MTR, Ø10MM, MAX. 15 BAR # MIN-MAX HEIGHT 4822407 Slow motion system for reel 4822401 4822408 Slow motion system for reel 4822402 4822409 Slow
SLOW
motion system for reel 4822405 4822410 Slow motion system for reel 4822403
MOTION SYSTEM:
POWER POWER AIR AIR AIR AIR AIR

Power lights

WORK EFFICIENT, WORK WITH SONIC.

Power Lights SONIC-EQUIPMENT.COM 372
05
SONIC-EQUIPMENT.COM 373 05 4820545 - POCKET LIGHT SMALL
- FOLDING LIGHT SMALL 4820549 - FOLDING LIGHT MEDIUM 4820546 - POCKET LIGHT MEDIUM 4820547 - MULTI FUNCTION INSPECTION LIGHT GENERAL INFORMATION
Power: 1.5W • Worklight • Retractable hook
Powerful magnet • Anti-slip rubber • Battery level indicator • Charging indicator GENERAL INFORMATION • Power: 2W • Worklight + Spotlight • Retractable hook • Anti-slip rubber • Powerful magnet on bottom and back surface • Battery level indicator • Charging indicator GENERAL INFORMATION • Power: 4W • Worklight + Spotlight • Retractable hook • Anti-slip rubber Powerful magnet on bottom and back surface • Battery level indicator • Charging indicator GENERAL INFORMATION • Power: 2.5W • Main worklight • Additional spotlight • Retractable hook • Powerful magnet • Anti-slip rubber • Battery level indicator • Charging indicator GENERAL INFORMATION • Power: 5W • Worklight + Spotlight • 2x retractable hook • Powerful magnet on bottom and back surface • Anti-slip rubber • Battery level indicator • Charging indicator USB C cable included. Recommended charger: Input: 5V DC 1A USB C cable included. Recommended charger: Input: 5V DC 1A USB C cable included. Recommended charger: Input: 5V DC 1A COB LED 75-150 Lumen Lux at 0,5m 3.7V, 1800mAh Max. 3hr 1hr li-ion IP54 120x61x28 -10° to +40° C 133g COB / High Power LED COB / High Power LED 125-250 Lumen 250-500 Lumen Lux at 0,5m Lux at 0,5m 3.7V, 1800mAh 3.65V, 4000mAh Max. 2hr Max. 2.5hr 1hr li-ion IP54 155x61x28 -10° to +40° C 165g 3hr li-ion IP54 257x58x45 -10° to +40° C 383g USB C cable included. Recommended charger: Input: 5V DC 1A USB C cable included. Recommended charger: Input: 5V DC 1A COB / High Power LED 100-200 Lumen Lux at 0,5m 3.65V, 2000mAh Max. 2hr 1hr li-ion IP30 135x55x32 -10° to +40° C 170g COB / High Power LED 200-400 Lumen Lux at 0,5m 3.65V, 2600mAh Max. 2hr 2hr li-ion IP30 165x55x32 -10° to +40° C 191g
4820548
SONIC-EQUIPMENT.COM 374 05 Pow USB C cable included. Recommended charger: Input: 5V DC 1A COB / High Power LED 0-600 LUMEN Lux at 0,5m 3.65V, 4000mAh Max. 2hr 3hr li-ion IP30 382x42x37 -10° to +40° C 256g
- SLIM WORK LIGHT - 2W COB LED - Setting 1: 125 lumen, setting 2: 250 lumen - Light intensity setting 1: 300 lux at 0.5m, setting 2: 500 lux at 0.5m - Operating time: setting 1: 6 hours; setting 2: 3 hours - Charging time: 4 hours - Weight: 140g - Protection IP65 GENERAL INFORMATION • Power: 6W • Worklight + Spotlight • Retractable hook • Powerful magnet on bottom and back surface • Anti-slip rubber • Battery level indicator • Charging indicator
Equipment
4820550
- NOVA COB LED LIGHT 30W
4821106
4821105

Heatguns, endoscopes and measuring tools

WORK

EFFICIENT, WORK WITH SONIC.

Equipment SONIC-EQUIPMENT.COM 376
05

High quality heat gun with extensive temperature and airflow control with 3 air flow rates. Incredibly strong 1800W-motor, which can be quickly reach a temperature of 550°C. The heat gun has an improved thermal safety: the gun will be switched off automatically when the motor overheats.

- Nominal power consumption: 1800Watt

- Power supply: 220-240V / 50-60Hz

- Length cable: 2m

Working temperature and airflow infinitely adjustable in 3 positions:

- Position 1: 50 °C / 250 l/min

- Position 2: 450 °C / 250 l/min

- Position 3: 550 °C / 500 l/min

- 4 mouthpieces included

832002 - HEAT GUN WITH DIGITAL DISPLAY 2000W

High quality heat gun with extensive temperature and airflow control. Two infinitely adjustable air flow rates and a digital display with memory function. Incredibly strong 2000W-motor, which can be quickly reach a temperature of 650°C. The heat gun has an improved thermal safety: the gun will be switched off automatically when the motor overheats.

- Nominal power consumption: 2000Watt

- Power supply: 220-240V/50-60Hz

- Length cable: 2m

Working temperature and airflow adjustable in 2 positions: 50 - 650°C

- Position 1: 50°C / airflow 250-500 l/min

- Position 2: 50-650°C / airflow 250-500 l/min

- 4 mouthpieces included

- Will be delivered in hard case

- 2 MEGAPIXELS WIFI ENDOSCOPE WITH LED OD 5.5MM

This endoscope is a must have for the modern service and diagnostic mechanics.

- This rechargeable endoscope can be connected with your smartphone or tablet through its own WiFi-connection

- Camera diameter is 5,5mm and is equipped with adjustable LED-lighting

- With the record button, video’s and or pictures can be made of inspected objects

- The camera can be supported with a mirror, which allows angle inspection

- The camera can also be equipped with a hook or magnet so objects can be removed directly from inspected areas

- Length of flexible camera probe is 3,5m

- The 2.0 megapixel camera is protected according to IP68

- 2.8-inch full-color high-definition IPS screen, you can view the test video in real time.

- Cameras have up to 1080P resolution for image capture and video recording.

- Including a micro SD card 32GB, to realize the file storage function.

- High sensitivity camera with clear image quality, suitable for different working environments.

- Over-the-horizon lens technology, the visible distance is 5-500cm.

- 6 adjustable LED light for easy use in dark environments.

- Camera lens IP68 waterproof.

47031 - INFRARED THERMOMETER

- Single dot laser

- LCD back light

- Automatic data retention

- Automatic shutdown

- Low battery indication

- 9V battery (included)

SONIC-EQUIPMENT.COM 377 05
832001 - HEAT GUN 1800W
8-PCS
820018
CAMERA
820022 - ENDOSCOPE WITH SCREEN AND 2 MEGAPIXEL, OD 5.5MM CAMERA
Temperature range -30°C ~ 330°C (-22° F~626° F) Accuracy ±2% or ±2°C Resolution 0.1 °C / 0.1 °F Display selection °C / °F Distance spot ratio 10: 1 Emissivity 0.95 Response time 500ms Wavelength 8~ 14μm Max power output <1 mw class II laser

FEATURES

- 3 1/2 digits LCD (max. reading 1999)

- Low battery indication

- Overload protection

- CAT III 300V

SPECIFICATIONS

- Voltage DC: 200m/2/20/200/300V

- Voltage AC: 200/300V

- Current DC: 2mA/20mA/200mA/10A

- Resistance: 200-2K-20K-200K-2000K

- Battery check: 1.5V,9V

- Continuity: No

- Diode check: Yes

- Power source: 9V battery (6F22) x1

- Dimensions: 138x70x28mm

- Weight: 141g (with battery)

FEATURES

- LCD display (max. reading 3999)

- 3/4 Backlight

- Data-hold function

47022 - VOLT CIRCUIT TESTER 6-24V

- Ideal for 6/12 and 24 volt systems on cars, motorcycles and commercial vehicles.

- Will test for live wires, broken wires, bad fuses, brake lights etc.

- The light in the handle will glow if wire is live.

SPECIFICATIONS

- Voltage DC: 400m/4/40/300V

- Voltage AC: 4/40/300V

- Current DC: 400μ/4000μ/40m/400m/4A/10A

Also available in display with 4 pieces

SPECIFICATIONS

- Checks interior and exterior lights

- Checks relays and power windows

- Test power windows and electric motors

- The tester has a protective cover over a needle probing point to enable you to pierce the insulated sheath and make contact with the copper conductor below to test for broken cables.

- Power supply function when testing shorted or overloaded circuits

- Finds open or disconnected parts

- Test the positive and negative voltage

- Tests continuity in switches, relays, diodes, & fuses, and wiring harnesses

- Polarity test cables and sockets

- Find short circuits and bad earths fast

SONIC-EQUIPMENT.COM 378 05
- DIGITAL MULTIMETER AC/DC
Equipment
47035
# L(MM) G PCS/BAG 47022 110 32 1
47036
- DIGITAL MULTIMETER 3 IN 1
SONIC-EQUIPMENT.COM 379 05 FEELER GAUGE 26-PCS # L(MM) G PCS/BAG 47002 92 86 10 FEELER GAUGE 20-PCS # L(MM) G PCS/BAG 47006 108 92 10 STAINLESS STEEL STRAIGHT RULER (30CM) # L(MM) G PCS/BAG 47004 330 50 10 STAINLESS SQUARE RULER 200X125MM # L(MM) G PCS/BAG 47032 200 60 10 STAINLESS STEEL PROTRACTOR # L(MM) G PCS/BAG 10 # L(MM) G PCS/BAG 47010 235 158 10 STAINLESS STEEL VERNIER CALIPER # L(MM) G PCS/BAG 47003 230 150 6 STAINLESS STEEL VERNIER CALIPER # L(MM) G PCS/BAG 47008 230 132 10 STAINLESS STEEL VERNIER CALIPER FOR DISC BRAKES # L1(MM) L2(MM) L(MM) G PCS/BAG 47024 175 50 54 226 1 TYRE PROFILE GAUGE # L(MM) W(MM) G PCS/BAG 47028 90 55 38 10 MEASURING TAPE 5M STOP GO FUNCTION Special designed stop button, offers more comfort and anti-fatigue # L(MM) G PCS/BAG 47013 81 112 10 MEASURING TAPE 20M # L(MM) G PCS/BAG 4822508 115 325 10

Accessories

WORK EFFICIENT, WORK WITH SONIC.

Equipment SONIC-EQUIPMENT.COM 380
05

- Nylon with nitrile coating

- The nitrile coating is fluids resistance

- For better fit and more comfort, only the gripping part is coated

- Breathable and an ergonomic fit due to partly coated finger tips

- EN388 and 3142 European standards

DESCRIPTION

Measurements: 475x235x30mm

- The issues arising of using magnetic wing covers can now be prevented by our new non slip wing cover

- The wing will protect the vehicle against scratches and damage

- Washable at 40°C

- Oil, grease, dirt and water repellent

- Meets national and international fire safety standards

- Size: 90 x 50 cm (wing cover)

- Length: 106,5cm

- Width: 64cm

- Weight: 380gr

- Length: 100cm

- Width: 48cm

- Height: 11,5cm

- Wheels also loose available; article number 48105W

SONIC-EQUIPMENT.COM 381 05
-
48217...
NITRILE COATED GLOVE
#
4821701 Nitrile coated glove size 8 (medium) 12-pcs in bag 4821702 Nitrile coated glove size 9 (large) 12-pcs in bag 4821703 Nitrile coated glove size 10 (extra large) 12-pcs in bag 48104
PROTECTOR
- FENDER
WITH SUCTION CUPS
47242 - PROFESSIONAL CAR SHEET COVER, MULTI USE - Nylon with elastic band
-
Wash on 40 degree
-
Black with white Sonic logo 47025 - KNEE PAD 47570 - NON SLIP WING & GRILL COVER 48105 - CREEPER 487002 - MAGNETIC TRAY 4”, 15CM 487001 - MAGNETIC TRAY 4”, 15CM

47571 - FENDER PROTECTION SYSTEM

- Protects the vulnerable areas of the bodywork (front grill, fender, headlights, car make badges, bumper, ...) during general service, inspection, mobile airco service,...

- Universal vehicle fit: one size fits all - from mini to estate

- Unique wheel access: allows maintenance on brakes, suspension

- Front lamp section with nylon mesh allows light testing without overheating

- Radiator section with nylon mesh allows stationary motor testing without the risk of overheating

- Unique removable protective fabric panel (washable) to prevent rubbing/damage when the mechanic leans onto the engine bay

- Comes in a convenient storage bag

- Backside made of 420D nylon, antislip. Attach with elastic loops.

Adjustable height 375-495mm

- Pan volume 50 ltr.

- Drain spout

- Dimensions approx. 800 x 600 x 100mm (L X W X H)

- Pan volume 20 ltr.

- Drain spout

- Loop for pulling and hanging up the pan

- Dimensions approx. 685 x 667 x 65mm (L X W X H)

SONIC-EQUIPMENT.COM 382 05
Equipment
48126 - PNEUMATIC ROLLER SEAT, 5 WHEELS 4821902 - MULTI PURPOSE PAN BLACK, 50 LITER 4821901 - MULTI PURPOSE PAN BLACK, 20 LITER

WORK EFFICIENT WORK WITH SONIC

Booster spare parts

WORK EFFICIENT, WORK WITH SONIC.

Equipment SONIC-EQUIPMENT.COM 384
05
SONIC-EQUIPMENT.COM 385 05 48112... # DESCRIPTION 4811205 Triple wrap cable Sonic micro (1,9m instead of 1,3m) 4811206 Triple wrap cable Sonic portable 12V (2,4m instead of 1,5m) 4811207 Double wrap cable Sonic portable 12/24 & 24V (2,3m instead of 1,35m) 4811208 # DESCRIPTION 4811208 Double wrap cable Sonic mobile (3,7m instead of 1,95m) 4811264 # DESCRIPTION 4811264 Battery 12V-440A (180x75x168mm) for mini 12V/440CA 48112... # DESCRIPTION 4811209 Battery 12V – 700A (180x75x168mm) For Sonic micro 12V/700CA 4811210 Battery 12V -800A (180x75x168mm) For Sonic micro 12V/800CA & Sonic 12/24V - 1600/800CA 48112... # DESCRIPTION 4811211 Battery 12V - 1200A (250x95x 158mm) For Sonic 12V/1200CA, 12/242400/1200CA & 24V/1200CA 4811212 Battery Cyclone 12V - 1600A (255x170x 195mm) For Sonic Mobile 12V/1600CA, 12V/3200CA, 12/24V - 3200/1600CA 4811213 # DESCRIPTION 4811213 Internal armoured fuse 300A to protect the battery for all Sonic booster batteries 700A - 800A1000A 48148-2 # DESCRIPTION 48148-2 Lithium battery 12V-1300A for hybrid booster 4811214 # DESCRIPTION 4811214 Internal armoured fuse 500A to protect the battery For all Sonic booster battery’s 1200A – 1600A 4811215 # DESCRIPTION 4811215 External fuse 16A for all Sonic boosters 4811216 # DESCRIPTION 4811216 External automatic charger for booster 12V units: 12V/700CA. 4811217 # DESCRIPTION 4811217 External automatic charger for Sonic booster 12/800ca and 12v/1200CA 4811218 # DESCRIPTION 4811218 External automatic charger for Sonic boosters 12/24v1600/800ca and 2400/1200ca 4811219 # DESCRIPTION 4811219 Battery charger for Sonic booster 12/24V 3200-1600CA 7A 4811220 # DESCRIPTION 4811220 Male to male cord DC/DC for all Sonic booster 12V with 2 male cigarette lighter plugs to charge the booster on board of a vehicle 12V (engine running) 4811221 # DESCRIPTION 4811221 Male to male cord DC/DC for all Sonic Booster 12/24V With 4 male poles plug & cigarette lighter plug to charge the booster on board of a vehicle 12V (engine running) 48148-1 # DESCRIPTION 48148-1 Cable with cigarette lighter plug male 12V 48112... # DESCRIPTION 4811222 Female cigarette lighter plug (for 12V) 4811223 Male cigarette lighter plug (for 12V) 48112... # DESCRIPTION 4811224 Female charging plug 4 poles without wires for portable Sonic Booster 12/24V 4811225 Female charging plug 4 poles with wires for portable Sonic Booster 12/24V 48112... # DESCRIPTION 4811226 Female charging plug 4 poles without wires for mobile Sonic boosters 12/24V 4811227 Female charging plug 4 poles with wires for mobile Sonic boosters 12/24V 4811228 # DESCRIPTION 4811228 Male charging jack 4 poles for all Sonic boosters 12/24V 48112... # DESCRIPTION 4811229 Female charging plug 2 poles without wires for all Sonic boosters 24V 4811230 Male charging jack 2 poles for all Sonic boosters 24V 48112... # DESCRIPTION 4811231 Clamp red F600 for Sonic micro 12V/700A 4811232 Clamp blue F600 for Sonic micro 12V/700A 48112... # DESCRIPTION 4811233 Clamp red 650A, bronze, fully insulated + copper tress 4811234 Clamp blue 650A, bronze, fully insulated + copper tress 4811235 Cable (25mm²) + clamp red 650A for Sonic micro 12V/800A 4811236 Cable (25mm²) + clamp blue 650A for Sonic micro 12V/800A 48112... # DESCRIPTION 4811237 Cable (50mm²) + clamp red 850A for Sonic 12/24V - 2400/1200CA 4811238 Cable (50mm²) + clamp blue 850A for Sonic 12/24V - 2400/1200CA 4811239 Cable (35mm²) + clamp red 850A for Sonic 12v & 12/24V - 1600/800CA 4811240 Cable (35mm²) + clamp blue 850A for Sonic 12v & 12/24V - 1600/800CA 4811241 # DESCRIPTION 4811241 Voltmeter 8 to 16 volt for all Sonic boosters 12V & 12/24V 4811242 # DESCRIPTION 4811242 Push button for all Sonic boosters 4811243 # DESCRIPTION 4811243 Buzzer for all Sonic boosters with reverse polarity signal 4811244 # DESCRIPTION 4811244 S. connector yellow (SB175) 4811245 # DESCRIPTION 4811245 Handle for S. connector

Assortment

WORK EFFICIENT, WORK WITH SONIC.

Equipment SONIC-EQUIPMENT.COM 386
05

- O-RING ASSORTMENT,

20x Ø3 x 1mm Ø4 x 1mm Ø4.5 x 2mm Ø5 x 2mm Ø6 x 2mm Ø6 x 2.5mm

SONIC-EQUIPMENT.COM 387 05
30x 1.5mm 50x 6.0mm 20x 15mm 30x 3.0mm 50x 10mm 20x 19mm 40x 5.0mm 40x 12mm 20x 22mm
4822301 - E-CIRCLIP ASSORTMENT, 300-PCS
30x Ø2.0 x 40mm 16x Ø7.0 x 80mm 25x Ø2.5 x 40mm 8x Ø10.0 x 80mm 20x Ø3.5 x 40mm 8x Ø13.0 x 85mm 20x Ø5.0 x 40mm
4822302 - SHRINKING HOSE ASSORTMENT, 127-PCS
150-PCS 30x 2.0 x 33mm 25x 2.8 x 41mm 25x 2.0 x 40mm 20x 3.6 x 44mm 42x 2.4 x 30mm 8x 4.0 x 75mm
SEAL ASSORTMENT, 141-PCS Rubber: 5x: Ø8 x Ø14 x 4, Ø8.5 x Ø18 x 4, Ø9.5 x Ø17.5 x 4, Ø10.5 x Ø14 x 4mm 10x: Ø4 x Ø16 x 4, Ø4 x Ø17 x 4, Ø12 x Ø24 x 2, Ø15 x Ø24 x 3mm Fibre: 5x: Ø27 x Ø33 x 1.2mm 10x: Ø10 x Ø13.5 x 1.8, Ø11.5 x Ø17.5 x 1.2, Ø17 x Ø21 x 1.2mm Ø17 x Ø24 x 1.2, Ø20
EVA:
10x:
4822303
- W-CLIP ASSORTMENT,
4822304 -
x Ø25 x 1.2mm
3x: Ø27 x Ø38 x 2, Ø30 x Ø39 x 2mm
Ø12 x Ø17.5 x 2, Ø17 x Ø24 x 2mm
Ø6
Ø7
5x
Ø18 x 4mm Ø20 x 2mm Ø22 x 2mm
4822305
225-PCS. SUITABLE FOR AIRCO
x 3mm
x 2mm Ø8 x 2mm
Ø9 x 2mm Ø10 x 2mm Ø12 x 3mm Ø13 x 3mm Ø14 x 2.5mm Ø17 x 2.5mm
ASSORTMENT, 300-PCS 20x Ø3mm 10x Ø4mm 15x Ø5mm 25x Ø6mm 15x Ø8mm 20x Ø9mm 15x Ø11mm 15x Ø12mm 25x Ø13mm 15x Ø14mm 20x Ø15mm 25x Ø19mm 20x Ø22mm 15x Ø20mm 15x Ø25mm 15x Ø26mm 10x Ø28mm 5x Ø32mm 4822307 - TENSILE AND COMPRESSION SPRINGS ASSORTMENT, 200-PCS Compression springs: 5.5 x 17.5mm 5.5 x 38.0mm 6.5 x 10.0mm 7.0 x 12.5mm 7.0 x 19.0mm 9.0 x 35.0mm 9.5 x 16.0mm 9.5 x 19.0mm Tensile springs: 4.0 x 79.5mm 4.5 x 44.5mm 5.0 x 20.5mm 5.5 x 25.5mm 6.5 x 22.0mm 7.0 x 51.0mm 7.0 x 38.0mm 8.0 x 28.5mm 8.0 x 31.5mm 8.0 x 44.5mm 8.5 x 36.5mm 8.5 x 47mm
4822306
-
SNAP RING
150x 1.6 x 25mm 75x 3.2 x 32mm 150x 2.5 x 25mm 50x 3.2 x 50mm 100x 2.4 x 38mm 30x 4.0 x 64mm
4822308 - PIN ASSORTMENT, 555-PCS
20x Ø3mm 10x Ø4mm 15x Ø5mm 25x Ø6mm 15x Ø8mm 20x Ø9mm 15x Ø11mm 15x Ø12mm 25x Ø13mm 15x Ø14mm 20x Ø15mm 25x Ø19mm 20x Ø22mm 15x Ø20mm 15x Ø25mm 15x Ø26mm 10x Ø28mm 5x Ø32mm
4822309 - CIRCLIP ASSORTMENT, 300-PCS
1mm thick 10x 5 x 10mm 6 x 10mm 7 x 10mm 8 x 12mm 10 x 16mm 1.5mm thick 10x 10.5 x 17mm 11 x 17mm 12 x 10mm 12.5 x 20mm 14 x 18mm 14 x 20mm 2mm thick 10x 15 x 20mm 16 x 22mm 16.5 x 24mm 17.5 x 24mm
4822310 - SEALING RING ASSORTMENT, 150-PCS
300x Ø3mm Ø4mm Ø5mm 150x Ø6mm 100x Ø8mm 50x Ø10mm
4822311 - SYNCHRONISER RINGS ASSORTMENT, 1200-PCS
150x Ø2x20mm 80x Ø3x30mm 30x Ø3x40mm 40x Ø4x30mm 20x Ø4x40mm 30x Ø4x50mm 4x Ø7x70mm 30x Ø5x40mm 5x Ø5x50mm 5x Ø5x60mm 20x Ø6x40mm 5x Ø6x50mm 4x Ø6x60mm 8x Ø8x40mm 4x Ø8x50mm 4x Ø8x60mm 3x Ø8x80mm 6x Ø10x40mm 2x Ø10x80mm
4822312 - HOLLOW PIN/ASSORTMENT OF SYNCHRONISER RINGS, 450-PCS
Equipment SONIC-EQUIPMENT.COM 388 05 4822313 - HOSE CLAMP SET, 26-PCS 8x Ø16mm 2x Ø28mm 6x Ø22mm 2x Ø35mm 4x Ø25mm 4x Ø40mm
- NUT ASSORTMENT, 146-PCS 35x M4 X P0.7 25x M8 X P1.25 35x M5 X P0.8 16x M10 X P1.5 25x M6 X P1.0 10x M12 X P1.75
- BODY BOLTS AND SPEED NUT ASSORTMENT, 170-PCS Cross-slot Screws: 40x M3x8mm 20x M4x16mm 15x M5x12mm 10x M6x20mm Speed Nuts: 20x M3 20x M3 (with notch) 20x M4 15x M5 10x M6
4822314
4822315
- CROCODILE CLIP ASSORTMENT, 28-PCS 10x 50mm (mini) 6x 65mm 6x 55mm 2x 70mm 2x 60mm 2x 80mm
- AUTOMOTIVE FUSE ASSORTMENT, 121-PCS 20x 5A 20x 10A 20X 15A 20x 20A 20x 25A 20X 30A 1x Fuse removal tool 4822318 - QUICK-ACTION CONNECTOR ASSORTMENT, 50-PCS 25x Connectors for 0.5-1.5mm² cable cross-section 25x Connectors for 1.5-2.5mm² cable cross-section
- BLIND RIVET ASSORTMENT, 400-PCS 100x Ø2.4x37mm 100x Ø4.0x37mm 100x Ø3.2x37mm 100x Ø4.8x37mm
4822316
4822317
4822319
ASSORTMENT, 110-PCS 60x M6 x P1.0 10x M8 x P1.25 10x M10 x P1.5 5x M6 x P1.0/45° 5x M8 x P1.25/45° 5x M10 x P1.5/45° 5x M6 x P1.0/90° 5x M8 x P1.25/90° 5x M10 x P1.5/90°
4822320 - GREASE NIPPLE
40x 1/4” (6.3mm) 20x 1/2” (12.5mm) 40x 5/16” (7.9mm) 5x 5/8” (15.9mm) 40x 3/8” (9.5mm) 5x 7/8” (22.2mm) 25x 7/16” (11.1mm) 5x 1” (25.4mm)
4822321 - RUBBER GROMMET ASSORTMENT, 180-PCS
20x Ø3 x 1mm Ø4 x 1mm Ø4.5 x 2mm Ø5 x 2mm Ø6 x 2mm Ø6 x 2.5mm Ø6 x 3mm Ø7 x 2mm Ø8 x 2mm 5x Ø9 x 2mm Ø10 x 2mm Ø12 x 3mm Ø13 x 3mm Ø14 x 2.5mm Ø17 x 2.5mm Ø18 x 4mm Ø20 x 2mm Ø22 x 2mm
4822322 - O-RING ASSORTIMENT, 225-PCS
Ø3 x 1.5,mm Ø4.4 x 2mm Ø5 x 2mm Ø7 x 1.5mm Ø10 x 1.5mm Ø10 x 2.5mm Ø11 x 2.5mm Ø13 x 1.5mm Ø13 x 2.5mm Ø14 x 2.5mm Ø16 x 2.5mm Ø18 x 2.5mm Ø18 x 3.5mm Ø19 x 2.5mm Ø20 x 3.5mm Ø21 x 2.5mm Ø22 x 2.5mm Ø22 x 3.5mm Ø23.5 x 3.5mm Ø25 x 3.5mm Ø26.5 x 3.5mm Ø28 x 3.5mm Ø30 x 3.5mm Ø31 x 3.5mm Ø33 x 3.5mm Ø34.5 x 3.5mm Ø36 x 3.5mm Ø38 x 3.5mm Ø41 x 3.5mm Ø44 x 3.5mm Ø47 x 3.5mm Ø50 x 3.5mm
4822323 - O-RING ASSORTMENT, 419-PCS
10x M4 x 12mml 10x M4 x 20mml 10x M5 x 16mml 10x M5 x 25mml 10x M6 x 20mml 10x M6 x 30mml 5x M8 x 25mml 5x M8 x 40mml 5x M10 x 40mml 5x M10 x 16mml 20x M4 x P0.7 20x M5 x P0.8 20x M6 x P1.0 10x M8 x P1.25 10x M10 x P1.5 20x Ø4 20x Ø5 20x Ø6 10x Ø8 10x Ø10
4822324 - BOLT, NUT & WASHER ASSORTMENT, 240-PCS

-

4822328 - CLEVIS PIN ASSORTMENT, 60-PCS

AUTO

-

4822330 -

3mm hole: Ø5x25, Ø6x25mm Ø6x30, Ø6x40mm Ø6x45, Ø6x50mm Ø6x60, Ø6x65mm Ø8x25, Ø8x30mm Ø8x40, Ø8x45mm Ø8x50, Ø8x60mm Ø8x65, Ø8x70mm

120-PCS 20x 5A 20x 10A 20x

WASHER ASSORTMENT, 300-PCS Ø5 x Ø9 x 1.0mm Ø8 x Ø14 x 1.5mm Ø12 x Ø16 x 1.0mm Ø14 x Ø20 x 1.5mm Ø18 x Ø24 x 1.5mm Ø22 x Ø29 x 1.5mm Ø6 x Ø10 x 1.0mm Ø9 x Ø14

4mm hole: Ø10x25mm Ø10x40mm Ø10x50mm Ø12x40mm Ø12x50mm

SONIC-EQUIPMENT.COM 389 05
20x
20x
20x
120-PCS 20x
20x
20x 20A 20x 25A
4822325 - MINI AUTO FUSE ASSORTMENT, 120-PCS
5A 20x 10A
15A 20x 20A
25A 20x 30A 4822326 - AUTOMOTIVE FUSE ASSORTMENT,
5A 20x 10A
15A
20x 30A
50x #6 C-type, #6 star type, #6 Circle star type, #8 C-type, #8 star type, #8 Circle star type, #10 C-type, #10 star type, #10 Circle star type 40x 6.4mm C-type, 6.4mm star type, 6.4mm Circle star type 30x 8.0mm C-type, 8.0mm star type, 8.0mm Circle star type 20x 9.5mm C-type, 9.5mm star type, 9.5mm Circle star type
4822327
WASHER ASSORTMENT, 720-PCS
15A 20x 20A 20x 25A 20x 30A
4822329 GLASS FUSE ASSORTMENT,
x 1.0mm Ø12 x Ø16 x 1.5mm Ø14 x Ø20 x 2.0mm Ø20
x 1.5mm
1.5mm
x 1.0mm Ø10 x Ø14 x 1.0mm Ø12 x Ø18 x 1.5mm Ø16 x Ø20 x 1.5mm Ø20 x Ø24.5 x 0.8mm Ø24 x Ø32 x 2.0mm Ø8 x Ø12 x 1.0mm Ø10 x Ø14 x 1.5mm Ø13 x Ø18 x 1.0mm Ø16 x Ø22 x 1.5mm Ø19 x Ø26 x 2.0mm Ø26 x Ø34 x 2.0mm Ø8 x Ø14 x 1.0mm Ø10 x Ø16 x 1.0mm Ø14
Ø18 x 1.5mm Ø18
Ø22 x 1.5mm Ø22 x Ø27 x 1.0mm Ø28 x Ø36 x 2.0mm
4x RV 5.5-5 & 5.5-8 & 5.5-10 Yellow 5x MDD 5.5-250 & FDD 5.5-250 Yellow 12x BV 5.5-5 Yellow 10x RV 2-4L & 2-5L & 2-6 Blue 10x MDD 2-250 & FDD 2-250 Blue 10x MBB 2 & FBB 2 Blue 10x SVL 2-4 Blue 4x Scotchlok Blue 12x BV 2 Blue 8x RVS 1.25-4 Red 4x Scotchlok Red 18x BV 1.25 Red
ALUMINIUM
x Ø24.5
Ø24 x Ø29 x
Ø6 x Ø12
x
x
4822333 - INSULATED CRIMPTERMINAL ASSORTMENT, 160-PCS
118-PCS 3x maxi 20A, 3x maxi 30A, 3x maxi 40A, 3x maxi 50A 3x maxi 60A, 3x maxi 80A 5x mini 2A 5x mini 3A 5x mini 4A 5x mini 5A, 5x mini 7.5A 5x mini 10A 5x mini 15A 5x mini 20A 5x mini 5x mini 30A 5x ATO 3A 5x ATO 5A 5x ATO 7.5A 5x ATO 10A 10x ATO 15A 10x ATO 20A 5x ATO 25A 5x ATO 30A
4822334 - MASTER PLUG-IN STYLE FUSE ASSORTMENT,
10x 3A 10x 5A 10x 7.5A 10x 10A 10x 15A 10x 20A 10x 25A 10x 30A
4822335 - AUTO FUSE ASSORTMENT, 80-PCS
10x 2A 5x 3A 5x 4A 10x 5A 5x 7.5A 10x 10A 10x 15A 10x 20A 5x 25A 5x 30A
4822336 - MINI AUTO FUSE ASSORTMENT, 75-PCS
10x 1/2” fiber 10x 1/2” fiber 10x 1/2” nylon 10x 14mm nylon 5x 12mm nylon 5x 14mm fiber 5x 18mm fiber 5x 20mm fiber
4822337 - DRAIN PLUG GASKET ASSORTMENT, 60-PCS
5x 5A 10x 10A 20x 15A 20x 20A 20x 25A 20x 30A
4822338 - GLASS AUTO FUSE ASSORTMEN,T 95-PCS

Promotional items

SONIC-EQUIPMENT.COM 392
06
WORK EFFICIENT, WORK WITH SONIC.

06 PROMOTIONAL ITEMS

Displays PAGE 395

Clothing, gadgets and event materials PAGE 401

SONIC-EQUIPMENT.COM 393 06

WORK EFFICIENT WORK WITH SONIC

709404 - DISPLAY 1 MTR. WITH 94 ITEMS (TOOLS ONLY)

100904 1 Bit socket set 1/4”, hex on rail, 9-pcs

101001 1 Socket set 1/4”, on rail, 10-pcs

101002 1 Socket set 1/4”, TX on rail, 10-pcs

101004 1 Bit socket set 1/4”, TX on rail, 10-pcs

- 104602 1 Combination set 1/4”, 46-pcs BMCS

1310…2 3 Screwdriver PH, PH.0, PH.1, PH.2

13303…65 3 Screwdriver slotted, 3, 4, 6,5mm

201001 1 Socket set 3/8”, on rail, 10-pcs

201002 1 Socket set 3/8”, TX on rail, 10-pcs

201003 1 Bit socket set 3/8”, hex on rail, 10-pcs

201005 1 Bit socket set 3/8”, TX on rail, 10-pcs

203703 1 Socket set & wrench set 3/8”, 37-pcs BMCS

206102 1 Socket & bit socket set 3/8”, 61-pcs BMCS

300902 1 Socket set 1/2”, TX-E on rail, 9-pcs

301003 1 Bit socket set 1/2”, hex on rail, 10-pcs

301005 1 Bit socket set 1/2”, TX on rail, 10-pcs

301201 1 Socket on rail, 1/2”, 12 pt.cs

- 309402 1 Socket set 1/4” & 1/2”, 94-pcs BMCS

3310715…22 5 Wheel socket 1/2”, 6 pt. 15, 17, 19, 21, 22mm

3358513…22 9 Deep impact socket 1/2”, 6 pt. 13, 17, 19, 21, 22, 24, 27, 30, 32mm

3397824 1 Deep impact socket 1/2”, 12 pt. 24mm

- 41506…24 16 Combination wrench 6, 7, 8, 9, 10, 11, 12, 13, 14, 15, 16, 17, 19, 21, 22, 24mm

- 4170208…19 5 Reversible ratcheting wrench 12 pt. 8, 10, 13, 17, 19mm

- 42301250 1 Adjustable wrench 10” - 4311175 1 Combination pliers 7”

- 4321200 1 Long nose pliers 8”

- 4331200 1 Bent long nose pliers 8” - 4341175 1 Diagonal pliers 7” - 4351250 1 Waterpump pliers 10”

- 4380250 1 Locking pliers 10”

- 4611400 1 Machinist hammer with ash handle, 512gr

- 4620400 1 Install hammer soft/hard, with ash handle, 608gr

- 4631000 1 Stoning hammer with ash handle, 1106gr - 46808 1 Utility knife (incl. 10 blades) - 47013 1 Measuring tape 5 meter

47022 1 Volt circuit tester 6-24V

- 47537 1 Flexible hex nut driver, 7mm

- 47903 1 Scraper

600618 1 Screwdriver set in colored box, 6-pcs

600619 1 Screwdriver set TX in colored box, 6-pcs

600620 1 Screwdriver set TX-H in colored box, 6-pcs

600902 1 TX key set extra long, 9-pcs

601008 1 Hex ball key set extra long, 10-pcs

- 601702 1 Combination wrench set in pouch, 17-pcs

multi 602006 1 Screwdriver set, 20-pcs

- 7110301 1 Disc ratchet 1/4”, 72 teeth

-

7110302 1 Disc ratchet 3/8”, 72 teeth

- 7120901 1 Ratchet 1/4”, 45 teeth

- 7120902 1 Ratchet 3/8”, 45 teeth

- 7120903 1 Ratchet 1/2”, 45 teeth

7133250 1 Sliding T-handle 1/2” - 7141050…150 2 Extension 1/4”, 50mml, 150mml - 7142075…150 2 Extension 3/8”, 75mml, 150mml - 7143125…250 2 Extension 1/2”, 125mml, 250mml - 71511 1 Universal joint 1/4” - 71521 1 Universal joint 3/8” - 71531 1 Universal joint 1/2” 7172216…21 3 Spark plug 3/8” clip socket 16, 18, 21mm - 7232200 1 Swivel handle 3/8”, 200mml FOR

SONIC-EQUIPMENT.COM 395 06
TOOLS
# CONTENTS
-
-
-
SEE OUR WEBSITE
A COMPLETE INVENTORY ORDER LIST

100904 1 Bit socket set 1/4”, hex on rail, 9-pcs 101001 1 Socket set 1/4”, on rail, 10-pcs 101002 1 Socket set 1/4”, TX on rail, 10-pcs

driver 8, 10mm

Screwdriver PH, PH.0, PH.1, PH.2, PH.3 13303…08

13610…40

Screwdriver slotted, 3, 3.5, 4, 5, 5.5, 6.5, 8mm

Screwdriver TX, T10, T15, T20, T25, T27, T30, T40

201003 1 Bit socket set 3/8”, hex on rail, 10-pcs

201005 1 Bit socket set 3/8”, TX on rail, 10-pcs

TOOLS # CONTENTS

203703 1 Socket & wrench set 3/8”, 37-pcs BMCS

206102 1 Socket & bit socket set 3/8”, 61-pcs BMCS

21504…13 10 Flank socket 1/4”, 6 pt. 4, 5, 6, 7, 8, 9, 10, 11, 12, 13mm

2155004…13 11 Flank deep socket 1/4”, 6 pt. 4, 5, 5.5, 6, 7, 8, 9, 10, 11, 12, 13mm

21555 1 Flank socket 1/4”, 6 pt. 5.5mm

21608…10 2 Socket 1/4”, TX E8, E10

2165008…10 2 Deep socket 1/4”, TX E8, E10

22507…22 14 Flank socket 3/8”, 6 pt. 7, 8, 10, 11, 12, 13, 14, 15, 16, 17, 18, 19, 21, 22mm

2256307…19 12 Flank deep socket 3/8”, 6 pt. 7, 8, 10, 11, 12, 13, 14, 15, 16, 17, 18, 19mm

23510…27 16 Flank socket 1/2”, 6 pt. 10, 11, 12, 13, 14, 15, 16, 17, 18, 19, 20, 21, 22, 23, 24, 27mm

2357710…30 13 Flank deep socket 1/2”, 6 pt. 10, 12, 13, 14, 15, 16, 17, 18, 19, 21, 22, 24, 30mm

300817 1 Bit socket set 1/2”, TX 8-pcs BMCS

300818 1 Bit socket set 1/2”, TX 8-pcs BMCS

300902 1 Socket set 1/2”, TX on rail, 9-pcs

SONIC-EQUIPMENT.COM 396 06 724704
DISPLAY
247 ITEMS
ONLY) TOOLS # CONTENTS
Promotional items
-
2 MTR. WITH
(TOOLS
101004 1
socket
- 104602 1
BMCS - 12425008…10 2 Hex
Bit
set 1/4”, TX on rail, 10-pcs
Combination set 1/4”, 46-pcs
nut
1310…3 4
6
7
2
201001
14423008…10
Hex nut driver T-handle 8, 10mm
1 Socket set 3/8”, on rail, 10-pcs 201002 1 Socket set 3/8”, TX on rail, 10-pcs
-
-
-
-

301003 1 Bit socket set 1/2”, hex on rail, 10-pcs

301005 1 Bit socket set 1/2”, TX on rail, 10-pcs

301201 1 Socket set 1/2” 12 pt. on rail, 12pcs

- 304201 1 Bit set 10mml 42-pcs

- 309402 1 Socket set in suitcase 94-pcs BMCS

- 309901 1 Socket set in suitcase 99-pcs BMCS

3310715…22 5 Wheel socket 1/2”, 15, 17, 19, 21, 22mm

3358513…32 10 Deep impact socket 1/2”, 6 pt. 13, 15, 17, 19, 21, 22, 24, 27, 30, 32mm

3397824…27 2 Deep impact socket 1/2”, 12 pt. 24, 27mm

3398534…36 3 Deep impact socket 1/2” 12 pt. 34, 35, 36mm

- 41506…32 21 Combination wrench 6, 7, 8, 9, 10, 11, 12, 13, 14, 15, 16, 17, 18, 19, 20, 21, 22, 24, 27, 30, 32mm

- 4170208…19 11 Reversible ratcheting wrench 12 pt. 8, 10, 11, 12, 13, 14, 15, 16, 17, 18, 19mm

- 4311175 1 Combination pliers 7”

4321200 1 Long nose pliers 8”

4331200 1 Bent long nose pliers 8”

- 4341175 1 Diagonal pliers 7”

- 4351250 1 Waterpump pliers 10”

- 4380250 1 Locking pliers 10”

4450300 1 Oil filter pliers 12”

4471250 1 Wire stripper 10”

- 45110141 1 Grip chisel 140mml 10

- 45112160 1 Grip chisel 160mml 12

- 45118190 1 Grip chisel 190mml 18

- 45124220 1 Grip chisel 220mml 24

- 4527190 1 Grip cape chisel 190mml 7” - 4533150 1 Grip pin punch 150mml 3” - 4534180 1 Grip pin punch 180mml 4”

- 4535200 1 Grip pin punch 200mml 5”

- 4536210 1 Grip pin punch 210mml 6”

- 4564185 1 Grip center punch 185mml 4”

4611400 1 Machinist hammer with ash handle, 512gr - 4620400 1 Install hammer soft/hard, with ash handle, 608gr

- 4631000 1 Stoning hammer with ash handle, 1106gr

- 46807 1 Utility knife (incl. 3 blades)

- 47002 1 Feeler gauge 26-pcs

- 47013 1 Measuring tape 5 meter

- 47022 1 Volt circuit tester 6-24V

- 47537 1 Flexible hex nut driver, 7mm - 47902 1 Door upholstery panel remover 110mml

- 47903 1 Scraper

- 4820110 1 Telescopic magnet

- 4820547 1 Multi function inspection light

- 4820546 1 Pocket light medium

- 4831101 1 Flat chisel 240mml 26”

600618 1 Screwdriver set in colored box, 6-pcs

600619 1 Screwdriver set TX in colored box, 6-pcs

600620 1 Screwdriver set TX-H in colored box, 6-pcs

600813 1 Foldable TX key set, 8-pcs

600902 1 TX key set extra long, 9-pcs

- 601001 1 16 in 1 ratchet screwdriver

601006 1 Hex ball long key set 10-pcs

601008 1 Hex ball key set extra long, 10-pcs

TOOLS # CONTENTS - 601219 1 Reversible ratcheting wrench 12 pt. in pouch, 12-pcs

601401 1 Combination wrench set in pouch, 14-pcs

601702 1 Combination wrench set in pouch, 17-pcs multi 602006 1 Screwdriver set, 20-pcs

7110101 1 Flexible ratchet 1/4”, 45 teeth

7110202 1 Rotor ratchet 3/8”, 72 teeth

7110301 1 Disc ratchet 1/4”, 72 teeth

7110302 1 Disc ratchet 3/8”, 72 teeth

7120701 1 Ratchet 1/4”, 72 teeth

7120901 1 Ratchet 1/4”, 45 teeth

7120902 1 Ratchet 3/8”, 45 teeth

7120903 1 Ratchet 1/2”, 45 teeth

7133250 1 Sliding T-handle 1/2”

7141050…150 2 Extension 1/4”, 50mml, 150mml - 7142075…150 2 Extension 3/8”, 75mml, 150mml - 7143125…250 2 Extension 1/2”, 125mml, 250mml

71511 1 Universal joint 1/4”

71521 1 Universal joint 3/8”

71531 1 Universal joint 1/2” 7172216…21 3 Spark plug clip socket 3/8”, 16, 18, 21mm 7174214 1 Spark plug socket 12 pt. 3/8”, 14mm (90mml) 7175214 1 Spark plug socket 12 pt. 3/8”, 14mm (250mml)

7232200 1 Swivel handle 3/8”, 200mml

73220550 1 Torque wrench 3/8”, 5-50Nm

732320200 1 Torque wrench 1/2”, 20-200Nm

801018 1 Brake caliper service set, 18-pcs

813003 1 Wire stripper 0.2-6.0mm 200L FOR A COMPLETE INVENTORY ORDER LIST SEE OUR WEBSITE

SONIC-EQUIPMENT.COM 397 06 TOOLS
# CONTENTS
-
-
-
-
-
-
-
-
-
-
-
-
-
-
-
-
-
-
-
-
-
-
-
-
-

737404 - DISPLAY 3 MTR. WITH 374 ITEMS (TOOLS ONLY) TOOLS # CONTENTS

101002 1 Socket set 1/4”, TX on rail, 10-pcs

101004 1 Bit socket set 1/4”, TX on rail, 10-pcs

104602 1 Combination set 1/4”, 46-pcs BMCS

1310…13 4 Screwdriver PH, PH.0, PH.1, PH.2, PH.3

13303…08 6 Screwdriver slotted, 3, 3.5, 4, 5.5, 6.5, 8mm

13610…30 6 Screwdriver TX, T10, T15, T20, T25, T27, T30

14423008…10 2 Hex nut driver T-handle 8, 10mm

1950203…04 2 Hex ball point grip key 3, 4mm

201001 1 Socket set 3/8”, on rail, 10-pcs

201002 1 Socket set 3/8”, TX on rail, 10-pcs

201003 1 Bit socket set 3/8”, hex on rail, 10-pcs

201005 1 Bit socket set 3/8”, TX on rail, 10-pcs

201006 1 Bit socket set 3/8”, TX-H on rail, 10-pcs

201201 1 Bit socket set 3/8”, ribe & spline on rail, 12 pt. 12-pcs

203703 1 Socket & wrench set 3/8”, 37-pcs BMCS

206102 1 Socket & bit socket set 3/8”, 61-pcs BMCS

21555…13 7 Flank socket 1/4”, 6 pt. 5.5, 6, 7, 8, 10, 12, 13mm

2155006…13 5 Flank deep socket 1/4”, 6 pt. 6, 7, 8, 10, 13mm

22507…19 12 Flank socket 3/8”, 6 pt. 7, 8, 10, 11, 12, 13, 14, 15, 16, 17, 18, 19mm

2256308…19 11 Flank deep socket 3/8”, 6 pt. 8, 10, 11, 12, 13, 14, 15, 16, 17, 18, 19mm

22608…18 7 Socket 3/8”, TX E8, E10, E11, E12, E14, E16, E18

23510…32 18 Flank socket 1/2”, 6 pt. 10, 11, 12, 13, 14, 15, 16, 17, 18, 19, 20, 21, 22, 24, 27, 28, 30, 32mm

TOOLS # CONTENTS

2357710…30 13 Flank deep socket 1/2”, 6 pt. 10, 12, 13, 14, 15, 16, 17, 18, 19, 21, 22, 24,30mm

300603 1 Adaptor set 6-pcs

300817 1 Bit socket TX set 1/2”, 8-pcs BMCS

300818 1 Bit socket TX long set 1/2”, 8-pcs BMCS

300902 1 Socket 1/2”, TX-E set on rail, 9-pcs

301007 1 Socket set on rail, 1/2”, 10-pcs

304201 1 Bit set 10mml 42-pcs

309402 1 Socket set 1/4” & 1/2” 94-pcs BMCS

309901 1 Socket set 1/4”, 3/8” & 1/2” 99-pcs BMCS

3310715…22 5 Wheel socket 1/2”, 15, 17, 19, 21, 22mm

3358513…32 9 Deep impact socket 1/2”, 6 pt. 13, 17, 19, 21, 22, 24, 27, 30, 32mm

3397824…34 3 Deep impact socket 1/2”, 12 pt. 24, 27, 34mm

3398536 1 Deep impact socket 1/2”, 12 pt. 36mm

4110810…14 3 Flare nut wrench 8x10, 11x13, 12x14 - 4120607…1617 6 Hinged socket wrench 6X7, 8X9, 10X11, 12X13, 14X15, 16X17mm - 41506…32 21 Combination wrench 6, 7, 8, 9, 10, 11, 12, 13, 14, 15, 16, 17, 18, 19, 20, 21, 22, 24, 27, 30, 32

- 4170208…19 10 Reversible ratcheting wrench 12 pt. 8, 10, 11, 12, 13, 14, 15, 16, 17, 19mm

- 42301250…2300 2 Adjustable wrench 10”, 12”

4311175 1 Combination pliers 7”

4321200 1 Long nose pliers 8” - 4331200 1 Bent long nose pliers 8”

4341175 1 Diagonal pliers 7”

SONIC-EQUIPMENT.COM 398 06
Promotional items
-
-
-
-
-
-
-
-
-
-
-
-
-

TOOLS # CONTENTS

- 4342200 1 Leverage diagonal pliers 8”

- 4351180 1 Waterpump pliers 7”

4351250 1 Waterpump pliers 10”

- 43611 1 Snap ring pliers (straight-open)

- 43612 1 Snap ring pliers (straight-close)

- 43613 1 Snap ring pliers (bent-open)

43614 1 Snap ring pliers (bent-close) - 4380250 1 Locking pliers 10” - 4450250 1 Oil filter pliers 10”

- 4450300 1 Oil filter pliers 12”

- 4471250 1 Wire stripper 10” - 45118190 1 Grip chisel 190mml 18

- 45124220 1 Grip chisel 220mml 24

- 4533150 1 Grip pin punch 150mml 3”

- 4534180 1 Grip pin punch 180mml 4”

- 4536210 1 Grip pin punch 210mml 6”

- 4611400 1 Machinist hammer with ash handle, 512gr - 4620400 1 Install hammer soft/hard, with ash handle, 608gr - 4631000 1 Stoning hammer with ash handle, 1106gr - 46601 1 Super heavy duty hacksaw

46808 1 Utility knife (incl. 10 blades) - 46807 1 Utility knife (incl. 3 blades) - 46911 1 Flat file 8”

- 46912 1 Half round file 8”

46913 1 Round file 8”

46914 1 Triangular file 8”

47002 1 Feeler gauge 26-pcs

- 47013 1 Measuring tape 5 meter

- 47035 1 Multimeter AC/DC

- 47022 1 Volt circuit tester 6-24V - 47023 1 Digital brake fluid tester

- 47537 1 Flexible hex nut driver, 7mm

47901 1 Door upholstery panel remover small 100mml

47902 1 Door upholstery panel remover 110mml

- 47903 1 Scraper

- 47904 1 Cotter pin puller - 48023 1 Jack stands, 3 ton - 48025 1 Scissor jack 1 ton

- 4820513 1 Inspections work light 8W - 4820547 1 Multi function inspection light

- 4820545 1 Pocket light small

- 4820546 1 Pocket light medium - 4820518 1 Headlamp - 4821105 1 Flash pen

- 48212380 1 Pry bar 380 mm - 600439 1 Mini hook set 4-pcs

- 600507 1 Flexible flare nut wrench set, 5-pcs

600618 1 Screwdriver set in colored box, 6-pcs

600619 1 Screwdriver set TX in colored box, 6-pcs

600620 1 Screwdriver set TX-H in colored box, 6-pcs

600813 1 Foldable TX key set, 8-pcs

600902 1 TX key set extra long, 9-pcs

TOOLS # CONTENTS

600912 1 Hex ball stubby key set, 9-pcs

601001 1 16 in 1 ratchet screwdriver

601006 1 Hex ball key set, long, 10-pcs

601007 1 Hex key wrench set, extra long, 10-pcs

601008 1 Hex ball key set extra long, 10-pcs

601219 1 Reversible ratcheting wrench 12 pt. in pouch, 12-pcs

601401 1 Combination wrench set in pouch, 14-pcs

601702 1 Combination wrench set in pouch, 17-pcs multi 602006 1 Screwdriver set, 20-pcs - 7110101 1 Flexible ratchet 1/4”, 45 teeth - 7110102 1 Flexible ratchet 3/8”, 45 teeth

7110202 1 Rotor ratchet 3/8”, 72 teeth

7110301 1 Disc ratchet 1/4”, 72 teeth

7110302 1 Disc ratchet 3/8”, 72 teeth

7120701 1 Ratchet 1/4”, 72 teeth - 7120901 1 Ratchet 1/4”, 45 teeth

7120902 1 Ratchet 3/8”, 45 teeth

7120903 1 Ratchet 1/2”, 45 teeth

7133250 1 Sliding T-handle 1/2”

7141050…1150 3 Extension 1/4”, 50, 100, 150mml

7142044…2250 4 Extension 3/8”, 44, 75, 150, 250mml - 7143125…250 2 Extension 1/2”, 125, 250mml

71511 1 Universal joint 1/4”

71521 1 Universal joint 3/8”

71531 1 Universal joint 1/2”

71632 1 Adaptor for extension 1/2”(F) x 3/8”(M) 7172216…21 3 Spark plug clip socket 3/8”, 16, 18, 21mm 7174214 1 Spark plug socket 12 pt. 3/8”, 14mm (90mml) 7175214 1 Spark plug socket 12 pt. 3/8”, 14mm (250mml)

7233600 1 Swivel handle 1/2”, 600mml

7273380 1 Swivel grip handle 1/2”, 370mml

73220550 1 Torque wrench 3/8”, 10-50Nm

732320200 1 Torque wrench 1/2”, 40-200Nm

732360300 1 Torque wrench 1/2”, 60-300Nm - 73531 1 Impact universal joint 1/2” - 801016 1 Brake caliper service set, pneumatic 16-pcs

801018 1 Brake caliper service set 18-pcs

802214 1 Drain plug key set 3/8”, 14-pcs

803005 1 Pry remover set 5-pcs

805001 1 Glow plug socket set 3/8”, 3-pcs

806001 1 Alternator tools 13-pcs

807001 1 Hub nut impact socket set 1/2”, 12-pt. 3-pcs

8113701…03 3 Bit socket PH 1/4”, PH.1, PH.2, PH.3

813001 1 Crimping plier set with exchangeable heads 7-pcs

813003 1 Wire stripper 0.2-6.0mm

8143703…10 6 Bit socket hex 1/4”, 3, 4, 5, 6, 7, 10mm

8163710…40 7 Bit socket TX 1/4”, T10, T15, T20, T25, T27, T30, T40

8173720…30 4 Bit socket TX tamperproof 1/4”, T20H, T25H, T27H, T30H

821001 1 Pry removal master kit 27-pcs

8244804…12 9 Bit socket hex 3/8”, 4, 5, 5.5, 6, 7, 8, 9, 10, 12mm

8264815…55 9 Bit socket TX 3/8”, T15, T20, T25, T27, T30, T40, T45, T50, T55

8274820…50 7 Bit socket TX tamperproof 3/8”, T20H, T25H, T27H, T30H, T40H, T45H, T50H

SONIC-EQUIPMENT.COM 399 06
-
-
-
-
-
-
-
-
-
-
-
-
-
-
-
-
-
-
-
-
-
-
-
-
-
-
-
-
-
-
-
-
-
-
-
-
-

Promotional items

# CONTENTS

8284806…12 5 Bit socket spline 3/8”, M6, M8, M9, M10, M12

83406205…12 6 Bit socket hex 1/2”, 5, 6, 7, 8, 10, 12mm

83410006…08 3 Bit socket hex 1/2”, 100mml 6, 7, 8mm

83606227…60 7 Bit socket TX 1/2”, T27, T30, T40, T45, T50, T55, T60

83610040…55 4 Bit socket TX 1/2”, 100mml T40, T45, T50, T55

83706227…55 6 Bit socket tamperproof 1/2”, TX T27H, T30H, T40H, T45H, T50H, T55H

83710040 1 Bit socket tamperproof 1/2”, TX 100mml T40H

83806206…16 6 Bit socket spline 1/2”, M6, M8, M10, M12, M14, M16

83810006…14 5 Bit socket spline 1/2”, 100mml M6, M8, M10, M12, M14

86807818 1 Impact bit socket XZN 1/2”, 78L M18

SONIC-EQUIPMENT.COM 400 06 TOOLS
FOR A COMPLETE INVENTORY ORDER LIST SEE OUR WEBSITE WALLDISPLAY EMPTY # DESCRIPTION 47790 Display 1 meter 47791 Display 2 meter 47792 Display 3 meter 47796 Display 1 meter including hooks and lightbox 47797 Display 2 meter including hooks and lightbox 47798 Display 3 meter including hooks and lightbox 47534 Light box Sonic 47795 Display follow meter 47913 Single hook L10 Ø3mm

SONIC PROMOTIONAL ITEMS

SONIC-EQUIPMENT.COM 401 06
75193 - DISC RATCHET 1/4”, 72 TEETH GIVE AWAY (BLACK) 75192 - SONIC BOTTLE OPENER
-
75115 - SONIC SOCKET KEY RING
- SONIC KEY CORD 75118 - SONIC PEN 75235 - SONIC MUG PL-S1...9 - SONIC STICKERS # DESCRIPTION PL-S1 27 x 6,5cm Sticker black PL-S9 27 x 6,5cm Sticker white PL-S2 10 x 2,4cm Sticker black PL-S4 10 x 2,4cm Sticker white PL-S5 17,6 x 4,3cm Sticker black PL-S8 17,6 x 4,3cm Sticker white 47363 60 x 20cm Sticker black PL-W... - SONIC STICKERS SONIC-EQUIPMENT. COM SONIC-EQUIPMENT. COM # DESCRIPTION PL-WB Sonic website sticker black PL-WW Sonic website sticker white PL-S10...11 - SONIC STICKERS # CONTENTS PL-S10 Sticker S-logo 5cm PL-S11 Sticker S-logo 10cm 200804 - SAMPLE SET SONIC, 8PCS, BMCS 75185...237 - SONIC FLAGS # DESCRIPTION 75185 Sonic Flag 11’ 75230 Sonic tear drop flag 75237 Sonic flag for mast 75194 - SONIC TENT 3 X 4.5M # DESCRIPTION 75194 Sonic tent (complete) 3 x 4.5m 75186 Sonic tent (frame) 3 x 4.5m 75187 Sonic Tent (cloth) 3 x 4.5m 75195 - SONIC TENT 3 X 3M # DESCRIPTION 75195 Sonic tent (complete) 3 x 3m 75188 Sonic tent (frame) 3 x 3m 75189 Sonic Tent (cloth) 3 x 3m
75212 SONIC KEY RING
75166

Promotional items

SONIC-EQUIPMENT.COM 402 06 751... - SONIC T-SHIRT # DESCRIPTION 75150S Sonic t-shirt size S 75150M Sonic t-shirt size M 75150L Sonic t-shirt size L 75150XL Sonic t-shirt size XL 751502XL Sonic t-shirt size XXL 751503XL Sonic t-shirt size XXXL 75208 - CROSS OVER JACKET, BLACK/BLACK # DESCRIPTION 75208L Cross over jacket, black/black L 75208M Cross over jacket, black/black M 75208XL Cross over jacket, black/black XL 75208XXL Cross over jacket, black/black XXL 751... - SONIC POLO SHIRT # DESCRIPTION 75196 Sonic polo shirt size S 75197 Sonic polo shirt size M 75198 Sonic polo shirt size L 75199 Sonic polo shirt size XL 75200 Sonic polo shirt size XXL
# DESCRIPTION 75201 Sonic sweater S 75202 Sonic sweater M 75203 Sonic sweater L 75204 Sonic sweater XL 75205 Sonic sweater XXL
752... - SONIC SWEATER 75209 - HOODED CROSS OVER JACKET, BLACK
DESCRIPTION
Hooded cross over
black L 75209M Hooded cross over jacket, black M 75209XL Hooded cross over jacket, black XL 75209XXL Hooded cross over jacket, black XXL
#
75209L
jacket,

WORK EFFICIENT WORK WITH SONIC

| SONIC-EQUIPMENT.COM 404 Index 1 100301 293 100301-1 293 100301-2 293 100301-3 293 100501 182 100601 182 100602 268 100701 182 100702 181 100704 182 100901 181 100902 181 100903 181 100904 181 101001 181 101002 181 101003 181 101004 182 101005 182 101007 178 101105 255 101201 181 101202 181 101203 181 101204 181 101901 268 102502 281 103101 267 103101-10 267 103101-11 267 103101-12 267 103101-13 267 103101-14 267 103101-15 267 103101-16 267 103101-17 267 103101-18 267 103101-19 267 103101-2 267 103101-20 267 103101-21 267 103101-22 267 103101-23 267 103101-24 267 103101-25 267 103101-26 267 103101-27 267 103101-28 267 103101-29 267 103101-3 267 103101-30 267 103101-31 267 103101-4 267 103101-5 267 103101-6 267 103101-7 267 103101-8 267 103101-9 267 103201 268 103202 263 103203 280 103502 255 104001 255 104601 269 104602 255 106303 107 106304 114 107403 256 108601 132 110001 367 110201 107 114101 144 114602 133 116701 116 120001 368 12425004 210 12425005 210 124250055 210 12425006 210 12425007 210 12425008 210 12425009 210 12425010 210 12425011 210 12425012 210 12425013 210 130001 369 1310 209 1311 209 1311S 209 1312 209 1312502 209 1312S 209 1313 209 1314502 209 1320 209 1321 209 1321S 209 1322 209 1322S 209 1323 209 13303 209 13304 209 133055S 209 133065S 209 13308 209 13310 209 13312 209 13325004 209 13325055 209 13325065 209 13335 209 13345065 209 13355 209 13360008 209 13365 209 1342503 210 1342504 210 1342505 210 1342506 210 13605 210 13606 210 13607 210 13608 210 13609 210 13610 210 13615 210 13620 210 13625 210 13625015 210 13625020 210 13625025 210 13625027 210 13625030 210 13625040 210 13625045 210 13627 210 13630 210 13640 210 13645 210 13708 210 13710 210 13715 210 13720 210 13725 210 13727 210 13730 210 13740 210 14423005 211 14423006 211 14423007 211 14423008 211 14423009 211 14423010 211 14423011 211 14423012 211 14423013 211 15101 209 15102 209 1530108 209 1530155 209 1530165 209 1610 209 1611 209 1612 209 16304 210 16325 210 16355 210 16365 210 17320002 210 184030127 234 18403015 234 1840302 234 18403025 234 1840303 234 1840304 234 1840305 234 1840306 234 1840307 234 1840308 234 1840310 234 185020127 234 18502015 234 1850202 234 18502025 234 1850203 234 1850204 234 1850205 234 1850206 234 1850208 234 1850210 234 185030127 234 18503015 234 1850302 234 18503025 234 1850303 234 1850304 234 1850305 234 1850306 234 1850308 234 1850310 234 1850601 234 1850602 234 1850603 234 1850604 234 1850605 234 1850606 234 1850607 234 1850608 234 1850609 234 1850610 234 1860106 235 1860107 235 1860108 235 1860109 235 1860310 235 1860315 235 1860320 235 1860325 235 1860327 235 1860330 235 1860340 235 1860345 235 1860350 235 1861310 235 1861315 235 1861320 235 1861325 235 1861327 235 1861330 235 1861340 235 1861345 235 1861350 235 194-3 269 1950202 211 19502025 211 1950203 211 1950204 211 1950205 211 1950206 211 1950207 211 1950208 211 1950210 211 Index
SONIC-EQUIPMENT.COM | 405 1950212 211 1960208 211 1960210 211 1960215 211 1960220 211 1960225 211 1960227 211 1960230 211 1960240 211 1960245 211 1960250 211 2 200801 182 200802 182 200804 256, 401 200805 184 200901 183 200902 183 200903 183 200907 183 201001 182 201002 183 201003 183 201005 183 201006 183 201008 182 201009 182 201010 182 201012 183 201013 183 201014 183 201015 184 201016 183 201201 184 201401 109 202301 109 202302 114 202803 256 203001 109 203103 280 203703 257 204003 257 204101 109 204102 114 205301 263 206102 257 207601 258 208001 109 213001 134 214201 117 214301 116 21503 187 21504 187 21505 187 21506 187 21507 187 21508 187 21509 187 21510 187 21511 187 21512 187 21513 187 21514 187 21545 187 2155004 187 21550045 187 2155005 187 21550055 187 2155006 187 2155007 187 2155008 187 2155009 187 2155010 187 2155011 187 2155012 187 2155013 187 2155014 187 21555 187 215702 118 21604 188 21605 188 21606 188 21607 188 21608 188 21610 188 216303 128 216401 134 2165004 188 2165005 188 2165006 188 2165007 188 2165008 188 2165010 188 21804 187 21805 187 21806 187 21807 187 21808 187 21809 187 21810 187 21811 187 21812 187 21813 187 21845 187 2185004 187 21850045 187 2185005 187 21850055 187 2185006 187 2185007 187 2185008 187 2185009 187 2185010 187 2185011 187 2185012 187 2185013 187 218502 135 21855 187 21905 188 21906 188 21907 188 21908 188 21909 188 21910 188 21911 188 21913 188 21914 188 2195005 188 21950055 188 2195006 188 2195007 188 2195008 188 2195009 188 2195010 188 2195011 188 2195012 188 2195014 188 21955 188 220702 142 221201 135 221801 144 221803 145 222801 149 22506 189 22507 189 22508 189 22509 189 22510 189 22511 189 22512 189 22513 189 22514 189 22515 189 22516 189 22517 189 22518 189 22519 189 22520 189 22521 189 22522 189 22524 189 2256306 190 2256307 190 2256308 190 2256309 190 2256310 190 2256311 190 2256312 190 2256313 190 2256314 190 2256315 190 2256316 190 2256317 190 2256318 190 2256319 190 2256320 190 2256321 190 2256322 190 22604 191 22605 191 22606 191 22607 191 22608 191 22610 191 22611 191 22612 191 22614 191 22616 191 22618 191 22620 191 2266304 192 2266305 192 2266306 192 2266307 192 2266308 192 2266310 192 2266311 192 2266312 192 2266314 192 2266316 192 2266318 192 2266320 192 22806 190 22807 190 22808 190 22809 190 22810 190 22811 190 22812 190 22813 190 22814 190 22815 190 22816 190 22817 190 22818 190 22819 190 22820 190 22821 190 22822 190 22824 190 2286306 191 2286307 191 2286308 191 2286309 191 2286310 191 2286311 191 2286312 191 2286313 191 2286314 191 2286315 191 2286316 191 2286317 191 2286318 191 2286319 191 2286320 191 2286321 191 2286322 191 2286324 191 22906 191 22908 191 22910 191 22911 191 22913 191 22914 191 22916 191 22917 191 22919 191 22921 191 22922 191 2296306 191 2296308 191 2296310 191 2296311 191 2296313 191 2296314 191 2296316 191 2296317 191 2296319 191 2296321 191 2296322 191 23508 193 23509 193 23510 193 23511 193 23512 193 23513 193 23514 193 23515 193 23516 193 23517 193 23518 193 23519 193 23520 193 23521 193 23522 193 23523 193 23524 193 23525 193 23526 193 23527 193 23528 193 23529 193 23530 193 23532 193 23536 193 2357708 193 2357709 193 2357710 193 2357711 193 2357712 193 2357713 193 2357714 193 2357715 193 2357716 193 2357717 193 2357718 193 2357719 193 2357720 193 2357721 193 2357722 193 2357723 193 2357725 193 2357726 193
| SONIC-EQUIPMENT.COM 406 Index 2357727 193 2357728 193 2357729 193 2357730 193 2357732 193 23610 195 23611 195 23612 195 23614 195 23616 195 23618 195 23620 195 23622 195 23624 195 2367710 195 2367711 195 2367712 195 2367714 195 2367716 195 2367718 195 2367720 195 2367722 195 2367724 195 23808 194 23809 194 23810 194 23811 194 23812 194 23813 194 23814 194 23815 194 23816 194 23817 194 23818 194 23819 194 23820 194 23821 194 23822 194 23823 194 23824 194 23825 194 23826 194 23827 194 23828 194 23829 194 23830 194 23832 194 2387708 194 2387710 194 2387711 194 2387712 194 2387713 194 2387714 194 2387715 194 2387716 194 2387717 194 2387718 194 2387719 194 2387720 194 2387721 194 2387722 194 2387723 194 2387724 194 2387725 194 2387726 194 2387727 194 2387728 194 2387729 194 2387730 194 2387732 194 23910 195 23911 195 23913 195 23914 195 23916 195 23917 195 23919 195 23921 195 23922 195 23924 195 23925 195 23927 195 23929 195 23930 195 23932 195 2397710 195 2397711 195 2397713 195 2397714 195 2397716 195 2397717 195 2397719 195 2397721 195 2397722 195 2397724 195 2397725 195 2397727 195 2397729 195 2397730 195 2397732 195 24819 196 24822 196 24824 196 24825 196 24827 196 24829 196 24830 196 24832 196 24833 196 24835 196 24836 196 24838 196 24841 196 24842 196 24844 196 24846 196 24847 196 24850 196 24917 196 24918 196 24919 196 24920 196 24921 196 24922 196 24923 196 24924 196 24925 196 24926 196 24927 196 24928 196 24929 196 24930 196 24932 196 24933 196 24934 196 24935 196 24936 196 24938 196 24941 196 24942 196 24946 196 24950 196 24955 196 24960 196 25835 197 25836 197 25838 197 25841 197 25846 197 25850 197 25854 197 25855 197 25858 197 25860 197 25863 197 25864 197 25865 197 25867 197 25870 197 25871 197 25875 197 25877 197 25880 197 3 300302 205 300303 206 300304 205 300310 205 300311 205 300312 205 300313 159 300401 292 300504 206 300504-1 206 300504-2 206 300504-3 206 300504-4 206 300504-5 206 300504-6 206 300507 205 300601 204 300603 269 300605 269 300608 109 300814 185 300816 258 300817 258 300818 258 300819 258 300820 259 300821 259 300822 259 300823 259 300901 206 300901-1 206 300901-10 206 300901-2 206 300901-3 206 300901-4 206 300901-5 206 300901-6 206 300901-7 206 300901-8 206 300901-9 206 300902 184 300903 184 300906 185 300910 204 300911 109 301002 185 301003 185 301005 185 301006 185 301007 184 301008 185 301201 184 301202 184 301203 184 301204 184 301302 301 301302-1 301 301302-2 301 301302-3…13 301 301503 184 301504 184 301601 204 301601-1 204 301601-10 204 301601-11 204 301601-12 204 301601-13 204 301601-14 204 301601-15 204 301601-16 204 301601-2 204 301601-3 204 301601-4 204 301601-5 204 301601-6 204 301601-7 204 301601-8 204 301601-9 204 301603 109 301702 259 301904 259 302003 109 302004 114 302005 114 302104 110 302204 109 302301 109 302404 260 302801 263 303401 263 303805 109 303806 114 304201 178 304501 260 305002 117 305101 281 305605 109 306402 120 306701 260 306901 120 306902 129 307101 129 307302 120 307603 261 308201 136 308401 136 308502 264 309101 261 309301 131 309302 120 309303 131 309402 262 309502 119 309510 129 309901 262 310001 131 310101 119 311501 146 311803 141 312103 149 313602 142 313902 119 314501 150 314901 145 315602 143 316001 118 32508 198 32509 198 32510 198 32511 198 32512 198 32513 198 32514 198 32515 198 32516 198 32517 198 32518 198 32519 198 32520 198
SONIC-EQUIPMENT.COM | 407 32521 198 32522 198 3256308 198 3256309 198 3256310 198 3256311 198 3256312 198 3256313 198 3256314 198 3256315 198 3256316 198 3256317 198 3256318 198 3256319 198 3256320 198 3256321 198 3256322 198 3310217 197 3310219 197 3310221 197 3310317 197 3310319 197 3310321 197 3310322 197 3310521 197 3310617 198 3310715 198 3310717 198 3310719 198 3310721 198 3310722 198 3310817 197 3310819 197 3310821 197 33508 199 33509 199 33510 199 33511 199 33512 199 33513 199 33514 199 33515 199 33516 199 33517 199 33518 199 33519 199 33520 199 33521 199 33522 199 33523 199 33524 199 33525 199 33526 199 33527 199 33528 199 33529 199 33530 199 33532 199 33533 199 33534 199 33535 199 33536 199 33538 199 3358508 199 3358509 199 3358510 199 3358511 199 3358512 199 3358513 199 3358514 199 3358515 199 3358516 199 3358517 199 3358518 199 3358519 199 3358520 199 3358521 199 3358522 199 3358523 199 3358524 199 3358525 199 3358526 199 3358527 199 3358528 199 3358529 199 3358530 199 3358532 199 3358533 199 3358534 199 3358535 199 3358536 199 3358538 199 3367810 200 3367811 200 3367812 200 3367814 200 3367816 200 3367818 200 3367820 200 3367822 200 3367824 200 33917 199 33918 199 33919 199 3397824 200 3397827 200 3397834 200 3397835 200 3398530 200 3398532 200 3398534 200 3398535 200 3398536 200 34517 201 34518 201 34519 201 34520 201 34521 201 34522 201 34523 201 34524 201 34525 201 34526 201 34527 201 34528 201 34529 201 34530 201 34532 201 34533 201 34534 201 34535 201 34536 201 34538 201 34539 201 34540 201 34541 201 34542 201 34543 201 34544 201 34545 201 34546 201 34547 201 34548 201 34550 201 34552 201 34554 201 34555 201 34557 201 34558 201 34559 201 34560 201 34563 201 34565 201 34570 201 3459017 201 3459018 201 3459019 201 3459020 201 3459021 201 3459022 201 3459023 201 3459024 201 3459025 201 3459026 201 3459027 201 3459028 201 3459029 201 3459030 201 3459032 201 3459033 201 3459034 201 3459035 201 3459036 201 3459038 201 3459039 201 3459040 201 3459041 201 3459042 201 3459043 201 3459044 201 3459045 201 3459046 201 3459047 201 3459048 201 3459050 201 3459052 201 3459054 201 3459055 201 3469018 202 3469020 202 3469024 202 3499017 202 3499019 202 35524 202 35525 202 35526 202 35527 202 35528 202 35530 202 35532 202 35533 202 35534 202 35535 202 35536 202 35538 202 35540 202 35541 202 35542 202 35543 202 35544 202 35545 202 35546 202 35548 202 35550 202 35551 202 35552 202 35553 202 35554 202 35555 202 35557 202 35558 202 35559 202 35560 202 35563 202 35565 202 35566 202 35568 202 35570 202 35571 202 35575 202 35580 202 35585 202 35590 202 3559024 203 3559025 203 3559026 203 3559027 203 3559028 203 3559030 203 3559032 203 3559033 203 3559034 203 3559035 203 3559036 203 3559038 203 3559040 203 3559041 203 3559042 203 3559043 203 3559044 203 3559045 203 3559046 203 3559048 203 3559050 203 3559051 203 3559052 203 3559053 203 3559054 203 3559055 203 3559057 203 3559058 203 3559059 203 3559060 203 3559063 203 3559065 203 3559066 203 3559068 203 3559070 203 3559071 203 3559075 203 3559076 203 3559080 203 3559085 203 3559090 203 3559095 203 35595 202 4 402001 269 403201 121 403301 121 4080210 301 4080211 301 4080213 301 4080214 301 4080216 301 4080217 301 4080219 301 4080221 301 4080222 301 40808 244 4080809 244 40809 244 40810 244 4081011 244 40811 244 40812 244 4081213 244 4110810 244 4111113 244 4111214 244 4111618 244 4111719 244 4111922 244
| SONIC-EQUIPMENT.COM 408 Index 4112427 244 4113032 244 4113641 244 41201 245 41202 245 41210608 245 41211012 245 41211418 245 41212024 245 4140101 249 4140102 249 4140103 249 4140104 249 4140105 249 4140106 249 4140107 249 4140108 249 4140109 249 4140110 249 4140111 249 4140112 249 4140113 249 4140114 249 4140115 249 4140607 245 4140809 245 4141011 245 4141213 245 4141415 245 4141617 245 4141819 245 4142022 245 4142123 245 4142224 245 4142427 245 4142528 245 4143032 245 4143436 245 4150206 247 4150208 247 4150210 247 4150211 247 4150213 247 4150214 247 4150216 247 4150217 247 4150219 247 4150221 247 4150222 247 4150224 247 4150225 247 4150227 247 4150228 247 4150232 247 4150233 247 4150235 247 4150238 247 4150241 247 4150310 247 4150311 247 4150312 247 4150313 247 4150314 247 4150315 247 4150316 247 4150317 247 4150318 247 4150319 247 41506 246 41507 246 41508 243, 246 41509 243, 246 41510 243, 246 41511 243, 246 41512 243, 246 41513 243, 246 41514 243, 246 41515 243, 246 41516 243, 246 41517 243, 246 41518 243, 246 41519 243, 246 41520 243, 246 41521 243, 246 41522 243, 246 41523 243, 246 41524 243, 246 41525 243, 246 41526 243, 246 41527 243, 246 41528 243, 246 41529 243, 246 41530 243, 246 41532 243, 246 41533 246 41534 246 41535 246 41536 246 41538 246 41541 246 41543 246 41546 246 41548 246 41550 246 41555 246 41558 246 41560 246 41565 246 41570 246 41575 246 41580 246 4160608 250 4160711 250 4161012 250 4161418 250 4161622 250 4162024 250 4170108 248 4170109 248 4170110 248 4170111 248 4170112 248 4170113 248 4170114 248 4170115 248 4170116 248 4170117 248 4170118 248 4170119 248 4170308 248 4170309 248 4170310 248 4170311 248 4170312 248 4170313 248 4170314 248 4170315 248 4170316 248 4170317 248 4170318 248 4170319 248 4170401 248 4170402 248 4170508 248 4170509 248 4170510 248 4170511 248 4170513 248 4170514 248 4170516 248 4170517 248 4170519 248 41706 246 41707 246 41708 246 41709 246 41710 246 41711 246 41712 246 41713 246 41714 246 41715 246 41716 246 41717 246 41718 246 41719 246 41720 246 41721 246 41722 246 41723 246 41724 246 41725 246 41726 246 41727 246 41728 246 41729 246 41730 246 41732 246 41760608 248 41761012 248 41761418 248 41762024 248 4180607 249 4180809 249 4181011 249 4181213 249 4181415 249 4181617 249 4181819 249 4182123 249 4190607 249 4190809 249 4191011 249 4191213 249 4191415 249 4191617 249 4191819 249 4192022 249 4192122 249 4192123 249 4192326 249 4192427 249 4192528 249 4193032 249 4193436 249 4200113 249 4200607 250 4200809 250 4201011 250 4201213 250 4201415 250 4201617 250 4201819 250 4211012 250 4211113 250 4211417 250 4220608 245 4221011 245 4221314 245 4221617 245 4221719 245 4222122 245 4222425 245 4222932 245 42301150 250 42301200 250 42301250 250 42301300 250 42301375 250 4250608 244 4251011 244 4251314 244 4251617 244 42608 247 42609 247 42610 247 42611 247 42612 247 42613 247 42614 247 42615 247 42616 247 42617 247 4270608 249 4271011 249 4271314 249 4271416 249 4271719 249 4272122 249 4272425 249 4311165 215 4311175 215 4312180 215 4312200 215 4321160 215 4321170 215 4321200 215 4322160 215 4322200 215 4323275 217 4324115 217 4325115 217 4331200 215 4333270 217 4333275 217 4341145 215 4341175 215 4341180 215 4341190 215 4342160 216 4342200 216 4342240 216 4343200 216 4344115 217 4345115 217 4351180 216 4351250 216 4351300 216 4352180 216 4352250 216 4352300 216 4352400 216 43611 217 43612 217 43613 217 43614 217 4380250 218 4381150 218 4381225 218 4382125 218 4382175 218 4382250 218 4383175 218 4383250 218 4384250 218 4388275 218 4391175 218 4393001 217 4393002 217 4393003 217 4393004 217 4393005 217 4393006 217 4393007 217
SONIC-EQUIPMENT.COM | 409 4410265 219 4411001 308 4411002 308 4411003 308 4450250 219 4450300 219 44601280 216 4471180 216 4471250 216 4472100 291 4472160 216 4473001 219 4473002 219 4473003 219 4473004 219 4473005 219 4474001 219 4474002 219 4476001 218 4476002 218 4476004 217 4476005 217 4476006 217 4476007 217 4477150 219 4477151 219 45110141 221 45112160 221 45116170 221 45118190 221 45124220 221 4527190 221 45310230 221 45312250 221 45314290 221 45316310 221 4532140 221 4533150 221 4534180 221 4535200 221 4536210 221 4538220 221 4552185 221 4553185 221 4554185 221 45602 221 4560201 287 4560202 287 4564185 221 4611200 223 4611300 223 4611400 223 4620400 223 4621000 223 4631000 223 4640500 223 4640600 223 4640800 223 4641500 223 4642000 223 4652035 223 4652060 223 46601 223 46602 223 46603 223 46701 223 46702 223 46703 223 46704 223 46804 224 46807 224 46808 224 46905 224 46911 224 46912 224 46913 224 46914 224 46922 224 47002 379 47003 379 47004 379 47005 379 47006 379 47008 379 47010 379 47013 379 47016 210 47019 378 47022 378 47023 296 47024 379 47025 381 47028 379 47031 377 47032 379 47033 219 47034340 219 47034550 219 47034680 219 47035 378 47036 378 4720101 98 4720102 98 4720103 98 4720104 98 4720105 98 4720106 98 4720107 98 4720108 98 4720109 98 4720110 98 4720111 98 4720112 98 4720115 98 47204 62 47206 62 47209 59, 63 47209F 59, 63 47209S 59, 63 47210-… 66, 101 47213 60 47215 67, 101 47216 67, 101 47242 381 47243 67 47244 67 47251 61 47252 61 47253 64 47254 64 47257 60 47258 63 47259 63 47262 60 47264 63 47265 65 47266 65 47267 61 47272 91 47273 63 47275 101 47276 92 47279 96 47280 90 47281 100 47282 100 47283 96 47284 96 47287 101 47288 91 47289 101 47290 97 47291 97 47292 92 47295 96 47296 90 47297 100 47298 100 47301 101 4730196 93 47302 91 4730224 277 4730230 93 4730281 93 47303 101 4730414 277 4730415 277 4730434 277 47306 96 47308 90 47309 143 47310 101 4731196 93 4731230 93 4731281 93 4731301 94 4731302 94 4731306 95 4731401 93 4731402 94 4731403 94 4731404 95 4731405 95 4731501 94 4731505 95 4731506 95 4731507 95 4731508 95 4731509 93 4731510 95 4731511 94 4731513 94 4731516 94 4731517 93 4731601 94 4731602 94 4731606 95 4731701 93 4731702 94 4731703 94 4731704 95 4731705 95 4731713 93 47318 65 4731801 94 4731805 95 4731806 95 4731807 95 4731808 95 4731809 93 4731810 95 4731811 94 4731813 94 4731816 94 4731817 93 47319 65 47320 65 4732013 55 47321 65 4732110 55 4732196 93 47322 63 4732230 93 4732281 93 4733014 277 47334 61 47337 65 47338 65 47339 65 47340 65 47343 61 47346 62 47347 62 47348 62 47350 62 47353 62 47363 401 47364 60 47365 65 47366 65 47367 101 47368 63 47369 61 4737016 12 4737117 14 4737218 18 4737318 26 47374 60 4737418 32 47375113 38 47376 96 47376116 42 47377 96 47377113 46 47378 96 47379 90 47380 96 47381 96 4738110 54 47382 96 4738210 54 47383 96 47384 96 4738413 54 47385 96 47389 101 47391 65 47392 65 47393 65 47394 65 47395 63 47396 64 47401 302 47402 302 47403 302 47404 302 47410 63 47411 63 47412 62 47414 100 47415 97 47416 97 47417 97 47418 97 47419 97 47420 97 47421 97 47431 91 47432 91 47433 91 47434 101 47439 100 47447 96 47448 96 47449 96 47450 91 47451 92 47452 100 47453 100 47491 100 47494 100 47494B 100 47494S 100 47498 60
| SONIC-EQUIPMENT.COM 410 Index 47499 60 47505 92 47513 65 47514 65 47515 65, 66 47516 65 47517 64 47518 64 47519 62 47520 63 47521 63 47522 61 47523 65 47534 400 47536 211 47537 211 4753701 211 47538 211 47541 101 47543 101 47544 96 47545 96 47546 65 47547 65 47548 60 47549 61 47550 65 47551 61 47553 65 47561 64 47570 381 47571 382 47572 61 47573 64 47573F 64 47573S 64 47580 60 47581 60 47600 92 47601 61 47602 66 47603 66 47604 66 47605 62 47607 64 47608 64 47609 62 47610 64 47612 130 47613 113 47614 60 47615 60 47622-… 66 47623 66 47624 66, 101 47625 66 47630 100 47631 59, 63 47631F 59, 63 47631S 59, 63 47632 97 47637 66 47638 98 47639 98 47640 90 47641 100 47642 100 47643 62 47644 61 47645 65 47646 65 47647 90 47649 91 47650 92 47651 100 47652 100 47658F 59, 63 47658S 59, 63 47666 64 47667 64 47671 67, 101 47672 67, 101 47685 59 47686 64 47687 65 47688 65 47689 65 47690 65 47691 65 47692 65 47693 65 47694 65 47695 65 47701 84 47702 84 47704 84 47705 84 47722 61 47723 60 47733 67 47734 67 47750 65 47751 60 47772 99 47790 400 47791 400 47792 400 47795 400 47796 400 47797 400 47798 400 47799 274 47800 59 47814 227 47815 306 47816 306 47817 226 47818 226, 287 47819 226, 287 47820 226, 287 47824 224 47825 226 47826 296 47827 296 47829 227 47830 227 47831 227 47832 227 47837 210 47838 210 47839 210 47840 210 47842 84 47843 84 47844 59 47844F 59 47844S 59 47848 58 47849 58 47850 58 47851 58 47852 58 47853 58 47855 85 47893 85 47894 80, 85 47895 80, 85 47896 80, 85 47897 80, 85 47898 80, 85 47899 80, 85 47900 80, 85 47901 226 47902 226 47903 226 47904 226 47905 226 47906 226 47907 226 47908 226 47909 226, 227 47910 227 47911 227 47912 227 47913 400 47916 60 4800701 364 4800702 364 4800703 364 4800704 364 4800705 364 4800706 364 4800707 364 4800708 364 48025 364 48031 363 48032 363 48033 363 48034 363 48035 363 48104 381 48105 381 48112 303 4811205 385 4811206 385 4811207 385 4811208 385 4811209 385 4811210 385 4811211 385 4811212 385 4811213 385 4811214 385 4811215 385 4811216 385 4811217 385 4811218 385 4811219 385 4811220 385 4811221 385 4811222 385 4811223 385 4811224 385 4811225 385 4811226 385 4811227 385 4811228 385 4811229 385 4811230 385 4811231 385 4811232 385 4811233 385 4811234 385 4811235 385 4811236 385 4811237 385 4811238 385 4811239 385 4811240 385 4811241 385 4811242 385 4811243 385 4811244 385 4811245 385 4811254 224 4811260 224 4811264 385 48126 382 4813901 159 4813902 162 4813908 190 4813910 190 4813911 190 4813912 190 4813913 190 4813914 190 4813915 190 4813916 190 4813917 190 48148-1 385 48148-2 385 4820106 228 4820110 228 4820111 228 4820201 228 4820207 228 48203210 228, 287 48203300 228, 287 48203460 228, 287 48203610 228, 287 4820513 375 4820518 374 4820524 99 4820537 99 4820538 99 4820539 99 4820540 99 4820541 99 4820542 99 4820545 373 4820546 373 4820547 373 4820548 373 4820549 373 4820550 374 4821105 375 4821106 375 48212380 288 48212530 288 48212650 288 4821301 289 4821302 289 4821303 289 4821304 289 4821305 289 4821308 228 4821312 228 4821318 228 4821324 228 4821511 98, 365 4821512 98, 365 4821513 365 4821514 98, 365 4821515 98, 365 4821516 365 4821517 98, 365 4821518 98 4821519 98 4821701 381 4821702 381 4821703 381 4821901 382 4821902 382 4822102 223 48222500 288 48222500-1 288 4822301 387 4822302 387 4822303 387 4822304 387 4822305 387 4822306 387 4822307 387 4822308 387
SONIC-EQUIPMENT.COM | 411 4822309 387 4822310 387 4822311 387 4822312 387 4822313 388 4822314 388 4822315 388 4822316 388 4822317 388 4822318 388 4822319 388 4822320 388 4822321 388 4822322 388 4822323 388 4822324 388 4822325 389 4822326 389 4822327 389 4822328 389 4822329 389 4822330 389 4822331 364 4822332 365 4822333 389 4822334 389 4822335 389 4822336 389 4822337 389 4822338 389 4822339 390 4822340 390 4822341 390 4822342 390 4822343 390 4822344 390 4822345 390 4822346 390 4822347 390 4822348 390 4822349 391 4822350 391 4822351 391 4822352 391 4822353 391 4822354 391 4822355 391 4822356 391 4822401 371 4822402 371 4822403 371 4822404 371 4822405 371 4822406 371 4822407 371 4822408 371 4822409 371 4822410 371 4822411 371 4822503 223 4822504 305 4822507 365 4822508 379 4830703 302 4830704 302 4830706 302 4830801 296 4830802 296 4831101 221 4831201 292 4831302 296 4840102 236 48401025 236 4840103 236 4840104 236 48401045 236 4840105 236 4840106 236 4840107 236 4840108 236 4840110 236 4840210 236 4840215 236 4840220 236 4840225 236 4840227 236 4840230 236 4840240 236 4840245 236 4840250 236 4840255 236 487001 381 487002 381 48900 59 48901 59 48903 59 48904 57 48905 57 48906 57 48913 57 48914 57 48916 59 48917 59 48918 59 48919 59 48920 57 48921 57 48928 57 48929 57 48930 57 48934 57 48935 57 48936 57 48937 57 48938 58 48939 59 48940 59 48941 59 48942 59 48947 58 48948 58 48949 58 48950 58 48951 58 48952 58 48954 57 48955 57 48956 57 48977 58 48978 58 48979 58 48980 59 48981 59 48982 59 48983 57 48984 57 48985 58 48986 58 48987 58 48988 58 48989 59 48990 58 48991 59 48992 58 48993 59 48993-0... 59 48997 59 48998 59 48999 59 49000 59 49001 59 49002 59 49003 59 49004 59 49006 58 49007 58 49008 58 49015 49 49016 49 49502 271, 272 49503 271, 273 5 5036001 74 5036002 74 5036003 76 5065501 75 5065502 75 5070001 79 5071801 76 5071802 77 5072001 72 5072002 72 5072003 76 5072004 73 5072005 73 5072006 79 5072007 76 5072008 77 5072009 74 5072010 74 5072011 74 5072012 74 5072015 77 5072018 72 5072019 75 5082001 77 5089001 72 5089002 72 5089003 76 5089004 73 5089005 73 5089006 79 5089007 76 5089008 77 5089009 74 5089010 77 5089011 73 5089012 75 5089013 79 5089015 72 5089016 75 5096501 75 5106001 79 5106002 74 5153901 72 5660001 83 5770001 82 5770002 82 5770003 82 5770004 82 5770006 82 5770008 82 5770009 82 577005 82 577105 82 5771101 82 5771102 82 5771103 82 5771104 82 5771106 82 5771107 82 5771108 82 5771109 82 57893 80 5880001 83 5880002 83 5880003 83 5880004 83 5880008 83 5880009 83 5880010 83 5881101 83 5881102 83 5881103 83 5881104 83 5881106 82 5881108 83 5881109 83 5881110 83 5999001 85 5999002 85 5999008 85 5999009 85 5999012 84 5999013 84 5999014 84 5999015 84 5999016 84 5999017 84 5999018 84 5999019 84 5999020 85 5999022 85 5999023 85 5999024 85 5999027 85 5999034 85 5999037 85 5999039 85 5999040 84 5999041 84 5999042 84 5999043 79, 84 5999044 79, 84 5999045 79, 84 5999046 85 5999056 84 5999057 84 5999058 85 5999059 85 5999060 85 5999061 81, 85 5999069 85 5999073 85 5999075 84 5999076 84 5999077 84 5999078 84 5999079 84 5999080 84 5999089 84 5999090 84 5999091 84 5999118 85 5999119 85 5999122 85 5999125 85 5999127 85 5999201 81, 85 5999202 81, 85 5999204 81, 85 5999205 81, 85 5999206 81, 85 5999208 81, 85 5999301 81, 85, 99 5999302 81, 85, 99 5999304 81, 85 5999305 80 5999306 80 5999318 80 5999319 80 5999320 85 5999401 79
| SONIC-EQUIPMENT.COM 412 Index 5999402 79 5999403 79 5999404 79 5999406 79 5999407 79 5999408 79 5999501 79 5999601 79 5999602 79 5999603 79 5999604 79 5999701 79 5999702 79 5999703 79 5999704 79 5999705 79 5999706 79 5999707 79 5999708 79 5999709 79 5999710 79 5999711 79 5999712 79 5999801 79 5999802 79 5999803 79 5999804 79 5999805 79 5999806 79 5999807 79 5999808 79 5999809 79 5999901 78 5999902 78 5999903 78 5999904 78 5999905 78 5999906 78 5999907 78 5999908 78 5999909 78 5999910 78 5999911 78 5999912 78 5999913 78 5999922 78 5999923 78 5999924 78 5999925 78 5999926 78 5999927 78 5999928 78 5999929 78 5999930 78 5999931 78 5999933 78 5999934 78 5999936 78 5999937 78 5999938 78 6 600203 252 600308 291 600308-1 291 600308-2 291 600308-3 291 600318 289 600319 112 600320 287 600322 216 600402 251 600403 287 600430 112 600432 111 600434 111 600435 111 600436 287 600437 227 600439 227 600440 216 600506 289 600507 251 600512 212 600513 106 600514 212 600614 112 600618 212 600619 212 600620 212 600621 231 600622 233 600623 113 600624 221 600625 106 600626 106 600627 106 600701 251 600705 113 600708 110 600709 111 600712 231 600713 231 600716 231 600717 106 600718 107 600719 107 600720 280 600806 251 600813 232 600822 113 600823 106 600824 106 600825 112 600826 106 600830 232 600831 231 600902 233 600907 241 600908 241 600909 233 600912 232 600913 107 600914 107 600924 233 600927 231 600929 281 600931 232 601001 211, 267 601001-1 211, 267 601001-10 211, 267 601001-2 211, 267 601001-3 211, 267 601001-4 211, 267 601001-5 211, 267 601001-6 211, 267 601001-7 211, 267 601001-8 211, 267 601001-9 211, 267 601003 232 601006 232 601007 231 601008 232 601014 236 601015 236 601016 110 601017 110 601018 281 601020 267 601105 241 601106 241 601112 281 Index 601203 281 601204 251 601207 123 601218 252 601219 252 601225 111 601227 112 601228 110 601229 110 601230 110 601305 232 601306 232 601307 233 601309 117 601401 251 601404 122 601406 114 601408 268 601503 267 601601 124 601606 124 601607 127 601702 251 601707 122 601806 125 601807 115 601808 115 601812 127 601903 110 601904 110 601906 268 601907 126 601908 235 601909 123 601910 280 602006 212 602010 123 602104 125 602105 125 602109 140 602204 137 602205 111 602209 123 602213 127 602303 212 602308 138 602407 115 602411 140 602603 251 602605 138 602710 139 602712 126 602716 115 602803 140 602805 130 602904 115 603002 121 603003 121 603004 111 603101 131 603202 133 603207 133 603209 147 603304 141 603402 146 603403 151 604001 139 604002 121 604102 115 604104 127 604202 140 604207 124 604208 130 604302 130 604309 129 604402 125 604501 147 604702 121 604801 137 604909 141 605001 122 605003 267 605004 151 605101 136 605104 143 605201 152 605301 136 605304 122 605501 128 605901 152 606302 148 606601 148 606901 137 607001 128 607201 147 607202 152 608801 148 610201 150 610301 132 7 704721 279 704771 279 706201 283 708401 274 708971 279 709404 395 709601 279 709671 279 7110101 158 7110101P 158 7110102 158 7110102P 158 711013300 158 711013440 158 711013P 158 7110201 158 7110201P 158 7110202 158 7110202P 158 7110203 158 7110203P 158 7110301 159 7110301P 159 7110302 159 7110302P 159 7110303 159 7110402 158 7110403 158 7110801 158 7110802 158 7110803 158 711201 274 7120101 157 7120102 157 7120301 158 7120301P 158 7120302 158 7120302P 158 7120303 158 7120303P 158 7120401 159 7120701 157 7120701P 157 7120702 157 7120702P 157 7120703 157 7120703P 157 7120704 159 7120704P 159 7120901 157 7120901P 157
SONIC-EQUIPMENT.COM | 413 7120902 157 7120902P 157 7120903 157 7120903P 157 7121101 157 7121102 157 7121103 157 7121204 159 7121204P 159 7121205 159 7121205P 159 7121305 159 7121501 157 7121501P 157 7121502 157 7121502P 157 7121503 157 7121503P 157 712403 159 7131115 161 713203 272 713204 273 7132165 161 7133250 161 7134450 161 7135 164 7135550 161 7135560 161 713875 13 714075 13 7141050 161 7141100 161 7141150 161 7141250 161 7142044 161 7142075 161 7142150 161 7142200 161 7142250 161 7142300 161 7142450 161 7142600 161 7143125 161 7143250 161 7144100 161 7144200 161 7145200 161 7145400 161 714581 43 714582 47 7150216 200 7150217 200 7150218 200 7150219 200 7150310 205 71511 163 7151604 189 7151605 189 7151606 189 7151607 189 7151608 189 7151706 189 7151708 189 7151709 189 7151710 189 7151711 189 7151713 189 7151714 189 7151806 188 7151807 188 7151808 188 7151809 188 7151810 188 7151811 188 7151812 188 7151813 188 7151P 163 71521 163 71521P 163 7152450 161 7152610 192 7152612 192 7152614 192 7152616 192 7152810 192 7152811 192 7152812 192 7152813 192 7152814 192 7152815 192 7152816 192 7152817 192 7152818 192 7152819 192 71531 163 71531P 163 7153618 196 7153622 196 7153624 196 71623 164 71632 164 716877 20 7171216 203 7171218 203 7171221 203 7171316 204 7171318 204 7171321 204 7172214 203 7172216 203 7172218 203 7172221 203 7172316 204 7172318 204 7172321 204 7173222 203 7174214 203 7175214 203 7176208 192 7176209 192 7176210 192 7176212 192 7176214 192 7176216 192 7183075 162 7183125 162 7183250 162 7184400 162 71912 163 71921 163 71923 163 71932 163 71934 163 71943 163 719776 15 72001 161 7201001 164 72011 164 7202001 164 72023 164 72032 164 72033 164 720628 282 720634 282 720776 15 7211 162 72225 164 722376 17 7232200 160 7232250 160 7232P 160 7233250 160 7233380 160 7233600 160 7233601 160 7233602 160 72336605 160 7233P 160 7234500 160 7234600 160 723680 39 72401 160 72402 160 72403 161 724704 396 724977 20 72501 164 725076 17 7253620 196 72601 161 72602 161 72603 161 7261050 162 7261100 162 72612 162 7261250 162 7262044 162 7262075 162 7262150 162 7262200 162 7262250 162 7262300 162 7262450 162 7263050 162 7263125 162 7263250 162 7263500 162 726377 24 7271150 160 7271P 160 7272200 160 7272250 160 7273250 160 7273380 160 728528 282 728534 282 73021050 240 730220100 240 730277 21 7302P 240 730320100 240 730340200 240 730360300 240 730378 28 730380400 240 7303P 240 7304110550 240 7304150750 240 7304P 240 73210525 240 73210525P 240 73220550 240 732210100 240 7322P 240 732310100 240 732320200 240 732360300 240 732380400 240 7323P 240 73241000 240 7324550 240 7324550P 240 7324750 240 7324750P 240 73251000 240 7325750 240 7325P 240 733105251 239 733105252 239 733210501 239 733210502 239 7332201001 239 7332201002 239 7333201001 239 7333201002 239 7333402001 239 7333402002 239 7333603401 239 7333603402 239 7342075 162 7343075 162 7343125 162 7343250 162 7344150 163 7344250 163 7344400 163 7345150 163 7345175 163 7345250 163 7345400 163 734977 25 73521 163 73531 163 73541 163 73612 163 73621 163 73623 163 73632 163 73634 163 736377 21 73643 163 73645 164 73721 164 737404 398 738477 19 738480 39 740078 28 741477 22 742977 22 745479 35 748578 29 749778 27 75115 401 75118 401 751502XL 402 751503XL 402 75150L 402 75150M 402 75150S 402 75150XL 402 75166 401 75185 401 75186 401 75187 401 75188 401 75189 401 75192 401 75193 401 75194 401 75195 401 75196 402 75197 402 75198 402 75199 402 75200 402 75201 402 75202 402 75203 402 75204 402 75205 402 75208L 402 75208M 402 75208XL 402 75208XXL 402
| SONIC-EQUIPMENT.COM 414 Index 75209L 402 75209M 402 75209XL 402 75209XXL 402 75212 401 75214 269 75230 401 75235 401 75237 401 752777 23 754080 40 757578 30 764478 31 772379 34 788779 33 792081 45 792082 48 8 801003 298 801003-1 298 801003-10 298 801003-11 298 801003-12 298 801003-2 298 801003-3 298 801003-4 298 801003-5 298 801003-6 298 801003-7 298 801003-8 298 801003-9 298 801016 298 801016-1 298 801016-10 298 801016-11 298 801016-12 298 801016-13 298 801016-14 298 801016-15 298 801016-2 298 801016-3 298 801016-4 298 801016-5 298 801016-6 298 801016-7 298 801016-8 298 801016-9 298 801018 299 801018-1 299 801018-10 299 801018-11 299 801018-12 299 801018-13 299 801018-14 299 801018-15 299 801018-2 299 801018-3 299 801018-4 299 801018-5 299 801018-6 299 801018-7 299 801018-8 299 801018-9 299 801206 206 801206-1 206 801206-2 206 801206-3 206 801206-4 206 801206-5 206 801206-6 206 801305 206 801305-1 206 801305-2 206 801305-3 206 801305-4 206 801305-5 206 802214 293 802214-1 293 802214-10 293 802214-11 293 802214-12 293 802214-13 293 802214-14 293 802214-2 293 802214-3 293 802214-4 293 802214-5 293 802214-6 293 802214-7 293 802214-8 293 802214-9 293 803001 287 803001-1 287 803001-2 287 803003 297 803003-1 297 803003-10 297 803003-11 297 803003-12 297 803003-13 297 803003-14 297 803003-15 297 803003-2 297 803003-3 297 803003-4 297 803003-5 297 803003-6 297 803003-7 297 803003-8 297 803003-9 297 803004 288 803004-1 288 803004-10 288 803004-11 288 803004-2 288 803004-3 288 803004-4 288 803004-5 288 803004-6 288 803004-7 288 803004-8 288 803004-9 288 803005 288 803005-1 288 803005-2 288 803005-3 288 803005-4 288 803005-5 288 805001 205 805002 300 805002-1 300 805002-10 300 805002-11 300 805002-12 300 805002-13 300 805002-14 300 805002-15 300 805002-16 300 805002-17…18 300 805002-19 300 805002-2 300 805002-20 300 805002-21 300 805002-22 300 805002-23 300 805002-3 300 805002-4 300 805002-5 300 805002-6 300 805002-7 300 805002-8 300 805002-9 300 805003 288 805003-1 288 805003-2 288 805003-3 288 805007 307 805007-1 307 805007-10 307 805007-11 307
307
307
307
307
307 805007-5 307 805007-6 307 805007-7 307 805007-8 307
307 805010 299 805011 299 805012 304 805015 292 805015-1 292 805015-10 292 805015-2 292 805018 300 805019 199 806001 294 806001-1 294 806001-10 294 806001-11 294 806001-12 294 806001-13 294 806001-2 294 806001-3 294 806001-4 294 806001-5 294 806001-6 294 806001-7 294 806001-8 294 806001-9 294 807001 204 807001-1 204 807001-2 204 807001-3 204 808001 302 809007 299 809007-1 299 809007-10 299 809007-11 300 809007-12 300 809007-13 300 809007-14 300 809007-15 300 809007-16 300 809007-17 300 809007-18 299 809007-19 299 809007-2 299 809007-20 299 809007-21 299 809007-22 299 809007-23 299 809007-24 299 809007-25 299 809007-26 299 809007-27 299 809007-28 299 809007-29 299 809007-3 299 809007-30 299 809007-31 299 809007-32 300 809007-4 299 809007-5 299 809007-6 299 809007-7 299 809007-8 299 809007-9 299 810002 291 810002-1 291 810002-2 291 810002-3 291 810002-4 291 810002-5 291 810002-6 291 810003 296 810004 296 810005 303 810006 298 8103703 167 8103704 167 8103705 167 81037055 167 8103706 167 8103707 167 8103708 167 8103709 167 8103710 167 811002 297 811002-1 297 811002-10 297 811002-11 297 811002-12 297 811002-13 297 811002-14 297 811002-15 297 811002-16 297 811002-17 297 811002-18 297 811002-19 297 811002-2 297 811002-20 297 811002-21 297 811002-22 297 811002-23 297 811002-24 297 811002-25 297 811002-26 297 811002-27 297 811002-28 297 811002-29 297 811002-3 297 811002-4 297 811002-5 297
297
297
297
297
297 811003-27 297 811003-32 297 811003-36 297 8113700 167 8113701 167 8113702 167 8113703 167 812001 302 812001-1 302 812001-2 302 812001-3 302 812001-4 302 812001-5 302 812001-6 302 812001-7 302 812001-8 302 812002 291 812002-1 291 812002-2 291 812002-3 291
291
805007-12
805007-13
805007-2
805007-3
805007-4
805007-9
811002-6
811002-7
811002-8
811002-9
811003
812002-4

818021-4

818024-14

818024-15

818024-3

SONIC-EQUIPMENT.COM | 415 812002-5 291 812003 296 812006 300 812007 296 812008 297 8123700 167 8123701 167 8123702 167 8123703 167 813001 290 813002 290 813003 216 81302 290 81303 290 81304 290 81305 290 81306 290 81307 290 81308 290 81315 290 81316 290 81317 290 8133704 167 81337055 167 81337065 167 814001 301 814002 301 81413703 167 81413704 167 81413705 167 81413706 167 81413707 167 81413708 167 81413710 167 8143703 167 8143704 167 8143705 167 81437055 167 8143706 167 8143707 167 8143708 167 8143709 167 8143710 167 815001 62 815002 303 8153705 168 8153710 168 8153715 168 8153720 168 8153725 168 8153727 168 8153730 168 8153740 168 8153745 168 8153750 168 816001 301 81613710 168 81613715 168 81613720 168 81613725 168 81613727 168 81613730 168 81613740 168 8163706 167 8163707 167 8163708 167 8163709 167 8163710 167 8163715 167 8163720 167 8163725 167 8163727 167 8163730 167 8163740 167 817006 206 817007 206 8173706 168 8173707 168 8173708 168 8173709 168 8173710 168 8173715 168 8173720 168 8173725 168 8173727 168 8173730 168 8173740 168 818001 303 818002 303 818003 303 818004 304 818004-1 304 818004-2 304 818004-3 304 818004-4 304 818004-5 304 818004-6 304 818004-7 304 818007 295 818007-1 295 818007-10 295 818007-11 295 818007-12 295 818007-13 295 818007-14 295 818007-15 295 818007-16 295 818007-17 295 818007-18 295 818007-2 295 818007-3 295 818007-4 295 818007-5 295 818007-6 295 818007-7 295 818007-8 295 818007-9 295 818008 303 818009 304 818010 304 818011 304 818014 305 818015 305 818016 305 818016-1 305 818016-10 305 818016-11 305 818016-12 305 818016-13 305 818016-14 305 818016-15 305 818016-16 305 818016-17 305 818016-2 305 818016-3 305 818016-4 305 818016-5 305 818016-6 305 818016-7 305 818016-8 305 818016-9 305 818017 305 818021 306 818021-1 306 818021-10 306 818021-11 306 818021-12 306 818021-13 306 818021-14 306 818021-15 306 818021-2 306 818021-3 306
306 818021-5 306 818021-6 306 818021-7 306 818021-8 306 818021-9 306 818023 307 818024-1 307 818024-10 307 818024-11 307 818024-12 307 818024-13 307
307
307
307
307
307
307
307
307
307
307
307
307
307 818024-6 307 818024-7 307 818024-8 307 818024-9 307 818025 307 818026 206 818026-1 206 818026-10 206 818026-11 206
206
206 818026-14 206 818026-15 206 818026-17 206 818026-19 206 818026-2 206 818026-21 206 818026-6 206 818026-8 206 818028 306 818029 305 8183704 168 8183705 168 8183706 168 8183708 168 8183710 168 819001 306 819001-1 306 819001-2 306 819001-3 306 819001-4 306 819002 306 819002-1 306 819002-2 306 819002-3 306 819002-4 306 819002-5 306 819005 304 819008 307 819009 305 8193704 168 8193705 168 8193706 168 8193707 168 8193708 168 8193710 168 820006 306 820006-1 306 820006-2 306 820006-3 306 820006-4 306 820007 300 820014 292 820016 293 820017 300 820018 377 820019 302 820021 294 820022 377 82090007 170 8209003 170 8209004 170 8209005 170 82090055 170 8209006 170 8209008 170 8209009 170 8209010 170 821001 288 8214801 168 8214802 168 8214803 168 822001 295 822002 295 822003 294 8224801 168 8224802 168 8224803 168 8233608 176 82348055 169 8234806 169 8234807 169 8234808 169 824002 305 82414803 170 82414804 170 82414805 170 824148055 170 82414806 170 82414808 170 82414810 170 82414812 170 82414813 170 8242704 169 8242705 169 8242706 169 8242707 169 8242708 169 8242709 169 8242710 169 8242711 169 8242712 169 8244803 169 8244804 169 8244805 169 82448055 169 8244806 169 8244807 169 8244808 169 8244809 169 8244810 169 8244811 169 8244812 169 8249003 169 8249004 169 8249005 169 82490055 169 8249006 169 8249007 169 8249008 169 8249009 169 8249010 169 8249011 169 825001 300 826001 305 8262710 169 8262715 169
818024-16
818024-17
818024-18
818024-19
818024-2
818024-20
818024-21
818024-22
818024-4
818024-5
818026-12
818026-13
| SONIC-EQUIPMENT.COM 416 Index 8262720 169 8262725 169 8262727 169 8262730 169 8262740 169 8262745 169 8262750 169 8262755 169 8264808 170 8264810 170 8264815 170 8264820 170 8264825 170 8264827 170 8264830 170 8264840 170 8264845 170 8264850 170 8264855 170 8264860 170 8269008 170 8269010 170 8269015 170 8269020 170 8269025 170 8269027 170 8269030 170 8269040 170 8269045 170 8269050 170 8274808 170 8274810 170 8274815 170 8274820 170 8274825 170 8274827 170 8274830 170 8274840 170 8274845 170 8274850 170 8274855 170 8274860 170 8279008 170 8279010 170 8279015 170 8279020 170 8279025 170 8279027 170 8279030 170 8279040 170 8279045 170 8279050 170 828001 295 828001-1 295 828001-2 295 828001-3 295 828001-4 295 828001-5 295 8284804 171 8284805 171 8284806 171 8284808 171 8284809 171 8284810 171 8284812 171 8289005 171 8289006 171 8289008 171 8289009 171 8289010 171 8289012 171 829001 298 829001-1 298 829001-2 298 829001-3 298 829002 301 829002-01 301 829002-02 301 829002-03 301 829002-04 301 829002-05 301 829002-06 301 829003 303 829003-01 303 829003-02 303 829003-03 303 829003-04 303 829003-05 303 829003-06 303 829003-07 303 829003-08 303 829003-09 303 829003-10 303 829003-11 303 829003-12 303 829003-13 303 829004 293 829005 298 829006 293 829007 291 829008 294 829009 294 829015 332, 346 829016 317, 321, 332, 338 829017 315, 317, 333 829018 318, 327, 338 829019 318 829020 318 829021 318 829022 319, 333, 342 829023 319, 321, 338 829024 319, 322 829025 319 829026 320, 327, 333, 338 829027 311 829028 311 829029 311 829030 312, 339 829031 312 829032 312 829033 313 829034 313 829035 339 829036 339 829037 328, 345 829038 340 829039 320, 333, 340 829040 322, 328, 340, 345 829041 320, 341 829042 322 829043 322 829044 323, 354 829045 323 829046 323, 329 829047 323 829048 324, 354 829049 324 829050 324 829051 325 829052 325 829053 327 829054 331, 342 829055 331, 334, 342 829056 331, 334, 343 829057 343 829058 343 829059 343 829060 334 829062 335, 344, 346 829063 321, 325, 335, 341 829064 316, 335, 346 829065 335, 347 829066 347 829067 347 829068 348 829069 348 829070 348 829071 348 829072 349 829073 349 829074 349 829075 349 829076 350 829077 350 829078 350 829079 354 829081 355 829082 344, 355 829083 316, 329 829084 316, 329 829085 317, 329 829086 317, 330 829088 321, 325, 336 829089 326, 355 829090 351 829091 336 829092 351 829093 351 829094 326 829095 326 829096 356 829097 313 829098 356 829099 351, 355 829100 326, 351 829101 313 829102 314 829103 351 829104 314 829105 314 829106 326 829107 326, 328, 341, 345 829108 352 829109 352 829111 293 829113 292 829115 352 829116 336 829117 352 829118 353 829119 336 829120 330 829121 315 829122 353 829123 353 829124 330 829125 353 829126 328, 345 829127 337 829128 337 829129 354 829130 332, 344 829131 315 829132 337 829133 355 829134 330, 332, 337, 344 829135 327 829136 268 829214 330 8294804 171 8294805 171 8294806 171 8294807 171 8294808 171 8294809 171 8294810 171 8294812 171 8299005 171 8299006 171 8299007 171 8299008 171 8299009 171 8299010 171 8299012 171 830001 217 83010005 172 830100055 172 83010006 172 83010007 172 83010008 172 83010009 172 83010010 172 83010011 172 83010012 172 83010013 172 83010014 172 83014005 172 83014006 172 83014007 172 83014008 172 83014010 172 83014012 172 832001 377 832002 377 83406204 171 83406205 171 83406206 171 83406207 171 83406208 171 83406209 171 83406210 171 83406212 171 83406214 171 83406217 171 83406219 171 83406222 171 83406224 171 83406255 171 83410005 171 83410006 171 83410007 171 83410008 171 83410009 171 83410010 171 83410011 171 83410012 171 83410013 171 83410014 171 83410017 171 834106205 172 834106206 172 834106207 172 834106208 172 834106209 172 834106210 172 834106212 172 834106213 172 834106214 172 834106217 172 83414007 172 83414010 172 83414011 172 83414013 172 83414014 172 83424806 172 8347507 177 83606220 172 83606225 172 83606227 172 83606230 172 83606240 172 83606245 172 83606250 172 83606255 172
SONIC-EQUIPMENT.COM | 417 83606260 172 83606270 172 836100100 172 83610020 172 83610025 172 83610027 172 83610030 172 83610040 172 83610045 172 83610050 172 83610055 172 83610060 172 83610070 172 83610080 172 83610090 172 83614040 173 83614045 173 83614050 173 83614055 173 83614060 173 83614070 173 8363020 177 83706220 173 83706225 173 83706227 173 83706230 173 83706240 173 83706245 173 83706250 173 83706255 173 83706260 173 83706270 173 83710020 173 83710025 173 83710027 173 83710030 173 83710040 173 83710045 173 83710050 173 83710055 173 83710060 173 83710070 173 83710080 173 83805517 174 83806205 173 83806206 173 83806208 173 83806209 173 83806210 173 83806212 173 83806214 173 83806216 173 83806216T 173 83810005 173 83810006 173 83810008 173 83810009 173 83810010 173 83810012 173 83810014 173 83810016 173 83810016T 173 83814010 173 83814012 173 83814014 173 83880005 173 83880010 173 83906205 174 83906206 174 83906207 174 83906208 174 83906209 174 83906210 174 83906211 174 83906212 174 83906213 174 83906214 174 83906216 174 83910005 174 83910006 174 83910007 174 83910008 174 83910009 174 83910010 174 83910012 174 83910013 174 83910014 174 83910016 174 83912011 174 83914010 174 83924007 174 83924008 174 86404314 175 86404317 175 86404319 175 86406006 175 86406007 175 86406008 175 86406009 175 86406010 175 86406012 175 86406014 175 86406017 175 86406019 175 86606025 175 86606027 175 86606030 175 86606040 175 86606045 175 86606050 175 86606055 175 86606060 175 86606070 175 86804314 175 86804316 175 86804318 175 86807814 174 86807816 174 86807818 174 86907805 174 86907806 174 86907807 174 86907808 174 86907809 174 86907810 174 86907812 174 86907813 174 86907814 174 871192 367 87810518 174 9 9112501 175 9112502 175 9112503 175 9132503 175 9132504 175 9132505 175 9132506 175 9142503 175 9142504 175 9142505 175 9182504 176 9182505 176 9213001 176 9213002 176 9213003 176 9213004 176 9213601 176 9213602 176 9213603 176 9213604 176 9223002 176 9223003 176 9223004 176 9233006 176 9233008 176 9233010 176 9233012 176 9233605 176 9233606 176 9233610 176 9233612 176 9243007 176 9243008 176 9243010 176 9243012 176 9243014 176 9243604 176 9243605 176 9243606 176 9243608 176 9263030 177 9263040 177 9263045 177 9263050 177 9263055 177 9283006 177 9283008 177 9283010 177 9343004 177 9343005 177 9343006 177 9343007 177 9343008 177 9343010 177 9343012 177 9347504 177 9347505 177 9347506 177 9347509 177 9347510 177 9347512 177 9363025 177 9363030 177 9363040 177 9363045 177 9363050 177 9363055 177 9363060 177 9367520 177 9367525 177 9367530 177 9367540 177 9367545 177 9367550 177 9367555 177 9367560 177 9373015 178 9373020 178 9373025 178 9373030 178 9373040 178 9373045 178 9383005 178 9383006 178 9383008 178 9383010 178 9383012 178 9387505 178 9387506 178 9387508 178 9387510 178 9387512 178 A ASE27600100000 52 ASE27600300000 50 P PL-S1 401 PL-S10 401 PL-S11 401 PL-S2 401 PL-S4 401 PL-S5 401 PL-S8 401 PL-S9 401 PL-WB 401 PL-WW 401 S S403 264 S404 264 S407 264 S409 264 S409-1 264 S413 264
| SONIC-EQUIPMENT.COM 418 Index WORK EFFICIENT WORK WITH SONIC
SONIC-EQUIPMENT.COM | 419

Alpha index

| SONIC-EQUIPMENT.COM 420
index A Accessory set, SFS 108 Accessories for NEXT toolboxes 59 Accessories for MSS+ 85 Adaptors 163 Adaptor set 269 Adaptor set, on rail 185 Adaptors for drills 293 Adjustable wrench 250 Air bag removal tool set 296 Airconditioning tool set 307 Alternator bit socket 206 Alternator tools 294-295 Assortment sets 386 Auxiliary belt tensioner spanner 337 Auxiliary drive belt wrench set 314 Axial joint tool 306 B Balance shaft alignment tool 315 Balance shaft setting kit 313 Ball joint separator 302 Battery charger 385 Belt gauge 303 Bin drawer for MSS 98 Bit holder 164 Bit set 178 Bit socket set 181 Bit socket set SAE, on rail 181, 185 Bit socket set SAE, SFS 114 Bit socket set, BMCS 257-258 Bit socket set, on rail 181-185 Bit socket set, SFS 108-110, 119,120,133,144 Bit sockets 167 Bit sockets, SAE 172 Bits 175-178 Blind hole bearing puller set 306 Blind rivet assortment 388 BMCS (Blow Mould Case Storage) 254 BMCS, empty 263 Body bolts and speed nuts assortment 388 Bolt twister socket set 205 Bolt, nut and washer assortment 388 Booster spare parts 384 Bottle jack 364 Bottle opener 401 Brake adaptor set 298 Brake bleeder wrench set 292 Brake caliper service set 299 Brake caliper socket 199 Brake fluid tester 296 Brake pipe corrosion tool 298 Brake piston rewinding cube 300 Brake piston spindle 299 Butt connector assortment 390 C Cable reels 371 Cambelt tensioner tool set 351 Cambelt timing kit 327 Camshaft holding tool 321,325,336 Camshaft setting tool 327 Camshaft valve timing kit 330 Can holder for NEXT toolbox 59 Can holder for toolbox originals 62 Car seat cover 382 Cardan socket 188-189, 192, 196, 200 Cardan socket set, on rail 183-184 Carry cases, filled 272-273 Carry cases, empty 272-273 Casters for NEXT toolboxes 59 Casters for toolboxes originals 63-64 Casters for MSS+ 85 Casters for topbox 63-64 Casters for service carts originals 64 Center punch 221 Chisel 220 Chisel set, SFS 139 Circle nose pliers 217 Circlip assortment 387 Circlip pliers 217 Circlip pliers set, SFS 112 Clamp tensioner cv boot tool 300 Cleaning brush kit 300 Clevis pin assortment 389 Clip remover 287 Clutch aligner set 303 Combination pliers 215 Combination set SAE, SFS 131 Combination set, BMCS 255-257, 263 Combination set, SFS 128-129, 131-132, 136, 142-146, 149-150 Combination wrench 243 Combination wrench set 251 Combination wrench set SAE, SFS 114,131 Combination wrench set, SAE 251 Combination wrench set, SFS 110-111, 280-281 Combination wrench, SAE 244-245, 247-249 Common rail flow meter set 304 Compression test set 304 Connector assortment 388, 390 Cotter pin driver 287 Cotter pin puller 226 Crankshaft holding tool 314, 326, 336, 353, 355 Crawfoot 301 Crawfoot set 301 Creeper 381 Crimp terminals assortment 389 Crimping pliers set 290 Crocodile clip assortment 388 Cross rim wrench 292 Cutting set, SFS 137-138, 146, 236, 305 D Damper pulley puller holder wrench set 291 Diagonal pliers 215 Diesel injection pump timing kit 356 Diesel injector seat cleaner set 301 Diesel injector socket set 304 Disc ratchet 159 Disc ratchet set 268 Displays 395 Document holder for toolbox 63
Alpha
SONIC-EQUIPMENT.COM | 421 Doors and shelves for NEXT toolboxes 59 Door lock dismantling tool 291 Double open wrench 245 Double open wrench set, SAE 131 Double open wrench set, SFS 110, 121, 130, 137, 152 Double open wrench, SAE 245 Double ring wrench 250 Doughnut stretcher 306 Drain pan 303 Drain plug gasket assortment 389 Drain plug key set 293 Drawer rails for NEXT toolbox 58 Drawer rails for original toolbox 64 Drawer rails for MSS+ 84 Drawer rails for MSS 99 Drawers for MSS+ 84 Drawers for MSS 98 Drawers for NEXT toolbox 58 Drawers for original toolbox 64-66 Drawers for topbox 66 E E-circlip assortment 387 Empty tray 96 Empty topbox 277 Engine crane 364 Engine service lit 355 Engine timing kit 310 Engine timing kit, BMW 311-313, 339 Engine timing kit, Chevrolet, Chrysler 315-317, 317, 333, 335,346 Engine timing kit, Fiat, Alfa 317-321 Engine timing kit, Ford 321-327 Engine timing kit, Honda 327 Engine timing kit, Iveco 327 Engine timing kit, Jaguar 328 Engine timing kit, Jeep 329 Engine timing kit, Mazda 329 Engine timing kit, Mercedes 330 Engine timing kit, Nissan 331-332 Engine timing kit, Opel 332-337 Engine timing kit, PSA 338-341 Engine timing kit, Renault, Dacia 342-344 Engine timing kit, Rover, Land Rover 345 Engine timing kit, Saab 346-347 Engine timing kit, VAG, Audi, Volkswagen 347-354 Engine timing kit, Volvo 354-355 Extension 161-163, 292 Extension set 392 F Feeler gauge 380 Fender protection system 382 Fender protector 381 File 224 File set, SFS 113 Filled carry cases 272-273 Filled tool bag 274-275 Filled toolboxes 12-53 Filled topboxes 280 Fitting hook 306 Flag 401 Flare nut wrench 244 Flare nut wrench set 251 Flare nut wrench set, SAE 131 Flare nut wrench set, SFS 110, 121, 129-130, 137, 143, 147 Flare nut wrench, SAE 244 Flexible cable hose clamp removing pliers 291 Flexible hose clip driver set 268 Flywheel/ front pulley locking tool 332, 344 Foam spacer 113, 130, 143 Fork rod set 306 Front panel guide set 351 Front pulley holding tool 314 Front pulley locking tool 332, 344 Fuel pump drive belt kit 353 Fuel pump puller 326 Fuel sender/ pump clamping ring removal tool 294 G Gloves 381 Glow plug joint socket 205 Glow plug pliers 217 Glow plug socket 192 Glow plug socket set 205 Grease nipple assortment 388 Grill cover 381 Grip key sets, SFS 107, 125 Grommet assortment 388 H Half-moon wrench 250 Hammer 223 Hammer set, SFS 112, 122-124, 127 Handle for toolbox 61 Heat gun 377 Hex ball grip key 211 Hex ball grip key set, SFS 107, 125 Hex key set 231-232 Hex key set, SAE 232 Hex key wrench 234 Hex key wrench set, SFS 107 Hex key wrench, SAE 232 Hex nut driver 211 Hex nut driver set, SFS 107, 115, 125 Hinged driver 245 Hinged socket wrench 244 Hinged socket wrench set, SFS 110, 121, 130, 143 Hollow pin assortment 387 Hook 228 Hook for MSS+ 80 Hook for MSS 95 Hook set 227 Hook set, SFS 113 Hose clamp pliers set 291 Hose clamp set 388 I Impact adaptor 163 Impact adaptor set 120 Impact bit holder 164 Impact bit socket 174-175 Impact bit socket set 204 Impact driver 267 Impact extension 162 Impact socket 197-206 Impact socket set 204-206 Impact socket set, SFS 120-121 Impact universal joint 163 Infrared thermometer 377 Injection pump wrench 249 Insert holder for bits 164 J Jack 364 Jack stands 364 Jacket 402 K Key cord 401 Key for NEXT toolboxes 59 Key ring 401 Locks and locking system NEXT toolboxes 59 Locks and locking system MSS+ 85 Key with lock for storage systems 66 Knee pad 381 Knife 224 L Laptop holder for MSS+ 81 Laptop holder for NEXT toolboxes 49 Lights 373-375 Lock ring pliers 217

Alpha index

| SONIC-EQUIPMENT.COM 422
Locking nut assortment 390 Locking pliers 218 Long nose pliers 217 M Magnet pick-up 229 Magnetic bowl 303 Magnetic tray 381 Measuring tape 379 Metal knob for MSS shelves 98 Mirror 228 Monitor and laptop holder 49 MSS (Modular Storage System) 88 MSS+ (Modular Storage Solutions Plus) 70 Multi function socket set 204 Multi purpose pan 382 Multimeter 378 N Nut assortment 388 Nut breaker set 306 O Offset open end wrench 249 Offset open end wrench set, SAE 131 Offset open end wrench set, SFS 152 Offset open end wrench, SAE 249 Oil drain pan 304 Oil drain repair set 298 Oil drain plug remover set 294 Oil drain set 294 Oil filter cap 296 Oil filter pliers 219 Oil filter set 294 Oil filter set, SFS 111 Oil filter wrench 296 Oil pressure set 304 Oil pump alignment plate 326 O-ring assortment 387 Oxygen sensor socket 303 Oxygen sensor wrench 303 P Panel remover 226 Paper holder for NEXT toolbox 59 Paper holder for toolbox originals 61 Petrol engine test set 305 Pin assortment 387 Pin punch 221 Pin punch set 221 Pliers 215 Pliers holder for MSS 96 Pliers set, SFS 111-113, 122-124, 127, 137-138 Precision screwdriver set 212 Protractor 397 Pry bar 228 Pry bar set 287 Pry remover set 288 Puller 302-303 Puller set 291 Pulley wrench set 292 R Radiator hose remover 226 Radiator pressure test set 305 Ratchets 158 Ratchet screwdriver 211, 267 Ratcheting wrench 247 Ratcheting wrench set 254 Ratcheting wrench set, SFS 110, 121-122 Recycle bin for MSS+ 74 Recycle bin for MSS 91 Refractometer 295 Repair set ratchet 157-159 Repair set swivel handle 160 Repair set torque wrenches 241 Repair set universal joint 163 Reversible puller 302 Ring wrench 249-250 Ring wrench set, SAE 251 Ring wrench set, SFS 111 Ring wrench, SAE 249 Riveting nut pliers 308 Riveting pliers 219 Roller seat 382 Rubber mat for NEXT toolbox 58 Rubber mat for toolbox originals 60 Ruler 379 S S7 NEXT toolbox 12-13 S8 NEXT toolbox 14-17 S9 NEXT toolbox 18-25 S9 VAS toolbox 50-51 S12 NEXT toolbox 26-31 S12 VAS toolbox 52-53 S12XD NEXT toolbox 32-35 S13 NEXT toolbox 38-40 S14 NEXT toolbox 42-45 S15 NEXT toolbox 46-49 Sample set, BMCS 256, 401 Saw 223 Scissor jack 364 Scraper 226 Scraper set 287 Screwdriver 209 Screwdriver holder for MSS 96 Screwdriver set 212 Screwdriver set, SFS 106, 115, 127-128, 133, 141, 147, 151, Seal assortment 387 Sealing ring assortment 387 Separating fork 306 Service cart NEXT 54 Service cart 55 Shears 223 Shelf for MSS 99 Shirt 402 Shrink tube assortment 390 Shrinking hose assortment 387 Side table for toolbox 63 Skirting boards 99 Slide hammer puller set 302 Sliding T-handle 161 Slow motion system for reels 371 Snap ring assortment 387 Snap ring pliers 217 Snap ring pliers set, SFS 112, 123-124, 127, 137, 140 Socket set 204-206, 269
set impact, SFS 120-121
set SAE, on rail 181-185
set SAE, SFS 131
set, BMCS 256-262
set, on rail 181-185
set, SFS 281, 107-110, 119-121, 133-136, 144 Socket, SAE 188-189, 191, 195-196 Sockets 188-206 Spark plug pliers 217 Spark plug socket 203 Speedy grip 161 Spinner 161 Spiral socket set 206 Spreader tool for wheel bearing housing 294 Spring compressor 367 Spring compressor set 307 Stainless steel worktop for NEXT toolbox 58 Stainless steel worktop for toolbox 60 Storage case for MSS 96 Stripping pliers 216
plug removal tool 294 Sweater 402 Swivel grip handle 160 Synchroniser rings assortment 387
Socket
Socket
Socket
Socket
Socket
Socket
Sump
SONIC-EQUIPMENT.COM | 423 T Tablet holder for MSS+ 81 Taper punch 221 Tensile and compression springs assortment 387 Tent 401 Terminal release tool set 307 Test lead set 307 Tie raps 96 Tie rap holder for MSS 96 Timing chain fitting bridge 330 Timing chain locking kit 315 Timing chain tensioner lever 326 Timing tools 312-357 Tool holder 62 Tool bag 274-275 Tooth belt tool set 305 Torque impact adaptor socket set 205 Torque impact socket 197 Torque impact socket set 205-206 Torque multiplier 301 Torque wrench set 241 Torque wrenches 241 Torque wrenches NEXT 239 Tower pincers 216 TPMS set, BMCS 255 Transmission jack 364 Trash can for NEXT toolbox 59 Trash can for toolbox originals 63 Trim clip assortment 390-391 Trim pad tool 226 Trim removal 226 Twin camshaft locking tool 319 TX key set 232-233, 236 TX key wrench 235 TX key wrench set, SFS 107 TX set, BMCS 258, 260 TX wrench 250 Tyre carrier 365 Tyre profile gauge 379 Tyre repair tool set 295 Tyre valve driver 296 Tyre valve stem fitting tool 296 U Universal joint 163 Universal joint set, on rail 184 V Vacuum pump set 305 Valve setting kit 325 Vernier caliper 379 Vibration damper holding tool 353 Volt circuit tester 378 Voltage tester 378 W Washer assortment 388 Water pump pliers 216 Water pump puller kit 352 W-clip assortment 387 Wedge 289 Wedge set 126 Welder’s grip pliers 218 Wheel hanger set 293 Wheel nut key set 293, 268 Wheel socket 197-198 Wheel socket set 205 Wheel weight balance pliers 219 Wing and grill cover 381 Wiper removal kit 302 Wire brush 224 Wire stripper 216 Wooden worktop for toolbox originals 60-61 Wooden worktop for MSS+ 79 Worktops for NEXT toolboxes 58 Worktops for toolbox original 60, 61 Worktops for MSS+ 84 Wrench set 251-252 Wrench set SAE, SFS 131 Wrench set, BMCS 257, 260, 263 Wrench set, SAE 251-252 Wrench set, SFS 107, 110-111, 115, 121-122, 129-130, 134-137, 147, 149-150, 152 Wrenches 243-252 Wrenches, SAE 244-245, 247-249
| SONIC-EQUIPMENT.COM 424 WORK EFFICIENT WORK WITH
SONIC
SONIC-EQUIPMENT.COM | 425

Conversion tables

CONVERSION TABLE FROM INCHES TO MILIMETRES

| SONIC-EQUIPMENT.COM 426
CONVERSION
MM
INCHES: 69,850 MM
CONVERSION
INCHES
MM:
114,300 MM INCHES MM 1 2 3 4 5 6 7 8 9 MILLIMETRES 0 0 25,400 50,800 76,200 101,600 127,000 152,400 177,800 203,200 228,600 1/64 0,397 25,797 51,197 76,597 101,997 127,397 152,797 178,197 203,597 228,997 1/32 0,794 26,194 51,594 76,994 102,394 127,794 153,194 178,594 203,994 229,394 3/64 1,191 26,591 51,991 77,391 102,791 128,191 153,591 178,991 204,391 229,791 1/16 1,588 26,988 52,388 77,788 103,188 128,588 153,988 179,388 204,788 230,188 5/64 1,984 27,384 52,784 78,184 103,584 128,984 154,384 179,784 205,184 230,584 3/32 2,381 27,781 53,181 78,581 103,981 129,381 154,781 180,181 205,581 230,981 7/64 2,778 28,178 53,578 78,978 104,378 129,778 155,178 180,578 205,978 231,378 1/8 3,175 28,575 53,975 79,375 104,775 130,175 155,575 180,975 206,375 231,775 9/64 3,572 28,972 54,372 79,772 105,172 130,572 155,972 181,372 206,772 232,172 5/32 3,969 29,369 54,769 80,169 105,569 130,969 156,369 181,769 207,169 232,569 11/64 4,366 29,766 55,166 80,566 105,966 131,366 156,766 182,166 207,566 232,966 3/16 4,762 30,162 55,562 80,962 106,362 131,762 157,162 182,562 207,962 233,362 13/64 5,159 30,559 55,959 81,359 106,759 132,159 157,559 182,959 208,359 233,759 7/32 5,556 30,956 56,356 81,756 107,156 132,556 157,956 183,356 208,756 234,156 15/64 5,953 31,353 56,753 82,153 107,553 132,953 158,353 183,753 209,153 234,553 1/4 6,35 31,750 57,150 82,550 107,950 133,350 158,750 184,150 209,550 234,950 17/64 6,747 32,147 57,547 82,947 108,347 133,747 159,147 184,547 209,947 235,347 9/32 7,144 32,544 57,944 83,344 108,744 134,144 159,544 184,944 210,344 235,744 19/64 7,541 32,941 58,341 83,741 109,141 134,541 159,941 185,341 210,741 236,141 5/16 7,938 33,338 58,738 84,138 109,538 134,938 160,338 185,738 211,138 236,538 21/64 8,334 33,734 59,134 84,534 109,934 135,334 160,734 186,134 211,534 236,934 11/32 8,731 34,131 59,531 84,931 110,331 135,731 161,131 186,531 211,931 237,331 23/64 9,128 34,528 59,928 85,328 110,728 136,128 161,528 186,928 212,328 237,728 3/8 9,525 34,925 60,325 85,725 111,125 136,525 161,925 187,325 212,725 238,125 25/64 9,922 35,322 60,722 86,122 111,522 136,922 162,322 187,722 213,122 238,522 13/32 10,319 35,719 61,119 86,519 111,919 137,319 162,719 188,119 213,519 238,919 27/64 10,716 36,116 61,516 86,916 112,316 137,716 163,116 188,516 213,916 239,316 7/16 11,112 36,512 61,912 87,312 112,712 138,112 163,512 188,912 214,312 239,712 29/64 11,509 36,909 62,309 87,709 113,109 138,509 163,909 189,309 214,709 240,109 15/32 11,906 37,306 62,706 88,106 113,506 138,906 164,306 189,706 215,106 240,506 31/64 12,303 37,703 63,103 88,503 113,903 139,303 164,703 190,103 215,503 240,903 1/2 12,7 38,100 63,500 88,900 114,300 139,700 165,100 190,500 215,900 241,300 33/64 13,097 38,497 63,897 89,297 114,697 140,097 165,497 190,897 216,297 241,697 17/32 13,494 38,894 64,294 89,694 115,094 140,494 165,894 191,294 216,694 242,094 35/64 13,891 39,291 64,691 90,091 115,491 140,891 166,291 191,691 217,091 242,491 9/16 14,288 39,688 65,088 90,488 115,888 141,288 166,688 192,088 217,488 242,888 37/64 14,684 40,084 65,484 90,884 116,284 141,684 167,084 192,484 217,884 243,284 19/32 15,081 40,481 65,881 91,281 116,681 142,081 167,481 192,881 218,281 243,681 39/64 15,478 40,878 66,278 91,678 117,078 142,478 167,878 193,278 218,678 244,078 5/8 15,875 41,275 66,675 92,075 117,475 142,875 168,275 193,675 219,075 244,475 41/64 16,272 41,672 67,072 92,472 117,872 143,272 168,672 194,072 219,472 244,872 21/32 16,669 42,069 67,469 92,869 118,269 143,669 169,069 194,469 219,869 245,269 43/64 17,066 42,466 67,866 93,266 118,666 144,066 169,466 194,866 220,266 245,666 11/16 17,462 42,862 68,262 93,662 119,062 144,462 169,862 195,262 220,662 246,062 45/64 17,859 43,259 68,659 94,059 119,459 144,859 170,259 195,659 221,059 246,459 23/32 18,256 43,656 69,056 94,456 119,856 145,256 170,656 196,056 221,456 246,856 47/64 18,653 44,053 69,453 94,853 120,253 145,653 171,053 196,453 221,853 247,253 3/4 19,05 44,450 69,850 95,250 120,650 146,050 171,450 196,850 222,250 247,650 49/64 19,447 44,847 70,247 95,647 121,047 146,447 171,847 197,247 222,647 248,047 25/32 19,844 45,244 70,644 96,044 121,444 146,844 172,244 197,644 223,044 248,444 51/64 20,241 45,641 71,041 96,441 121,841 147,241 172,641 198,041 223,441 248,841 13/16 20,638 46,038 71,438 96,838 122,238 147,638 173,038 198,438 223,838 249,238 53/64 21,034 46,434 71,834 97,234 122,634 148,034 173,434 198,834 224,234 249,634 27/23 21,431 46,831 72,231 97,631 123,031 148,431 173,831 199,231 224,631 250,031 55/64 21,828 47,228 72,628 98,028 123,428 148,828 174,228 199,628 225,028 250,428 7/8 22,225 47,625 73,025 98,425 123,825 149,225 174,625 200,025 225,425 250,825 57/64 22,622 48,022 73,422 98,822 124,222 149,622 175,022 200,422 225,822 251,222 29/32 23,019 48,419 73,819 99,219 124,619 150,019 175,419 200,819 226,219 251,619 59/64 23,416 48,816 74,216 99,616 125,016 150,416 175,816 201,216 226,616 252,016 15/16 23,812 49,212 74,612 100,012 125,412 150,812 176,212 201,612 227,012 252,412 61/64 24,209 49,609 75,009 100,409 125,809 151,209 176,609 202,009 227,409 252,809 31/32 24,606 50,006 75,406 100,806 126,206 151,606 177,006 202,406 227,806 253,206 63/64 25,003 50,403 75,803 101,203 126,603 152,003 177,403 202,803 228,203 253,603
EXAMPLE FROM
TO
= 2.3/4“
EXAMPLE FROM
TO
4.1/2“=

CONVERSION TABLES FOR TORQUE WRENCHES

SONIC-EQUIPMENT.COM | 427
CONVERSION FACTORS UNIT SI UNIT METRIC UNIT USA/GB UNIT CNM DNM NM CMKG MKG FT.LB. IN.LB IN.OZ
CNM 1,0000 0,1000 0,0100 0,1020 0,0010 0,0074 0,0885 1,4161 1 DNM 10,0000 1,0000 0,1000 1,0197 0,0102 0,0738 0,8851 14,1612 1 NM 100,0000 10,0000 1,0000 10,1972 0,1020 0,7376 8,8508 141,6123 1 CMKG 9,8067 0,9807 0,0981 1,0000 0,0100 0,0723 0,8680 13,8874
MKG 980,6650 98,0665 9,8067 100,0000 1,0000 7,2330 86,7964 1388,7422 1 FT.LB 135,5818 13,5581 1,3558 13,8255 0,1383 1,0000 12,0000 192,0000 1 IN.LB 11,2985 1,1298 0,1130 1,1521 0,0115 0,0833 1,0000 16,0000 1 IN.OZ 0,7062 0,0706 0,0071 0,0720 0,0007 0,0052 0,0625 1,0000 CONVERSION NM TO MKG 1 NM = 0,10197 MKG NM 0 1 2 3 4 5 6 7 8 9 0 0,00 0,10 0,20 0,31 0,41 0,51 0,61 0,71 0,82 0,92 10 1,02 1,12 1,22 1,33 1,43 1,53 1,63 1,73 1,84 1,94 20 2,04 2,14 2,24 2,35 2,45 2,55 2,65 2,75 2,86 2,96 30 3,06 3,16 3,26 3,37 3,47 3,57 3,67 3,77 3,87 3,98 40 4,08 4,18 4,28 4,38 4,49 4,59 4,69 4,79 4,89 5,00 50 5,10 5,20 5,30 5,40 5,51 5,61 5,71 5,81 5,91 6,02 60 6,12 6,22 6,32 6,42 6,53 6,63 6,73 6,83 6,93 7,04 70 7,14 7,24 7,34 7,44 7,55 7,65 7,75 7,85 7,95 8,06 80 8,16 8,26 8,36 8,46 8,57 8,67 8,77 8,87 8,97 9,08 90 9,18 9,28 9,38 9,48 9,59 9,69 9,79 9,89 9,99 10,10 100 10,2 10,3 10,4 10,5 10,6 10,71 10,81 10,91 11,01 11,11 CONVERSION MKG TO NM 1 MKG = 9,80665 NM MKG 0 1 2 3 4 5 6 7 8 9 0 0 9,81 19,61 29,42 39,23 49,03 58,84 68,65 78,45 88,26 10 98,07 107,87 117,68 127,49 137,29 147,10 156,91 166,71 176,52 186,33 20 196,13 205,94 215,75 225,55 235,36 245,17 254,97 264,78 274,59 284,39 30 294,2 304,01 313,81 323,62 333,43 343,23 353,04 362,85 372,65 382,46 40 392,27 402,07 411,88 421,69 431,49 441,30 451,11 460,91 470,72 480,53 50 490,33 500,14 509,95 519,75 529,56 539,37 549,17 558,98 568,79 578,59 60 588,4 598,21 608,01 617,82 627,63 637,43 647,24 657,05 666,85 676,66 70 686,47 696,27 706,08 715,89 725,69 735,50 745,31 755,11 764,92 774,73 80 784,53 794,34 804,15 813,95 823,76 833,57 843,37 853,18 862,99 872,79 90 882,6 892,41 902,21 912,02 921,83 931,63 941,44 951,25 961,05 970,86 100 980,67 990,47 1000,28 1010,08 1019,89 1029,70 1039,50 1059,12 1059,12 1068,92 CONVERSION NM TO FT.LB. 1 NM = 0,73756 FT.LB. NM 0 1 2 3 4 5 6 7 8 9 0 0,00 0,74 1,48 2,21 2,95 3,69 4,43 5,16 5,90 6,64 10 7,38 8,11 8,85 9,59 10,33 11,06 11,80 12,54 13,28 14,01 20 14,75 15,49 16,23 16,96 17,7 18,44 19,18 19,91 20,65 21,39 30 22,13 22,86 23,60 24,34 25,08 25,81 26,55 27,29 28,03 28,76 40 29,50 30,24 30,98 31,72 32,45 33,19 33,93 34,67 35,40 36,14 50 36,88 37,62 38,35 39,09 39,83 40,57 41,30 42,04 42,78 43,52 60 44,25 44,99 45,73 46,47 47,2 47,94 48,68 49,42 50,15 50,89 70 51,63 52,37 53,10 53,84 54,58 55,32 56,05 56,79 57,53 58,27 80 59,00 59,74 60,48 61,22 61,96 62,69 63,43 64,17 64,91 65,64 90 66,38 67,12 67,86 68,59 69,33 70,07 70,81 71,54 72,28 73,02 100 73,76 74,49 75,23 75,97 76,71 77,44 78,18 78,92 79,66 80,39 CONVERSION FT.LB TO NM 1 FT.LB. -> 1,35581 NM FT.LB. 0 1 2 3 4 5 6 7 8 9 0 0,00 1,36 2,71 4,07 5,42 6,78 8,13 9,49 10,85 12,20 10 13,56 14,91 16,27 17,63 18,98 20,34 21,69 23,05 24,40 25,76 20 27,12 28,47 29,83 31,18 32,54 33,90 35,25 36,61 37,96 39,32 30 40,67 42,03 43,39 44,74 46,10 47,45 48,81 50,16 51,52 52,88 40 54,23 55,59 56,94 58,30 59,66 61,01 62,37 63,72 65,08 66,43 50 67,79 69,15 70,50 71,86 73,21 74,57 75,93 77,28 78,64 79,99 60 81,35 82,70 84,06 85,42 86,77 88,13 89,48 90,84 92,20 93,55 70 94,91 96,26 97,62 98,97 00,33 101,69 103,04 104,40 105,75 07,11 80 108,46 109,82 111,18 12,53 13,89 115,24 116,60 117,96 119,31 20,67 90 122,02 123,38 124,73 26,09 27,45 128,80 130,16 131,51 132,87 34,23 100 135,58 136,94 138,29 39,65 41,00 142,36 143,72 145 07 146,43 47 78 CONVERSION IN.LB. TO NM 1 NM = 8,85077 IN.LB. Nm 0 1 2 3 4 5 6 7 8 9 0 0,00 8,85 17,70 26,55 35,40 44,25 53,10 61,96 70,81 79,66 10 88,51 97,36 106,21 115,06 123,91 132,76 141,61 150,46 159,31 168,16 20 177,02 185,87 194,72 203,57 212,42 221,27 230,12 238,97 247,82 256,67 30 265,52 274,37 283,22 292,08 300,93 309,78 318,63 327,48 336,33 345,18 40 354,03 362,88 371,73 380,58 389,43 398,28 407,14 415,99 424,84 433,69 50 442,54 451,39 460,24 469,09 477,94 486,79 495,64 504,49 513,34 522,20 60 531,05 539,90 548,75 557,60 566,45 575,30 584,15 593,00 601,85 610,70 70 619,55 628,40 637,26 646,11 654,96 663,81 672,66 681,51 690,36 699,21 80 708,06 716,91 725,76 734,61 743,46 752,32 761,17 770,02 778,87 787,72 90 796,57 805,42 814,27 823,12 831,97 840,82 849,67 858,52 867,38 876,23 100 885,08 893,93 902,78 911,63 920,48 929,33 938,18 947,03 955,88 964,73 CONVERSION NM TO IN.LB. 1 IN.LB. -> 0,11298 NM in.lb. 0 1 2 3 4 5 6 7 8 9 0 0,00 0,11 0,23 0,34 0,45 0,56 0,68 0,79 0,90 1,02 10 1,13 1,24 1,36 1,47 1,58 1,69 1,81 1,92 2,03 2,15 20 2,26 2,37 2,49 2,60 2,71 2,82 2,94 3,05 3,16 3,28 30 3,39 3,50 3,62 3,73 3,84 3,95 4,07 4,18 4,29 4,41 40 4,52 4,63 4,75 4,86 4,97 5,08 5,20 5,31 5,42 5,54 50 5,65 5,76 5,87 5,99 6,10 6,21 6,33 6,44 6,55 6,67 60 6,78 6,89 7,00 7,12 7,23 7,34 7,46 7,57 7,68 7,80 70 7,91 8,02 8,13 8,25 8,36 8,47 8,59 8,70 8,81 8,93 80 9,04 9,15 9,26 9,38 9,49 9,60 9,72 9,83 9,94 10,06 90 10,17 10,28 10,39 10,51 10,62 10,73 10,85 10,96 11,07 11,19 100 11,30 11,41 11,52 11,64 11,75 11,86 11,98 12,09 12,20 12,31
1
1

Sonic warranty program.

Our Sonic warranty program has been compiled with care to communicate our policy clearly and transparently, aiming to support our partners and customers as best as possible. Sonic offers three levels of warranty periods for different product group selections, which are explained in more detail on the next page.

Sonic warranty terms & conditions

Please note that the Sonic warranty is applicable when the product is used normally and correctly. Please refer to our website for the specific Sonic warranty duration for each product. The warranty period starts from the date of purchase and is only valid in combination with an original proof of purchase.

sonic-equipment.com/support/warranty

For comprehensive information regarding our warranty terms, please refer to our warranty conditions, which are a part of the general terms and conditions on our website.

Your primary point of contact for warranty matters is the place where you purchased the product. The general terms and conditions of the selling party apply to the purchase.

Always read the manual before using the product, and do not open or modify it, as this will void the warranty. If you have any doubts or questions, please contact our Support Team.

| SONIC-EQUIPMENT.COM 428 Warranty
WORK EFFICIENT WORK WITH SONIC

10 Year warranty

This part includes toolboxes, storage solutions and an extensive selection of hand tools offered by Sonic. The warranty covers manufacturing and production errors and defects in the product that have arisen under normal conditions of use. Note: This applies

1 Year warranty

This part includes electronic products, lifting products, special tools, impact tools and tools for heavy duty offered by Sonic. The warranty covers manufacturing and production errors and defects in the product that have arisen under normal conditions of use.

This part includes

covers factory and production

SONIC-EQUIPMENT.COM | 429 TOOLBOXES - TOOLBOXES AND SERVICE CARTS
and service carts only STORAGE SOLUTIONS - MSS AND MSS+ PORTABLE STORAGE SOLUTIONS - TOOL CASES, TOOL BAGS, PORTABLE TOOLBOXES
Note: This applies to the toolbox
SONIC FOAM SYSTEM - XS, S, M, L, XL
TOOLS - HAND TOOLS PROMOTIONAL ITEMS - DISPLAYS
Note: This applies to the Sonic foam inlays only
storage solutions
Consumable warranty
to the
only
consumable products offered by Sonic. The warranty only
valid for a maximum of 6 months after purchase. EQUIPMENT - ACCESSORIES EQUIPMENT - ASSORTMENT PROMOTIONAL ITEMS - GADGETS, EVENT MATERIALS AND CLOTHING TOOLS - IMPACT HAND TOOLS TOOLS - HAND TOOLS WITH MOVING PARTS Please note: We provide a 3-month warranty on a new calibration TOOLS - HAND TOOLS FOR HEAVY DUTY EQUIPMENT - LIFTING AND COMPRESSING EQUIPMENT EQUIPMENT - ELECTRONIC EQUIPMENT EQUIPMENT - LIGHTS EQUIPMENT - REELS TOOLS - TIMING TOOLS TOOLS - SPECIAL TOOLS
errors and is
Note: This applies to the displays only
| SONIC-EQUIPMENT.COM 430 Symbols SOCKET FLANK 6 PT BIT SLOTTED BIT SPLINE 12 PT SOCKET 12 PT BIT PH BIT SPLINE 12 PT TAMPERPROOF SOCKET TX BIT PZ SOCKET SPLINE SOCKET 5 LEAVES SOCKET PENTAGON BIT SQUARE BIT 5 LOBES BIT HEX BIT PENTAGON BIT HEX BALL SOCKET TRIANGUAL BIT TX BALL BIT TX BIT TS 5 PT TAMPERPROOF BIT RIBE 24 TEETH 45 TEETH 48 TEETH 60 TEETH 72 TEETH QUICK RELEASE FLEXIBLE HEAD SWIVEL HEAD ROTATABLE HEAD EXTENDABLE 6,3MM (1/4”) SQUARE 10MM (3/8”) SQUARE 12,5MM (1/2”) SQUARE 20MM (3/4”) SQUARE 7,9MM (5/16”) SQUARE 25MM (1”) SQUARE 10MM SQUARE QUICK RELEASE SYSTEM This Sonic catalog (Sonic 2024-2025) replaces all previous catalogues. All artwork is unedited and tools are from current production or from stock. The measures mentioned in this catalog are not binding. While every effort has been made to ensure the accuracy of the information in the Sonic Catalog, we have a policy of continuous improvement states that we reserve the right to vary from printed details without notice in order to keep pace with the latest developments. Copyright: All texts, photos and illustrations are protected by copyright. No part of this material may be reproduced without our written permission. SONIC SAE TOOLS BIT TX TAMPERPROOF 6.3 1/4” 10 3/8” 12.5 1/2” 20 3/4” 7.9 5/16” 25 1” 10 10mm 52
36 TEETH
TEETH
NEW INNOVATIVE SONIC PRODUCT MODULAR STORAGE SOLUTIONS MODULAR STORAGE SOLUTIONS PLUS
SONIC FOAM SYSTEM
SONIC-EQUIPMENT.COM | 431 Social media Watch Sonic Equipment on YouTube sonic.equipment Sonic Equipment Global Sonic Equipment BV FOLLOW THE ACTION ON SOCIAL MEDIA
YOUTUBE
Warranty | SONIC-EQUIPMENT.COM 432 WORK EFFICIENT WORK WITH SONIC
ARE YOU READY? SONIC EQUIPMENT BV Component 114 - 116 1446 WP Purmerend The Netherlands Tel. +31 299 437 000 Fax +31 299 436 610 info@sonic-equipment.com WORK EFFICIENT WORK WITH SONIC SONIC-EQUIPMENT.COM Sonic Equipment sonic.equipment Sonic Equipment Global Sonic Equipment BV

Turn static files into dynamic content formats.

Create a flipbook
Issuu converts static files into: digital portfolios, online yearbooks, online catalogs, digital photo albums and more. Sign up and create your flipbook.