Transportation & Logistics International Volume 11, Issue 1

Page 1

TRUCKING Keep on

How Motus Truck & Van has elevated operations to reflect its position as a representative of the Mercedes-Benz brand

Automation What trends can the global warehouse automation market expect for 2023?

Aviation The resurrection of supersonic travel and the promise it holds for passengers

Artificial intelligence Digitalization is presenting the railway sector with improvement opportunities

Vol 11, Iss 1 - 2023

CEO Andrew Schofield

Group COO Joe Woolsgrove

Creative Consultant Tom Vince

Data & Insights Director Jaione Soga

Editor Libbie Hammond

Assistant Editor Mary Floate

Content Editors Alex Caesari, Danielle Champ, Annabelle Crook, Steven Dobinson

Editorial Administrator Amy Gilks, Afiya Lucombe-Davis

Creative Lead Lee Protheroe

Managing Art Editor Fleur Daniels

Art Editors Paul Gillings, David Howard, Charlie Protheroe

Artwork Administrator Rochelle Broderick-White

Sales Director Alasdair Gamble

Project Directors Philip Monument, Joy Francesconi

Head of Content Management Adam Blanch

Project Managers Lewis Bush, Natalie Griffiths, Jo-Ann Jeffery, Ben Richell

Content Managers Johanna Bailey, Mark Cowles, Jeff Goldenberg, Wendy Russell, Richard Saunders, Kieran Shukri

Media Sales Executives Mike Berger, Jessica Eglington, Will Gwyther, Reid Lingle, Sam Surrell

General Manager Florida Division Ryan Finn

Social Media Co-ordinator Rosie Clegg

IT Support Iain Kidd

Administration Natalie Fletcher, Rory Gallacher, Ibby Mundhir

Hello and welcome to the January issue of Transportation & Logistics International In this magazine we highlight topics from some of our most important sectors –Aviation, Ports, Warehousing and Rail. These features not only represent the magazine’s history but also the evolution of our content. This year we plan to continue our growth, with the introduction of main headline interviews, improvements to our website and the launch of a newsletter! It’s an exciting time and I look forward to sharing lots of interesting content with readers.

Returning to this month’s articles, and I was fascinated to read about the revival of supersonic aviation (page 14). I clearly remember the news reporting the last Concorde flight and feeling that an era was ending. I can’t wait to see what Boom Supersonic is going to achieve.

Libbie Hammond, Editor

LH@finelightmediagroup.com

© 2023 Finelight Media Group

Corporate Head Office

Cringleford Business Centre, 10 Intwood Road. Cringleford, Norwich NR4 6AU U.K.

T: (312) 854-0123 T: +44 (0) 1603 274130 www.tlimagazine.com

US Office 2240 West Woolbright Road, Suite 402 Boynton Beach. FI 33426 T: (561) 778-2396

Our cover story looks at the operations of Motus Truck & Van. Lee Seward, MD and Graham Balsom, Commercial Director, discuss the motivation behind adopting and implementing new visions and values. Turn to page 26 to learn more.

TRUCKING Keep on Vol 11, Iss 2023 Aviation holds for passengers Automation market expect for 2023? Artificial intelligence improvement opportunities How Motus Truck & Van has elevated operations to reflect its position as a representative of the Mercedes-Benz brand Please note: The opinions expressed by contributors and advertisers within this publication do not necessarily coincide with those of the editor and publisher. Every reasonable effort is made to ensure that the information published is accurate, and correct at time of writing, but no legal responsibility for loss occasioned by the use of such information can be accepted by the publisher. All rights reserved. The contents of the magazine are strictly copyright, the property of Finelight Media Group, and may not be copied, stored in a retrieval system, or reproduced without the prior written permission of the publisher.
transportation
international at @TLImagazine transportation-logistics-int Welcome tlimagazine.com 1
Follow
& logistics
Aviation 2 Inside this issue Decarbonization Patent of the month 22 4 Artificial intelligence 18 Automation Contents
tlimagazine.com 3
Corridor Transportation Authority 36 Willmotts Transport 58 Vaculug 44 The James Group 52 Motus Truck & Van Cover Story 26 transportation & logistics international
Alameda

Be prepared

The top seven warehouse automation trends for 2023

4

The global warehouse automation market has seen steady growth over the past ten years and there continues to be shifts in the market. Building upon last year’s analysis, we’ve compiled a list of new and on-going trends warehouse automation technology vendors are likely to face in 2023:

1. Labor shortages continue to drive growth in the warehouse automation market

2. Supply chain issues continue to regulate growth

3. The rise of robots as a service

4. A greater need for Internet of Things (IoT) and a wider mix of warehouse automation technologies

5. Increased safety needs

6. Doing more in smaller spaces

7. Longevity of warehouse robots

Trend 1: Labor shortages continue to drive growth in the warehouse automation market

Making large investments in warehouse automation solutions has been a big hurdle to overcome, but with the labor market still tight, they offer a greater return on investment than human workers. This greater return puts your market in a prime position to grow dramatically over the coming years. To achieve that growth, you must be able to properly scale your output to meet your customers’ demands. Scalability presents its challenges, but support is available through outsourcing opportunities with companies that specialize in these highly mechanical products.

Trend 2: Supply chain issues continue to regulate growth

While supply chains continue to be an issue, a bright spot is on the horizon – the volatility in components availability is subsiding. This reprieve has brought in some much-needed predictability allowing for better forecasting.

Despite this bit of relief, this trend is still a key regulator of growth for the industry.

The semiconductor industry is still leading the charge with huge demand backlogs, but realistically getting all raw materials is still an issue, and this dynamic is currently expected to continue throughout 2023. One way to mitigate the issue is to choose partnerships with companies that have well-established supply chain services as part of their offering. This key differentiator won’t be a magic wand, but it will give companies insights to mitigate risks and the opportunity to develop strong relationships with multiple vendors that can be leveraged during the production process.

Trend 3: The rise of robots…as a service

With supply chains continuing to regulate the growth of the market, reducing the barrier to entry to this type of technology is a key way the industry is fighting back. If this hasn’t been a direction that you’ve considered, it may be worth a look, especially if you need some growth to happen more quickly.

The practice of renting out robots to customers instead of using a straight sales contract isn’t new to the industry, but inflation is causing potential customers to re-evaluate any new spending. Along with the cost savings, the flexibility that this option provides is attractive to new customers and lessens the burden on the end user for product upkeep. The downside to this option that many providers don’t consider early enough is the logistics of needing to manage a repair and remand program.

Unfortunately, when something is rented, a user may not take quite as much care to ensure the longevity of the product compared to when they own it. Without a strong repair and remand program, keeping your customers up and running becomes a lot more difficult. When looking into this option, make sure you have a partner that can help you manage the aftermarket care required to keep this service up and running smoothly.

Automation 5 tlimagazine.com

Trend 4: A greater need for IoT and a wider mix of warehouse automation technologies

With the increase in opportunities, a variety of technologies have been developed to complete customer projects, including:

• Autonomous mobile robots (AMR)

• Automated guided vehicles (AGV)

• Collaborative robots or cobots

• Warehouse drones

• Conveyor systems

• Specialized accessories for AMRs and AGVs

Each option is best suited to specific needs so if you specialize in one technology over

another, you’ll likely have integrate with a technology you’re not familiar with. There are two options to make sure you’re providing the best output for your customers:

8. Creating your own complete automation solutions that includes a variety of robotics solutions

9. Buying other solutions off-the-shelf and integrating them into your system

While both options have their benefits, they also present hurdles to overcome.

When building your own complete solutions with a variety of robotics

6

technologies, you ensure that your system is designed to work seamlessly from start to finish. This offering is particularly attractive to your customers because it lessens the concern of incompatibility issues. But it can be difficult to provide if your company specializes in one type of automation technology over another. If you’d like to build a solution completely owned by your company, partnering with an outside firm that provides design and development services is a great option. With this industry being relatively new, it’s important to make sure

you look for a well-established company that has experience and expertise in this area.

Off-the-shelf options give you the ability to leverage the specialization of other companies so you don’t have to split focus and design additional elements for your system. When going this route, integration into an already established system can be more difficult and with supply chains as they are, product availability can be an issue.

Whichever option you choose, the wider variety of technologies is increasing the need to make sure everything is working together

Automation 7 tlimagazine.com

at peak efficiency for your customers. The solution for this is an increase in the number of sensors on bots to provide predictive analytics and monitor for preventative maintenance. To make sure you’re providing your customers with the information they need, partners are available to help you make sure their IoT needs are met.

Trend 5: Increased safety needs

As the number of bots in a facility increases, the need for improved safety measures increases. The shifting focus to using automation to take over labor-intensive and menial tasks and supplement more meaningful work for people is one of the ways the industry is helping combat the labor shortage. This means that the days of keeping robots caged off and away from humans are coming to an end.

While OSHA and other regulatory branches around the world have been slow

to develop specific standards in this area, having a robot that is safe to work around is becoming a differentiator amongst providers. The need to be near workers has increased demand for more sensors in the bots, built-in AI-driven learning and improved computer vision to ensure that collisions and other accidents don’t occur when working with the unpredictable nature of humans. If history teaches us anything about regulating bodies, it’s that any major injuries can lead to huge fines for the user of the equipment. So creating a robot that is built with safety in mind from the beginning can be a huge tipping point in the long run when customers are comparing your product to a competitor’s offering.

Trend 6: Doing more in smaller spaces

Even with signs of economic uncertainty, warehouse space is expected to remain at a premium in the coming year, which means

8

you still need to make every square foot count for your customers. Tighter quarters mean the technologies deployed need to have an incredibly thoughtful initial design. And when things get smaller, it often means they get more complex, which isn’t something that every provider is equipped to handle. Making the choice early on to dig into design options that prepare your solutions for working in a smaller square footage is a great way to get ahead of the competition. If in-house expertise isn’t available to devote time to this trend, then outside resources are available. The best resources are ones that not only help you with initial design plans, but can help you all the way through manufacturing so that you are set up for efficiency right from the beginning.

Trend 7: Longevity of warehouse robots

Speed-to-fulfillment requirements are now a standard in warehouse automation systems, which means downtime needs to stay at a minimum. A few factors impacting this trend are better power storage, rigorous design and field testing, easily repeatable manufacturing processes and manageable aftermarket services.

It seems that all of these are obvious ways to ensure reliability, but testing inadequacies can account for a variety of failures in the field. And these don’t happen due to a lack of trying, but for a lack of knowledge of all the factors that can contribute to the failures once the robots are in the field. To ensure you’re in the right position to get ahead of the competition, the best way to overcome these issues is to make strategic relationships with companies where you can outsource some of this work. Those partnerships should be with companies that supplement your individual product expertise with experience in the industry as a whole to ensure that your testing finds issues before they happen in the field.

Even with extraneous amounts of testing, at some point, robots will fail in the field.

Another way to ensure your robots last longer is to have a seamless aftermarket service offering so that you can keep your customers going. This too, is a great area for outsourcing, especially if you have companies that are already partnering with for the rest of your product development needs. That way, you can ensure that they have the knowledge to manage your repairs without slowing down your customers. ■

For a list of the sources used in this article, please contact the editor.

Ramie Smith is Senior Director Industrial, EMEA, at Plexus, where he is responsible for business development, customer account strategy and performance across the Industrial sector in EMEA. Plexus partners with companies to create the products that build a better world. A global leader that specializes in serving customers in industries with highly complex products and demanding regulatory environments, Plexus delivers customer service excellence to leading companies by providing innovative, comprehensive solutions throughout a product’s lifecycle.

Ramie Smith www.plexus.com
Automation 9 tlimagazine.com

The startingpoint

10

Smart, green ports will be ready to grasp the future

Smart ports are vital enablers for decarbonization across supply chains, and they will be the ones best placed to benefit from the new business opportunities that are emerging in the growing green economy.

In the decarbonization debate, most of the focus has so far been on shipowners, who face the formidable task of meeting challenging decarbonization targets without having all the answers about the low and zero-carbon fuels that will power their vessels in the future, and the infrastructure and supply chains that will make them available at scale.

Decarbonization 11 tlimagazine.com

An often overlooked aspect in this debate is the port side, which is essential to cut emissions in the critical first and last mile of a ship’s journey – and which is facing an equally challenging decarbonization landscape. In this transition, ports that don’t embrace digitalization risk being left behind as new competitive forces emerge.

Moving forward, ports will increasingly compete on their ability to support zero-emission supply chains. Major announcements were made at COP27 about the development of green shipping corridors to facilitate the uptake of net-zero carbon bunker fuels. The United States and United Kingdom, for example, announced support for the establishment of green shipping corridors between the two countries, and the Northwest Seaport Alliance in the US also announced a partnership with the Busan Port Authority. These corridors provide an early glimpse into the cleaner supply chains of the future, but to become a reality, these projects will rely on smart, green ports that can put the right measures in place to reduce their own greenhouse gas emissions, and help visiting ships minimize theirs.

Internal efficiency

For ports, achieving sustainability poses challenges that are as multi-faceted as they are far reaching. Ports are complex ecosystems with numerous moving pieces such as pilots, tugs, trucks and service boats dispatched to ships as they arrive or depart. Optimizing these processes can make a significant difference on a port’s own emissions, and the starting point to achieving this is digitalization. Data-driven solutions can eliminate operational inefficiencies, removing unnecessary journeys and reducing the overall distance travelled, thereby slashing fuel consumption and emissions. Furthermore, by ensuring that everything is in the right place, at the right time to welcome ships when they arrive, digital

solutions also help visiting ships spend less time idling, curbing their own emissions. For example, the implementation of Innovez One’s marineM AI-powered scheduling system at the Indonesian port of Tanjung Priok, the 22nd busiest port in the world, reduced the overall distance travelled during tug and pilot operations by 20 percent. It continues to save the port $155,000 in fuel costs annually. Not only has the port seen tangible benefits in reduced congestion, but the system has also had a payback time of

12

just six months. It also helped slash waiting times from visiting ships from an average of 2.4 hours to 30.6 minutes, slashing emissions further while also boosting port performance.

Ready for the future

Early movers on digitalization and decarbonization will be rewarded with significant business opportunities. Forwardthinking ports can push ahead of the competition and embed themselves into the new supply chains that are emerging for

fuels such as ammonia and hydrogen, and for the transport of carbon dioxide as part of carbon capture and storage value chains.

The offshore wind market is another opportunity for advanced ports to grasp. The industry is booming in the United States, the United Kingdom and elsewhere, and there is a potentially big market for ports near offshore wind farms to serve as logistics hubs for the industry and to provide renewable shore power to service vessels. For example, offshore wind energy is expected to play a huge role in Australia’s energy transition. There are over 50GW of projects already planned, but port infrastructure and supply chains will need to be developed.

To seize these opportunities, digitalization will be an essential starting point. Granular data on operations will provide the vital insights that these ports need to make the best possible decisions on critical investments in new infrastructure or the technology that will be needed to compete in an increasingly decarbonized world. This will enable these ports to stay ahead of the curve, as shipping’s energy transition brings new roles for ports as hubs for the production and supply of clean energy. ■

For a list of the sources used in this article, please contact the editor.

Grant Ingram is CEO for the UK and Europe, at Innovez One, one of the world’s leading providers of port management software for the world’s busiest ports and towage operators. Through its proprietary software platform, marineM, it uses digital technology and AI models to optimize and solve complex port and pilotage challenges, delivering efficiencies that save significant costs and time, and make port operations more sustainable

Grant Ingram www.innovez-one.com
Decarbonization 13 tlimagazine.com

saviors

travel?

As American Airlines becomes the third major carrier to place an order for Boom Supersonic’s new Overture jets, Jim Scott discusses the motivations for resurrecting supersonic air travel and whether passengers are ready for this new era of aviation.

When the iconic Concorde landed for the last time at Heathrow Airport in October 2003, the supersonic air travel age had seemingly come to an end. When Concorde first burst onto the aviation scene in 1976, it certainly made an impact. Able to fly at a cruising speed of Mach 2, travelling on Concorde cut the length of a journey from London to New York to just three hours – less than half the average flying time compared to its subsonic counterparts.

Wealthy passengers and highprofile businesspeople flocked to experience Concorde’s unrivalled speed and luxury service and the jet soon became an exclusive experience to which many would aspire.

However, crippled by rising fuel costs that exceeded profit and a restriction on the routes the aircraft could travel due to the jet’s noise levels, after more than 25 years’ service Concorde was no longer a feasible investment.

The high-profile crash of Air France’s Concorde Flight 4590 in 2000, that killed 113 people as it left Charles de Gaulle Airport in Paris, had also taken its toll. Until that point, Concorde had enjoyed an unblemished safety record and was considered among the world’s safest aircraft.

14
Is aviation ready for a new era of supersonic

““

With business travel taking a back seat since the pandemic, and leisure tourism thriving, it remains to be seen whether supersonic aircraft will prove to be the gamechanger it promises for the aviation industry

“ “
Aviation 15 tlimagazine.com

Following investigations that revealed the aircraft had run over debris on the runway during take-off, which caused one of its tires to blow out and puncture a fuel tank, modifications were made. These included Kevlar lining for the fuel tanks and specially developed burst-resistant tires.

However, this made little difference and, in 2003, dwindling passenger numbers triggered by the Paris crash and the 9/11 terrorist attacks prompted Concorde’s operators, Air France and British Airways, to simultaneously announce they would be retiring the aircraft later that year.

A handful of attempts were made to revive Concorde. But, the operating

costs, limited passenger numbers and a growing thirst for cheaper travel, along with Airbus withdrawing its support for maintenance, ultimately meant that supersonic air travel was to be firmly filed away behind museum doors.

Between 2003 and the late 2010s, little changed in the world of supersonic aircraft. The growing demand for planes that could carry many more passengers and burn fuel economically meant there was little appetite for developing a modern-day Concorde equivalent.

However, in 2019, all that changed when a new race for supersonic jets that could fly faster than the speed of sound started

16

to build momentum. A spate of start-ups with varying degrees of ambition were hoping to realize a new era for supersonic air travel. One of these includes Boom – a Denver-based company that, after just five years of operating, had raised $141 million from investors to create 55-seat airplanes that would fly at twice the speed of sound. But with one key difference compared to Concorde – competitive fares for passengers.

Boom says its Overture jet, which is due to roll off production lines from 2025, will fly at Mach 1.7 (slightly below Concorde’s Mach 2.04) – twice the speed of today’s fastest commercial aircraft.

Virgin Atlantic – a company known for its investment in the future of air travel and a keen advocate of Concorde – was the first to reach a deal with Boom in 2016, agreeing to partner with the company to build and test its planes.

Since then, two more operators, United Airlines and American Airlines, have placed orders with Boom for 15 and 20 aircraft respectively. Clearly, the hunger for supersonic travel is back in business. But what changed, and why are carriers now keen to start offering a supersonic option once more?

Some of this is answered by Boom’s founder, Blake Scholl. Without any aerospace background, Scholl set about researching how to resurrect supersonic flight after he gave up waiting for someone else to fulfil his dream of being able to fly on Concorde one day.

In the course of planning his start-up, Scholl’s research revealed that operational costs were the key to successfully restoring supersonic air travel. He said: “Concorde was too expensive to operate, so few people could afford to fly on it. Using Wikipedia, I ran the numbers to work out what I would have to do to make it economically feasible. It turns out the answer is to make the fuel efficiency 30 percent better. So, I went and read some aerospace textbooks, and

took a design class, and started to meet everyone I could find in the industry. I told them to shoot holes in my ideas. Eventually, people started to say, ‘this actually makes sense’ - so we started a company.”

Concorde, while luxurious, was renowned for having a particularly tiny cabin, so conditions for passengers were cramped. Boom’s aircraft will address this by installing wide seats, big windows and creating plenty of room to work and relax.

Although the passenger experience of flying supersonic is being upgraded, there are currently no exact figures for how much passengers will be expected to pay to travel on Boom’s Overture aircraft, and this could be the chink in Boom’s finely crafted armor.

With business travel taking a back seat since the pandemic, and leisure tourism thriving, it remains to be seen whether supersonic aircraft will prove to be the game-changer it promises for the aviation industry. Until then, those hoping for a return to the romance of supersonic travel remain undeterred. ■

For a list of the sources used in this article, please contact the editor. asimpeliquae intiand erroresto tor as quisqua ectasit

Artemis Aerospace. Artemis Aerospace offers an innovative approach to component solutions for the aviation sector. Established in 1999, the company has earned a reputation for outstanding customer service by solving problems and providing a range of realistic options that offer customers the flexibility and freedom to choose a solution that suits their timescale and budget. Its services include component supplies, component repairs, lessor support, flight simulation hardware support, consignment stock management and global aircraft logistics.

Jim Scott www.artemisaerospace.com Jim Scott is Co-Founder at aircraft component supply specialist
Aviation 17 tlimagazine.com
18

Time to TRANSFORM

How to improve passenger and staff safety through digitalization.

Digitalization presents many opportunities for the railway sector. It can improve timetable performance, lower operating costs and increase safety and security for both staff and passengers. It can also make this mode of public transport more flexible, reliable and punctual, thus significantly increasing the passenger experience. However, although the benefits are well known, in some countries the rail industry has been slow to adopt digitalization relying instead on existing analogue or siloed systems. Adopting new technologies, such as edge-based servers for processing CCTV using AI and scenario-based algorithms, and IoT sensors connected via 5G networks, is required in order to meet the rise in railway demand as countries push to convince their citizens to use public transport instead of private transport. A good

example is the UK, where a total of 990 million rail passenger journeys occur in a year and this is expected to rise to one billion by the mid-2030s. What’s more, the latest statistics from the European Union showed there are 250 fatalities and 300 serious injuries related to level crossings in the EU annually. Digitalizing the railway sector is also a must to ensure the safety and security of passengers and members of the public. So how can digitalization benefit the railway sector, improve the passenger experience and enhance safety?

The solution lies with AI

Artificial Intelligence (AI) is making headway in nearly every industry, and the rail sector is no exception. It is well known for streamlining business processes, reducing costs and creating better customer experiences, and it has shown enormous possibilities for railway operators.

Artificial intelligence 19 tlimagazine.com

Railway stations are one of the busiest transport hubs, with footfall increasing yearly. According to the UK Office of Rail and Road, between January and March 2022, 275 million rail journeys were made – three times more than during the same period the previous year. Over the last five years, the Covid-19 pandemic has been the only event where rail journeys have been significantly reduced for an extended period of time. But with footfall increasing, railway stations can be extremely challenging facilities to monitor and secure.

Innovative AI-based solutions such as Computer Vision can provide a wealth of new insights to make

this mode of transport safer, more reliable and efficient for passengers.

By connecting edge-based servers to existing IP camera networks, a computer vision solution can provide a holistic view of all operational areas across a train companies estate, as well as the areas owned by the rail network provider. For instance, at a station, this could include entrances and exits including links to underground platforms. Allowing control room operators to receive automatic alerts for potential risks like crowding on stairwells and in passageways, smoke, abandoned objects and aggressive behavior. This innovative technology can automatically raise alerts regarding

20

potential risks and hazards and update dashboards in control rooms on a regular basis. For example, raising an alert when the number of people waiting on a platform approaches a predefined warning threshold in real-time allows control room operators to advise station staff to restrict passenger access to the platform and to make announcements over the PA to the travelling public that platform restrictions are in operation. The same dashboards can be configured to display color-coded heatmaps which provide control room staff with a clear, visual indication of contextual information, which leads to enhanced safety for passengers and staff.

Having access to this data to better understand passenger flow also allows train operators to create a more streamlined and improved passenger experience. For example, with less time spent queuing or waiting around within a railway station, passengers won’t experience delays and, as a result will have a better commuting experience overall.

Risk management

Other critical use cases include being able to detect a person(s) attempting to get on the tracks, access marshalling yards or enter railway tunnels. Alerts can be automatically raised, and security staff dispatched to investigate and apprehend trespassers, significantly reducing response times. Further benefits include implementing the technology in car parks and the surrounding areas of railway stations, which are often difficult to manage 24x7. Using a combination of computer vision software and complementary

technologies, such as IoT sensors and edge-based servers, allows risks to be identified and managed rapidly. It’s important to note that this technology does not store a person(s) personal data or track their mobile phone.

An early adopter of computer vision is a major train operator, Sydney Trains. The operator implemented the technology to identify incidences of tunnel and track intrusion at 13 stations to reduce disruptions to passenger journeys and ensure the smooth running of their rail network.

The potential for AI to transform the railway industry is significant. We have seen how it can enhance the passenger experience while also improving the safety of its users. It’s reliable, versatile and scalable, making it the perfect solution for railway operators to keep up with increasing passenger demand whilst at the same time helping to keep passengers and staff safe. ■

For a list of the sources used in this article, please contact the editor.

Chris Bishop www.ipsotek.com

Chris Bishop is Marketing Director at Ipsotek, an Atos company. Established in 2001, Ipsotek is a pioneer in the field of Artificial Intelligence (AI) and Scenario-based Rule Engine (SBRE) Video Analytics for mission critical applications. Its highly scalable platform VISuite is a versatile AI platform that automatically raises alerts from CCTV cameras or Video Management Systems (VMS). VISuite converts video data into real-time, actionable intelligence to optimize safety and security and enables users to efficiently manage automatically generated alarms in real-time.

Artificial intelligence 21 tlimagazine.com

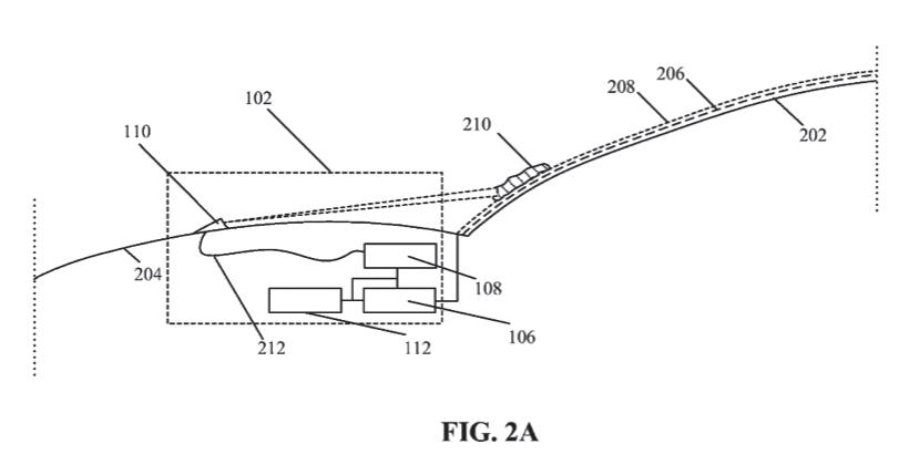
Patent of the month

Patent numbers: US11110896B2, US10889267B2

Tesla is already recognized as a leader in the development of high-performance Electric Vehicles (EV); demonstrating that they can be both sustainable and exciting. In US patent US11110896B2, it seems that the automotive manufacturer is now looking to reinvent the humble windscreen wiper.

Billed as “pulsed laser cleaning of debris accumulated on glass articles,” this patent has applications within the automotive industry and beyond. For example, Tesla has identified photovoltaic panels as another application that could benefit from the invention.

Featuring debris detection circuitry (106), the automated cleaning apparatus (102) has been designed to detect and irradiate debris on glass using a laser beam. Once debris is detected, control circuitry (112) defines a set of parameters describing the laser beam, such as wavelength, frequency, pulse rate, spot radius, beam width or any combination of these. These parameters are inputs for the laser emitter (108), which, in turn, is focused and steered using a beam optics assembly (110) to target the debris (210).

Figure 2A shows this invention applied to a vehicle windscreen.

Various embodiments detailed in the application state that the debris detection circuitry may be configured to distinguish between removable debris and permanent markings on the glass, such as stickers or logos. The application describes how debris can be detected by different means, such as optical sensors; capacitive or resistive layers on the glass; or by taking reflection measurements. To prevent potential damage to objects beyond the glass article, Tesla states that “the exposure level (of the laser) may be controlled such that the laser beam...penetrates a depth

Laser technology holds the key to keeping EV windscreens clean say Ben Palmer and Diego Black
22

that is less than the thickness of the glass article.” Penetration may be further controlled by tailoring the geometric profile and refractive index profile of the glass article, or by applying a laser barrier coating such as tin oxide to the glass.

Following the announcement of the Tesla Cybertruck in 2019, the lack of windscreen wipers on the prototype and images released prompted some to suggest that Tesla would be implementing a novel solution upon final release. Elon Musk himself commented “the wiper is what troubles me most”, referring to the size of the Cybertruck’s windscreen and how large a conventional windscreen wiper would need to be to provide adequate coverage.

A further US patent from Tesla, US10889267B2, is directed to a windscreen wiper assembly featuring an electromagnetic maglev moving block, with the wiper blade moving along a guide rail, as shown in the figure top right.

Both patents show that the issue of clearing windscreens with conventional technologies is a key concern, and as such the manufacturer is investing time and effort to find innovative solutions. Although some industry onlookers might view these solutions as unnecessarily complicated, by patenting their innovations, Tesla is ensuring that its research and development is protected for the foreseeable future. As market leaders in a rapidly growing segment, this seems a sensible approach, and this small-scale innovation could give Tesla a significant competitive edge. ■

Ben Palmer and Diego Black are partners in the advanced engineering group at European IP firm, Withers and Rogers. Established in 1884, Withers & Rogers LLP is a leading European Intellectual Property (IP) firm providing expert advice on the protection and enforcement of IP rights particularly for inventions, designs and trademarks.

Ben Palmer and Diego Black www.withersrogers.com Ben Palmer Diego Black
Innovation 23 tlimagazine.com

Keep on trucking

◀ Lee Seward, Managing Director, Motus Truck & Van
Why Motus Truck & Van believes customer service is key to its success
26

Motus Truck & Van is a trading division of Motus Group UK Limited, itself part of Motus Holdings Limited, a diversified, non-manufacturing South African company centred in the automotive sector and founded initially as a single car dealership in 1948. Today, it is a business with multiple operations in South Africa, the UK and Australia.

Mercedes-Benz Vans & Trucks, Witham, UK
& Van tlimagazine.com 27
Motus Truck

Motus Truck & Van (Motus) was formed through the combination of two established and successful businesses, S & B Commercials and Orwell Truck & Van. The two joined forces under the new branding in 2018, to provide high-quality Mercedes-Benz commercial vehicles and support to customers across Hertfordshire, Essex and East Anglia. As Lee Seward, Managing Director, explains: “It was important to integrate the business into the wider group’s renowned reputation to elevate it as part of the successful, global operations. Alongside the business, the UK divisions include Motus Commercials, Pentagon, a passenger car dealership, and Motus Vehicle Solutions (MVS), which offers conversions and tail lifts, along with general vehicle body building.

“We are a well-respected organisation that has represented Mercedes-Benz for over three decades,” he continues.

“Over the last two-to-three years, we have worked very hard to adopt new visions and values; values based on trust, loyalty, respect, togetherness and accountability. While those core values are integral to the success and profitability of the business, essentially, they ensure that ours is a great environment in which to work and from which we can deliver on customer expectation. It is crucial that we deliver exceptional customer service, and we have worked hard to mould our business accordingly.”

Indeed, people, whether that’s customers or those within the business, are Motus’ main motivation. Graham Balsom, Commercial

Mercedes-Benz Van Centre, Ipswich, UK
28

Director, elaborates: “The senior management structure Lee has put in place has really helped to position us above our competitors. He has been with the business for three years, and, in that time, he has established a very strong and visible team that aims to support everybody in the business. It really is a people thing. We care about our people, and we are absolutely dedicated to customer service.

“While, at times, there may be a disconnect between expected, perceived and actual service, as an organisation we are very light on our feet, able to review and quickly adapt our processes accordingly. We constantly analyse our customer service delivery to ensure consistent improvement.”

Customer satisfaction

Lee agrees and goes on to explain how Motus has also introduced pioneering processes to business operations. “We’ve introduced

several processes ahead of other UK dealers. While many are now following in our footsteps, we were one of the first adopters, and particularly so, when considering the role of the contact centre. We were one of the first businesses to bring a customer experience team together. As well as taking bookings, our contact centre staff address any customer issues or complaints. We

Motus Truck & Van tlimagazine.com 29
“ “Many members of our management and senior team are women, which is vital to the success “ “
30

take them very seriously, and have systems in place to examine any trends, enabling us to assess and adapt accordingly. Tom Sunderland heads up our customer service team. He really champions people and promotes maintaining our local relationships. While we are a large business, it’s still important to maintain relationships with local customers and communities. Despite being part of the largest commercial dealer in the country, we are able to offer a large-scale service with a personal feel.

“I would also say we are a very diverse business, and a real advocate for women in our industry. Many members of our management and senior team are women, which is vital to the success of the company.”

Indeed, ambition is high on Motus’ agenda, and particularly in terms of being a dynamic business with a focus on acquisition and development. Lee explains that prior

to the merger, both S & B Commercials and Orwell Truck & Van’s facilities were lacking in investment. “We recognised that to adequately represent Mercedes-Benz, Motus needs the appropriate facilities, not simply the right people, to really be able to deliver on customer experience. From that perspective, we took the decision to close two of our smaller sites, in Stansted and Colchester, and invested in a 3.5-acre site in Whitham. This brand-new site was created to provide the ideal facility for our customers.

“Alongside the Witham facility, we also recognised that Thurrock was an ideal site for expansion. It’s a very industrial area, supported by Tilbury Docks and its extensive infrastructure. To better service the two main streams of our business, we effectively separated them to be able to increase capacity. We have opened an Authorized Testing Facility (ATF) at Thurrock

Motus Truck & Van tlimagazine.com 31

to concentrate on the truck industry, and will be opening a new site, about a mile away, to service the van side of the business. This will be a fully authorised repair facility, with a sole focus on servicing vans. This development should successfully facilitate an increase in capacity and reduction in lead times.”

The overriding motivation for Motus’ developments and improvements is to provide exceptional customer service. In line with this, the business will be upgrading every facility over the next three years to keep pace with Mercedes-Benz’ exacting standards. Called MAR2020, the latest standards are intended to provide enhanced customer experience and satisfaction.

Sustainable infrastructure

Looking to the future, and inevitable and necessary sustainability considerations, while the switch to Electric Vehicles (EV) may present a challenge, and not just for Motus but for the industry as a whole, particularly in terms of infrastructure and

The new Mercedes-Benz eVito Panel Van
32
“I believe the OEMs have strong ambitions to deliver on the targets being asked of them, but right now, providers of those solutions are not moving quickly enough. That said, we will be EV-ready “ “

charging capacities, Lee highlights how the business has already begun that journey. “We will be further increasing our EV offering and will have DC chargers in these facilities. Additionally, while we know hydrogen testing is currently taking place in our sector, in reality, we are not going to see hydrogen technology in Mercedes-Benz commercial vehicles until 2027-to-2030. Hydrogen is something that will have to be adopted as global infrastructure is unlikely to be able to deliver a comprehensive EV solution. I believe the OEMs have strong ambitions to deliver on the targets being asked of them, but right now, providers of those solutions are

not moving quickly enough. That said, we will be EV-ready. We are committed as a business and will be equally committed as an adopter of hydrogen technology when the time comes. Right now, however, we are fully focused on our EV offering.”

Motus Truck & Van tlimagazine.com 33
34

“With that in mind, we are also looking at all carbon footprint reduction opportunities that are available across the business. We have just embarked on a large-scale project to change all our lighting to LED. We are looking to really reduce our energy output as well and that will be an ongoing consideration over the next five-to-ten years. We are investing in the installation of solar panels at our Whitham site, along with turbines, to be as green and self-sufficient as possible. Once up-and-running, we can assess the changes and roll them out across our sites.”

People power

This practice of continual self-assessment extends not only from its customer service through to operations, but also to its corporate culture. As Lee elaborates: “We recently embarked on a journey as a result of the opinions of our staff and colleagues. We asked people what matters to them, and how they believe we should shape the future for Motus. The result of these consultations was the five values mentioned earlier, which we are working to embed in the business, and which inform our employee recognition schemes.

“We have a ‘leading star’ scheme, through which we regularly celebrate staff who champion the culture of our business. We also have an internal communications platform, which is interactive, and used by both staff and the senior management team for both transparency and reward-and-recognition purposes.

“Moving forward, considering the current economic uncertainty, the Motus team is keen to focus on the day-to-day. In the next threeto-five years, it’s going to be really important to embed our visions and values,” Lee continues.

“We’ll also focus on growing our customer base and supporting the transition to EVs.

◀ The Actros L, designed for national and international long-distance haulage, sets new standards for comfort and safety

Really, for us, the future will centre on cementing our culture, and continuing to evolve. Potentially, there may be opportunities for acquisitions and new Mercedes-Benz dealers, but right now, we are focusing on developing our people and our facilities to better support our customers,” he concludes. ■

www.motustruckandvan.co.uk

Motus Truck & Van tlimagazine.com 35

Navigating the perfect storm

From A to B: the commercial journey behind Willmotts Transport

36
Willmotts Transport tlimagazine.com 37

Part of the Stotts Group, Willmotts Transport (Willmotts) is one of the largest privately owned distribution companies in the south western region of the UK. Founded in 1918, the firm was originally established in Wells, Somerset, but moved to a new site near Shepton Mallet in the 1980s, where it remains today. Group Managing Director, Andy Stott, has overseen much of this expansion, and in the last ten years Willmotts has grown significantly. We recently caught up with Dan Gray, Managing Director at Willmotts, to find out more.

Indeed, change has become a fundamental part of the distribution company’s growth strategy. For instance, Willmotts now operates multiple warehousing sites in Somerset, including Shepton Mallet, Radstock, Glastonbury, and

Frome, as well as operating other depots in Bristol, Bridgwater, Devizes, Warwick, and Sheffield. A 125,000-square-foot warehouse in Radstock was purchased in 2021, but has already been rapidly filled, demonstrating the incredible rate of growth that Willmotts is experiencing. The company has therefore further augmented its warehouse capacity, recently constructing a new and fully-racked 20,000-square-foot site in Waterlip, near Shepton Mallet.

In the last five years alone, the firm has expanded from a relatively modest portfolio into over 400 active accounts, ranging from large multinational organizations to small enterprises and start-ups. Further, Willmotts has secured long-term contracts with numerous, prestigious brands, demonstrating external confidence in the

38
Above: Dan Gray, Managing Director at Willmotts Transport

company’s ability to support and enhance the competitiveness of its working partners.

continued investment in our vehicles, sites, and warehousing facilities to support our customers’ requirements as well as the upskilling of our employees,” notes Dan. “This has become even more important since the complexity and range of our services has dramatically increased over the last few years.

certification, which is now maintained across four sites, as well as certification from the Soil Association and both ISO9001:2015 and ISO14001,” he goes on. “This gives customers the reassurance of independent quality assessment with regards to our professional handling of both food and non-food products.”

Dan took over the reins as Managing Director in 2022 and is focused on driving

business, zeroing in on supporting local and national food, drink, Fast-Moving Consumer Goods (FMCG), and packaging manufacturers to support pre- and post-production warehousing and distribution requirements.

Willmotts Transport tlimagazine.com 39

“ “

40
As we enter the pending recession, it is undoubtedly disappointing that the government has not gone far enough to reduce the costs of doing business...“ “

Leading a company is no easy feat, especially during the turbulent postpandemic period. As Dan explains: “Along with practically every transport operator in the country, in the last 12 months we have experienced an acute driver shortage, which threatened to leave some of our trucks parked up. With fewer large trucks on the road, much distribution was diverted into networks, leading to an excess of network freight volumes; the network infrastructure simply could not cope.

“It was the perfect storm,” he states. “Yet, quite rightly, it led to a necessary review of driver salary packages, substantially enhancing their personal sense of worth within the profession. Reflecting back on that time, we are incredibly grateful for the loyalty many of our drivers showed. In the end, employee retention was good and our customer base remained stable.

“We believe that running the newest, premium equipment is not only environmentally sound and a good advertisement for our customers, but, particularly in a difficult labor market, has also helped us to attract and retain our driving workforce,” continues Dan. “To secure new business, differentiation from competitors is crucial, and this is most readily achieved with strong branding; however, much new business comes from recommendation. The requirements of the food, drink, FMCG, and packaging sectors are very specific; customers are looking for food safety processes, traceability, and reliability in a fast-moving and demanding environment, as well as scalability to cope with seasonal fluctuations. Our growth has enabled the company to develop more sophisticated logistics and IT solutions, building a bank of expertise and resources that puts us in a better position to secure new contracts.”

Willmotts Transport tlimagazine.com 41

Since navigating that perfect storm, Willmott has continued to grow organically; however, a key part of the firm’s recent expansion is the result of the acquisition of Parker Transport by Stotts Group in June earlier this year. Indeed, the Group, which also includes bulk transport specialists S&B Transport Services, operates more than 150 vehicles and covers 400,000 square feet of warehousing space across eight locations.

“The acquisition has certainly increased the strength and depth of our resources and capabilities,” Dan asserts. “We have focused on strengthening our marketing and digital branding, and forging better, long-term alliances with local manufacturers. Combined with our technical expertise, robust facilities, and growing vehicle fleet, the move has enabled us to attract new business and win a number of major new contracts within the last 12 months.

“Despite extended lead times, our vehicle renewal program has remained in motion; ten new trucks and 12 trailers have joined the fleet, and we are continuously looking to expand,” he adds. “Many of the trailers are Willmotts branded, but some have been liveried for customers. In fact, two examples feature The Lily Foundation, an important charity fighting mitochondrial disease that we are supporting, which have created a lot of interest.”

Willmotts considers the practice of good corporate social responsibility an essential trait, assisting an array of humanitarian aid services in Ukraine by transporting essential medical supplies and hospital beds to the border. Another aspect of the geopolitical crisis –the knock-on economic impacts – cannot be ignored.

As Dan notes: “The current economic climate is very challenging; operational costs are still rising exponentially. However, as in the past, we

42

are well placed to weather the storm, and remain confident that we can provide a competitive offer and add tangible value to our customers’ commercial operations, which will put us in a good position to maintain growth going forward.

“We see our service as an essential component of the UK economy,” he concludes. “As we enter the pending recession, it is undoubtedly disappointing that the government has not gone far enough to reduce the costs of doing business and stem the upward trend in prices. In common with most other logistics operators, we would welcome more help with fuel duty and energy costs. That being said, we remain committed to maintaining and developing the business, enabling us to provide intelligent and sustainable one-stop solutions for a variety of manufacturers.” ■

www.wtl.uk

Willmotts Transport tlimagazine.com 43
44

Treading sustainably

Over seventy years of expertise has fueled Vaculug’s environmentally conscious answer to tire production

Just after the Second World War, in 1950, the procurement of raw materials was still as challenging as the importation of finished goods. However, the entrepreneurial spirits of the era, saw these issues as mere gaps in the market for innovation. Prior to founding Vaculug that year, Mr. LWR Morley had been the Managing Director of North Road Tyresoles Services Ltd, which gave his new venture with Mr. F Widdowson a sense of direction: a joint answer to helping the country, and the manufacturing industry, get back on its feet.

Vaculug tlimagazine.com 45
46
“ Our goal was to become carbon neutral in 2030, but we’re going to hit it by 2028 “ “

With a decade of experience in supplying the car, truck, tractor and earthmover industries with the most suitable tires for their vehicle fleets, the team started to notice the worsening quality of the casings it was receiving from new tire manufacturers. As such, it dedicated the next ten years to improving the efficiencies of its own Duramold range of retread tires. As a result, in the 1960s, the company become the largest independent tire reprocessor in Europe. This eye for quality has been a key attribute of Vaculug since its humble beginnings, and it still sits high on the company’s agenda today.

The contemporary product range has grown to include services for deep mining, transfer stations, landfill, ports, railheads, and steel and materials handling industries. However, perhaps more importantly for both today, and tomorrow, is the development of

the retreading services that the company offers. Coinciding with modern fleet management, Vaculug is able to offer its customers a significant reduction in their carbon emissions, through its stringent approach to reusing tires. Each retreaded tire sold, has required fewer raw materials and 75 liters less oil in its production, as well as a 30 percent reduction in the amount of carbon dioxide produced. The pressure on natural resources is further reduced, as the rubber and steel in the casings is recycled, along with all of the waste by-products from the process.

Fleet service solution

Each recyclable casing is shaved of any residual tread and examined thoroughly before it’s commissioned for reuse. If all the results are satisfactory, it will be recoated, detailed and then tested further before

Vaculug tlimagazine.com 47

being released for sale – each tire undergoes a series of eight quality checks in total and is issued a unique barcode to allow for full traceability. By adopting Vaculug’s fleet management services and retread tires, companies stand to reduce their transport operations’ tire wastage by 50 percent.

This comprehensive and competitively priced solution maximizes fleet up-time and ensures that all vehicles remain

compliant with UK road laws. There are also options for premium, mid-range and budget tires, alongside retreaded, all of which are inspected on a monthly basis by Vaculug’s service partners as part of its preventative tire maintenance program. This helps to identify unusual wear, damage and tread depth ahead of time, and to organize necessary maintenance. All of the information is uploaded to the Vaculug

48

Management System (VMS), which is available 24/7, and supported by a 24/7, 365 day-per-year tire rescue roadside service.

Sustainability strategies

The company’s considerations for the environment stretch further than its product range and services, as Jorge Crespo, Managing Director, details further: “Innovation is in our DNA; it provides further drive for

efficiency, which enables our sustainability mission. Certain kinds of industries, such as ours, take a little more consideration and thoughtfulness when it comes to green strategies. In retreading tires alone, we save four tons of rubber and the best part of two tons of metals per year. Being part of a circular economy helps hone your perspective on efficiency, sustainability, innovation, and the implementation of technology. Our goal was to become carbon neutral in 2030, but we’re going to hit it by 2028; we are in the recycling industry so everything we do is geared towards saving the environment.”

Jorge was appointed in 2020, to reorganize the company with a greater focus on sustainability, people and investment, and in the last two years he has implemented a number of changes. Besides the launch of a customer app and being the first retreading company to accept crypto currency payments, Vaculug has issued

Vaculug tlimagazine.com 49
50

◀ We have a foundation with a global and multi-societal reach that supports people from our home in Grantham to as far as South Africa, Spain and India – other countries where we have a footprint...

its first 55-page sustainability report. Jorge describes another burning objective that shapes the business’ operations:

Social conscience

“The company culture is not only about delivering profit to our shareholder – there is only one and he is fully onboard with our policies regarding social responsibility, which are at the heart of the business. We also donate ten percent of our profits every year to a number of social causes.

“We have a foundation with a global and multi-societal reach that supports people from our home in Grantham to as far as South Africa, Spain and India – other countries where we have a footprint.” He continues: “It sponsors everything from youth sports teams to scholarships to Oxford University; we are big on funding child education around the world. We have an established mentorship program that pairs students with executives from different countries and tries to identify the most suitable institutions for them to attend for education. It’s entirely ran by us, meaning we have full control of the finances and can rest assured that not a penny goes to waste. Honestly, it’s really the drive behind why we do, what we do – other than our initiatives to support our 165 employees at Vaculug.”

By the sound of things, Jorge is only just getting started. Despite being proud of the company’s day-to-day operations and achievements, he hopes to see a completely different version of it succeeding in the next three to five years. A version that is even more responsible in its Environmental, Social and Governance policies, and enhanced, in terms of its cost effectiveness and customer and supplier relations. “I know what we are doing is good but there is a lot of room for improvement,” he concludes. ■

www.vaculug.com

Vaculug tlimagazine.com 51

When John A James founded James Group International in 1971, the business began with one truck and one trailer that was designated to haul beer from Michigan to Milwaukee. Under the current leadership of his sons, Lorron and John E James, the company is recognized as a leading global provider of logistics, supply chain management, and e-commerce services. The family of companies, Renaissance Global Logistics, Five Crowns Trucking, and Magnolia Automotive Services, continue to provide customers with the most innovative and progressive solutions available anywhere in the world.

Operating in Michigan, Mississippi, and Alabama, James Group’s core service offerings include warehousing, transportation, and value-added engineering custom solutions. With 2.4 million square feet of space, which continues to grow as the company expands, James Group prides itself on offering unique and innovative solutions, including warehousing, real estate, goods distribution, and inventory management. In addition, the company is always seeking creative ways to optimize ROI for customers every step of the way.

Utilizing various modes of transportation, James Group has built trust with its customers

52

R O A D TO SUCCESS!

by consistently delivering goods safely and on time for the past 50 years. The company was born out of John A. James’ trucking business which was founded in the 1970s and has continually been expanding in this business sector. Specializing in hazardous materials, special shipping instructions, and international and domestic regulations, James Group has the ability to deliver any item anywhere in the world efficiently and faultlessly.

James Group adds value for its customers by employing world-class engineers across a multitude of different industries who are committed to delivering best-inclass solutions for assembly, packaging,

and supply chain. Fitness matters! James Group helps customers fill their specific supply chain gaps by utilizing RFID-enabled technology to oversee its tracking, grading, and quality inspection services. Exceptional customer service is intrinsic to James Group as a company. The commitment is to not only meet, but consistently to exceed client expectations, which the company considers to be a competitive differentiator in today’s marketplace. With a focus on fluidity, responsiveness, and a solution-driven mindset, something that really sets the company apart is its personalized customer service and

After experiencing exponential growth over the last six years, the James Group looks to exciting new opportunities in global supply chain management services
THE The James Group tlimagazine.com 53

commitment to operational excellence. Glenn Willrich, company President, explains how gaining the respect of its customers is an integral part of the company culture: “Something that makes the business a stand-out company is the culture of our people, making sure we are always available whenever our customers call upon us to deliver, and ensuring we deliver that service flawlessly.”

He continues: “A number of times, we have gone beyond our contracted requirements, in some cases even assisting our competitors because it is the right thing to do for our customers. This has helped us to gain respect in the marketplace as well as amongst our customers with whom we are eager to build long-lasting relationships.” James Group demonstrates its strength in this area, having successfully

maintained long-term partnerships with a number of household names, including Ford, GM, Stellantis, Toyota and Mazda.

People first

In addition to its technical expertise and exceptional customer service, the company also prides itself on its CSR initiatives and work to support the local community. The company supports several local charitable organizations and is in alignment with charities advocated by some of its clients. For example, the company runs a specialized campaign each year for United Way with Ford Motor Company, a huge advocate for the charity, and matches James Group employees’ donations dollar for dollar. Numerous times, the company has honored its pledge to support the local community by helping to deliver thousands of meals, PPE, and cleaning supplies to

Left to right: John E. James, Keri James, Sharon James, John A. James and Lorron James
54

the hardest hit areas of Detroit during the pandemic. The company also launched JG Drive to grant $100,000 towards entrepreneurs and education in the local Detroit area.

The company recruits its workers from the local area looking to welcome individuals who align themselves with the company culture first and foremost. The company takes the retention of its workforce seriously, ensuring that good performance is rewarded with compensation and internal promotions, whilst adopting a ‘coach and council’ mindset to help its employees grow and develop their own skillset and capabilities. In 2021, Renaissance Global Logistics, a James Group Company, was named as the winner of the Michigan Top Workplaces Award by Detroit Free Press, a list based solely on employee feedback. This is testament to the company’s collaborative, supportive, and community-focused work environment.

Another core focus of the company culture is championing diversity, which can be traced back to the inception of the business. John A. James took the Interstate Commerce Commission to the US Supreme Court which resulted in the Motor Carriers Act of 1980, signed into order by President Jimmy Carter. John A. James won the rights, making his,

▲ John A. James celebrating 50 years in business
The James Group tlimagazine.com 55

the first African American truck company in the United States to haul parts for the automotive industry. Today, 87 percent of the company’s workforce is minority. Additionally, the company concentrates more than 52 percent of its spend with minority companies. James Group also prioritizes sustainability, making huge efforts to recycle as much of the $40 million worth of cardboard consumed by the company as possible, as well as looking into investing in electric/autonomous vehicles.

Looking to the future, the company is currently exploring its investment options

in new technologies such as autonomous lift trucks, automation, and transportation tracking. The focus going forward is to continue to grow the companies sustainably from within, seeking opportunities for its workforce within new areas and locations, whilst maintaining its strong relationships with customers. The company is currently exploring growth options for the future, looking at potentially expanding its operations into exciting new markets such as agriculture and aerospace. ■ www.jamesgroupintl.com

The James Group 56

Right on TRACK

Michael Leue, CEO of Alameda Corridor Transportation Authority, discusses the smooth running of the Californian freight railroad
58

The Alameda Corridor is a 20-mile freight rail expressway owned by Alameda Corridor Transportation Authority (ACTA). It connects the ports of Los Angeles and Long Beach with the transcontinental mainlines of the BNSF Railway and the Union Pacific Railroad that begin near downtown Los Angeles, California. While rail services in the region had been in operation for over 100 years, when containerization and intermodal shipping

took hold in the 70s and 80s, volumes drastically increased. In 1980, when volumes really started to pick up, there were three Class One railroads serving the two ports: Union Pacific, Southern Pacific and Santa Fe. At that time, the railroads ran circuitously through the local communities at ponderously slow speeds. Not only were the trains noisy and ugly, but the vast quantity blocked local streets, holding up the traffic as they passed through the crossings.

tlimagazine.com 59
Alameda Corridor Transportation Authority

At the same time, because of the growth in rail volumes, the Ports of Los Angeles and Long Beach were proactively planning how best to handle the increase in demand on their services and looking at efficiency improvements for their landside transportation system. They were assessing how to get the trains and trucks in and out of port without the train traffic blocking the trucks. Michael Leue, CEO at ACTA, describes the corridor’s history further: “It became obvious that a separation program would vastly improve the landside transportation system within the Ports, but we also needed to address a bigger issue out in the communities. In collaboration with the Southern California Association of Governments (SCAG), the ports

JGM

JGM would like to highlight and honor our founder Earl Gales Junior.

Mr. Gales was a founding joint-venture member of the Alameda Corridor Project. Throughout his life, he provided a vision for this project, and many more where he made connections between human endeavors and the natural environment surrounding us. While his services for the corridor ranged from program management to engineering, we recognize these superior services were anchored in the relationships he built with staff and partners. JGM will carry this into the future to impact the services we provide for years to come. Thank you for your continued support.

60
Alameda Corridor Transportation Authority
62

formulated the Alameda Corridor, and part of that formation was the Alameda Corridor Transportation Authority. ACTA was set up as a joint power of authority of the cities of Los Angeles and Long Beach, and together ACTA, SCAG and the ports developed a plan to address the community impacts.

“The Alameda Corridor replaced the three historic low speed rail routes with a single high-speed low impact route.” It was a 20year planning effort. The ports negotiated a deal with the railroads to buy their rightof-way. All three routes were purchased, and as part of that agreement, the railroads were required to use the new consolidated route and pay a fee for every container that moves to and from the ports by rail.

A gateway for goods

“The former Southern Pacific route, running adjacent to Alameda Street, was a fairly direct line, so that was the one chosen for development. Bridgework was carried out to separate the road from the rail traffic. At the north end of the Corridor, the project provided grade separation of the rail traffic itself into light rail and heavy freight rail. Approximately ten miles of the mid-corridor is below street level, helping to remove its negative impact on the surrounding communities and take the trains out of sight. The track emerges from the trench once it nears the port.”

The completed corridor is a vital gateway for goods, serving the entire United States. It is a high-speed, high-capacity line. While port planning usually accounts for a horizon of 30 to 35 years ahead, the corridor was built with greater longevity in mind. As such a substantial and unique development, it would be practically impossible to add to its capacity further down the line. While growth has slowed at certain points, from a long-term planning perspective, the ports’ rail requirements will be met by the planned capacity of Alameda Corridor for the foreseeable future.

Construction was completed and the corridor was opened for operations in April 2002, and ACTA is celebrating its 20th anniversary of operations this year. In that time, the corridor has moved more than 55 million 20-foot-equivalent units (TEUs) and removed more than three billion truck miles from regional highways. The Alameda Corridor eradicated over 200 at-grade crossings where traffic idled, waiting for trains to pass, and, as a result, it’s estimated that CO2 emissions have been reduced by 4500 tons.

With 40 years of leadership and rail industry experience, Michael leads ACTA in overseeing operations, performing maintenance, environmental safekeeping, serving as a good neighbor to local communities, tracking cargo movements and collecting revenue payments.

As he explains: “Prior to joining ACTA, I worked as a consultant to the ports. That work meant I was heavily involved with ACTA, through 20 years of rail master planning in San Pedro Bay. I have been the CEO of ACTA for three years and joined in the midst of a global crisis.”

▲ Michael Leue, CEO at ACTA Corridor Transportation Authority tlimagazine.com 63
Alameda

“During that time, the ports got a lot of attention for shipping backlogs and terminal congestion. However, often overlooked was the fact that they were moving record volumes of cargo, amidst a pandemic, with all the associated risks and challenges. That said, we do need to dissect what happened over the last couple of years, as we want to make the system more resilient.”

Freight forward

“Following lockdown at the beginning of 2020, the industry was hit with a sudden surge in cargo demand that nobody expected. Being able to respond to that was a big challenge. It really was a test for the West Coast ports. Since then, there have been some concerns over longshoremen labor agreements, and as such, the goods movement industry migrated some cargo

64

to the East Coast to mitigate risk from those issues. My hope now is that as we get through what happened, we can really start to bring some semblance of the fundamental cost management back to the supply chain.”

Safety first

While there is no public transit on the Alameda Corridor tracks, Michael is keen to highlight the organization’s focus on safety. “We address safety in a number of ways. Firstly, maintenance is essential, and having sound tracks is important for safe operations. For the areas in the trench, we have ladders stationed at regular points to allow for crew emergency evacuation. Those ladders equally provide access to emergency response teams. We work with those local teams and conduct drills on an annual basis. We also have our rail management control center that coordinates communications between train crews, the dispatchers, the maintenance crews and the emergency response, so we are well prepared with drills and systems to be able to respond. Finally, we are focused on public safety. We maintain fencing along the right of way and the top of the trench, and along with signage, we try to protect the public from putting themselves in harm’s way. Additionally, we have cameras and intruder alarms so we can respond if someone is in a dangerous situation.”

Indeed, maintenance is ACTA’s primary investment, and the maintenance programs enable reliability and capacity of service. As Michael explains: “The high volume of traffic and extraordinary tonnage over the tracks need to be constantly assessed. As such, the maintenance budget is pretty consistent, and in the region of $10 million annually.

“Furthermore, we continue to collaborate with the ports, and have some ongoing projects with the California Department of Transportation surrounding rail enhancements and highway improvements. For example, the Port of Long Beach is

facilitate on-dock rail operations and improve the efficiencies and capacities of dock carriers. We are engaged in that development, and that is just one example of the work the ports carry out to continue to develop their rail capacity. Their rail enhancement programs define the requirements for meeting upcoming growth. Whereas the Alameda Corridor had to be built with the end in mind, the ports continue to develop their infrastructure as growth occurs. The Los Angeles and Long Beach Ports are doing great work, continuing to plan and working proactively to grow capacity. The corridor itself has ample capacity for the projected volumes, and we are in good stead to handle those projections,” he concludes. ■

www.acta.org

tlimagazine.com 65
Alameda Corridor Transportation Authority

Turn static files into dynamic content formats.

Create a flipbook
Issuu converts static files into: digital portfolios, online yearbooks, online catalogs, digital photo albums and more. Sign up and create your flipbook.